|
|
(21), (22) Заявка: 2007103610/12, 30.01.2007
(24) Дата начала отсчета срока действия патента:
30.01.2007
(46) Опубликовано: 10.09.2008
(56) Список документов, цитированных в отчете о поиске:
SU 1764572 A1, 30.09.1992. SU 348175 A, 29.03.1973. МАЗУРКИН П.М. Поисковое конструирование лесотехнического оборудования. – Саранск: Саратовский университет, Саранский филиал, 1990, с.137-141. DE 2454080 А1, 26.05.1976.
Адрес для переписки:
424000, Республика Марий Эл, г.Йошкар-Ола, пл. Ленина, 3, Марийский государственный технический университет, отдел интеллектуальной собственности
|
(72) Автор(ы):
Царев Евгений Михайлович (RU), Репина Ксения Александровна (RU)
(73) Патентообладатель(и):
Государственное образовательное учреждение высшего профессионального образования Марийский государственный технический университет (RU)
|
(54) РАБОЧИЙ ОРГАН МАШИНЫ ДЛЯ СРЕЗАНИЯ КУСТАРНИКА И ПОРОСЛИ
(57) Реферат:
Рабочий орган машины для срезания кустарника и поросли включает корпус, привод, режущий инструмент в виде дисковых ножей. Корпус устройства выполнен п-образной формы. Внутри корпуса на подшипниках установлен планетарный механизм, выполненный в виде конического редуктора. Ведущий вал редуктора связан с силовой передачей. На свободных концах ведомых валов посредством конических передач установлены дисковые ножи. На корпусе редуктора смонтирован шкив, связанный посредством ременной передачи с приводом кустореза. Устройство обеспечивает возможность срезания кустарника и поросли различной толщины. 2 ил.
Изобретение относится к лесной промышленности и может быть использовано для срезания кустарника и поросли под линиями электропередач, в ложах водохранилищ, при рекультивации лесонасаждений, а также при рубках ухода за биогруппами деревьев в хвойно-лиственных молодняках.
Известны технические решения (а.с. №1291074, патен Франции №1060378), содержащие корпус, режущий орган, привод.
Недостатками данных устройств является громоздкость конструкции.
Наиболее близким по технической сущности и достигаемому экономическому эффекту является устройство (а.с. 1764572), содержащее корпус, два дисковых ножа и привод.
Недостатком данного устройства является сложность перенастройки привода кустореза при изменении режима работы.
Цель изобретения – расширение технологических возможностей устройства при срезании кустарника и поросли различной толщины.
Поставленная цель достигается тем, что корпус устройства выполнен п-образной формы, внутри которого на подшипниках установлен планетарный механизм, выполненный в виде конического редуктора, ведущий вал которого связан с силовой передачей, а на свободный концах ведомых валов посредством конических передач установлены дисковые ножи, при этом на корпусе редуктора смонтирован шкив, связанный посредством ременной передачи с приводом кустореза.
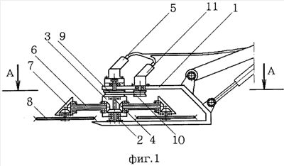
Предлагаемое изобретение поясняется чертежом, где на фиг.1 показан вид сбоку, а на фиг.2 показано сечение, вид сверху.
Устройство для срезания кустарника и поросли состоит из корпуса 1, выполненного п-образной формы, внутри которого на подшипниках 2 установлен планетарный механизм, выполненный в виде конического редуктора 3, ведущий вал 4 которого связан с силовой передачей 5, а на свободный концах ведомых валов 6 посредством конических передач 7 установлены дисковые ножи 8, при этом на корпусе редуктора 3 смонтирован шкив 9, связанный посредством ременной передачи 10 с приводом кустореза 11.
Устройство работает следующим образом. Рабочий орган подводят к кустарнику, включают силовую передачу 5 машины, при этом вращение посредством ведущего вала 4 передается на ведомые валы 6 редуктора 3, а затем через конические передачи 7 на дисковые ножи 8. Так происходит срезание крупного кустарника.
Для срезания мелкого кустарника в работу включают привод 11, а силовая передача 5 отключается. Вращение за счет ременной передачи 10 передается на шкив 9, установленный на корпусе редуктора 3. Корпус вращается в противоположную сторону вращения ведущего вала 4, дисковые ножи 8 совершают вращение относительно собственных осей за счет перекатывания конических шестерен ведомых валов 6 по шестерне неподвижного ведущего вала 4. При этом одновременно совершается вращение дисковых ножей 8 относительно центральной оси ведущего вала 4.
Тем самым тонкая поросль срезается быстрее, что позволяет увеличить скорость подачи рабочего органа и повысить производительность скашивания древесно-кустарниковой растительности.
Формула изобретения
Рабочий орган машины для срезания кустарника и поросли, включающий корпус, привод, режущий инструмент в виде дисковых ножей, отличающийся тем, что корпус устройства выполнен п-образной формы, внутри которого на подшипниках установлен планетарный механизм, выполненный в виде конического редуктора, ведущий вал которого связан с силовой передачей, а на свободный концах ведомых валов посредством конических передач установлены дисковые ножи, при этом на корпусе редуктора смонтирован шкив, связанный посредством ременной передачи с приводом кустореза.
РИСУНКИ
MM4A – Досрочное прекращение действия патента СССР или патента Российской Федерации на изобретение из-за неуплаты в установленный срок пошлины за поддержание патента в силе
Дата прекращения действия патента: 31.01.2009
Извещение опубликовано: 20.09.2010 БИ: 26/2010
|
|