|
|
(21), (22) Заявка: 2007106480/12, 20.02.2007
(24) Дата начала отсчета срока действия патента:
20.02.2007
(46) Опубликовано: 10.09.2008
(56) Список документов, цитированных в отчете о поиске:
RU 2199848 C1, 10.03.2003. RU 2197805 C2, 10.02.2003. SU 1245272 A1, 23.07.1986. RU 2248112 C2, 20.03.2005. SU 1683527 A1, 15.10.1991. RU 2208922 C1, 27.07.2003.
Адрес для переписки:
350044, г.Краснодар, ул. Калинина, 13, КГАУ, ПИО
|
(72) Автор(ы):
Потапенко Иосиф Андреевич (RU), Лепетухин Михаил Викторович (RU), Перекопский Константин Викторович (RU), Гаркавый Константин Алексеевич (RU), Харченко Павел Михайлович (RU)
(73) Патентообладатель(и):
Федеральное государственное образовательное учреждение высшего профессионального образования “Кубанский государственный аграрный университет” (RU)
|
(54) УСТРОЙСТВО ДЛЯ ОБЕЗЗАРАЖИВАНИЯ НАВОЗНЫХ СТОКОВ
(57) Реферат:
Устройство для обеззараживания навозных стоков в трубопроводах содержит генератор импульсов и излучатель. Излучатель выполнен в стенке отрезка трубопровода из диамагнитного материала, в котором размещен параболоид вращения с электродами. С внешней стороны трубопровода размещена обмотка, подключенная последовательно с электродами к выходу генератора импульсов. Внутри отрезка трубопровода размещен трубопровод меньшего диаметра, выполненный из ферромагнитного материала. Конструкция позволит эффективно обрабатывать не только навозные стоки, но и практически любые стоки сельскохозяйственных предприятий, повторно использовать воду при ее дефиците, а также существенно снизить энергозатраты на обработку и сброс стоков. 1 ил.
Изобретение относится к области механизации сельского хозяйства и может быть использовано, в частности, для обеззараживания навозных стоков с целью дальнейшего их использования для удобрительных поливов.
Известно авторское свидетельство СССР №1683527 “Устройство для обеззараживания жидкого навоза с одновременным разделением его на фракции” – М. Кл. А01С 3/00. Устройство содержит горизонтально размещенный цилиндрический корпус, внутри которого выполнены винтовые пазы, загрузочный патрубок, размещенный на входе торца цилиндра, сливной патрубок с конической приемной воронкой на выходном торце и расположенное внутри корпуса за загрузочным патрубком, имеющее привод приспособление для обеззараживания навоза, отличающееся тем, что приспособление для обеззараживания навоза выполнено в виде ряда горизонтально расположенных параллельных пластин, центры которых закреплены на перпендикулярном оси цилиндра вертикальном стержне, связанном с приводом, выполненным в виде генератора механических колебаний.
Известное изобретение имеет серьезный недостаток, заключающийся в следующем. Амплитуда и частота колебаний, создаваемая генератором механических колебаний, не позволяет эффективно обеззараживать жидкий навоз (или сточные воды), как показывает анализ отечественных и зарубежных патентов в рассматриваемой области. В частности, более эффективным является использование ультразвука, озона и электрогидравлического эффекта (эффекта Л.А.Юткина).
Так, см. авторское свидетельства СССР №134971 “Способы приготовления удобрения из навоза” – М. Кл. А01С 3/00, где на жидкий навоз воздействуют ультразвуком в режиме кавитации, однако для практической реализации требуется сложное дорогостоящее оборудование.
Известно авторское свидетельство СССР №1245272 “Разделитель материалов на фракции” – М. Кл. А01С 3/00, в котором с целью повышения эффективности разделения и обеззараживания жидкого навоза в потоке электроды для осуществления электрогидравлического эффекта размещены внутри корпуса и соединены с генератором импульсного тока. Известное изобретение имеет существенный недостаток, заключающийся в том, что воздействие электрогидравлического эффекта (удара) на жидкую фракцию навоза осуществляется неравномерно внутри цилиндрического корпуса вследствие наличия винтовых пазов, сливной воронки и т.д., вследствие чего эффективность воздействия в части обеззараживания невысокая.
В качестве прототипа выбран патент России №2199848 «Устройство для обеззараживания навозных стоков», опубл. 10.03.2003, бюл. №7.
Известное изобретение (разработка сотрудников нашего университета) показало достаточно высокую эффективность, однако оно имеет некоторые недостатки, в частности обработанные водные стоки не могут быть повторно использованы в технологических процессах с/х производства, в частности для полива, поения животных и т.д. Это обстоятельство особенно важно для тех регионов, где испытывается острый дефицит воды.
Техническим решением задачи является расширение технологических возможностей установки, повышение эффективности обеззараживания при одновременном снижении энергозатрат, а это особенно важно, учитывая тенденцию к непрерывному росту цен на энергоносители.
Задача достигается тем, что устройство для обеззараживания навозных стоков в трубопроводах содержит генератор импульсов и излучатель, выполненный в стенке отрезка трубопровода из диамагнитного материала, в котором размещен параболоид вращения с электродами, а с внешней стороны трубопровода размещена обмотка, подключенная последовательно с электродами к выходу генератора импульсов, внутри отрезка трубопровода размещен трубопровод меньшего диаметра, выполненный из ферромагнитного материала.
Новизна заявленного предложения обусловлена тем, что за счет размещения по центру основного трубопровода установлена труба меньшего диаметра из ферромагнитного материала, вследствие чего концентрация анионов и катионов по центру будет существенно меньше, чем в основном трубопроводе.
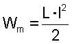
Принцип действия устройства состоит в следующем: первое – параболоид вращения с электродами позволяет получить максимальные ударные волны, которые, воздействуя на навозные стоки, обеззараживают их (см. Л.Л.Попиков. Справочник по электрическим и ультразвуковым методам обработки материалов. Л.: Машиностроение, 1971, с.358), второе – при прохождении тока (интенсивность которого достигает сотен и даже тысяч ампер) по обмотке, размещенной с внешней стороны трубопровода, возникает мощный импульс напряженности магнитного поля, энергия которого пропорциональна индуктивности катушки обмотки (индуктора):

Это магнитное поле индуцирует в трубопроводе соответствующий импульс вихревого тока, магнитное поле которого действует навстречу внешнему магнитному полю обмотки (кондуктору). Результатом такого взаимодействия магнитных полей является возникновение электромагнитных сил, направления которых определяются по правилу “левой руки” – перпендикулярны векторам магнитной индукции В и тока I, т.е. создается давление на поверхность трубопровода. Это давление достигает десятков тонн на см поверхности трубопровода, что также способствует уничтожению болезнетворных бактерий и обеззараживанию среды (см. П.П.Ястребов, И.П.Смирнов. Электрооборудование и электротехнология.)
Новизна заявляемого предложения заключается также в следующем. При прохождении тока по обмотке основного трубопровода за счет сил Лоренца анионы и катионы солей, растворенных в воде, в частности Ca++, Mg++, СО3 —, SO4 — и т.д., отклоняются к внутренней стенке основного трубопровода, вследствие чего по центру образуется зона с пониженной концентрацией. Кроме того, выполнение трубопровода меньшего диаметра из ферромагнитного материала существенно в десятки и даже в сотни раз усиливает действие импульсного магнитного поля, вследствие чего обработанные стоки, выходящие по трубопроводу меньшего диаметра, можно эффективно использовать для полива в растениеводстве, поения животных и т.д.
По данным патентной и научно-технической литературы не обнаружено аналогичного предложения, что позволяет судить об изобретательском уровне заявляемой совокупности признаков.
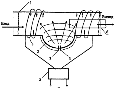
На чертеже представлена схема конструкции устройства. Устройство состоит из участка трубопровода 1, выполненного из металлического диамагнитного материала (нержавеющая сталь – наилучший вариант), в котором размещен параболоид вращения 2, в фокусе которого размещены электроды 3, последовательно соединенные с обмоткой (индуктором) 4, подключенной к выходу генератора импульсов 5. По центру трубопровода 1 размещен трубопровод меньшего диаметра 6, выполненный из ферромагнитного материала с соотношением диаметров не менее 2:1.
Устройство работает следующим образом: при подаче стоков по трубопроводу 1 (вход-выход) включается генератор импульсов 5, вследствие чего по обмотке 4 и через электроды 3 проходит мощный импульс тока, в результате чего в фокусе параболоида вращения 2 происходит высоковольтный электрический разряд (эффект Юткина), вследствие чего в стоке образуются зоны сжатия и растяжения, губительно действующие на практически все виды бактерий и микроорганизмов, одновременно происходит ионизация солей, находящихся в стоках, в частности Ca++, Mg++, СО3 —, SO4 — и т.д., и вследствие воздействия на них сил Лоренца, обусловленных магнитным полем, создаваемым обмоткой (индуктором) 4, они (анионы и катионы) перемещаются к внутренней части трубопровода 1. В результате по центру движения навозного стока образуется водный поток с низкой концентрацией солей, и по трубопроводу меньшего диаметра 6 он подается для повторного использования, например для полива с/х растений в закрытом и открытом грунте, приготовления кирпича и бетона, поения животных и т.д. Такое применение становится возможным благодаря воздействию мощных импульсных магнитных полей, особо учитывая, что труба меньшего диаметра 6 выполнена из ферромагнитного материала, вследствие чего индукция магнитного поля увеличивается в десятки и даже сотни раз (см. Л.Г.Прищеп. Учебник сельского электрика, М.: Колос, 1973 г., стр.53-55; см. В.И.Классен. Омагничивание водных систем, М.: Химия, 1982 г., стр.167-282). Особо следует отметить, за счет взаимодействие магнитных полей, создаваемых обмоткой 4 в трубопроводе 1, и вихревых магнитных полей, создаваемых в трубопроводе меньшего диаметра 6, в навозном стоке создаются импульсы мощного давления, которое губительно действует на все виды бактерий, что практически обеззараживает поток стоков.
Предложенная комплексная обработка позволяет более эффективно обрабатывать не только навозные стоки, но и практически любые стоки с/х предприятий, повторно использовать воду при ее дефиците и существенно снижать энергозатраты на обработку и сброс стоков, что особенно важно в условиях непрерывного роста цен на энергоносители.
Формула изобретения
Устройство для обеззараживания навозных стоков в трубопроводах, содержащее генератор импульсов и излучатель, выполненный в стенке отрезка трубопровода из диамагнитного материала, в котором размещен параболоид вращения с электродами, а с внешней стороны трубопровода размещена обмотка, подключенная последовательно с электродами к выходу генератора импульсов, отличающееся тем, что внутри отрезка трубопровода размещен трубопровод меньшего диаметра, выполненный из ферромагнитного материала.
РИСУНКИ
MM4A – Досрочное прекращение действия патента СССР или патента Российской Федерации на изобретение из-за неуплаты в установленный срок пошлины за поддержание патента в силе
Дата прекращения действия патента: 21.02.2009
Извещение опубликовано: 27.09.2010 БИ: 27/2010
|
|