|
|
(21), (22) Заявка: 2006131676/09, 04.02.2005
(24) Дата начала отсчета срока действия патента:
04.02.2005
(30) Конвенционный приоритет:
05.02.2004 US 10/773,783
(43) Дата публикации заявки: 10.03.2008
(46) Опубликовано: 27.08.2008
(56) Список документов, цитированных в отчете о поиске:
US 2003/22481 A1, 04.12.2003. RU 2157598 C2, 10.10.2000. US 2002/152220 A1, 17.10.2002.
(85) Дата перевода заявки PCT на национальную фазу:
05.09.2006
(86) Заявка PCT:
US 2005/003587 (04.02.2005)
(87) Публикация PCT:
WO 2005/079091 (25.08.2005)
Адрес для переписки:
129090, Москва, ул. Б. Спасская, 25, стр.3, ООО “Юридическая фирма Городисский и Партнеры”, пат.пов. Ю.Д.Кузнецову, рег.№ 595
|
(72) Автор(ы):
ЦЮЙ Хай (US), ПАНГАНИБАН Эндрю (US), ШИ Гуанмин (US), ДХЕБРИ Пратик Махеш (US)
(73) Патентообладатель(и):
КВЭЛКОММ ИНКОРПОРЕЙТЕД (US)
|
(54) ПРОЗРАЧНЫЕ ШИРОКОВЕЩАТЕЛЬНЫЕ УСЛУГИ ДЛЯ МНОГОРЕЖИМНОГО БЕСПРОВОДНОГО УСТРОЙСТВА
(57) Реферат:
Изобретение относится к связи. Для обеспечения «прозрачных» широковещательных услуг для многорежимного беспроводного устройства, допускающего взаимодействие с множеством сетей беспроводной связи, определен смешанный набор уместных параметров для широковещательных сообщений, используемых упомянутым множеством сетей. Параметры широковещательного сообщения для каждой сети преобразуются в соответствующие параметры в смешанном наборе. Смешанный набор параметров используется для обработки и отображения широковещательных сообщений, принятых из множества сетей. Широковещательное сообщение для каждой сети (например, сотовое широковещание (CBS-сообщение) в GSM или широковещательное короткое сообщение (SMS-сообщение) в CDMA) принимается и обрабатывается в соответствии с параметрами сообщения и конфигурациями фильтрации, применимыми для сети. Техническим результатом является поддержка широковещательных услуг для многорежимного беспроводного устройства. 6 н. и 22 з.п. ф-лы, 9 ил.
Область техники, к которой относится изобретение
Настоящее изобретение в целом относится к связи, а более точно к технологиям для предоставления “прозрачных” широковещательных услуг для многорежимного беспроводного устройства, способного к осуществлению связи с множеством сетей связи.
Предшествующий уровень техники
Сети беспроводной связи широко используются для предоставления различных услуг связи, таких как голосовые, передачи пакетных данных и так далее. Эти беспроводные сети включают в себя сети множественного доступа с кодовым разделением каналов (CDMA), сети глобальной системы мобильной связи (GSM), сети универсальной системы мобильных телекоммуникаций (UMTS) и так далее. Сеть типично относится к развертыванию системы, хотя эти два термина также используются взаимозаменяемо.
Каждая беспроводная сеть использует конкретный эфирный интерфейс для поддержания связи через эфир и, кроме того, типично реализует конкретные сетевые протоколы мобильной связи, которые поддерживают роуминг и развитые услуги. Например, сеть CDMA использует эфирный интерфейс CDMA и сетевой протокол ANSI-41. Сеть CDMA может реализовывать один или более стандартов CDMA, таких как IS-2000 (1xEV), IS-856 (1x-EVDO), IS-95 и так далее. Сеть GSM использует эфирный интерфейс GSM и сетевой протокол части мобильных приложений GSM (GSM-MAP). Сеть GSM реализует стандарт GSM и, кроме того, может поддерживать общую службу пакетной радиопередачи (GPRS), каковая является носителем данных, которая предоставляет беспроводному устройству возможность отправлять и принимать данные посредством основанной на интернет-протоколе (IP) сети. GSM/GPRS-устройство может осуществлять доступ к сетям передачи данных, таким как Интернет, при работе в режиме GPRS. Сеть UMTS использует эфирный интерфейс широкополосного CDMA (W-CDMA) и сетевой протокол GSM-MAP. Сеть UMTS реализует стандарт 3GPP (проекта партнерства третьего поколения), который заключает в себе стандарт GSM. В данной области техники известны различные стандарты.
Сети GSM и UMTS могут предоставлять службу сотового широковещания (CBS), которая является службой, которая периодически осуществляет широковещательную передачу сообщений пользователям в пределах сетей. Подобным образом сеть CDMA может предоставлять широковещательную службу, которая осуществляет широковещательную передачу сообщений пользователям в пределах сети. Широковещательные сообщения могут переносить различные типы информации, такой как новости, сообщения о ситуациях на дорогах, информация о погоде и так далее.
Широковещательные услуги в сетях GSM, UMTS и CDMA реализованы службой коротких сообщений (SMS), каковая является службой, которая поддерживает обмен SMS или короткими сообщениями между беспроводной сетью и беспроводными устройствами (например, сотовыми телефонами). SMS является зависимой от сетевых технологий, и разные реализации SMS были определены для ANSI-41 и GSM-MAP. Каждая реализация SMS имеет разные возможности и использует разные типы и форматы сообщений для отправки SMS-сообщений. Реализация SMS для сети ANSI-41 описана в документе TIA/EIA-637-B, озаглавленном «Short Message Service for Wideband Spread Spectrum Systems» («Служба коротких сообщений для широкополосных систем с расширенным спектром»). Реализация SMS для сети GSM-MAP описана в документах TS 23.038, TS 23.040 3GPP и других документах 3GPP. Эти документы общедоступны. Для простоты, реализация SMS для GSM-MAP упоминается как «SMS GSM», а реализация SMS для ANSI-41 упоминается как «SMS CDMA». UMTS поддерживает управление широковещательной многоадресной передачей (BMC), которое переносит SMS-сообщения GSM и CDMA.
Многорежимное беспроводное устройство может поддерживать связь с многочисленными беспроводными сетями (например, сетями GSM и CDMA) и может быть способным принимать широковещательные сообщения из этих сетей. Однако широковещательные сообщения для сетей GSM и CDMA имеют разные форматы, так как SMS CDMA и SMS GSM имеют разные реализации. Разные форматы широковещательных сообщений усложняют прием широковещательных услуг из многочисленных беспроводных сетей, так как пользователю может понадобиться знать, какие поля применимы для каждого формата широковещательного сообщения, и как поля должны интерпретироваться и обрабатываться.
Поэтому в данной области техники существует потребность в технологиях для поддержки широковещательных услуг для многорежимного беспроводного устройства.
Сущность изобретения
Технологии для предоставления «прозрачных» широковещательных услуг в многорежимном беспроводном устройстве, допускающем связь с многочисленными сетями беспроводной связи, описаны в материалах настоящей заявки. Беспроводное устройство предусматривает интерфейс, который скрывает подробности реализации для широковещательных услуг со стороны разных сетей, так что пользователю не нужно быть осведомленным о том, какие широковещательные услуги принимаются и от каких беспроводных сетей. Это упрощает прием широковещательных услуг от множества сетей и улучшает впечатление пользователя. Чтобы поддерживать прозрачные широковещательные службы, определен смешанный набор (или расширенный набор) уместных параметров для широковещательных сообщений, используемых множеством сетей. Параметры широковещательного сообщения для каждой сети преобразуются в соответствующие параметры в смешанном наборе. Смешанный набор параметров используется для обработки и отображения широковещательных сообщений, принятых из множества сетей.
В варианте осуществления для предоставления прозрачных широковещательных услуг на беспроводном устройстве конфигурации фильтрации, используемые для фильтрации широковещательных сообщений на беспроводном устройстве, первоначально устанавливаются сетевым оператором/поставщиком услуг и/или пользователем, как описано ниже. Для широковещательного приема касательно первой сети (например, сети GSM или UMTS) первое широковещательное сообщение (например, CBS-сообщение) для первой сети принимается и обрабатывается в соответствии с параметрами этого сообщения и конфигурациями фильтрации для первой сети. Параметры первого широковещательного сообщения преобразуются в соответствующие параметры в смешанном наборе. Первое широковещательное сообщение, кроме того, обрабатывается и отображается на основании параметров в смешанном наборе. Для широковещательного приема касательно второй сети (например, сети CDMA) второе широковещательное сообщение (например, широковещательное SMS-сообщение) для второй сети принимается и обрабатывается в соответствии с параметрами этого сообщения и конфигурациями фильтрации для второй сети. Параметры второго широковещательного сообщения преобразуются в соответствующие параметры в смешанном наборе. Второе широковещательное сообщение, кроме того, обрабатывается и отображается на основании параметров в смешанном наборе. Беспроводное устройство может быть способным принимать и обрабатывать широковещательные сообщения только для одной сети за раз либо для обеих сетей одновременно.
Краткое описание чертежей
Признаки и сущность настоящего изобретения будут более очевидными из подробного описания, изложенного ниже, взятого в соединении чертежами, на всем протяжении которых одинаковые символы осуществляют соответственную идентификацию и на которых:
фиг. 1 показывает сеть GSM или UMTS и сеть CDMA;
фиг. 2А и 2В показывают CBS-сообщение GSM и CBS-сообщение UMTS соответственно;
фиг. 3 показывает различные сообщения для поддержки широковещательных услуг в CDMA;
фиг. 4 показывает таблицу услуг, используемую для фильтрации широковещательных сообщений;
фиг. 5 показывает структурную схему многорежимного беспроводного устройства;
фиг. 6 показывает контроллер, способный к приему широковещательных услуг из множества беспроводных сетей;
фиг. 7 показывает последовательность операций для прозрачного приема широковещательных услуг; и
фиг. 8 показывает последовательность операций для контролируемого по времени широковещательного приема.
Подробное описание
Фиг. 1 показывает сети 100 связи, которые включают в себя сеть 110 GSM или UMTS и сеть 120 CDMA (то есть сеть 110 может быть сетью GSM или сетью UMTS). Сеть 110 GSM или UMTS включает в себя центр 112 сотового широковещания (CBC) GSM, сетевой контроллер 114 и базовые станции 116. Сеть 120 CDMA включает в себя центр 112 коммутации сообщений ANSI-41, сетевой контроллер 124 и базовую станцию 126. Сети 110 и 120 реализуют сетевые протоколы GSM-MAP и ANSI-41 соответственно.
Центр 112 сотового широковещания и центр 122 коммутации сообщений принимают и хранят широковещательные данные из разных источников, а кроме того, формируют и рассылают широковещательные сообщения для сетей 110 и 120 соответственно. Центр 112 сотового широковещания поддерживает связь с сетевым контроллером 114 (возможно, через другие сетевые объекты) и поддерживает широковещательные услуги для сети 110 GSM или UMTS.
Центр 122 коммутации сообщений поддерживает связь с сетевым контроллером 124 (возможно, через другие сетевые объекты) и поддерживает широковещательные услуги для сети 120 CDMA. Сетевой контроллер 114 и 124 маршрутизирует сообщения и данные для беспроводных устройств в пределах их зоны обслуживания. Сетевой контроллер упоминается как контроллер базовой станции (BSC) в GSM, контроллер радиосети (RNC) в UMTS и BSC и центр коммутации мобильной связи (MSC) в CDMA. Каждый сетевой контроллер присоединяется к некоторому количеству базовых станций и управляет связью для беспроводных устройств под покрытием этих базовых станций. Каждая из сетей 110 и 120 также может включать в себя многочисленные центры сотового широковещания коммутации сообщений и/или сетевые контроллеры.
Базовые станции 116 и 126 являются стационарными станциями, которые поддерживают связь с беспроводными устройствами. Каждая базовая станция поддерживает связь с беспроводными устройствами под зоной обслуживания, чтобы предоставлять разнообразные услуги, такие как голосовые, передачи пакетных данных, широковещательные и так далее. Для простоты, на фиг. 1 показано только одно многорежимное беспроводное устройство 150. Беспроводное устройство 150 (например, двухрежимный сотовый телефон) может поддерживать связь с сетью 110 GSM или UMTS и сетью 120 CDMA. Эта способность предоставляет абоненту/пользователю возможность принимать услуги из множества сетей ради улучшенных эксплуатационных показателей и покрытия. Беспроводное устройство 150 может быть стационарным или мобильным и также может упоминаться как абонентская аппаратура (UE), мобильная станция (MS), подвижное оборудование (ME), сотовый телефон, пользовательский терминал, телефонная трубка, устройство беспроводной связи или некоторые другие термины.
Широковещательные услуги для GSM, UMTS и CDMA реализованы с помощью SMS. SMS является зависимой от сетевых технологий, и две реализации SMS были определены для ANSI-41 и GSM-MAP. Каждая реализация SMS имеет разные возможности и использует разные типы и форматы сообщений для отправки SMS-сообщений. В последующем описании, «параметр» «подпараметр» и «поле» используются для обозначения атрибутов сообщения. Ради разборчивости, эти три термина используются для разных иерархических уровней сообщения. Однако, вообще, эти термины могут рассматриваться как синонимичные термины, которые могут использоваться взаимозаменяемо.
Фиг. 2А показывает формат CBS-сообщения GSM, используемый для CBS-услуги сетью GSM. В GSM широковещательное сообщение может включать в себя до 15 широковещательных страниц, а каждая широковещательная страница содержит в себе фиксированный блок из 88 октетов. Центр 112 сотового широковещания может формировать вплоть до 15 широковещательных страниц для длинного многостраничного широковещательного сообщения. Каждая широковещательная страница передается по эфиру в виде CBS-сообщения GSM.
Как показано на фиг. 2А, CBS-сообщение GSM включает в себя пять параметров. Параметр “идентификатор сообщения” идентифицирует источник (или отправителя) и тип (или категорию услуги) CBS-сообщения GSM. Значения для идентификатора сообщения могут быть назначены сетью и просигнализированы беспроводным устройством. Параметр “порядковый номер” идентифицирует конкретное CBS-сообщение из источника и типа, указанного посредством идентификатора сообщения. Порядковый номер включает в себя (1) поле кода сообщения, которое отличает CBS-сообщения из нескольких источников и типов (то есть с одним и тем же значением идентификатора сообщения), (2) поле географической области (GS), которое указывает географическую зону, по которой код сообщения является уникальным, и режим отображения для сообщения и (3) поле “номер обновления”, которое указывает изменение в содержимом того же самого CBS-сообщения (то есть с теми же самыми идентификатором сообщения, географической областью и кодом сообщения). Параметр “схема кодирования данных” (DCS) указывает различные параметры обработки (например, алфавит или набор символов, кодировку и язык) для CBS-сообщения. “Параметр страницы” указывает количество широковещательных страниц в широковещательном сообщении и конкретную широковещательную страницу в пределах широковещательного сообщения. Параметр “содержимое сообщения” содержит в себе широковещательные данные для CBS-сообщения GSM. Формат CBS-сообщения GSM описан в TS 23.041 3GPP.
Фиг. 2В показывает формат CBS-сообщения GSM, используемый для CBS-услуги сетью UMTS. Параметр “тип сообщения” указывает, что CBS-сообщение UMTS является либо CBS-сообщением, содержащим в себе информацию, либо сообщением планирования, содержащем в себе расписание CBS-сообщений, которые должны быть отправлены. Параметры “идентификатор сообщения”, “порядковый номер” и “схема кодирования данных”, как описано выше, предназначены для CBS-сообщения GSM. Параметр CB-данных включает в себя (1) количество страниц в пределах CBS-сообщения UMTS, (2) широковещательные данные, переносимые сообщением, и (3) длину широковещательных данных в сообщении. Формат CBS-сообщения UMTS также описан в TS 23.041 3GPP.
Как показано на фиг. 2А и 2В, CBS-сообщение GSM и CBS-сообщение UMTS содержат в себе много одинаковых параметров. Для простоты, они в собирательном значении упоминаются как CBS-сообщение и интерпретируются как один тип сообщения в последующем описании. CBS-сообщение может быть CBS-сообщением GSM или CBS-сообщением UMTS.
Фиг. 3 показывает форматы различных сообщений, используемых для поддержки широковещательных услуг в сети 120 CDMA. Для CDMA данные, которые должны подвергаться широковещательной передаче центром 122 коммутации сообщений, сначала инкапсулируются в сообщение доставки SMS на уровне телекоммуникационной службы, который является самым верхним уровнем в стеке протоколов SMS CDMA. Сообщение доставки SMS включает в себя различные поля, которые описывают атрибуты сообщения, затем инкапсулируется в сообщение широковещания SMS на транспортном уровне, который является следующим, более низким уровнем SMS, который управляет сквозной доставкой SMS-сообщений в CDMA. Сообщение широковещания SMS включает в себя различные поля, используемые для связанных с транспортировкой функций, а затем инкапсулируется в сообщение пакета данных, которое является сообщением на уровне 3 для IS-2000 и IS-95. Сообщение пакета данных дополнительно обрабатывается и передается в беспроводные устройства в сети 120 CDMA.
Сообщение широковещания SMS включает в себя различные параметры, два из которых показаны на фиг. 3. Параметр категории услуги идентифицирует категорию услуги для широковещательного SMS-сообщения. Параметр данных носителя (Bearer Data) переносит сообщение доставки SMS. Сообщение широковещания SMS может включать в себя другие параметры, которые не показаны на фиг. 3 для простоты.
Сообщение доставки SMS включает в себя различные подпараметры, пять из которых показаны на фиг. 3. Подпараметр “идентификатор сообщения” содержит в себе различные поля, два из которых показаны на фиг. 3. Поле Message_ID (идентификатора сообщения) содержит в себе значение, используемое для идентификации SMS-сообщений, которые были отправлены. Поле Header_Ind (признака заголовка) указывает, включает в себя или нет подпараметр пользовательских данных поле заголовка пользовательских данных. Подпараметр пользовательских данных включает в себя различные поля, пять из которых показаны на фиг. 3. Поле Msg_Encoding (кодирования сообщения) указывает схему кодирования, используемую для широковещательных данных в сообщении. Поле Message_Type (типа сообщения) указывает тип сообщения. Поле Num_Fields (количества полей) указывает количество вхождений последующего поля CHARi. Каждый экземпляр поля CHARi несет один символ широковещательных данных. Поле заголовка пользовательских данных, если присутствует, переносится полем CHARi и содержит в себе информацию, используемую для сцепления отдельных SMS-сообщений для длинного широковещательного сообщения. Поле заполнения переносит от 0 до 7 бит, чтобы сделать подпараметр пользовательских данных целочисленным по октетам в длину. Широковещательные данные переносятся в полях CHARi подпараметра “пользовательские данные”. Подпараметр “признак приоритета” указывает уровень приоритета сообщения. Подпараметр “признак языка” указывает язык сообщения. Подпараметр “режим отображения сообщения” указывает необязательный параметр отображения для сообщения, которым может быть (1) «отображать немедленно» – отображать так быстро, как возможно, (2) «настройки по умолчанию мобильного устройства» – отображать на основании настроек по умолчанию для беспроводного устройства, или (3) «активизация пользователем» – отображать, только когда активизировалось пользователем.
Сообщение пакета данных, кроме того, ассоциативно связано с BC_ADDR (адресом BC), который содержит в себе (1) поле приоритета, которое указывает приоритет сообщения, (2) поле Message_ID (идентификатора сообщения), которое служит отличительным признаком разных сообщений для одной и той же услуги, (3) поле Zone_ID (идентификатора зоны), которое указывает географическую зону, для которой должно быть отправлено сообщение, (4) поле услуги, которое указывает услугу, ассоциативно связанную с сообщением, и (5) поле языка, которое указывает язык, используемый для сообщения. Форматы SMS-сообщения CDMA описаны в TIA/EIA-637-B.
Как показано на фиг. 2А, 2В и 3 и описано выше, широковещательные сообщения для разных сетей имеют разные форматы. Как результат, широковещательные сообщения, принятые из разных сетей многорежимным беспроводным устройством 150, могут иметь разные параметры и кодирование содержимого. Более того, широковещательные услуги для разных сетей могут иметь разные конфигурации фильтрации, как описано ниже. Все из этого может усложнять прием широковещательных услуг из разных сетей.
Многорежимное беспроводное устройство 150 может быть сконструировано для поддержки прозрачных широковещательных услуг для разных беспроводных сетей с использованием технологий, описанных в материалах настоящей заявки. Прозрачные широковещательные услуги достигаются снабжением пользователя интерфейсом, который скрывает детали реализации для широковещательных служб по разным сетям. Таким образом, пользователю не требуется быть осведомленным о том, какие отдельные широковещательные услуги принимаются, и широковещательные услуги из разных сетей кажутся пользователю прозрачными. Прозрачные широковещательные службы упрощают прием широковещательных услуг из разных сетей и улучшают впечатление пользователя.
1. Смешанный набор параметров
Чтобы поддерживать прозрачные широковещательные услуги, определен смешанный набор (или расширенный набор) уместных параметров для широковещательных сообщений, используемых разными сетями. Параметры/подпараметры/поля широковещательного сообщения для каждой сети преобразуются в соответствующие параметры в смешанном наборе. Смешанный набор параметров используется для обработки и отображения широковещательных сообщений, принятых из многочисленных беспроводных сетей. Таблица 1 показывает смешанный набор параметров, который может использоваться для (1) CBS-сообщения для сетей GSM и UMTS и (2) широковещательного SMS-сообщения для сети CDMA. Первый столбец таблицы 1 перечисляет параметры в смешанном наборе. Второй столбец перечисляет параметры/поля CBS-сообщения (для GSM и UMTS), которые преобразуются в соответствующие параметры в смешанном наборе. Третий столбец перечисляет параметры/подпараметры/поля широковещательного SMS-сообщения (для CDMA), которые преобразуются в соответствующие параметры в смешанном наборе. Преобразование ниже описано более подробно. Параметры в смешанном наборе наполнены содержимым/значениями, полученными из преобразованных параметров принятого широковещательного сообщения, которое может быть либо CBS-сообщением, либо широковещательным SMS-сообщением.
Таблица 1 Смешанный набор параметров |
| Смешанный набор параметров |
Параметры CBS (GSM & UMTS) |
Параметры широковещательного SMS (CDMA) |
| Тип сообщения |
CBS (GSM & UMTS) CBS41 (UMTS) |
CBS41 |
| Идентификатор услуги |
Идентификатор сообщения |
Категория, язык услуги |
| Кодирование |
Схема кодирования данных |
Msg_Encoding & Message_Type |
| Язык |
Схема кодирования данных |
Признак языка |
| Класс сообщения |
Схема кодирования данных |
Не применяется |
| Сцепление сообщений |
Параметр страницы |
Header_Ind & Заголовок пользовательских данных |
| Географическая область |
Географическая область |
Zone_ID |
| Режим отображения |
Географическая область |
Режим отображения сообщения |
| Замещение сообщения |
Код сообщения & номер обновления |
Message_ID |
| Заголовок пользовательских данных |
Схема кодирования данных & содержимое сообщения/CB-данные |
Header_Ind & пользовательские данные |
| Справочник канала |
Индексное сообщение |
Не применяется |
Тип сообщения. Параметр “тип сообщения” указывает тип широковещательного сообщения. Принятое широковещательное сообщение может быть CBS-сообщением (CBS) или широковещательным SMS-сообщением (CBS41). CBS поддерживается GSM и UMTS. CBS41 поддерживается CDMA и также может поддерживаться UMTS. Разные значения могут назначаться для CBS и CBS41. Параметр “тип сообщения” устанавливается в надлежащее значение на основании типа принятого широковещательного сообщения.
Идентификатор услуги. Параметр “идентификатор услуги” указывает широковещательную услугу для принятого широковещательного сообщения. Для GSM и UMTS параметр идентификатора сообщения в CBS-сообщении содержит в себе единственное значение для источника и типа сообщения. Каждое уникальное значение для идентификатора сообщения может рассматриваться в качестве разной широковещательной услуги. Для CDMA сочетание категории и языка услуги идентифицирует уникальную широковещательную услугу. Однако другие сочетания параметров для SMS CDMA также могут использоваться для параметра “идентификатор услуги”.
Кодирование. Параметр “кодирование” указывает алфавит/набор символов, используемый для широковещательных данных в принятом широковещательном сообщении. GSM и UMTS поддерживают три набора символов – 7-бит GSM, 8-битные данные и 16-битную кодовую таблицу Unicode (UCS2). Эта информация встроена/закодирована в пределах параметра “схема кодирования данных” (DCS) (как описано в TS 23.038 3 GPP) и может быть извлечена и преобразована в параметр “кодирование”. CDMA поддерживает некоторое количество наборов символов, в том числе октетный, сообщения расширенного протокола IS-91, 7-битный ASCII, IA5, кодовую таблицу Unicode, Shift-JIS, корейский, латинский/иврит, латинский и 7-битный алфавит GSM по умолчанию. Эта информация удерживается в полях Msg_Encoding и Message_Type подпараметра “пользовательские данные” и может быть извлечена и преобразована в параметр “кодирование”.
Язык. Параметр “язык” указывает язык, используемый для принятого широковещательного сообщения. GSM и UMTS поддерживают некоторое количество языков, как предписано в TS 23.038 3GPP и ISO 639. Эта информация встроена/закодирована в пределах параметра “схема кодирования данных” и может быть извлечена и преобразована в параметр “язык”. CDMA поддерживает набор языков, в том числе не оговоренные в спецификации, английский, французский, испанский, японский, корейский, китайский и иврит. Эта информация удерживается в подпараметре “признак языка” и может быть извлечена и преобразована в параметр “язык”.
Класс сообщения. Параметр “класс сообщения” указывает обработку и маршрутизацию принятого широковещательного сообщения. GSM и UMTS поддерживают четыре класса сообщений: класс 0 для сообщений общего характера, класс 1 для МЕ-специфичных сообщений, класс 2 для сообщений SIM/USIM и класс 3 для ТЕ-специфичных сообщений. Подвижным оборудованием (ME) является беспроводное устройство. Терминальным оборудованием (TE) может быть компьютер, PDA (персональный цифровой секретарь), или некоторое другое устройство, которое может присоединяться к беспроводному устройству. Модулем идентификации абонента (SIM) и универсальным модулем идентификации абонента (USIM) являются съемные модули для беспроводного устройства. Информация класса сообщения встроена/закодирована в пределах параметра “схема кодирования данных” и может быть извлечена и преобразована в параметр “класс сообщения”. CDMA не использует это понятие класса сообщения. Значение по умолчанию может использоваться для параметра класса сообщения для CDMA.
Сцепление сообщений. Параметр сцепления сообщений переносит информацию, используемую для сцепления (соединения) множества широковещательных страниц в длинное широковещательное сообщение. Для GSM параметр “страница” содержит в себе два поля для количества широковещательных страниц в широковещательном сообщении и конкретной широковещательной страницы в пределах широковещательного сообщения. Для UMTS количество широковещательных страниц включено в параметр “CB-данные” CBS-сообщения. Информация страницы для GSM и UMTS может быть преобразована в параметр “сцепление сообщения”. Для CDMA поле Header_Ind в подпараметре “идентификатор сообщения” указывает, содержит или нет подпараметр “пользовательские данные” поле “заголовок пользовательских данных”, которое, в свою очередь, содержит в себе информацию для сцепления длинного широковещательного сообщения. Информация сцепления из этих двух полей может быть преобразована в параметр “сцепление сообщения”.
Географическая область. Параметр “географическая область” в смешанном наборе указывает географическую зону для принятого широковещательного сообщения. Для GSM и UMTS поле “географическая область” CBS-сообщения указывает географическую зону для сообщения. Географическая зона для CBS-сообщения может быть масштаба соты, масштаба PLMN, масштаба зоны расположения (в GSM), масштаба зоны обслуживания (в UMTS), где PLMN стоит за наземной сетью мобильной связи общего пользования. Эта информация может быть извлечена из поля “географическая область” CBS-сообщения и преобразована в параметр “географическая область” в смешанном наборе. CDMA не использует понятие географической области, значит, для параметра “географическая область” может использоваться значение по умолчанию. В качестве альтернативы, информация Zone_ID из BC_ADDR может быть преобразована в параметр “географическая область” в качестве указанного в таблице 1 режима отображения. Параметр “режим отображения” указывает необязательный параметр отображения для принятого широковещательного сообщения. Для GSM и UMTS поле “географическая область” CBS-сообщения также указывает режим отображения для сообщения. Режим отображения может быть (1) «немедленным» для отображения CBS-сообщения всякий раз или (2) «нормальным» для отображения CBS-сообщения, только если пользователь предпочитает просмотреть сообщение посредством пользовательского взаимодействия. Режим отображения для принятого CBS-сообщения может быть преобразован в параметр “режим отображения”. Для CDMA подпараметр “режим отображения сообщения” указывает режим отображения для широковещательного SMS-сообщения, как описано выше, и может быть преобразован в параметр “режим отображения”.
Замещение сообщения. Параметр “замещение сообщения” содержит в себе информацию, используемую для замещения старого широковещательного сообщения новым широковещательным сообщением, которое содержит в себе обновленные широковещательные данные. Для GSM и UMTS номер обновления указывает изменение в содержимом того же самого CBS-сообщения. Информация, указывающая обновленное CBS-сообщение, может быть получена из принятого CBS-сообщения и преобразована в параметр “замещение сообщения”. Для CDMA поле Message_ID в подпараметре “идентификатор сообщения” содержит в себе значение, используемое для идентификации отправленного SMS-сообщения. Эта информация может быть извлечена и преобразована в параметр “замещение сообщения”.
Заголовок пользовательских данных. Параметр “заголовок пользовательских данных” (1) указывает, содержит или нет принятое широковещательное сообщение заголовок, и (2) содержит сам заголовок. Для GSM и UMTS наличие заголовка пользовательских данных определяется параметром DCS в CBS-сообщении, а заголовок пользовательских данных находится в поле CB-данных CBS-сообщения. Для CDMA наличие заголовка пользовательских данных определяется полем Header_Ind подпараметра “идентификатор сообщения” в сообщении доставки SMS для широковещательного сообщения CDMA, а заголовок пользовательских данных находится в подпараметре “пользовательские данные” сообщения доставки SMS. Первый байт указывает полную длину заголовка пользовательских данных. Может быть представлено множество заголовков пользовательских данных, которые могут предусматривать дополнительные атрибуты для сообщения и содержимого продвинутой службы обмена сообщениями (EMS), такого как битовые отображения, анимации, мелодии, текстовые стили и так далее. Информация заголовка для CDMA может быть извлечена из этих полей/подпараметров и преобразована в параметр “заголовок сообщения”.
Справочник канала. Параметр “справочник канала” содержит в себе таблицу имеющихся в распоряжении широковещательных услуг. Для GSM и UMTS широковещательные услуги определены сочетанием источника и типа, и сетевой оператор может определять широковещательные услуги и задавать значения этим широковещательным услугам (например, определять смысл и значения для идентификатора сообщения). Широковещательные услуги и их заданные значения хранятся в индексной структуре. Индексная структура подвергается широковещательной передаче в беспроводные устройства посредством индексных сообщений, которые являются CBS-сообщениями со значением «1010101010b» для кода сообщения. Беспроводные устройства принимают и сохраняют индексную структуру. Каждое CBS-сообщение предназначено для одной из широковещательных услуг, описанных в индексной структуре (то есть значение “идентификатор сообщения” для CBS-сообщения будет соответствовать одному из значений в индексной структуре). Индексная структура для GSM и UMTS может быть сохранена в параметре “справочник канала”.
Для CDMA категории услуг определяются в общедоступном документе TSB-58-E. Сетевой оператор может определять свою собственную категорию услуги с использованием диапазона «фирменной категории услуг» из 0x8001-0xFFFF. Каждое широковещательное SMS-сообщение предназначено для одной из определенных категорий услуг (то есть параметр “категория услуги” содержит в себе значение, соответствующее одной из определенных категорий услуг). Категории услуг, определенные согласно CDMA, также могут храниться в параметре “справочник канала”. Таким образом, чтобы поддерживать GSM, UMTS и CDMA, параметр “справочник канала” может хранить расширенный набор всех широковещательных служб/категорий услуг, определенных всеми этими сетями. Таблица 1 показывает смешанный набор параметров, которые могут использоваться для широковещательных сообщений в сетях GSM, UMTS и CDMA. Таблица 1 также показывает преобразование параметров/подпараметров/полей широковещательных сообщений для этих сетей в параметры в смешанном наборе. Вообще, смешанный набор может включать в себя большее количество, иные и/или меньшее количество параметров, нежели перечисленные в таблице 1, и это находится в пределах объема изобретения. Более того, преобразование может быть иным, нежели показанное в таблице 1.
Вообще, смешанный набор включает в себя параметр для каждого параметра/подпараметра/поля широковещательного сообщения, который считается уместным. Если данный параметр в смешанном наборе применим только для одной сети, то этот параметр может принимать значения, определенные одной сетью для этого параметра, а значение по умолчанию может использоваться для других сетей, которые не используют этот параметр. В качестве примера, параметр “класс сообщения” может быть установлен в «0», «1», «2» или «3» для GSM и в значение по умолчанию для CDMA. Если данный параметр в смешанном наборе применим к множеству сетей, то этот параметр может принимать значения, определенные множеством сетей. Например, параметр “режим отображения” может приобретать значения (1) «немедленно» или “нормально” для GSM и UMTS, и (2) «отображать немедленно», «настройки по умолчанию мобильного устройства» или «активизация пользователем» для CDMA. Таким образом, каждый параметр в смешанном наборе может быть применимым к одной или множеству сетей.
Преобразование может не быть очевидным, если два параметра для двух сетей являются родственными, но обладают разной областью действия. Например, параметр “идентификатор сообщения” для GSM и UMTS указывает оба, источник и тип, CBS-сообщения, тогда как параметр “категория услуги” для CDMA указывает только категорию услуги для широковещательного SMS-сообщения. В этом случае, преобразование может выполняться различными способами. Например, параметр “идентификатор сообщения” может быть разложен на источник и тип, которые, затем, могут быть преобразованы в два параметра в смешанном наборе. В качестве альтернативы, источник и тип могут быть преобразованы в единственный параметр (идентификатор услуги) в смешанном наборе, а сочетание категории и языка могут быть использованы для CDMA, как показано в таблице 1. Преобразование может быть зависимым от конструктивного предпочтения, пользовательского предпочтения и/или других соображений.
Использование смешанного набора параметров для обработки и отображения широковещательных сообщений для прозрачных широковещательных услуг описано ниже.
2. Конфигурации фильтрации
Широковещательные сообщения могут отправляться сетями для различных типов, категорий услуг, на разных языках и так далее. Беспроводному устройству может быть предоставлена возможность принимать все, некоторые или никакие из этих широковещательных сообщений (например, на основании подписки на услугу для беспроводного устройства). Более того, пользователь может быть заинтересован во всех, некоторых или никаких широковещательных сообщениях, которым предоставлена возможность приниматься. Механизм фильтрации используется для фильтрации широковещательных сообщений в беспроводном устройстве на основании всех из применимой сети и потребностей пользователя.
Фиг. 4 показывает таблицу 400 услуг, которая может поддерживаться беспроводным устройством для фильтрации широковещательных сообщений. Для варианта осуществления, показанного на фиг. 4, таблица услуг включает в себя семь столбцов для категории услуги, языка, пометки, приоритета, выбранные, варианта выбора предупредительного сигнала и максимального количества сообщений. Столбец “категория услуги” идентифицирует категории услуг, которые были запрограммированы в таблицу услуг. Столбец “язык” указывает язык, ассоциативно связанный с каждой запрограммированной категорией услуг. Таблица услуг включает в себя одну запись (или строку) для каждой широковещательной услуги, которая может быть (1) уникальным сочетанием категории и языка услуги для CDMA либо (2) уникальным значением идентификатора сообщения для GSM и UMTS.
Столбец “пометки” хранит распознаваемые пользователем пометки (например, «местные новости») для категорий услуг, которым присвоены нераспознаваемые значения (например, 0x0004). Столбец “приоритет” указывает приоритет, выбранный пользователем для каждой запрограммированной записи в таблице услуг. Столбец “выбранные” указывает, была или нет выбрана для приема пользователем каждая запрограммированная запись в таблице услуг. Только широковещательные сообщения для выбранных запрограммированных записей обрабатываются беспроводным устройством (при условии, что другие критерии, если имеют место, также удовлетворены). Столбец “вариант выбора предупредительного сигнала” указывает конкретный вариант выбора (например, вибрация, звонок и так далее) для предупреждения пользователя о новом широковещательном сообщении для каждой запрограммированной записи. Столбец “максимальное количество сообщений” указывает максимальное количество широковещательных сообщений, которые должны быть сохранены, для каждой запрограммированной записи. Таблица услуг может включать в себя другие столбцы для другой информации, полезной для широковещательных сообщений. Вообще, любое количество и любое сочетание столбцов в таблице услуг может использоваться для фильтрации широковещательных сообщений.
Фильтрация широковещательных сообщений в беспроводном устройстве может выполняться на основании различных критериев. Например, критерии фильтрации широковещательных сообщений могут быть рассортированы на три категории: сетевая конфигурация, пользовательская конфигурация и пользовательские предпочтения.
Сетевая конфигурация включает в себя критерии фильтрации, наложенные сетевым оператором/поставщиком услуг, и типично программируются в беспроводное устройство либо до, либо во время активации беспроводного устройства. Таблица 2 перечисляет возможные настройки для сетевой конфигурации для CDMA. Поступающие широковещательные сообщения фильтруются беспроводным устройством на основании запрограммированных настроек сетевой конфигурации.
Таблица 2 Сетевая конфигурация |
| Настройки |
Описание |
| Разрешить все |
Эта настройка предоставляет беспроводному устройству возможность принимать все широковещательные сообщения. |
| Разрешить только табличные |
Эта настройка предоставляет беспроводному устройству возможность принимать только широковещательные сообщения для категорий услуг, которые были запрограммированы в таблице услуг. |
| Запретить |
Эта настройка блокирует возможность широковещательного обслуживания беспроводного устройства (то есть беспроводное устройство не будет обрабатывать широковещательные сообщения). |
Пользовательская конфигурация включает в себя критерии фильтрации, определенные пользователем. Таблица 3 перечисляет возможные настройки для пользовательской конфигурации для CDMA. Поступающие широковещательные сообщения дополнительно фильтруются беспроводным устройством на основании выбранных пользовательских настроек конфигурации.
Таблица 3 Пользовательская конфигурация |
| Настройки |
Описание |
| Активировать все |
Эта настройка предоставляет беспроводному устройству возможность принимать все широковещательные сообщения и действительна, только если сетевой конфигурацией является «разрешить все». |
| Активировать только табличные |
Эта настройка предоставляет беспроводному устройству возможность принимать широковещательные сообщения только для категорий услуг, которые были запрограммированы в таблице услуг, обусловленных любыми дополнительными критериями фильтрации, включенными в таблицу обслуживания на основании пользовательских предпочтений. Эта настройка действительна, если сетевой конфигурацией не является «запретить». Пользователь может избирательно разблокировать и блокировать отдельные запрограммированные записи в таблице услуг. |
| Деактивировать |
Эта настройка блокирует функции широковещательных услуг беспроводного устройства. |
Пользовательская конфигурация ограничена/стеснена сетевой конфигурацией. Пользователь не может выбирать настройку пользовательской конфигурации, которая шире, чем настройка сетевой конфигурации.
Пользовательские предпочтения включают в себя критерии фильтрации, выбранные пользователем, и применяются к запрограммированным записям в таблице услуг. Пользователю может быть предоставлена возможность разблокировать/блокировать каждую запрограммированную запись в таблице услуг по отдельности. Пользователь также может задавать уровень приоритета для каждой запрограммированной записи. В этом случае поступающие широковещательные сообщения только для выбранной/разблокированной запрограммированной записи, имеющие приоритет, равный или больший, чем заданный приоритет в таблице услуг, обрабатываются беспроводным устройством.
Конфигурации фильтрации могут быть определены для широковещательных услуг для многочисленных сетей. Широковещательные сообщения для этих сетей, в таком случае, фильтруются на основании конфигураций фильтрации, приемлемых для этих сетей.
Таблица 4 показывает конфигурации фильтрации, поддерживаемые GSM, UMTS и CDMA. Для сетевой конфигурации фильтрация с помощью таблицы услуг поддерживается CDMA, но не поддерживается GSM и UMTS. Для пользовательской конфигурации широковещательные сообщения могут отфильтровываться таблицей услуг для CDMA и языковыми предпочтениями для GSM и UMTS. Фильтрация таблицей услуг также может быть реализована для GSM и UMTS, хотя это и не описано в стандартах GSM и 3GPP. Для пользовательских предпочтений широковещательные сообщения могут фильтроваться по различным полям, таким как (1) идентификатор услуги, выбранные, приоритет, пометки, предупредительный сигнал и максимальное количество сообщений для CDMA, и (2) идентификатор услуги, выбранные и пометки для GSM и UMTS. Каждая из трех конфигураций фильтрации (сетевая конфигурация, пользовательская конфигурация и пользовательские предпочтения) может быть определена, чтобы покрывать расширенный набор всех возможных значений для этой конфигурации. Например, пользовательская конфигурация может принимать значения «активировать все», «активировать только табличные», «активировать без языковых предпочтений» и «деактивировать».
Таблица 4 Параметры конфигурации фильтрации |
| Конфигурация |
CBS (GSM & UMTS) |
Широковещательное SMS (CDMA) |
| Сетевая конфигурация |
Разрешить, запретить |
Разрешить все, разрешить только табличные, запретить |
| Пользовательская конфигурация |
Активировать, деактивировать, активировать без языковых предпочтений |
Активировать все, активировать только табличные, деактивировать |
| Пользовательские предпочтения |
Идентификатор услуги (идентификатор сообщения), выбранные, пометки |
Идентификатор услуги (категория, язык услуги), выбранные, пометки, приоритет, вариант выбора предупредительного сигнала, максимальное количество сообщений |
Конфигурации фильтрации могут храниться в энергонезависимой памяти, которая находится в пределах беспроводного устройства или доступна беспроводному устройству. Энергонезависимой памятью может быть флэш-память, электрически стираемое программируемое постоянное запоминающее устройство (ЭСППЗУ, EEPROM), мультимедийная карта (MMC) или некоторый другой тип энергонезависимой памяти. Конфигурации фильтрации также могут храниться в виде элементарных файлов (EF) в съемном модуле, который упоминается как SIM/USIM для GSM и UMTS и съемный модуль идентификации абонента (R-UIM) для CDMA. Для GSM и UMTS файл EFCBMI хранит список широковещательных услуг, которые пользователь выбирает для приема, и файл EFCBMIR хранит список широковещательных услуг, которые пользователь должен принимать. Для CDMA файл EFBCSMSpref хранит настройки пользовательской конфигурации, а файл EFBCSMStable хранит информацию для таблицы услуг и критериев фильтрации, имеющих отношение к пользовательским предпочтениям.
Фильтрация широковещательных сообщений с помощью конфигураций фильтрации описана ниже.
3. Система
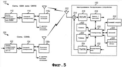
Фиг. 5 показывает структурную схему беспроводного устройства 150. Для сети 110 GSM или UMTS центр 112 сотового широковещания обрабатывает широковещательные данные и выдает CBS-сообщения в сетевой контроллер 114, который пересылает эти сообщения дальше, в надлежащие базовые станции 116. Каждая базовая станция 116 обрабатывает и передает CBS-сообщения в беспроводные устройства в пределах зоны обслуживания. Сетевые объекты в пределах сети 120 CDMA подобным образом обрабатывают и передают широковещательные SMS-сообщения в беспроводные устройства в пределах зоны обслуживания сети 120.
В беспроводном устройстве 150, в приемном тракте, сигналы, переданные базовыми станциями в сети 110 и 120, принимаются антенной 512, маршрутиризуются через дуплексер 514 (D) и подаются в узел 516 приемника (RCVR). Узел 516 приемника приводит в нужное состояние (например, фильтрует, усиливает и преобразует с понижением частоты) принятый сигнал и затем оцифровывает приведенный в нужное состояние сигнал для получения выборок. Демодулятор (Демод.)/декодер 518, затем, демодулирует и декодирует выборки (например, на основании обработки физического уровня, определенной сетью, являющейся принимаемой) и предоставляет декодированные данные для широковещательных сообщений и других сообщений, отправленных базовыми станциями. Принятые широковещательные сообщения выдаются в контроллер 520 для дальнейшей обработки. Контроллер 520 может сохранять широковещательные сообщения в узле 522 памяти и/или предоставлять широковещательные сообщения в узел 526 отображения для представления пользователю. В передающем тракте данные и сообщения, которые должны быть отправлены беспроводным устройством 150, кодируются и модулируются кодировщиком/модулятором 532 (Мод.), приводятся в нужное состояние узлом 534 передатчика (TMTR), маршрутизируются через дуплексер 514 и передаются через антенну 512 на базовую станцию(и).
Контроллер 520 управляет работой узлов обработки в пределах беспроводного устройства 150. Например, контроллер 520 может управлять приемом широковещательных сообщений для множества сетей, фильтрацией широковещательных сообщений и так далее. Узел 522 памяти хранит программные коды и данные, используемые контроллером 520 и другими узлами. Таймер 524 предоставляет информацию о синхронизации, которая может использоваться для реализации контролируемого по времени широковещательного приема, который описан ниже. Устройства 528 ввода принимают входные сигналы от пользователя и подают пользовательские входные сигналы в контроллер 520. Съемный модуль 530 (например, SIM/USIM или R-UIM) может использоваться для хранения уместной информации, такой как смешанный набор параметров, конфигурации фильтрации, информация контролируемого по времени широковещательного приема и так далее.
Фиг. 6 показывает конструкцию контроллера 520, способного к обеспечению прозрачных широковещательных услуг для беспроводного устройства 150. Узел 522 памяти хранит смешанный набор параметров 622 для широковещательных услуг и конфигурации 624 фильтрации для всех поддерживаемых сетей. Демодулятор/декодер 518 подают широковещательные сообщения, принятые из сетей 110 и 120, в контроллер 520.
В пределах контроллера 520 модуль 616 CBS GSM выполняет обработку для CBS-сообщений, принятых из сети 110 GSM или UMTS. Модуль 618 широковещания CDMA выполняет обработку для широковещательных SMS-сообщений, принятых из сети 120 CDMA. Модули 616 и 618 обрабатывают широковещательные сообщения традиционным образом на основании параметров широковещательных сообщений. Модули 616 и 618 типично обнаруживают дублирующие широковещательные сообщения и отбрасывают дублирующие сообщения. Модули 616 и 618 также фильтруют широковещательные сообщения на основании конфигураций фильтрации для сетей 110 и 120 соответственно.
Модуль 614 службы обмена сообщениями поддерживает смешанный набор параметров для широковещательных услуг и конфигураций фильтрации для сетей 110 и 120. Модуль 614 предоставляет конфигурации фильтрации в модули 616 и 618 для фильтрации широковещательных сообщений из сетей 110 и 120 соответственно.
Модуль 614 службы обмена сообщениями также принимает CBS-сообщения, обработанные модулем 616, и широковещательные SMS-сообщения, обработанные модулем 618. Модуль 614 преобразует содержимое параметров в CBS-сообщениях и широковещательных SMS-сообщениях в соответствующие параметры в смешанном наборе. Модуль 614 предоставляет содержимое параметров в смешанном наборе в модуль 612 прикладных программ. Модуль 614 также предоставляет прикладной программный интерфейс (API), который используется модулем 612 прикладных программ для доступа к услугам, предоставляемым модулем 616 CBS GSM и модулем 618 широковещания CDMA. Модуль 612 прикладных программ предоставляет интерфейс для пользователя и поддерживает связь с модулем 614 службы обмена сообщениями для предоставления широковещательных услуг для сетей 110 и 120.
Модуль 612 прикладных программ и модуль 614 службы обмена сообщениями вместе обеспечивают прозрачные широковещательные услуги. Модуль 614 службы обмена сообщениями стремится скрыть, насколько это возможно, детали реализации для лежащих в основе сетей от модуля 612 прикладных программ. Модуль 612 прикладных программ стремится скрыть, насколько это возможно, оставшиеся детали реализации от пользователя.
Модуль 612 прикладных программ представляет применяемые параметры в смешанном наборе пользователю для просмотра, выбора и/или других целей. Для каждого параметра, который является выбираемым и конфигурируемым пользователем, пользователь может быть одарен всеобъемлющим перечнем имеющихся в распоряжении вариантов выбора/значений для параметра для всех поддерживаемых сетей. Например, расширенный набор типов/категорий услуг для всех поддерживаемых сетей может отображаться для выбора пользователем. Пользователю не требуется осведомляться о том, какие отдельные типы/категории услуг поддерживаются и какой сетью. В качестве еще одного примера, расширенный набор всех языков может быть представлен пользователю. В зависимости от требуемой реализации категории и языки услуг могут быть представлены отдельно для независимого выбора пользователем или представлены вместе для выбора в сочетании. Справочник канала может отображаться (например, когда запрошен), с тем чтобы пользователь мог просматривать и выбирать желаемые услуги. Имеющая отношение к сети информация может быть скрыта от пользователя и представлена, если запрашивается пользователем.
Модуль 612 прикладных программ также может скрывать различия, когда (1) сеть CDMA отправляет сообщение SMS двухточечного соединения с информацией телекоммуникационной службы программирования категорий услуг (SCPT) для добавления или удаления записей таблицы услуг в памяти или RUIM беспроводного устройства, или (2) сеть GSM/UMTS отправляет сообщение двухточечного соединения или загрузки CB в SIM/USIM беспроводного устройства для обновления таблицы услуг, хранимой в EFCBMI, EFCBMIR, EFCBMID и других файлах SIM/USIM, которые влияют на фильтрацию CB.
Некоторые из параметров в смешанном наборе используются для обработки широковещательных сообщений, принятых из сетей, и прозрачны для пользователя. Модуль 616 CBS GSM может обрабатывать CBS-сообщения традиционным образом и не вынужден быть осведомленным о модуле 618 широковещания CDMA, и наоборот. Модуль 614 службы обмена сообщениями преобразует параметры принятого широковещательного сообщения в соответствующие параметры в смешанном наборе. Например, модуль 614 может устанавливать параметр “класс сообщения” в класс сообщения, полученный из принятого широковещательного сообщения, если оно является CBS-сообщением, или значение по умолчанию, если оно является широковещательным SMS-сообщением. Модуль 612 прикладных программ, в таком случае, может маршрутизировать и сохранять широковещательное сообщение надлежащим образом на основании параметра “класс сообщения”. В качестве еще одного примера, модуль 614 службы обмена сообщениями может устанавливать параметр “сцепление сообщения” в значения из параметра страницы принятого CBS-сообщения, или параметров Header_Ind, или заголовка пользовательских данных принятого широковещательного SMS-сообщения. Модуль 612 прикладных программ, затем, может выполнять сцепление на основании параметра “сцепление сообщения”. В качестве еще одного примера, модуль 614 службы обмена сообщениями может устанавливать параметр “кодирование” в значения из параметра “схема кодирования данных” принятого CBS-сообщения либо полей Msg_Encoding и типа сообщения принятого широковещательного SMS-сообщения. Модуль 612 прикладных программ, в таком случае, может использовать подходящее битовое отображение для схемы кодирования, используемой для широковещательного сообщения, в качестве указанной параметром “кодирование”, для отображения широковещательного сообщения. Вообще, если данный параметр в смешанном наборе применим к конкретной сети, то такой параметр заполняется содержимым ассоциативно связанного/преобразованного параметра широковещательного сообщения для такой сети. Если параметр в смешанном наборе не применим к сети, то параметр может быть заполнен значением по умолчанию.
Фиг. 6 показывает специальную конструкцию для поддержки прозрачных широковещательных услуг. Различные другие конструкции также возможны, и это находится в пределах объема изобретения. В качестве примеров, один модуль может выполнять функции обоих модулей 616 и 618, один модуль может выполнять функции обоих модулей 612 и 614 и так далее. Модули с 612 по 618 могут быть реализованы в аппаратных средствах или программном обеспечении.
Фиг. 7 показывает последовательность 700 операций для обеспечения прозрачных широковещательных услуг для беспроводного устройства 150. В начале конфигурации фильтрации для всех из поддерживаемых сетей задаются сетевым оператором и/или пользователем (этап 712). Для широковещательного приема касательно первой сети (например, сети GSM или UMTS) первое широковещательное сообщение (например CBS-сообщение) для первой сети принимается и обрабатывается (например, модулем 616 CBS GSM) в соответствии с параметрами этого сообщения и конфигурациями фильтрации для первой сети (этап 722). Параметры первого широковещательного сообщения преобразуются (например, модулем 614 службы обмена сообщениями) в соответствующие параметры в смешанном наборе (этап 724). Первое широковещательное сообщение, кроме того, обрабатывается и отображается (например, модулем 612 прикладных программ) на основании параметров в смешанном наборе (этап 726).
Для широковещательного приема касательно второй сети (например, сети CDMA) второе широковещательное сообщение (например, широковещательное SMS-сообщение) для второй сети принимается и обрабатывается (например, модулем 618 широковещания CDMA) в соответствии с параметрами этого сообщения и конфигурациями фильтрации для второй сети (этап 732). Параметры второго широковещательного сообщения преобразуются в соответствующие параметры в смешанном наборе (этап 734). Второе широковещательное сообщение, кроме того, обрабатывается и отображается на основании параметров в смешанном наборе (этап 736).
Вообще, беспроводное устройство может быть способным принимать и обрабатывать широковещательные сообщения только для одной сети за раз либо для обеих сетей одновременно. Возможность широковещательного приема может быть зависимой от различных факторов, таких как конструкция и/или конфигурация беспроводного устройства, покрытие, принимаемое беспроводным устройством, и так далее.
4. Контролируемый по времени широковещательный прием
Широковещательные услуги также могут приниматься беспроводным устройством на основании времени. Могут быть определены один или более наборов широковещательных услуг, где каждый набор включает в себя любое количество и сочетание широковещательных услуг. Каждый набор услуг также ассоциативно связывается с периодами времени, в которые набор активирован, и/или периодами времени, в течение которых набор деактивирован. Для данного набора услуг, когда начинается время для активации, широковещательные услуги в наборе активируются, а беспроводное устройство принимает и обрабатывает широковещательные сообщения для этих услуг. Когда время для активации завершается, широковещательные услуги в наборе деактивируются, а беспроводное устройство не обрабатывает широковещательные сообщения для этих услуг. Таймер или будильник (например, таймер 524 на фиг. 5) может предоставлять информацию о синхронизации, используемую для автоматической активации или деактивации каждого набора услуг.
Пользователь может определять наборы услуг из условия, чтобы была получена уместная широковещательная информация. Например, пользователь может определить первый набор услуг с сообщением о ситуациях на дорогах, котировками ценных бумаг и местными/национальными новостями, который должен быть активирован в течение утренних часов поездки на работу, с 7 до 10 утра, второй набор с сообщением о ситуациях на дорогах и местными новостями, который должен быть активирован в течение вечерних часов поездки с работы, с 4 до 7 вечера, третий набор с погодой и новостями, который должен быть активирован в выходные, и так далее.
Функция контролируемого по времени широковещательного приема может рассматриваться в качестве дополнительного критерия фильтрации поверх сетевой конфигурации, пользовательской конфигурации и пользовательских предпочтений, описанных выше. Беспроводное устройство могло бы принимать и обрабатывать широковещательные сообщения, которые удовлетворяют настройкам конфигурации, а также временным ограничениям, определенным для наборов услуг.
Функция контролируемого по времени широковещательного приема также может использоваться для изменения настроек пользовательского предпочтения (например, таких как перечисленные на фиг. 4) на основании времени. Эта функция может использоваться для изменения приоритета широковещательных услуг в CDMA. Например, пользователь может пожелать принимать все сообщения прогноза погоды в течение дня и только экстренные сообщения прогноза погоды в течение вечера. Эта функция также может использоваться для изменения языковых предпочтений широковещательных услуг в GSM и CDMA. Например, пользователь может пожелать принимать новости на английском в течение дня и новости на испанском в течение вечера. Эта функция также может использоваться для изменения настроек широковещательного предупредительного сигнала автоматически, в зависимости от времени. Например, пользователь может пожелать быть предупрежденным о принятых широковещательных сообщениях вибрацией в течение дня и слышимыми звуковыми сигналами в течение вечера.
Фиг. 8 показывает последовательность 800 операций для выполнения контролируемого по времени широковещательного приема. Последовательность 800 операций может использоваться для приема широковещательных услуг от одной или многочисленных беспроводных сетей. В начале определяется по меньшей мере один набор широковещательных услуг (этап 812). Каждый набор услуг включает в себя по меньшей мере одну широковещательную услугу, предоставляемую беспроводной сетью. Период продолжительности обслуживания связывается с каждым набором услуг (этап 814). Период продолжительности обслуживания для каждого набора услуг указывает период времени, в течение которого широковещательные сообщения для широковещательных услуг(и) в наборе должны приниматься беспроводным устройством. После этого широковещательные сообщения для широковещательных услуг(и) в каждом наборе принимаются во время периода продолжительности обслуживания для такого набора (этап 816).
Для ясности, технологии прозрачного и контролируемого по времени широковещательного приема были описаны конкретно для сети GSM или UMTS и сети CDMA. Вообще, эти технологии могут использоваться для любого количества сетей, которые могут принадлежать любой беспроводной технологи. Например, эти технологии могут использоваться для приема широковещательных услуг из трех или более беспроводных сетей. Разные модули обработки широковещательных сообщений (похожие на модули 616 и 618) могут использоваться для каждой другой беспроводной сети. Различные модули обработки широковещательных сообщений могут поддерживать связь с модулем 614 службы обмена сообщениями для обеспечения прозрачного широковещательного приема.
Технологии прозрачного и контролируемого по времени широковещательного приема, описанные в материалах настоящей заявки, могут предоставлять различные преимущества. Эти технологии могут обеспечивать независимый от технологии пользовательский интерфейс для широковещательных услуг и улучшать впечатление пользователя касательно широковещательных услуг. Как результат, пользователь может больше использовать широковещательные услуги вследствие улучшенной легкости использования, подписываться на большее количество широковещательных услуг, производить больше голосовых и/или информационных вызовов в ответ на принятые широковещательные сообщения и так далее. Это, в таком случае, повышает коэффициент использования системы и приносит пользу сетевому оператору, так же как и пользователю.
Технологии прозрачного и контролируемого по времени широковещательного приема, описанные в материалах настоящей заявки, могут быть реализованы различными средствами. Например, эти способы могут быть реализованы в аппаратных средствах, программном обеспечении или их комбинации. Для аппаратной реализации модули обработки, используемые для облегчения и/или выполнения широковещательного приема (например, модули 612, 614, 616 и 618 на фиг. 6), могут быть реализованы в одной или более специализированных интегральных схемах (ASIC), цифровых сигнальных процессорах (ЦСП, DSP), устройствах цифровой сигнальной обработки (DSPD), программируемых логических устройствах (PLD), программируемых вентильных матрицах (FPGA), процессорах, контроллерах, микроконтроллерах, микропроцессорах, других электронных модулях, предназначенных для выполнения функций, описанных в материалах настоящей заявки, или их сочетании.
Для программной реализации технологии широковещательного приема, описанные в материалах настоящей заявки, могут быть реализованы модулями (например, процедурами, функциями и так далее), такими как 612, 614, 616 и 618 на фиг. 6, которые выполняют функции, описанные в материалах настоящей заявки. Программные коды могут храниться в узле памяти (например, узле 522 памяти на фиг. 5) и исполняться процессором (например, контроллером 520). Узел памяти может быть реализован в пределах процессора или быть внешним по отношению к процессору, в каковом случае он может быть присоединен с возможностью обмена данными к процессору через различные средства, которые известны в данной области техники.
Заголовки включены в состав материалов настоящей заявки для ссылки и чтобы помочь при определении местоположения некоторых разделов. Эти заголовки не имеют намерением ограничивать объем концепций, описанных под ними, и эти концепции могут обладать применимостью в других разделах на всем протяжении взятого в целом описания изобретения.
Предшествующее описание раскрытых вариантов осуществления предоставлено, чтобы дать возможность любому специалисту в данной области техники сконструировать или использовать настоящее изобретение. Различные модификации по отношению к этим вариантам осуществления будут очевидны специалистам в данной области техники, а общие принципы, определенные в материалах настоящей заявки, могут быть применены к другим вариантам осуществления, не выходя за рамки сущности и объема изобретения. Таким образом, настоящее изобретение не имеет намерением ограничиваться вариантами осуществления, показанными в материалах настоящей заявки, но должно быть согласованным, наиболее широким объемом, совместимым с принципами и новыми признаками, раскрытыми в материалах настоящей заявки.
Формула изобретения
1. Устройство беспроводной связи, содержащее:
первый модуль, выполненный с возможностью обработки первого широковещательного сообщения для первой системы беспроводной связи в соответствии с параметрами первого широковещательного сообщения;
второй модуль, выполненный с возможностью обработки второго широковещательного сообщения для второй системы беспроводной связи в соответствии с параметрами второго широковещательного сообщения; и
третий модуль, выполненный с возможностью преобразования параметров первого и второго широковещательных сообщений в соответствующие параметры в наборе параметров, определенных для широковещательных услуг.
2. Устройство по п.1, в котором первым широковещательным сообщением является сообщение службы сотового широковещания (CBS) для глобальной системы мобильной связи (GSM) и универсальной системы мобильных телекоммуникаций (UMTS), и при этом вторым широковещательным сообщением является широковещательное сообщение службы коротких сообщений (SMS), используемое для системы множественного доступа с кодовым разделением каналов (CDMA).
3. Устройство по п.1, дополнительно содержащее:
четвертый модуль, выполненный с возможностью обработки третьего широковещательного сообщения для третьей системы беспроводной связи в соответствии с параметрами третьего широковещательного сообщения, и при этом третий модуль дополнительно выполнен с возможностью преобразования параметров третьего широковещательного сообщения в соответствующие параметры в наборе параметров, определенных для широковещательных услуг.
4. Устройство по п.1, дополнительно содержащее:
четвертый модуль, выполненный с возможностью отображения первого и второго широковещательных сообщений на основании параметров в упомянутом наборе.
5. Устройство по п.4, в котором четвертый модуль дополнительно выполнен с возможностью предоставления параметров в наборе для пользовательского просмотра и выбора, взамен параметров первого и второго широковещательных сообщений.
6. Устройство по п.1, в котором каждый из параметров в упомянутом наборе ассоциативно связан с преобразованным параметром для первого широковещательного сообщения, преобразованным параметром для второго широковещательного сообщения, или преобразованным параметром для обоих, первого и второго, широковещательных сообщений.
7. Устройство по п.6, в котором каждый параметр в упомянутом наборе, ассоциативно связанном с преобразованным параметром для обоих, первого и второго, широковещательных сообщений, может принимать все значения, возможные для преобразованного параметра для первого и второго широковещательных сообщений.
8. Устройство по п.6, в котором каждый параметр в упомянутом наборе, ассоциативно связанном с преобразованным параметром для первого широковещательного сообщения, может принимать все значения, возможные для преобразованного параметра первого широковещательного сообщения и значение по умолчанию для второго широковещательного сообщения.
9. Устройство по п.1, в котором упомянутый набор включает в себя параметр идентификатора услуги, указывающий на широковещательные услуги, предоставляемые первой и второй системами.
10. Устройство по п.1, в котором упомянутый набор включает в себя параметр кодирования, указывающий на наборы символов, используемые для широковещательных сообщений, принятых из первой и второй сетей, и параметр языка, указывающий на языки, использованные для широковещательных сообщений.
11. Устройство по п.1, в котором упомянутый набор включает в себя параметр режима отображения, указывающий на необязательные параметры отображения для широковещательных сообщений, принятых из первой и второй сетей, и параметр замещения сообщения, используемый для замещения старых широковещательных сообщений новыми широковещательными сообщениями.
12. Устройство по п.1, в котором первый модуль дополнительно выполнен с возможностью фильтрации широковещательных сообщений для первой системы на основании первых конфигураций фильтрации, и при этом второй модуль дополнительно выполнен с возможностью фильтрации широковещательных сообщений для второй системы на основании вторых конфигураций фильтрации.
13. Устройство по п.12, в котором третий модуль выполнен с возможностью поддержания первых и вторых конфигураций фильтрации для первой и второй систем и предоставления первых конфигураций фильтрации первому модулю и вторых конфигураций фильтрации второму модулю.
14. Способ приема широковещательных услуг из множества систем беспроводной связи, содержащий этапы:
обрабатывают первое широковещательное сообщение для первой системы беспроводной связи в соответствии с параметрами первого широковещательного сообщения;
обрабатывают второе широковещательное сообщение для второй системы беспроводной связи в соответствии с параметрами второго широковещательного сообщения; и
преобразуют параметры первого и второго широковещательных сообщений в соответствующие параметры в наборе параметров, определенных для широковещательных услуг.
15. Способ по п.14, в котором первым широковещательным сообщением является сообщение службы сотового широковещания (CBS) для глобальной системы мобильной связи (GSM) и универсальной системы мобильных телекоммуникаций (UMTS), и при этом вторым широковещательным сообщением является широковещательное сообщение службы коротких сообщений (SMS) для системы множественного доступа с кодовым разделением каналов (CDMA).
16. Способ по п.14, дополнительно содержащий:
отображают первое и второе широковещательные сообщения на основании упомянутых параметров в упомянутом наборе.
17. Способ по п.14, дополнительно содержащий:
фильтруют широковещательные сообщения для первой системы на основании первых конфигураций фильтрации; и
фильтруют широковещательные сообщения для второй системы на основании вторых конфигураций фильтрации.
18. Способ по п.14, дополнительно содержащий:
предоставляют параметры в упомянутом наборе для пользовательского просмотра и выбора вместо параметров первого и второго широковещательных сообщений.
19. Устройство беспроводной связи, содержащее:
средство для обработки первого широковещательного сообщения для первой системы беспроводной связи в соответствии с параметрами первого широковещательного сообщения;
средство для обработки второго широковещательного сообщения для второй системы беспроводной связи в соответствии с параметрами второго широковещательного сообщения; и
средство для преобразования параметров первого и второго широковещательных сообщений в соответствующие параметры в наборе параметров, определенных для широковещательных услуг.
20. Устройство по п.19, дополнительно содержащее:
средство для отображения первого и второго широковещательных сообщений на основании параметров в наборе.
21. Устройство по п.19, дополнительно содержащее:
средство для фильтрования широковещательных сообщений для первой системы на основании первых конфигураций фильтрации; и
средство для фильтрации широковещательных сообщений для второй системы на основании вторых конфигураций фильтрации.
22. Читаемый процессором носитель для хранения инструкций в беспроводном устройстве, содержащий:
программный модуль для обработки первого широковещательного сообщения для первой системы беспроводной связи в соответствии с параметрами первого широковещательного сообщения;
программный модуль для обработки второго широковещательного сообщения для второй системы беспроводной связи в соответствии с параметрами второго широковещательного сообщения; и
программный модуль для преобразования параметров первого и второго широковещательных сообщений в соответствующие параметры в наборе параметров, определенных для широковещательных услуг.
23. Способ приема широковещательных услуг в системе беспроводной связи, содержащий этапы:
определяют первый набор из по меньшей мере одной широковещательной услуги, поддерживаемой системой;
связывают первый набор с первым периодом активности, указывающим на то, когда широковещательные сообщения для по меньшей мере одной широковещательной услуги в первом наборе должны приниматься; и
принимают широковещательные сообщения для по меньшей мере одной широковещательной услуги в первом наборе в течение первого периода активности.
24. Способ по п.23, в котором каждая из по меньшей мере одной широковещательной услуги в первом наборе соответствует отличной категории услуги для широковещательных сообщений в системе.
25. Способ по п.23, в котором каждая из по меньшей мере одной широковещательной услуги в первом наборе соответствует отличной комбинации категории и языка услуги для широковещательных сообщений в системе.
26. Способ по п.23, дополнительно содержащий:
определяют второй набор из по меньшей мере одной широковещательной услуги, поддерживаемой системой;
связывают второй набор со вторым периодом активности, указывающим на то, когда широковещательные сообщения для по меньшей мере одной широковещательной услуги во втором наборе должны приниматься; и
принимают широковещательные сообщения для по меньшей мере одной широковещательной услуги во втором наборе в течение второго периода активности.
27. Беспроводное устройство в системе беспроводной связи, содержащее:
контроллер, выполненный с возможностью хранения набора из по меньшей мере одной широковещательной услуги, поддерживаемой системой, и периода активности, указывающего на то, когда широковещательные сообщения для по меньшей мере одной широковещательной услуги в наборе должны приниматься; и
узел обработки, выполненный с возможностью обработки широковещательных сообщений для по меньшей мере одной широковещательной услуги в наборе в течение периода активности.
28. Беспроводное устройство по п.27, дополнительно содержащее:
таймер, выполненный с возможностью предоставления указания начала и конца периода активности.
РИСУНКИ
|
|