|
|
(21), (22) Заявка: 2006147227/09, 29.12.2006
(24) Дата начала отсчета срока действия патента:
29.12.2006
(46) Опубликовано: 27.08.2008
(56) Список документов, цитированных в отчете о поиске:
EP 568603 A1, 10.11.1993. RU 2195694 С2, 27.12.2002. RU 2185599 C1, 20.07.2002. WO 9318020 A1, 16.09.1993. US 5185660 А, 09.02.1993.
Адрес для переписки:
125635, Москва, ул. Талдомская, 5, корп.1, оф.213, “АТВ Алексарт”, А.Г. Амбарцумову
|
(72) Автор(ы):
Амбарцумов Александр Григорьевич (RU), Венеров Владимир Григорьевич (RU), Галкин Василий Трофимович (RU)
(73) Патентообладатель(и):
Амбарцумов Александр Григорьевич (RU)
|
(54) СПОСОБ ПРОЕЦИРОВАНИЯ ЦВЕТНОГО ИЗОБРАЖЕНИЯ НА ЭКРАН
(57) Реферат:
Изобретение относится к технике проецирования цветного изображения на экран. Технический результат состоит в существенном уменьшении числа импульсных сигналов управления, числа уровней в градации отображаемой на экране яркости каждого основного цвета. Для этого в способе формируют три световых пучка, соответствующих трем основным цветам, направляют каждый пучок на соответствующий ему пространственный модулятор света (ПМС) и равномерно освещают матрицу его элементов. В соответствии с видеоинформацией, содержащейся в соответствующем кадре проецируемого на экран изображения, с помощью ПМС осуществляют в течение длительности этого кадра пространственную модуляцию распределения световой энергии по сечению каждого из упомянутых выше световых пучков, которые затем сводят в один пучок и с помощью оптической проекционной системы направляют на экран, при этом каждому элементу в проецируемом на экран изображении соответствуют три элемента, которые расположены по одному соответственно в каждом ПМС с одинаковыми координатами. Световой поток светового пучка каждого основного цвета формируют в виде периодически повторяющейся с частотой кадров последовательности из 2m+l-1 импульсов света, где m и l соответственно число старших и младших бит в каждом N=(m+l) битовом сигнале, значения которых соответствуют требуемому числу – Г уровней в градации отображения на экране яркости каждого основного цвета, определяемому из соотношения Г=2l·(2m-1), при этом 2m-1 импульсов света формируют с одинаковой световой энергией – QO, a l импульсов света – со световой энергией Qi=QO·2-i, где i=1, 2, …, l. В соответствии с m-разрядным кодом старших бит каждого N-битового сигнала, сформированного в соответствии с видеоинформацией, содержащейся в соответствующем кадре проецируемого на экран изображения, для соответствующего элемента соответствующего ПМС, выделяют из воздействующего в течение кадра на элементы этого ПМС импульсного светового потока основного цвета, количество K1 2m-1 импульсов света со световой энергией QO путем формирования первой группы из K1 импульсных сигналов управления, а в соответствии с количеством и комбинацией активных значений l младших бит этого же N-битового сигнала из того же импульсного светового потока дополнительно выделяют импульсы света в количестве К2, равном количеству активных значений младших бит данного N-битового сигнала, и со световой энергией Qi, зависящей от порядкового номера i младших бит, имеющих активное значение, путем формирования второй группы из К2 1 импульсных сигналов управления, причем импульсные сигналы управления первой и второй групп подают на соответствующий в данном кадре данному N-битовому сигналу элемент ПМС синхронно соответственно с воздействующими на него импульсами света со световой энергией QO и световой энергией Qj, где j -порядковые номера i младших бит, имеющих активное значение. 4 з.п. ф-лы, 7 ил.
Изобретение относится к технике проецирования цветного изображения на экран.
Из уровня техники известен способ проецирования цветного изображения на экран, согласно которому формируют три световых пучка с постоянной интенсивностью, спектральный состав которых соответствует трем основным цветам: красному (R), зеленому (G) и синему (В) видимого спектра электромагнитного излучения, сформированные световые пучки направляют на соответствующий каждому из них пространственный модулятор света (ПМС) и равномерно освещают соответствующие этим ПМС прямоугольные матрицы из X×Y элементов, где Х и Y – число соответственно строк и столбцов элементов в каждой матрице, каждый из которых выполнен в виде снабженного приводом микрозеркала.
В соответствии с видеоинформацией, содержащейся в соответствующем кадре проецируемого на экран изображения, с помощью ПМС осуществляют в течение длительности кадра амплитудную модуляцию распределения интенсивности света по сечению каждого из упомянутых выше световых пучков, которые затем сводят в один пучок и с помощью оптической проекционной системы направляют на экран, при этом каждому элементу в проецируемом на экран изображении соответствует один элемент в каждом ПМС, а амплитудную модуляцию распределения интенсивности света по сечению светового пучка каждого основного цвета осуществляют путем формирования для каждого элемента каждого ПМС сигнала управления положением отражающей поверхности его микрозеркала относительно направленного на него светового пучка, причем амплитуду сигнала управления положением отражающей поверхности каждого из трех элементов, соответствующих одному и тому же элементу в проецируемом на экран изображении и расположенных по одному соответственно в каждом ПМС с одинаковыми значениями x и y, где x=1, 2, …, Х, y=1, 2, …, Y, устанавливают пропорциональной такому уровню в градации визуально воспринимаемой на экране яркости соответствующего этому сигналу основного цвета, при котором совместно (за время кадра) с уровнями яркости двух других основных цветов, которые соответствуют сигналам управления положением отражающих поверхностей двух других элементов ПМС, соответствующих тому же элементу в проецируемом на экран изображении, обеспечиваются требуемые визуально воспринимаемые за время кадра яркость и цветовой тон этого элемента проецируемого на экран изображения (см. патент US – А – № 5185660, 1993, фиг.13 и 14).
Недостаток описанного выше способа проецирования цветного изображения на экран заключается в том, что он не обеспечивает возможности получения большого числа уровней в градации визуально воспринимаемой (отображаемой) на экране яркости каждого основного цвета вследствие обусловленного этим увеличением числа уровней существенным ростом стоимости используемых при осуществлении данного способа технических средств. Действительно, градация отображения на экране яркости каждого основного цвета (R, G, В) включает 2N-1 уровень для N-битового сигнала управления положением отражающей поверхности микрозеркала каждого элемента ПМС относительно освещаемого его каждого светового потока. Таким образом, для обычно используемого в системах отображения информации 8-битового сигнала управления положением отражающей поверхности микрозеркала каждого элемента ПМС число уровней в градации визуально воспринимаемой на экране яркости каждого цвета равно 255, а следовательно, шаг квантования углового положения отражающей поверхности микрозеркал элементов ПМС, как правило, в диапазоне углов от 0° до 10° (см. заявку PCT/WO – А1 – № 18020, 1993) составляет всего 2 21 . Однако при таком небольшом шаге квантования углового положения отражающей поверхности микрозеркала каждого элемента ПМС высокое качество изображения на экране может быть достигнуто только в том случае, когда при отсутствии управляющих сигналов отражающие поверхности микрозеркал всех элементов ПМС расположены с высокой точностью в одной плоскости. Выполнение же этого условия представляет собой трудновыполнимую технологическую задачу и неизбежно приведет к существенному удорожанию ПМС. Таким образом, реально достигаемое количество уровней в градации визуально воспринимаемой на экране яркости при использовании способа, описанного в патенте US – А – № 5185660, 1993, не превышает 255.
Известен также способ проецирования цветного изображения на экран, который взят в качестве протипа и согласно которому формируют три световых пучка с постоянной интенсивностью, спектральный состав которых соответствует трем основным цветам, сформированные световые пучки направляют на соответствующий каждому из них ПМС и равномерно освещают соответствующую каждому ПМС прямоугольную матрицу из X×Y элементов, где Х и Y – число соответственно строк и столбцов элементов в каждой матрице, каждый из которых выполнен в виде снабженного двухпозиционным приводом микрозеркала. В соответствии с видеоинформацией, содержащейся в соответствующем кадре проецируемого на экран изображения, с помощью ПМС осуществляют в течение длительности этого кадра пространственную модуляцию распределения световой энергии по сечению каждого из упомянутых выше световых пучков, которые затем сводят в один пучок и с помощью оптической проекционной системы направляют на экран, при этом каждому элементу в проецируемом на экран изображении соответствуют три элемента, которые расположены по одному соответственно в каждом ПМС с одинаковыми координатами, а именно номером x строки и номером y столбца, где х=1, 2, …, X, а y=1, 2, …, Y, а пространственную модуляцию распределения световой энергии по сечению светового пучка каждого основного цвета осуществляют путем формирования в соответствии с видеоинформацией, содержащейся в соответствующем кадре проецируемого на экран изображения, для каждого элемента каждого ПМС соответствующего ему в соответствующем кадре цифрового сигнала, в соответствии с кодом которого из воздействующего за время кадра на соответствующий элемент соответствующего ПМС светового потока одного из основных цветов выделяют количество световой энергии, которое необходимо, совместно с выделенными за время того же кадра количествами световой энергии двух других основных цветов, для обеспечения требуемых визуально воспринимаемых за время соответствующего кадра уровня яркости и цветового тона соответствующего этому элементу ПМС элемента проецируемого на экран изображения, причем для выделения каждого требуемого количества световой энергии формируют в соответствии с кодом каждого цифрового сигнала соответствующий ему импульсный сигнал управления широтно-импульсной модуляцией светового потока, воздействующего за время кадра, соответствующего этому цифровому сигналу, на соответствующий элемент соответствующего ПМС, с последующей подачей его на этот элемент ПМС. В результате подачи на соответствующий элемент ПМС импульсного управляющего сигнала обеспечивается с помощью двухпозиционного, например пьезоэлектрического привода перевод микрозеркала этого элемента ПМС из закрытого в открытое положение, при котором падающий на данное микрозеркало световой поток отражается в направлении оптической проекционной системы (см. патент ЕР – В1 – № 568603, 1999).
Однако известный из уровня техники (см. патент ЕР – B1 – № 744642, 2003) и используемый в прототипе бинарный модуляционный процесс, предусматривающий наличие широтно-импульсной модуляции, имеет существенный недостаток, заключающийся в необходимости использования при его осуществлении количество импульсных сигналов управления, равное числу уровней в градации отображаемой на экране яркости светового потока каждого основного цвета. Следствием этого является существенное усложнение средств, необходимых для осуществления известного способа при увеличении числа уровней в градации отображаемой на экране яркости светового потока каждого основного цвета.
Настоящее изобретение направлено на решение технической задачи по обеспечению существенного уменьшения числа импульсных сигналов управления по сравнению с получаемым при этом числом уровней в градации отображаемой на экране яркости светового потока каждого основного цвета. Достигаемый при этом технический результат заключается в существенном упрощении технической реализации способа при получении большого (не менее 104) числа уровней в градации отображаемой на экране яркости светового потока каждого основного цвета.
Поставленная задача решена тем, что в способе проецирования цветного изображения на экран, согласно которому формируют три световых пучка, спектральный состав которых соответствует трем основным цветам, сформированные световые пучки направляют на соответствующий каждому из них пространственный модулятор света (ПМС) и равномерно освещают соответствующую каждому ПМС прямоугольную матрицу из X×Y элементов, где Х и Y число соответственно строк и столбцов элементов в каждой матрице, в соответствии с видеоинформацией, содержащейся в соответствующем кадре проецируемого на экран изображения, с помощью ПМС осуществляют в течение длительности этого кадра пространственную модуляцию распределения световой энергии по сечению каждого из упомянутых выше световых пучков, которые затем сводят в один пучок и с помощью оптической проекционной системы направляют на экран, при этом каждому элементу в проецируемом на экран изображении соответствуют три элемента, которые расположены по одному соответственно в каждом ПМС с одинаковыми координатами, а именно номером x строки и номером y столбца, где х=1, 2, …, Х, а y=1, 2, …, Y, а пространственную модуляцию распределения световой энергии по сечению светового пучка каждого основного цвета осуществляют путем формирования в соответствии с видеоинформацией, содержащейся в соответствующем кадре проецируемого на экран изображения, для каждого элемента каждого ПМС соответствующего ему в этом кадре N-битового сигнала, в соответствии с кодом которого из воздействующего за время кадра на соответствующий элемент соответствующего ПМС светового потока одного из основных цветов выделяют количество световой энергии, которое необходимо, совместно с выделенными за время того же кадра количествами световой энергии двух других основных цветов, для обеспечения требуемых визуально воспринимаемых за время соответствующего кадра уровня яркости и цветового тона соответствующего этому элементу ПМС элемента проецируемого на экран изображения, причем для выделения за время кадра требуемого количества световой энергии формируют в соответствии с кодом каждого N-битового сигнала соответствующий ему импульсный сигнал управления, который подают на соответствующий элемент соответствующего ПМС, согласно изобретению световой поток светового пучка каждого основного цвета формируют в виде периодически повторяющейся с частотой кадров последовательности из 2m+l-1 импульсов света, где m и l<2m соответственно число старших и младших бит в каждом N=(m+l) битовом сигнале, значения которых соответствуют требуемому числу – Г уровней в градации отображения на экране яркости каждого основного цвета, определяемому из соотношения Г=2l·(2m-1), при этом 2m-1 импульсов света формируют с одинаковой световой энергией – QO, а l импульсов света – со световой энергией Qi=QO·2-i, где i=1, 2, …, l, причем в соответствии с m-разрядным кодом старших бит каждого N-битового сигнала, сформированного в соответствии с видеоинформацией, содержащейся в соответствующем кадре проецируемого на экран изображения, для соответствующего элемента соответствующего ПМС, выделяют из воздействующего в течение кадра на элементы этого ПМС импульсного светового потока основного цвета, соответствующего данному N-битовому сигналу, количество K1 2m-1 импульсов света со световой энергией QO путем формирования первой группы из K1 импульсных сигналов управления, а в соответствии с количеством и комбинацией активных значений l младших бит этого же N-битового сигнала из того же импульсного светового потока дополнительно выделяют импульсы света в количестве – К2, равном количеству активных значений младших бит данного N-битового сигнала, и со световой энергией Qi, зависящей от порядкового номера i младших бит, имеющих активное значение, путем формирования второй группы из K2 l импульсных сигналов управления, причем импульсные сигналы управления первой и второй групп подают на соответствующий в данном кадре данному N-битовому сигналу элемент ПМС синхронно соответственно с воздействующими на него импульсами света со световой энергией QO и световой энергией Qj, где j – порядковые номера i младших бит, имеющих активное значение.
Кроме того, поставленная задача решена тем, что
– импульсный световой поток каждого основного цвета формируют с помощью светодиодов, спектральный состав излучения которых соответствует данному основному цвету;
– импульсы света с одинаковой световой энергией QO формируют с постоянной амплитудой – АO, длительностью – to и частотой следования, а импульсы света со световой энергией Qi формируют с той же амплитудой – АO и частотой следования, но с длительностью ti= to·2-i, зависящей от порядкового номера i младших бит;
– импульсы света с одинаковой световой энергией QO формируют с постоянными амплитудой – АO, длительностью to и частотой следования, а импульсы света со световой энергией Qi формируют с той же длительностью – to и частотой следования, но с амплитудой Ai=AO·2-i, зависящей от порядкового номера i младших бит;
– пространственную модуляцию распределения световой энергии по сечению каждого светового пучка осуществляют с помощью ПМС, каждый элемент которого выполнен в виде снабженного приводом микрозеркала.
Преимущество предложенного способа проецирования цветного изображения на экран по сравнению с известным, взятым в качестве прототипа, заключается в том, что использование вместо трех световых пучков, соответствующих трем основным цветам, с постоянной интенсивностью световых пучков тех же цветов, но со световым потоком в виде периодически повторяющейся с частотой кадров последовательности, включающей две группы импульсов света (2m-1 импульсов света со световой энергией QO и l импульсов света со световой энергией Qi=QO·2-i, где i=1, 2, …, l), позволяет получить число – Г уровней в градации отображения на экране яркости каждого основного цвета, определяемое из соотношения Г=2l·(2m-1), используя всего 2m-1+l=Г/2l+l импульсных управляющих сигналов. Так для 16-битового сигнала при m=5, а l=11 число уровней в градации отображения на экране яркости каждого основного цвета равно Г=211·(25-1)=63488, а число используемых при этом импульсных сигналов управления равно 25-1+11=42, т.е. более чем в 1,5·103 раз меньше величины Г. В результате существенно упрощается техническая реализация предложенного способа за счет уменьшения числа импульсных сигналов управления.
В дальнейшем настоящее изобретение поясняется конкретным примером, который, однако, не является единственно возможным, но наглядно демонстрирует возможность достижения приведенной выше совокупностью существенных признаков требуемого технического результата.
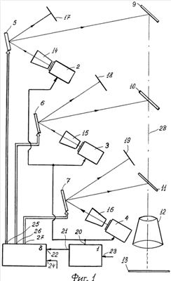
На фиг.1 схематично представлена принципиальная схема устройства для осуществления предложенного способа; на фиг.2 изображена временная зависимость импульсного светового потока красного цвета; на фиг.3 – временная зависимость импульсных сигналов управления, подаваемых за время кадра на имеющий соответствующие координаты (x, y) элемент ПМС светового потока красного цвета; на фиг.4 – временная зависимость импульсного светового потока зеленого цвета; на фиг.5 – временная зависимость импульсных сигналов управления, подаваемых за время того же кадра на имеющий те же координаты (x, y) элемент ПМС светового потока зеленого цвета; на фиг.6 – временная зависимость импульсного светового потока синего цвета; на фиг.7 – временная зависимость импульсных сигналов управления, подаваемых за время того же кадра на имеющий те же координаты (x, y) элемент ПМС светового потока синего цвета.
Устройство для осуществления предложенного способа содержит генератор 1 импульсов, блок 2 светодиодов красного цвета, блок 3 светодиодов зеленого цвета, блок 4 светодиодов синего цвета, первый 5, второй 6 и третий 7 ПМС, блок 8 управления, 9, 10 и 11 дихроичные зеркала соответственно красного, зеленого и синего цветов, оптическую проеционную систему, выполненную в виде объектива 12, экран 13, первый 14, второй 15 и третий 16 формирователи световых пучков, а также поглощающие поверхности 17, 18 и 19. Первый (токовый) выход 20 генератора 1 импульсов соединен с входом блока 2 светодиодов красного цвета, входом блока 3 светодиодов зеленого цвета и входом блока 4 светодиодов синего цвета. Второй выход 21 (импульсных сигналов управления) генератора 1 импульсов соединен с первым входом 22 блока 8 управления. Вход 23 генератора 1 импульсов служит для подачи кадрового сигнала, а второй вход 24 блока 8 управления соединен с выходом устройства (не показано) формирования N-битовых сигналов. Первый многоканальный выход 25 блока 8 управления соединен с многоканальным входом ПМС 5, второй многоканальный выход 26 блока 8 управления соединен с многоканальным входом ПМС 6, а третий его многоканальный выход 27 – с многоканальным входом ПМС 7.
Выход блока 2 светодиодов красного цвета посредством первого формирователя 14 светового пучка оптически сопряжен с микрозеркалами элементов ПМС 5, при этом падающий на них световой поток отражается либо в направлении поглощающей поверхности 17, когда на элементы ПМС 5 не поданы импульсные управляющие сигналы (закрытое положение), либо в направлении дихроичного зеркала 9, когда на элементы ПМС 5 поданы импульсные управляющие сигналы (закрытое положение). Выход блока 3 светодиодов зеленого цвета посредством второго формирователя 15 светового пучка оптически сопряжен с микрозеркалами элементов ПМС 6, которые (аналогично тому, как описано выше) в закрытом положении сопряжены оптически с поглощающей поверхностью 18, а в открытом положении – с дихроичным зеркалом 10. Выход блока 4 светодиодов синего цвета посредством третьего формирователя 16 светового пучка оптически сопряжен с микрозеркалами элементов ПМС 7, которые в свою очередь (как описано выше) в закрытом положении оптически сопряжены с поглощающей поверхностью 19, а в открытом положении – с дихроичным зеркалом 11. Дихроичные зеркала 9, 10 и 11, а также объектив 12 и экран 13 расположены последовательно вдоль общей оптической оси 28. В качестве формирователей 14, 15 и 16 световых пучков могут быть использованы объективы совместно с цилиндрическими линзами (см. заявку GB – А – № 2280815, 1995) либо оптиковолоконные оптические системы (см. заявку PCT/WO – А1 – № 62012, 2001). В качестве ПМС могут быть использованы как ПМС с прямоугольной матрицей элементов в виде снабженных двухпозиционными приводами микрозеркал (как в прототипе), либо ПМС с прямоугольной матрицей светоклапанных элементов, например жидкокристаллическими, работающими на просвет (см. заявку РСТ/WO – А1 – № 62012, 2001). Блок 8 управления выполнен на базе микроконтроллера, работа которого будет подробно описана ниже. На фиг.2-7 используются также следующие обозначения: 29 – импульсы света со световой энергией QO, 30 – импульсы света со световой энергией Qi, 31 – импульсные сигналы управления, относящиеся к первой группе, 32 – импульсные сигналы управления, относящиеся ко второй группе, t – время, Fn – n-ый кадр проецируемого на экран изображения. Остальные буквенные обозначения расшифрованы в описании.
Способ проецирования цветного изображения на экран осуществляется следующим образом. Аналоговые сигналы яркости красного (R), зеленого (G) и синего (В) цветов, соответствующие одному и тому же элементу в проецируемом на экран 13 в соответствующем кадре изображении, преобразуют в соответствующий каждому из них N-битовый сигнал, который включает m-старших и l=(N-m)<2m младших бит, при этом значения m и l устанавливают в соответствии с требуемым числом – Г уровней в градации яркости каждого цвета, которое определяют из соотношения Г=(2m-1)·2l. Для этого амплитуду сигнала яркости, например красного цвета, подвергают 2m-1 уровневому квантованию с заданным шагом – с последующим m-разрядным кодированием каждого уровня квантования с использованием известных средств импульсно-кодовой модуляции телевизионного сигнала (см., например, Г.M.Мамчев. Основы цифрового телевидения. Сиб. ГУТИ, Новосибирск, 2003, 28-34). Одновременно из амплитуды упомянутого выше сигнала яркости выделяют компоненту, величина которой меньше шага – 2m-1 уровневого квантования. Затем выделенную компоненту амплитуды сигнала яркости подвергают 2l-1 уровневому квантованию с шагом в 2l раз меньшим шага – 2m-1 уровневого квантования с последующим кодированием каждого из 2l-1 уровней комбинацией активных значений l младших бит N-битового сигнала, при этом активному значению каждого i-го бита, где i – порядковый номер младших бит, т.е. i=1, 2, …, l, соответствует уровень квантования, имеющий значение – ·2-i. Так, например, для l=3 уровню квантования – ·2-1 соответствует кодовая комбинация 100, а уровню квантования ·2-2 соответствует кодовая комбинация 010. Тогда кодовая комбинация для уровня квантования (3/4) будет иметь вид 110. Аналогично осуществляют не только формирование N-битовых сигналов, соответствующих аналоговым сигналам яркости зеленого и синего цветов для того же элемента в проецируемом на экран изображении, но и для всех остальных элементов этого изображения. Соответствующие каждому кадру проецируемого на экран изображения цифровые сигналы данных в виде соответствующих каждому элементу этого изображения трех N-битовых сигналов, каждый из которых сформирован, как описано выше, из аналогового сигнала яркости соответствующего основного цвета, подают на второй вход 24 блока 8 управления. В блоке 8 управления осуществляется раздельное декодирование (аналогично тому, как описано в патенте ЕР – А2 – № 1132883, 2001) старших и младших бит поступающих на его второй вход 24 N-битовых сигналов. В результате декодирования кодовой комбинации, соответствующей старшим битам каждого из упомянутых выше N-битовых сигналов, определяют количество – K1 2m-1 импульсных сигналов 31 управления первой группы, предназначенных для выделения соответствующего числа импульсов света со световой энергией QO, а в соответствии с количеством и комбинацией активных значений l младших бит этого же N-битового сигнала определяют не только количество K2 l импульсных сигналов 32 управления, относящихся ко второй группе импульсных сигналов управления и предназначенных для выделения импульсов света со световой энергией Qi, но и соответствующий каждому этому импульсному сигналу управления номер – j, где j – порядковый номер i каждого младшего бита, имеющего активное значение в данном N-битовом сигнале. Таким образом, в соответствии с видеоинформацией, содержащейся в каждом кадре проецируемого на экран изображения для каждого элемента каждого ПМС (5-7) формируют две группы импульсных сигналов управления. Далее полученные результаты записывают во входящую в состав блока 8 управления память данных кадра, а именно для каждого элемента каждого ПМС (5-7) заносят в память пару чисел, которые определяют как количество направляемых в данную точку экрана 13 импульсов 29 света со световой энергией QO, так и количество направляемых в ту же точку экрана 13 импульсов 30 света со световой энергией Qj, где j – порядковый номер i каждого младшего бита, имеющего активное значение в данном N-битовом сигнале.
Кроме того, осуществляют формирование трех световых пучков, спектральный состав каждого из которых соответствует одному из трех основных цветов (R, G, В) видимого спектра электромагнитного излучения. Световой поток каждого светового пучка формируют в виде периодически повторяющейся с частотой кадров последовательности из 2m-1+l импульсов света, где m и l<2m – соответственно число старших и младших бит в N-битовых сигналах, сформированных, как описано выше, из аналоговых сигналов яркости (R, G, B) цветов. При этом 2m-1 импульсов 29 света (фиг.2, 4, 6) формируют с одинаковой световой энергией QO и в предпочтительном варианте осуществления изобретения с одинаковой частотой следования, а l импульсов 30 света формируют со световой энергией Qi=QO·2-i, где i=1, 2, …, l – порядковый номер младших бит в N-битовом сигнале и в предпочтительном варианте осуществления изобретения с той же частотой следования. Импульсы 29 света с одинаковой световой энергией QO и цвета предпочтительно формируют с постоянной амплитудой AO и длительностью – to. Импульсы 30 света того же цвета, но со световой энергией Qi, предпочтительно, формируют с той же постоянной амплитудой – AO, но с длительностью ti= to·2-i, зависящей от порядкового номера i младших бит N-битового сигнала. Сформированные однородные по сечению световые пучки трех основных (R, G, B) цветов направляют на соответствующий каждому из них ПМС (5-7) и равномерно освещают соответствующую каждому ПМС прямоугольную матрицу из X×Y элементов, где X и Y число соответственно строк и столбцов элементов в каждой матрице. Для этого при подаче на вход 23 генератора 1 импульсов каждого кадрового импульса за время ТO=0,016-0,02 сек каждого кадра F1, F2, …, Fn-1, Fn, Fn+1, … формируют последовательность импульсов тока и синхронно с ней последовательность импульсных сигналов управления. Соответствующую очередному кадру Fn последовательность из 2m-1+l импульсов тока одинаковой амплитуды подают с первого выхода 20 генератора 1 импульсов на вход блока 2 светодиодов красного цвета, вход блока 3 светодиодов зеленого цвета и вход блока 4 светодиодов синего цвета, при этом 2m-1 импульсов тока имеют длительность to, а l импульсов тока имеют длительность ti= to·2-i, зависящую от порядкового номера i=1, 2, …, l импульса тока.
Соответствующую этому же кадру последовательность импульсных сигналов управления, которая включает последовательность из 2m+l-1 импульсов напряжения с постоянной амплитудой, той же частотой следования, что и частота следования упомянутой ваше последовательности импульсов тока, а также с постоянной длительностью tу, которая не меньше to, например tу=(1,0-1,2)- to, подают со второго выхода 21 генератора 1 импульсов на первый вход 22 блока 8 управления.
Импульсы тока, подаваемые последовательно с первого выхода 20 генератора 1 импульсов на вход блока 2 светодиодов красного цвета, на вход блока 3 светодиодов зеленого цвета и на вход блока 4 светодиодов синего цвета, последовательно пропускают через все светодиоды. При пропускании каждого импульса тока через светодиоды, находящиеся в блоке 2, происходит излучение импульсов света красного цвета с длительностью, равной длительности протекающего через эти светодиоды импульса тока. Иными словами, импульсам тока длительностью to соответствуют излучаемые светодиодами, находящимися в блоке 2, импульсы света красного цвета длительностью to, а импульсам тока с длительностью ti соответствуют излучаемые этими же светодиодами импульсы света красного цвета с той же длительностью ti. Здесь необходимо отметить, что импульсы тока длительностью ti могут быть сформированы из той же последовательности импульсов тока длительностью to путем ограничения времени протекания этих l импульсов тока через светодиоды. Посредством первого формирователя 14 светового пучка излучаемый всеми светодиодами красного цвета и подаваемый на выход блока 2 импульсный световой поток (фиг.2) в виде последовательности имеющих постоянную амплитуду АO 2m-1 импульсов 29 света длительностью to и световой энергией QO и l импульсов 30 света с той же амплитудой АO, но с длительностью ti= to·2-i и световой энергией Qi=QO·2-i, формируют в направленный на ПМС 5 однородный по сечению и равномерно освещающий прямоугольную матрицу из Х×Y его элементов световой пучок, спектральный состав которого соответствует красному цвету.
Аналогично при пропускании каждого импульса тока через светодиоды, находящиеся в блоке 3, происходит излучение света зеленого цвета с длительностью, равной длительности протекающего через эти светодиоды импульса тока. Посредством второго формирователя 15 светового пучка излучаемый всеми светодиодами зеленого цвета и подаваемый на выход блока 3 импульсный световой поток (фиг.4) в виде последовательности имеющих постоянную амплитуду АO 2m-1 импульсов 29 света длительностью to и световой энергией QO и l импульсов 30 света с той же амплитудой AO, но с длительностью ti= to·2-i и световой энергией Qi=QO·2-i формируют в направленный на ПМС 6 однородный по сечению и равномерно освещающий прямоугольную матрицу из Х×Y его элементов световой пучок, спектральный состав которого соответствует зеленому цвету.
Аналогично при пропускании каждого импульса тока через светодиоды, находящиеся в блоке 4, происходит излучение импульсов света синего цвета с длительностью, равной длительности протекающего через эти светодиоды импульса тока. Посредством третьего формирователя 16 светового пучка излучаемый всеми светодиодами синего цвета и подаваемый на выход блока 4 импульсный световой поток (фиг.6) в виде последовательности имеющих постоянную амплитуду АO 2m-1 импульсов 29 света длительностью to и световой энергией QO и l импульсов 30 с той же амплитудой АO, но с длительностью ti= to·2-i и световой энергией Q=QO·2-i формируют в направленный на ПМС 7 однородный по сечению и равномерно освещающий прямоугольную матрицу из X×Y его элементов световой пучок, спектральный состав которого соответствует синему цвету.
Здесь необходимо отметить, что импульсы света со световой энергией Qi могут быть сформированы также и с длительностью, равной to, но с амплитудой Ai=AO·2-i, зависящей от порядкового номера младших бит, либо путем соответствующей модуляции амплитуды импульсов тока, которые пропускают через все светодиоды, расположенные в блоках 2-4, либо соответствующей амплитудной модуляции световых импульсов со световой энергией QO с помощью вращающегося оптико-механического дискового модулятора с коэффициентом пропускания, изменяющимся, например, по зависимости, соответствующей показательной функции (см. патент US – А – № 5589852, 1996).
В предпочтительном варианте осуществления изобретения каждый элемент каждого ПМС (5-7) выполнен в виде снабженного двухпозиционным приводом, предпочтительно пьезоэлектрическим, микрозеркала. В соответствии с видеоинформацией, содержащейся в соответствующем кадре проецируемого на экран изображения с помощью ПМС (5-7) осуществляют в течение длительности этого кадра пространственную модуляцию распределения световой энергии по сечению каждого из упомянутых выше световых пучков, соответствующих трем основным цветам (R, G, B). После этого упомянутые выше световые пучки с помощью дихроичных зеркал 9-11 сводят в один пучок и с помощью оптической проекционной системы (объектива 12) направляют на экран 13, при этом каждому элементу в проецируемом на экран изображении соответствуют три элемента, которые расположены по одному соответственно в каждом ПМС (5-7) с одинаковыми координатами, а именно номером x строки и номером y столбца, где х=1, 2, …, Х, а y=1, 2, …, Y.
Пространственную модуляцию распределения световой энергии по сечению светового пучка каждого основного цвета осуществляют путем формирования (как описано выше) в соответствии с видеоинформацией, содержащейся в соответствующем кадре проецируемого на экран изображения, для каждого элемента каждого ПМС (5-7) соответствующего ему в этом кадре N-битового сигнала, в соответствии с кодом которого из воздействующего за время кадра на соответствующий элемент соответствующего ПМС импульсного светового потока соответствующего цвета выделяют количество световой энергии, которое необходимо, совместно с выделенными за время того же кадра количествами световой энергии двух других основных цветов, для обеспечения требуемых визуально воспринимаемых за время соответствующего кадра уровня яркости и цветового тона соответствующего этим элементам ПМС (5-7) элемента проецируемого на экран изображения. Иными словами, за время соответствующего кадра проецируемого на экран изображения с помощью соответствующего данному элементу проецируемого на экран изображения элемента ПМС 5 выделяют из воздействующего на него импульсного светового потока красного цвета (фиг.2) определенные (как описано выше в соответствии с m-разрядным кодом старших бит N-битового сигнала, соответствующего в этом кадре упомянутому выше элементу ПМС 5) количество К1 импульсов 29 света со световой энергией QO путем формирования первой группы из К1, например из шести (фиг.3) импульсных сигналов 31 управления, а затем подачи их последовательно на упомянутый выше элемент ПМС 5 сихронно с воздействующими на него импульсами 29 света красного цвета со световой энергией QO (фиг.2). Кроме того, за время того же кадра в соответствии с количеством и комбинацией активных значений l в младших бит того же N-битового сигнала из импульсного светового потока красного цвета (фиг.2) дополнительно выделяют импульсы 30 света в количестве K2, равном количеству активных значений младших бит данного N-битового сигнала и со световой энергией Qj, где j – порядковые номера младших бит, имеющих активное значение, путем формирования второй группы из К2 (например, для l=11 и кодовой комбинации младших бит 10001010001 К2=4, j=1, 5, 7 и 11) четырех импульсных сигналов 32 управления (фиг.3) и затем подачи их последовательно на упомянутый выше элемент ПМС 5 синхронно с воздействующими на него импульсами 30 света со световой энергией Qj (Q1, Q5, Q7 и Q11).
Одновременно и аналогично тому, как описано выше, из импульсного светового потока зеленого цвета (фиг.4) с помощью элемента ПМС 6, имеющего те же координаты, что и упомянутый выше элемент ПМС 5, выделяют определенное (как описано выше, в соответствии с m-разрядным кодом старших бит соответствующего этому элементу ПМС 6 в этом кадре проецируемого на экран изображения N-битового сигнала) количество K1 импульсов 29 света со световой энергией QO путем формирования первой группы из К1, например трех (фиг.5) импульсных сигналов 31 управления, а затем подачи их последовательно на упомянутый выше элемент ПМС 6 синхронно с воздействующими на него импульсами 29 света зеленого цвета со световой энергией QO (фиг.4). Кроме того, за время того же кадра в соответствии с количеством и комбинацией активных значений l младших бит того же N-битового сигнала из импульсного светового потока зеленого цвета (фиг.4) дополнительно выделяют импульсы 30 света в количестве K2, равном количеству активных значений младших бит данного N-битового сигнала и со световой энергией Qj, где j – порядковые номера младших бит, имеющих активное значение, путем формирования второй группы из K2 (например для l=11 и кодовой комбинации младших бит 10101010101, K2=6, a j=1, 3, 5, 7, 9, 11) шесть импульсных сигналов 32 управления (фиг.5), а затем подача их последовательно на упомянутый выше элемент ПМС 6 синхронно с воздействующими на него импульсами света 30 со световой энергией Qj (Q1, Q3, Q5, Q7, Q9, Q11).
Одновременно и аналогично тому, как описано выше, с помощью элемента ПМС 7, имеющего те же координаты, что и упомянутые выше элементы ПМС 5 и ПМС 6, в соответствии с m-разрядным кодом старших бит соответствующего этому элементу ПМС 7 в этом кадре проецируемого на экран изображения N-битового сигнала выделяют из импульсного светового потока синего цвета (фиг.6) два импульса 29 света со световой энергией QO путем подачи на этот элемент ПМС 7 двух (К1=2) импульсных сигналов 31 управления (фиг.7), а также трех (К2=3) импульсов 30 света синего цвета со световой энергией Qj (Q2, Q4 и Q6), соответствующих следующей кодовой комбинации младших бит 01010100000 соответствующего этому элементу ПМС 7 в этом кадре N-битового сигнала путем подачи на упомянутый выше элемент ПМС 7 трех импульсных сигналов 32 управления сихронно с воздействующими на него импульсами света 30 со световой энергией Q2, Q4, Q6. В результате за время одного кадра с помощью трех элементов, расположенных по одному соответственно в каждом ПМС 5, 6 и 7 с одинаковыми координатами, выделяют такое количество световой энергии красного, зеленого и синего цветов, которое обеспечивает визуальное восприятие за время кадра соответствующего этим элементам ПМС (5-7) элемента проецируемого в данном кадре на экран 13 изображения с требуемым уровнем яркости и цветового тона.
Аналогично описанному выше осуществляют формирование требуемого уровня яркости и цветового тона других элементов в проецируемом на экран 13 изображении.
Иллюстрацией вышесказанного является описание работы блока 8 управления. С помощью блока 8 управления осуществляют подачу поступающих на его первый вход 22 импульсных сигналов управления на соответствующие элементы ПМС (5-7). Так с приходом на первый вход 22 блока 8 управления первого импульсного сигнала 31 управления в данном кадре осуществляет подачу его через многоканальное выходы (25-27) на те элементы ПМС 5, ПМС 6 и ПМС 7, которые обеспечивают выделение в данном кадре, по крайней мере, одного импульса света соответственно красного, зеленого и синего цветов со световой энергией QO. С приходом на первый вход 22 блока 8 управления второго импульсного сигнала 31 управления в данном кадре осуществляют подачу его через те же многоканальные выходы на те элементы ПМС 5, ПМС 6 и ПМС 7, которые обеспечивают выделение в данном кадре проецируемого на экран 13 изображения, по крайней мере, двух импульсов света соответственно красного, зеленого и синего цветов со световой энергией QO. Этот процесс повторяют вплоть до прихода 2m-1 импульсного сигнала 31 управления и синхронного с ним 2m-1 импульсов 29 света трех основных цветов со световой энергией QO. Одновременно в блоке 8 управления производится подсчет числа подаваемых на каждый элемент каждого ПМС (5-7) импульсных сигналов 29 управления (относящихся к первой группе импульсных сигналов управления) и сравнение его с записанными в памяти данных кадра количеством относящихся к первой группе импульсных сигналов 29 управления, которое определено в соответствии с m-разрядным кодом соответствующего каждому элементу ПМС (5-7) N-битового сигнала.
С приходом на первый вход 22 блока 8 управления 2m импульсного сигнала управления (первого импульсного сигнала 30 управления, относящегося ко второй группе) осуществляют подачу его через многоканальные выходы (25-27) на те элементы ПМС 5, ПМС 6 и ПМС 7, которые в данном кадре обеспечивают выделение и направление на экран 13 импульса 30 света соответственно красного, зеленого и синего цветов со световой энергией Q1=Qо·2-1. С приходом следующего импульсного сигнала управления (второго импульсного сигнала 30 управления, i=2) осуществляют подачу его через многоканальные выходы (25-27) на те элементы ПМС 5, ПМС 6 и ПМС 7, которые в данном кадре обеспечивают выделение и направление на экран 13 импульсов света соответственно красного, зеленого и синего цветов со световой энергией Q2=QO·2-2. Этот процесс повторяется до прихода 2m-1+l импульсного сигнала управления (l-го импульсного сигнала 30 управления), иными словами, до завершения длительности данного кадра проецируемого не экран изображения.
Функционирование ПМС (5-7) ничем не отличается от прототипа. При отсутствии импульсного сигнала управления первой или второй групп микрозеркало соответствующего элемента ПМС (5-7) находится в положении, при котором падающий на него световой поток отражается в направлении соответствующей поглощающей поверхности 17-19. При подаче на соответствующий элемент ПМС (5-7) импульсного сигнала управления первой или второй групп (подаче напряжения, например, на электроды пьезоэлектрического двухпозиционного привода микрозеркала) осуществляется перевод микрозеркала этого элемента в положение, при котором падающий на микрозеркало световой поток отражается в направлении соответствующего каждому ПМС (5-7) дихроичного зеркала (9-11), которые обеспечивают сведение пространственно промодулированных по энергии световых пучков трех основных цветов в один световой пучок, направленный вдоль оптической оси 28.
Кроме светодиодов для формирования импульсных световых потоков трех основных цветов могут быть использованы и другие известные импульсные источники света, например лазеры, газоразрядные лампы, однако в последнем случае необходимо использовать средства для выделения из излучения этих источников спектральные компоненты, соответствующие трем основным цветам.
Функционирование описанного выше устройства не изменится при замене ПМС (5-7) с элементами в виде снабженных соответствующими приводами микрозеркал на ПМС с элементами в виде световых клапанов, работающими на просвет, например жидкокристаллическими (см. заявку PGT/WO – A1 – №62012, 2001).
Предложенный способ обеспечивает проецирование цветного изображения на экран с числом уровней Г в градации отображения на экране яркости каждого основного цвета, определяемого из соотношения Г=2l·(2m-1), а следовательно, с числом цветовых тонов, равным [2l·(2m-1)]3, с помощью 2m+l-1 импульсных сигналов управления.
При осуществлении предложенного способа могут быть использованы стандартные электронные и оптические компоненты, что обуславливает возможность его широкого использования в системах, где требуется высокое качество проецируемых на экран изображений.
Формула изобретения
1. Способ проецирования цветного изображения на экран, согласно которому формируют три световых пучка, спектральный состав которых соответствует трем основным цветам, сформированные световые пучки направляют на соответствующий каждому из них пространственный модулятор света (ПМС) и равномерно освещают соответствующую каждому ПМС прямоугольную матрицу из X×Y элементов, где X и Y число соответственно строк и столбцов элементов в каждой матрице, в соответствии с видеоинформацией, содержащейся в соответствующем кадре проецируемого на экран изображения, с помощью ПМС осуществляют в течение длительности этого кадра пространственную модуляцию распределения световой энергии по сечению каждого из упомянутых выше световых пучков, которые затем сводят в один пучок и с помощью оптической проекционной системы направляют на экран, при этом каждому элементу в проецируемом на экран изображении соответствуют три элемента, которые расположены по одному соответственно в каждом ПМС с одинаковыми координатами, а именно номером – х строки и номером – у столбца, где х=1, 2, …, X, а у=1, 2, …, Y, а пространственную модуляцию распределения световой энергии по сечению светового пучка каждого основного цвета осуществляют путем формирования в соответствии с видеоинформацией, содержащейся в соответствующем кадре проецируемого на экран изображения, для каждого элемента каждого ПМС соответствующего ему в этом кадре N-битового сигнала, в соответствии с кодом которого из воздействующего за время кадра на соответствующий элемент соответствующего ПМС светового потока одного из основных цветов, выделяют количество световой энергии, которое необходимо, совместно с выделенными за время того же кадра количествами световой энергии двух других цветов, для обеспечения требуемых визуально воспринимаемых за время соответствующего кадра уровня яркости и цветового тона соответствующего этому элементу ПМС элемента проецируемого на экран изображения, причем для выделения за время кадра требуемого количества световой энергии формируют в соответствии с кодом каждого N-битового сигнала соответствующий ему импульсный сигнал управления, который подают на соответствующий элемент соответствующего ПМС, отличающийся тем, что световой поток светового пучка каждого основного цвета формируют в виде периодически повторяющейся с частотой кадров последовательности 2m+l-1 импульсов света, где m и l соответственно число старших и младших бит в каждом N-битовом сигнале, значения которых соответствуют требуемому числу – Г уровней в градации отображения на экране яркости каждого основного цвета, определяемому из соотношения Г=2l·(2m-1), при этом 2m-1 импульсов света формируют с одинаковой световой энергией – Qo, a l импульсов света – со световой энергией Qi=Qo·2-i, где i=1, 2, …, l, причем в соответствии с m-разрядным кодом старших бит каждого N-битового сигнала, сформированного в соответствии с видеоинформацией, содержащейся в соответствующем кадре проецируемого на экран изображения для соответствующего элемента соответствующего ПМС, выделяют из воздействующего в течение кадра на элементы этого ПМС импульсного светового потока основного цвета, количество K1 2m-1 импульсов света со световой энергией Qo путем формирования первой группы из K1 импульсных сигналов управления, а в соответствии с количеством и комбинацией активных значений l младших бит этого же N-битового сигнала из того же импульсного светового потока дополнительно выделяют импульсы света в количестве – K2, равном количеству активных значений младших бит данного N-битового сигнала, и со световой энергией Qi, зависящей от порядкового номера i младших бит, имеющих активное значение, путем формирования второй группы из K2 l импульсных сигналов управления, причем импульсные сигналы управления первой и второй групп подают на соответствующий в данном кадре данному N-битовому сигналу элемент ПМС синхронно соответственно с воздействующими на него импульсами света со световой энергией Qo и световой энергией Qj, где j – порядковые номера i младших бит, имеющих активное значение.
2. Способ по п.1, отличающийся тем, что импульсный световой поток каждого основного цвета формируют с помощью светодиодов, спектральный состав излучения которых соответствует данному основному цвету.
3. Способ по п.1, отличающийся тем, что импульсы света с одинаковой световой энергией Qo формируют с постоянной амплитудой – Ао, длительностью – to и частотой следования, а импульсы света со световой энергией Qi формируют с той же амплитудой – Ао и частотой следования, но с длительностью ti= to·2-i, зависящей от порядкового номера i младших бит.
4. Способ по п.1, отличающийся тем, что импульсы света с одинаковой световой энергией Qo формируют с постоянными амплитудой – Ао, длительностью – to и частотой следования, а импульсы света со световой энергией Qi формируют с той же длительностью – ti и частотой следования, но с амплитудой Ai= Ao·2-i, зависящей от порядкового номера i младших бит.
5. Способ по п.1, отличающийся тем, что пространственную модуляцию распределения световой энергии по сечению каждого светового пучка осуществляют с помощью ПМС, каждый элемент которого выполнен в виде снабженного приводом микрозеркала.
РИСУНКИ
|
|