|
|
(21), (22) Заявка: 2006147224/09, 29.12.2006
(24) Дата начала отсчета срока действия патента:
29.12.2006
(46) Опубликовано: 27.08.2008
(56) Список документов, цитированных в отчете о поиске:
ЕР 568603 А1, 10.11.1993. RU 2195694 С2, 27.12.2002. RU 2185599 C1, 20.07.2002. WO 9318020 A1, 16.09.1993. US 5185660 А, 09.02.1993.
Адрес для переписки:
125635, Москва, ул. Талдомская, 5, корп.1, оф.213, “АТВ Алексарт”, А.Г. Амбарцумову
|
(72) Автор(ы):
Амбарцумов Александр Григорьевич (RU), Венеров Владимир Григорьевич (RU), Галкин Василий Трофимович (RU)
(73) Патентообладатель(и):
Амбарцумов Александр Григорьевич (RU)
|
(54) СПОСОБ ПРОЕЦИРОВАНИЯ ЦВЕТНОГО ИЗОБРАЖЕНИЯ НА ЭКРАН
(57) Реферат:
Изобретение относится к технике проецирования цветного изображения на экран. Технический результат состоит в упрощении технической реализации путем уменьшения числа импульсных сигналов управления. Для этого в способе за время каждого кадра равномерно освещают матрицу элементов пространственного модулятора света (ПМС) тремя световыми пучками, соответствующими трем основным цветам. Световые пучки формируют последовательно один за другим и световым потоком в виде последовательности из 2m+l-1 импульсов света, где m и l соответственно число старших и младших бит в каждом N=(m+l) битовом сигнале, значения которых соответствуют требуемому числу – Г уровней в градации отображения на экране яркости каждого основного цвета, определяемому из соотношения Г=2l·(2m-1), при этом 2m-1 импульсов света формируют с одинаковой световой энергией – QO, a l импульсов света – со световой энергией Qi=QO·2-i, где i=1, 2, …, l, причем в соответствии с m-разрядным кодом старших бит каждого N-битового сигнала выделяют из импульсного светового потока основного цвета, соответствующего данному N-битовому сигналу, количество K1 2m-1 импульсов света со световой энергией QO путем формирования первой группы из K1 импульсных сигналов управления, а в соответствии с количеством и комбинацией активных значений младших бит этого же N-битового сигнала из того же импульсного светового потока дополнительно выделяют импульсы света в количестве – К2, равном количеству активных значений младших бит данного N-битового сигнала, и со световой энергией Qi, зависящей от порядкового номера i младших бит, имеющих активное значение, путем формирования второй группы из К2 1 импульсных сигналов управления, причем импульсные сигналы управления первой и второй групп подают на соответствующий в данном кадре данному N-битовому сигналу элемент ПМС синхронно, соответственно, с воздействующими на него импульсами света со световой энергией QO и световой энергией Qj, где j – порядковые номера i младших бит, имеющих активное значение. 4 з.п. ф-лы, 5 ил.
Изобретение относится к технике проецирования цветного изображения на экран.
Из уровня техники известен способ проецирования цветного изображения на экран, при котором за время каждого кадра проецируемого на экран изображения равномерно освещают матрицу элементов пространственного модулятора света (ПМС) формируемыми последовательно и имеющими постоянную интенсивность тремя световыми пучками, спектральный состав которых соответствует трем основным цветам: красному (R), зеленому (G) и синему (В) видимого спектра электромагнитного излучения, с помощью ПМС, каждый элемент которого выполнен в виде снабженного приводом микрозеркала, осуществляют пространственную амплитудную модуляцию распределения интенсивности света по сечению каждого из упомянутых выше световых пучков, которые затем с помощью оптической проекционной системы направляют на экран, при этом каждому элементу ПМС соответствует один элемент в проецируемом на экран изображении, а в соответствии с видеоинформацией, содержащейся в соответствующем кадре проецируемого на экран изображения, формируют для соответствующего каждому элементу проецируемого на экран изображения элемента ПМС три сигнала управления положением отражающей поверхности его микрозеркала относительно соответственно каждого из соответствующих трем основным цветам световых потоков, направляемых последовательно за время одного кадра на каждый элемент ПМС, причем амплитуду каждого из упомянутых выше сигналов устанавливают пропорциональной такому уровню в градации визуально воспринимаемой на экране яркости соответствующего данному сигналу управления основного цвета, при котором совместно (за время соответствующего кадра) с двумя другими световыми потоками, соответствующими двум другим основным цветам и промодулированными в соответствии с двумя другими сигналами управления, обеспечивается требуемые визуально воспринимаемые за время кадра яркость и цветовой тон соответствующего этому элементу ПМС элемента проецируемого на экран изображения (см. патент US – А – № 5185660, 1993, фиг.15).
Недостаток описанного выше способа проецирования цветного изображения на экран заключается в том, что он не обеспечивает возможности получения большого числа уровней в градации визуально воспринимаемой (отображаемой) на экране яркости каждого основного цвета вследствие обусловленного этим увеличением числа уровней существенным ростом стоимости используемых при осуществлении данного способа технических средств. Действительно, градация отображения на экране яркости каждого основного цвета (R, G, В) включает 2N-1 уровень для N-битового сигнала управления положением отражающей поверхности микрозеркала каждого элемента ПМС относительно освещаемого его каждого светового потока. Таким образом, для обычно используемого в системах отображения информации 8-битового сигнала управления положением отражающей поверхности микрозеркала каждого элемента ПМС число уровней в градации визуально воспринимаемой на экране яркости каждого цвета равно 255, а следовательно, шаг квантования углового положения отражающей поверхности микрозеркал элементов ПМС, как правило, в диапазоне углов от 0° до 10° (см. заявку PCT/WO – A1 – № 13424, 1992), составляет всего 2 21 . Однако при таком небольшом шаге квантования углового положения отражающей поверхности микрозеркала каждого элемента ПМС высокое качество изображения на экране может быть достигнуто только в том случае, когда при отсутствии управляющих сигналов отражающие поверхности микрозеркал всех элементов ПМС расположены с высокой точностью в одной плоскости. Выполнение же этого условия представляет собой трудновыполнимую технологическую задачу и неизбежно приведет к существенному удорожанию ПМС. Известный же из уровня техники альтернативный путь решения упомянутой выше проблемы путем соответствующей коррекции управляющих сигналов (см. заявку PCT/WO – A1 – № 15623, 1996) для каждого элемента соответствующего ПМС не приводит к существенному снижению стоимости средств, используемых при осуществлении данного способа. Кроме того, поскольку обычно ПМС работают в диапазоне рабочих напряжений 0÷15 В (см. заявку PCT/WO – A1 – № 15623, 1996), то шаг квантования рабочих напряжений (для 8-битовых сигналов управления) составляет 58-59 мВ. При такой разности выходных напряжений источников питания, соответствующих смежным уровням в градации яркости, существенно повышаются требования к их точности и стабильности, что также приводит к увеличению затрат при осуществлении данного способа. Таким образом, реально достигаемое количество уровней в градации визуально воспринимаемой на экране яркости при использовании способа, описанного в патенте US – A – №5185660, 1993, не превышает 255.
Известен также способ проецирования цветного изображения на экран, взятый в качестве прототипа, при котором за время каждого кадра проецируемого на экран изображения равномерно освещают матрицу элементов ПМС тремя световыми пучками, спектральный состав которых соответствует трем основным цветам и которые формируют последовательно один за другим и с интенсивностью, изменяющейся монотонно по одной и той же временной зависимости, с помощью ПМС, каждый элемент которого выполнен в виде снабженного двухпозиционным приводом микрозеркала, осуществляют пространственную модуляцию распределения световой энергии по сечению каждого из упомянутых выше световых пучков, которые затем с помощью оптической проекционной системы направляют на экран, при этом каждому элементу ПМС соответствует один элемент в проецируемом на экран в данном кадре изображении. В соответствии с видеоинформацией, содержащейся в соответствующем кадре проецируемого на экран изображения, с помощью каждого элемента ПМС выделяют из каждого из трех направляемых на каждый элемент ПМС за время каждого кадра световых потоков, соответствующих основным цветам, количество световой энергии, необходимое для обеспечения требуемых визуально воспринимаемых за время кадра уровня яркости и цветового тона соответствующего каждому элементу ПМС элемента проецируемого в данном кадре на экран изображения, а выделение требуемого количества световой энергии из каждого светового потока основного цвета, последовательно за время каждого кадра направляемых на каждый элемент ПМС, осуществляют путем формирования для каждого элемента ПМС соответствующего ему в каждом кадре и для направляемого на него светового потока каждого цвета N-битового сигнала, в соответствии с кодом которого осуществляют двухстороннюю широтную модуляцию (иными словами модуляцию на временном отрезке, соответствующем действию светового потока, соответствующего данному N-битовому сигналу цвета, положения как переднего, так и заднего фронтов) импульсного сигнала управления, который подают на двухпозиционный привод микрозеркала, соответствующего этому N-битовому сигналу элемента ПМС, в результате чего обеспечивается перевод микрозеркала соответствующего элемента ПМС из закрытого в открытое положение, при котором падающий на данное микрозеркало световой поток, соответствующего данному N-битовому сигналу цвета, отражается в направлении оптической проекционной системы (см. патент US – А – № 5287096, 1994).
В прототипе (при соответствующем выборе временной зависимости интенсивности световых пучков) число ГШ уровней в градации отображения на экране яркости светового потока каждого основного цвета определяется зависимостью:
ГШ=То·(6· t)-1·[To·(3· t)-1-1],
где То=0,016-0,02 сек – время каждого кадра, t – шаг квантования длительности импульсного сигнала управления, подаваемого на двухпозиционный привод микрозеркала каждого элемента ПМС. Однако неизбежный разброс инерционности двухпозиционных приводов элементов ПМС накладывает достаточно жесткие ограничения снизу на величину t. Действительно, время, необходимое для перевода микрозеркала каждого элемента ПМС из закрытого положения, при котором падающий на него световой поток отражается, например, в направлении светопоглощающей поверхности, в открытое положение, при котором падающий на микрозеркало световой поток отражается в направлении оптической проекционной системы, составляет 10-5 сек. Следовательно, для обеспечения высокого качества проецируемого на экран изображения при 10% разбросе инерционности двухпозиционных приводов шаг квантования длительности импульсного сигнала управления должен быть, по крайней мере на порядок, больше величины разброса инерционности двухпозиционных приводов, которая в рассматриваемом случае составляет 10-6 сек. Для t=2·10-5 сек ГШ=55112, а число необходимых в этом случае для осуществления способа импульсных сигналов управления равно 333. Таким образом, известный способ проецирования цветного изображения на экран позволяет получить число уровней в градации яркости каждого основного цвета, превышающее на два порядка число используемых для формирования уровней яркости импульсных сигналов управления.
Недостаток прототипа заключается в том, что необходимость использования более 300 источников импульсного сигнала управления, подаваемых на элементы ПМС, приводит к усложнению технических средств, необходимых при осуществлении известного способа. Кроме того, формирование световых пучков трех основных цветов, световой поток которых изменяется монотонно по одной и той же временной зависимости, приводит к существенному снижению эффективности использования источников световой энергии вследствие экранирования значительной части излучаемого им света с помощью вращающегося поглотителя света.
Настоящее изобретение направлено на решение технической задачи по обеспечению упрощения технической реализации способа проецирования цветного изображения на экран путем уменьшения числа импульсных сигналов управления при одновременном повышении эффективности использования излучения источников световой энергии путем использования импульсных источников света.
Поставленная задача решена тем, что в способе проецирования цветного изображения на экран, при котором за время каждого кадра проецируемого на экран изображения равномерно освещают матрицу элементов ПМС тремя световыми пучками, спектральный состав которых соответствует трем основным цветам и которые формируют последовательно один за другим и со световым потоком, изменяющимся по одной и той же временной зависимости, с помощью ПМС осуществляют пространственную модуляцию распределения световой энергии по сечению каждого из упомянутых выше световых пучков, которые затем с помощью оптической проекционной системы направляют на экран, при этом каждому элементу ПМС соответствует один элемент в проецируемом на экран изображении, пространственную модуляцию распределения световой энергии по сечению каждого из формируемых за время одного кадра световых пучков осуществляют в соответствии с видеоинформацией, содержащейся в соответствующем кадре проецируемого на экран изображения, путем выделения с помощью элементов ПМС из каждого из трех световых потоков, направляемых на каждый элемент ПМС за время соответствующего кадра, количество световой энергии, которое необходимо для обеспечения требуемых визуально воспринимаемых за время соответствующего кадра уровня яркости и цветового тона соответствующего каждому элементу ПМС элемента проецируемого в соответствующем кадре на экран изображения, а выделение требуемого количества световой энергии из каждого светового потока основного цвета, последовательно за время каждого кадра направляемого на каждый элемент ПМС, осуществляют путем формирования для каждого элемента ПМС соответствующего ему в каждом кадре и для направляемого на него светового потока каждого цвета N-битового сигнала, в соответствии с кодом которого формируют импульсный сигнал управления, который подают на соответствующий в этом кадре этому N-битовому сигналу элемент ПМС, согласно изобретению световой поток светового пучка каждого основного цвета в каждом кадре проецируемого на экран изображения формируют в виде последовательности из 2m+l-1 импульсов света, где m и l<2m – соответственно число старших и младших бит в каждом N=(m+l) битовом сигнале, значения которых соответствуют требуемому числу – Г уровней в градации отображения на экране яркости каждого основного цвета, определяемому из соотношения Г=2l·(2m-1), при этом 2m-1 импульсов света формируют с одинаковой световой энергией – QO, а l импульсов света – со световой энергией Qi=QO·2-i, где i=1, 2, …, l, причем в соответствии с m-разрядным кодом старших бит каждого N-битового сигнала выделяют из импульсного светового потока основного цвета, соответствующего данному N-битовому сигналу, количество K1 2m-1 импульсов света со световой энергией QO путем формирования первой группы из K1 импульсных сигналов управления, а в соответствии с количеством и комбинацией активных значений l младших бит этого же N-битового сигнала из того же импульсного светового потока дополнительно выделяют импульсы света в количестве – К2, равном количеству активных значений младших бит данного N-битового сигнала, и со световой энергией Qi, зависящей от порядкового номера i младших бит, имеющих активное значение, путем формирования второй группы из K2 l импульсных сигналов управления, причем импульсы первой и второй групп импульсного сигнала управления подают на соответствующий в данном кадре данному N-битовому сигналу элемент ПМС синхронно соответственно с воздействующими на него импульсами света со световой энергией QO и световой энергией Qj, где j – порядковые номера i младших бит, имеющих активное значение.
Кроме того, поставленная задача решена тем, что
– импульсный световой поток каждого основного цвета формируют с помощью светодиодов, спектральный состав излучения которых соответствует данному основному цвету;
– импульсы света с одинаковой световой энергией QO формируют с постоянной амплитудой – АO длительностью – to и частотой следования, а импульсы света со световой энергией Qi формируют с той же амплитудой – АO и частотой следования, но с длительностью ti= to·2-i, зависящей от порядкового номера i младших бит;
– импульсы света с одинаковой световой энергией QO формируют с постоянными амплитудой – AO, длительностью – to и частотой следования, а импульсы света со световой энергией Qi формируют с той же длительностью – to и частотой следования, но с амплитудой Ai=AO·2-i, зависящей от порядкового номера i младших бит;
– пространственную модуляцию распределения световой энергии по сечению каждого светового пучка осуществляют с помощью ПМС, каждый элемент которого выполнен в виде снабженного приводом микрозеркала.
Преимущество предложенного способа проецирования цветного изображения на экран перед известным, взятым в качестве прототипа, заключается в том, что использование вместо световых пучков трех основных цветов, имеющих монотонно изменяющийся во времени световой поток, световых пучков тех же цветов, но имеющих импульсный световой поток, характеризующийся наличием двух групп световых импульсов (2m-1 импульсов света со световой энергией QO и l импульсов со световой энергией Qi=QO·2-i, где i=1, 2, …, l) позволяет получить большее, чем в прототипе, число уровней в градации отображения на экране яркости каждого основного цвета, используя существенно меньшее (почти на порядок) число подаваемых на элементы ПМС импульсных сигналов управления. Так для 16-битового сигнала при m=5, а l=11 число уровней Г в градации отображения на экране яркости каждого основного цвета равно Г=211·(25-1)=63488, а число импульсных сигналов управления равно 2m+l-1=25+11-1=42. В описанном выше и относящемся к прототипу примере для ГШ=55112 число импульсных сигналов управления равно 333. Следствием этого является упрощение технической реализации способа проецирования цветного изображения на экран не только за счет уменьшения числа импульсных сигналов управления, формируемых синхронно со световыми импульсами, но и за счет снижения частоты их следования (в предпочтительном варианте осуществления способа, когда световой поток каждого светового пучка представляет собой последовательность импульсов света с одинаковой частотой следования).
Другое преимущество предложенного способа перед прототипом заключается в возможности использования для формирования импульсных световых потоков импульсных источников света, предпочтительно светодиодов, обеспечивающих полное использование всей генерируемой ими световой энергии и не требующих использования светопоглощающих элементов для формирования нужных амплитудно-временных параметров световых импульсов.
В дальнейшем настоящее изобретение поясняется конкретным примером, который, однако, не является единственно возможным, но наглядно демонстрирует возможность достижения приведенной выше совокупностью существенных признаков требуемого технического результата.
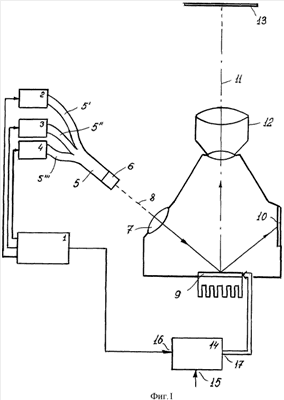
На фиг.1 схематично изображено устройство для осуществления предложенного способа; на фиг.2 – временная последовательность кадров проецируемого на экран изображения; на фиг.3 – серии импульсов света за время одного кадра; на фиг.4 – импульсный световой поток зеленого цвета; на фиг.5 – временная зависимость первой и второй групп импульсных сигналов управления.
Устройство для осуществления предложенного способа содержит генератор 1 импульсов, блок 2 светодиодов красного цвета, блок 3 светодиодов зеленого цвета, блок 4 светодиодов синего цвета, оптико-волоконный кабель 5, стержневую линзу 6, линзу 7, установленные вдоль оптической оси 8, ПМС 9, светопоглощающую поверхность 10, оптическую ось 11 оптической проекционной системы, например объектива 12, экран 13 и блок 14 управления ПМС 9. Первый выход генератора 1 импульсов соединен с входом блока 2 светодиодов красного цвета, второй выход генератора 1 импульсов соединен с входом блока 3 светодиодов зеленого цвета, а третий выход генератора 1 импульсов соединен с входом блока 4 светодиодов зеленого цвета. Оптико-волоконный кабель 5 выполнен с первым концом, расщепленным на три ветви 5 , 5 и 5  , при этом первая ветвь 5 оптически сопряжена с выходом блока 2 светодиодов красного цвета, вторая ветвь 5 – с выходом блока 3 светодиодов зеленого цвета, а третья ветвь 5  – с выходом блока 4 светодиодов синего цвета. Второй конец оптико-волоконного кабеля 5 оптически сопряжен со стержневой линзой 6, вдоль оптической оси 8 которой установлены линза 7 и ПМС 9, который выполнен в виде матрицы элементов в виде снабженных соответствующим приводом микрозеркал и подробно описанных в прототипе. Первый вход 15 блока 14 управления соединен с выходом устройства (не показано) формирования N-битовых сигналов, второй вход 16 блока 14 управления соединен с четвертым выходом генератора 1 импульсов, вход которого служит для подачи кадрового сигнала. Многоканальный выход 17 блока 14 управления соединен с многоканальным входом ПМС 9. При отсутствии управляющих сигналов на элементах ПМС 9 падающий на микрозеркала его элементов свет отражается в направлении светопоглощающей поверхности 10. Блок 14 управления ПМС 9 может быть выполнен на базе микроконтроллера, работа которого будет подробно описана ниже в соответствующем разделе описания. На фиг.3-5 используются следующие обозначения: 18 – импульсы света со световой энергией QO; 19 – импульсы света со световой энергией Qi; 20 – импульсные сигналы управления первой группы; 21 – импульсные сигналы управления второй группы; t – время. Остальные буквенные обозначения расшифрованы в описании.
В качестве ПМС 9 могут быть использованы также и пространственные модуляторы света со светоклапанными элементами, например жидкокристаллическими элементами, работающими на просвет (см. заявку РСТ/WO – A1 – № 62012, 2001).
Способ проецирования цветного изображения на экран осуществляется следующим образом. Аналоговые сигналы яркости красного (R), зеленого (G) и синего (В) цветов, соответствующие одному и тому же элементу в проецируемом на экран 13 в соответствующем кадре изображении, преобразуют в соответствующий каждому из них N-битовый сигнал, который включает m-старших и l=(N-m)<2m младших бит, при этом значения m и l устанавливают в соответствии с требуемым числом – Г уровней в градации яркости каждого цвета, которое определяют из соотношения: Г=(2m-1)·2l. Для этого амплитуду сигнала яркости, например красного цвета, подвергают 2m-1-уровневому квантованию с заданным шагом – с последующим m-разрядным кодированием каждого уровня квантования, с использованием известных средств импульсно-кодовой модуляции телевизионного сигнала (см. например, Г.М.Мамчев, Основы цифрового телевидения, Сиб. ГУТИ, Новосибирск, 2003, 28-34). Одновременно из амплитуды упомянутого выше сигнала яркости выделяют компоненту, величина которой меньше шага – 2m-1-уровневого квантования. Затем выделенную компоненту амплитуды сигнала яркости подвергают 2l-1-уровневому квантованию с шагом в 2l раз меньшем шага – 2m-1-уровневого квантования с последующим кодированием каждого из 2l-1 уровней комбинацией активных значений l младших бит N-битового сигнала, при этом активному значению каждого i-ого бита, где i – порядковый номер младших бит, т.е. i=1, 2, …, l, соответствует уровень квантования, имеющий значение – ·2-i. Так, например, для l=3 уровню квантования – ·2-1 соответствует кодовая комбинация 100, а уровню квантования ·2-2 соответствует кодовая комбинация 010. Тогда кодовая комбинация для уровня квантования (3/4) будет иметь вид 110. Аналогично осуществляют не только формирование N-битовых сигналов, соответствующих аналоговым сигналам яркости зеленого и синего цветов для того же элемента в проецируемом на экран изображении, но и для всех остальных элементов этого изображения. Соответствующие каждому кадру проецируемого на экран изображения цифровые сигналы данных в виде соответствующих каждому элементу этого изображения трех N-битовых сигналов, каждый из которых сформирован, как описано выше, из аналогового сигнала яркости соответствующего основного цвета, подают на вход 15 блока 14 управления ПМС 9. В блоке 14 управления ПМС 9 осуществляется раздельное декодирование (аналогично тому, как описано в патенте ЕР – А2 – № 1132663, 2001) старших и младших бит поступающих на его вход 15 N-битовых сигналов. В результате декодирования кодовой комбинации, соответствующей старшим битам каждого из упомянутых выше N-битовых сигналов, определяют количество – К1 2m-1 импульсных сигналов управления первой группы, предназначенных для выделения соответствующего числа импульсов света со световой энергией QO, а в соответствии с количеством и комбинацией активных значений l младших бит этого же N-битового сигнала определяют не только количество K2 l импульсных сигналов управления, относящихся ко второй группе импульсных сигналов управления и предназначенных для выделения импульсов света со световой энергией Qi, но и соответствующий каждому этому импульсному сигналу управления номер – j, где j – порядковый номер i каждого младшего бита, имеющего активное значение в данном N-битовом сигнале.
Таким образом, в соответствии с видеоинформацией, содержащейся в каждом кадре проецируемого на экран изображения, для каждого элемента ПМС 9 формируют соответствующие каждому основному цвету две группы импульсных сигналов управления. За время ТO=0,016-0,02 сек каждого кадра F1, F2, …, Fn-1, Fn, Fn+1 … (фиг.2) проецируемого на экран изображения формируют (в предпочтительном варианте осуществления изобретения, см. фиг.1, с помощью подключенных к соответствующим выходам генератора 1 импульсов, блока 2 светодиодов красного цвета, блока 3 светодиодов зеленого цвета, блока 4 светодиодов синего цвета, оптико-волоконного кабеля 5 с одним концом, расщепленным на три ветви (5 , 5 и 5  ), а другим – оптически сопряженным со стержневой линзой 6, а также линзы 7) последовательно друг за другом три однородных по сечению световых пучка, спектральный состав каждого из которых соответствует одному из трех основных цветов (RGB) видимого спектра электромагнитного излучения. Световые пучки трех основных цветов (RGB) формируют с импульсным световым потоком одинаковой длительности ( R= G= B= o To/3) и одинаковой временной зависимостью, а именно: в виде последовательности (фиг.3, 4) из 2m+l-1 импульсов света, где m и l – соответственно число старших и младших бит N-битовых сигналов, сформированных как описано выше, из аналоговых сигналов яркости (RGB) цветов. При этом 2m-1 импульсов 18 света формируют с одинаковой световой энергией – QO и, в предпочтительном варианте осуществления изобретения, – с одинаковой частотой следования, а l импульсов 19 света формируют со световой энергией Qi=QO·2-i, где i=1, 2, …, l – порядковый номер младших бит в N-битовом сигнале и, в предпочтительном варианте осуществления изобретения, – с той же частотой следования. Импульсы 18 света с одинаковой световой энергией – QO и цвета, предпочтительно, формируют с постоянной амплитудой – AO и длительностью – to путем пропускания через все светодиоды, излучающие свет одного цвета последовательности импульсов тока постоянной амплитуды и с длительностью, равной to. Импульсы 19 света того же цвета, но со световой энергией – Qi, предпочтительно формируют с той же постоянной амплитудой – AO, но с длительностью ti, зависящей от порядкового номера i младших бит N-битового сигнала – ti= to·2-i, путем пропускания через те же светодиоды импульсов тока длительностью ti, которые формируют из той же последовательности импульсов тока с длительностью to путем ограничения времени протекания этих l импульсов тока через светодиоды, излучающие свет одного цвета. Импульсы 19 света со световой энергией Qi могут быть сформированы также и с длительностью, равной to, но с амплитудой Ai=AO·2-i, зависящей от порядкового номера – i младших бит, либо путем соответствующей модуляции амплитуды импульсов тока, которые пропускают через все светодиоды, излучающие свет одного цвета, либо соответствующей амплитудной модуляции световых импульсов со световой энергией QO с помощью вращающегося оптико-механического дискового модулятора с коэффициентом пропускания, изменяющимся, например, по зависимости, соответствующей показательной функции.
За время каждого кадра световые пучки трех основных цветов (RGB), сформированные, например, с помощью описанной выше оптической системы, последовательно направляют вдоль одной и той же оси 8 на ПМС 9 и в той же последовательности равномерно освещают матрицу его элементов, каждому из которых соответствует один элемент в проецируемом на экран 13 изображении.
В предпочтительном варианте осуществления изобретения каждый элемент ПМС 9 выполнен в виде снабженного приводом микрозеркала. С помощью ПМС 9 осуществляют пространственную модуляцию распределения световой энергии по сечению каждого из световых пучков R, G и В цветов, которые затем с помощью оптической проекционной системы (объектива 12) направляют вдоль оси 11 на экран 13. Пространственную модуляцию распределения световой энергии по сечению каждого из сформированных за время одного кадра световых пучков осуществляют в соответствии с видеоинформацией, содержащейся в соответствующем кадре проецируемого на экран 13 изображения, путем выделения с помощью элементов ПМС 9 из каждого из трех световых потоков, направляемых за время одного кадра на все элементы ПМС 9, количества световой энергии, которое необходимо для обеспечения требуемых визуально воспринимаемых за время соответствующего кадра уровня яркости и цветового тона соответствующего каждому элементу ПМС 9 элемента проецируемого в соответствующем кадре на экран 13 изображения. Иными словами, за время одного кадра с помощью соответствующего элемента ПМС 9 выделяют сначала из импульсного светового потока первого (например красного) основного цвета определенное (как описано выше в соответствии с m-разрядным кодом старших бит N-битового сигнала, соответствующего в данном кадре проецируемого на экран изображения этому элементу ПМС 9 и световому потоку первого основного цвета) количество К1 импульсов света со световой энергией QO путем подачи на этот элемент ПМС 9 синхронно с воздействующими на него импульсами света со световой энергией QO первой группы из К1 импульсных сигналов управления. В соответствии с количеством и комбинацией активных значений l младших бит того же N-битового сигнала из импульсного светового потока первого основного цвета дополнительно выделяют импульсы света в количестве K2, равном количеству активных значений младших бит данного N-битового сигнала, и со световой энергией Qj, где j – порядковые номера – i младших бит, имеющих активное значение, путем подачи на этот же элемент ПМС 9 синхронно с воздействующими на него импульсами света со световой энергией Qi, сформированными, как описано выше, второй группы из К2 импульсных сигналов управления.
Далее, аналогично тому, как описано выше, из соответствующего этому же кадру проецируемого на экран изображения импульсного светового потока второго (зеленого, фиг.4) основного цвета с помощью того же элемента ПМС 9 выделяют определенное, как описано выше в соответствии с m-разрядным кодом старших бит N-битового сигнала, соответствующего в данном кадре проецируемого на экран изображения тому же элементу ПМС 9, но световому потоку второго основного цвета, количество К1=8 импульсов 18 света со световой энергией QO путем подачи на этот элемент ПМС 9 синхронно с воздействующими на него импульсами 18 света со световой энергией QO (фиг.4) первой группы из K1=8 импульсных сигналов 20 управления (фиг.5). В соответствии с количеством и комбинацией активных значений l – младших бит (например, l=11, фиг.4, 01010001000) N-битового сигнала, соответствующего этому же элементу ПМС 9 и второму основному цвету, из импульсного светового потока второго основного цвета (фиг.4) дополнительно выделяют импульсы 19 света в количестве К2=3 (равном количеству активных значений младших бит) и со световой энергией Qj, где j=2, 4, 8 (порядковые номера – i младших бит, имеющих активное значение) путем подачи на этот же элемент ПМС 9 синхронно с воздействующими на него импульсами 19 света со световой энергией Qi, сформированными, как описано выше, второй группы из К2=3 импульсных сигналов 21 управления (фиг.5).
Затем аналогичные операции осуществляют в отношении соответствующего этому же кадру проецируемого на экран изображения импульсного светового потока третьего (синего) основного цвета в соответствии с m-разрядным кодом старших бит, а также количеством и комбинацией активных значений l младших бит соответствующего этому основному цвету и тому же элементу ПМС 9. В результате за время одного кадра с помощью соответствующего элемента ПМС 9 выделяют такое количество световой энергии каждого из основных цветов, которое обеспечивает визуальное восприятие за время кадра соответствующего этому элементу ПМС 9 элемента воспроизводимого в данном кадре изображения с требуемым уровнем яркости и цветовым тоном.
Аналогично описанному выше осуществляют формирование требуемого уровня яркости и цветового тона других элементов в проецируемом на экран 13 изображении.
Иллюстрацией вышесказанного является описание работы устройства, реализующего предложенный способ проецирования цветного изображения на экран, простейший вариант выполнения которого представлен на фиг.1. С приходом на вход генератора 1 импульсов очередного кадрового импульса с помощью генератора 1 импульсов последовательно за время очередного кадра Fп формируют три одинаковые серии импульсов тока и попарно синхронно с ними три одинаковые серии импульсных сигналов управления. Каждая серия импульсов тока включает последовательность из 2m-1+l импульсов тока постоянной амплитуды и частоты следования, при этом 2m-1 импульсов тока имеют длительность – to, а l импульсов тока имеют длительность ti= to·2-i, зависящую от порядкового номера i=1, 2, …, l импульса тока. Каждая серия импульсных сигналов управления включает последовательность из 2m+l-1 импульсов напряжения с постоянной амплитудой и той же частотой следования, что и частота следования упомянутой выше последовательности импульсов тока, а также с постоянной длительностью – tу, которая не меньше to, например, tу=(1,0-1,2) to. Первую серию импульсов тока подают с первого выхода генератора 1 импульсов на вход блока 2 светодиодов красного цвета. При пропускании каждого импульса тока через эти светодиоды происходит излучение импульсов света красного цвета с длительностью, равной длительности протекающего через эти светодиоды импульса тока. Иными словами, импульсам тока длительностью – to соответствуют излучаемые светодиодами импульсы света длительностью – to, а импульсам тока с длительностью – ti соответствуют излучаемые этими же светодиодами импульсы света с той же длительностью – ti. Посредством оптически сопряженной с выходом блока 2 светодиодов красного цвета первой ветви 5′ оптико-волоконного кабеля 5, стержневой линзы 6, а также линзы 7 излучаемый светодиодами красного цвета импульсный световой поток в виде последовательности из 2m-1 импульсов 18 света длительностью to и световой энергией QO и l импульсов 19 света с длительностью ti= to·2-i и световой энергией Qi=QO·2-i, т.е. зависящими от его порядкового номера i=1, 2, …, l, формируют в направленный вдоль оси 8 и равномерно освещающий матрицу элементов ПМС 9 однородный по сечению световой пучок, спектральный состав которого соответствует красному цвету (фиг.2, 3 временной интервал R).
По окончании первой серии импульсов тока генерируют вторую серию импульсов, которую подают со второго выхода генератора 1 импульсов на вход блока 3 светодиодов зеленого цвета. В результате пропускания импульсов тока второй серии через светодиоды зеленого цвета происходит формирование импульсного светового потока зеленого цвета в виде последовательности из 2m-1 импульсов 18 света длительностью to и световой энергией QO и l импульсов 19 света с длительностью ti= to·2-i и световой энергией Qi=QO·2-i. Посредством оптически сопряженной с выходом блока 3 светодиодов зеленого цвета второй ветви оптико-волоконного кабеля 5, стержневой линзы 6 и линзы 7 формируют в направленный вдоль той же оптической оси 8 и равномерно освещающий матрицу элементов ПМС 9 однородный по сечению световой поток, спектральный состав которого соответствует другому основному цвету – зеленому (фиг.2, 3, временной интервал – G). По окончании второй серии импульсов тока генерируют третью серию импульсов тока, которую подают с третьего выхода генератора 1 импульсов на вход блока 4 светодиодов синего цвета. В результате пропускания импульсов тока третьей серии через светодиоды синего цвета происходит, аналогично тому, как описано выше, формирование импульсного светового потока зеленого цвета с той же временной зависимостью, что и описанные ранее импульсные световые потоки красного и зеленого цветов. Полученной импульсный световой поток с помощью тех же оптических элементов формируют в направленный вдоль оптической оси 8 и равномерно освещающий матрицу элементов ПМС 9 однородный световой поток третьего (синего) основного цвета (риг.2, 3 временной интервал B). С приходом следующего кадрового импульса описанный выше процесс повторяется.
Соответствующие каждому кадру проецируемого на экран изображения цифровые сигналы данных в виде соответствующих каждому элементу этого изображения трех N-битовых сигналов подают на первый вход 15 блока 14 управления ПМС 9. В блоке 14 управления осуществляется раздельное декодирование (аналогично тому, как описано в патенте ЕР – А2 – № 1132883, 2001) старших и младших бит поступающих на первый вход 15 N-битовых сигналов. В результате декодирования (как уже отмечалось выше) определяют для каждого элемента ПМС 9 и для соответствующего кадра проецируемого на экран 13 изображения количество импульсных сигналов 20 управления, относящихся к первой группе импульсных сигналов управления, а также количество импульсных сигналов 21 управления, относящихся ко второй группе импульсных сигналов управления, и их номер j, где j – порядковый номер с каждого младшего бита, имеющего активное значение в соответствующем N-битовом сигнале. Далее полученные результаты записывают во входящую в состав блока 14 управления память данных кадра, а именно для каждого элемента ПМС 9 заносится в память три пары чисел, соответствующих трем основным цветам. При этом каждая пара чисел определяет как количество направляемых в данную точку экрана 13 импульсов 18 света со световой энергией QO, так и количество направляемых в ту же точку экрана 13 импульсов 19 света со световой энергией Qj.
С помощью блока 14 управления осуществляют подачу поступающих на его второй вход 16 импульсных сигналов управления первой и второй групп на соответствующие элементы ПМС 9. Так с приходом на второй вход 16 блока 14 управления первого импульсного сигнала 20 управления в данном кадре осуществляют подачу его через многоканальный выход 17 на те элементы ПМС 9, которые обеспечивают выделение в данном кадре, по крайней мере одного импульса света красного цвета со световой энергией QO, одновременно направляемого на матрицу элементов ПМС 9. С приходом на второй вход 16 блока 14 управления второго импульсного сигнала 20 управления в данном кадре осуществляют подачу его через многоканальный выход 17 на те элементы ПМС 9, которые обеспечивают выделение в данном кадре, по крайней мере, двух импульсов света красного цвета со световой энергией QO. Этот процесс повторяется вплоть до прихода 2m-1-импульсного сигнала 20 управления на вход 16 блока 14 управления и синхронного с ним 2m-1 импульса 18 света со световой энергией QO. Одновременно в блоке 14 управления производится подсчет числа подаваемых на каждый элемент ПМС 9 импульсных сигналов 20 управления, относящихся к первой группе, и сравнение его с записанными в памяти данных кадра количеством относящихся к первой группе импульсных сигналов 20 управления, которое определено в соответствии с m-разрядным кодом соответствующего каждому элементу ПМС 9 N-битового сигнала.
С приходом на второй вход 16 блока 14 управления 2m-импульсного сигнала 21 управления (первого импульсного сигнала управления, относящегося ко второй группе) осуществляют подачу его через многоканальный выход 17 на те элементы ПМС 9, которые в данном кадре обеспечивают выделение и направление на экран 13 импульса света красного цвета со световой энергией Q1=QO·2-1. С приходом 2m+1-импульсного сигнала 21 управления (i=2) осуществляют подачу его через многоканальный выход 17 на те элементы ПМС 9, которые в данном кадре обеспечивают выделение и направление на экран 13 импульса света красного цвета со световой энергией Q2=QO·2-2. Этот процесс повторяется до окончания первой серии из 2m+l-1-импульсных сигналов управления.
При подаче на второй вход 15 блока 14 управления второй, а затем третьей серии из 2m+l-1-импульсных сигналов управления функционирование блока 14 управления осуществляется аналогично тому, как описано выше.
При отсутствии импульсных сигналов 20 или 21 управления микрозеркало каждого элемента ПМС 9 отражает падающий на него световой поток в направлении поглощающей поверхности 10. При подаче на каждый элемент ПМС 9 импульсного сигнала 20 или 21 управления осуществляется с помощью соответствующего, например пьезоэлектрического двухпозиционного, привода перевод микрозеркала в положение, при котором оно отражает падающий на него световой поток в направлении оптической проекционной системы, в частности объектива 12, с помощью которого отраженный микрозеркалами свет направляют на экран 13.
Функционирование описанного выше устройства не изменится при замене ПМС 9 с элементами в виде снабженных соответствующими приводами микрозеркал на ПМС с элементами в виде световых клапанов, работающих на просвет (см. заявку РСТ/WO – A1 – № 62012, 2001).
Предложенный способ обеспечивает проецирование цветного изображения не экран с числом уровней Г в градации отображения на экране яркости каждого основного цвета, определяемого из соотношения Г=2l·(2m-1), а следовательно, с числом цветовых тонов, равным [2l·(2m-1)]3, с помощью 2m+l-1 импульсных сигналов управления.
При осуществлении предложенного способа могут быть использованы стандартные электронные и оптические компоненты, что обуславливает возможность его широкого использования в системах, где требуется высокое качество проецируемых на экран изображений.
Формула изобретения
1. Способ проецирования цветного изображения на экран, при котором за время каждого кадра проецируемого на экран изображения равномерно освещают матрицу элементов пространственного модулятора света (ПМС) тремя световыми пучками, спектральный состав которых соответствует трем основным цветам и которые формируют последовательно один за другим и со световым потоком, изменяющимся по одной и той же временной зависимости, с помощью ПМС осуществляют пространственную модуляцию распределения световой энергии по сечению каждого из упомянутых выше световых пучков, которые затем с помощью оптической проекционной системы направляют на экран, при этом каждому элементу ПМС соответствует один элемент в проецируемом на экран изображении, пространственную модуляцию распределения световой энергии по сечению каждого из формируемых за время одного кадра световых пучков осуществляют в соответствии с видеоинформацией, содержащейся в соответствующем кадре проецируемого на экран изображения, путем выделения с помощью элементов ПМС из каждого из трех световых потоков, направляемых на каждый элемент ПМС за время соответствующего кадра, количество световой энергии которое необходимо для обеспечения требуемых визуально воспринимаемых за время соответствующего кадра уровня яркости и цветового тона соответствующего каждому элементу ПМС элемента проецируемого в соответствующем кадре на экран изображения, а выделение требуемого количества световой энергии из каждого светового потока основного цвета, последовательно за время каждого кадра направляемых на каждый элемент ПМС, осуществляют путем формирования для каждого элемента ПМС соответствующего ему в каждом кадре и для направляемого на него светового потока каждого цвета N-битового сигнала, в соответствии с кодом которого формируют импульсный сигнал управления, который подают на соответствующий в этом кадре этому N-битовому сигналу элемент ПМС, отличающийся тем, что световой поток светового пучка каждого основного цвета в каждом кадре проецируемого на экран изображения формируют в виде последовательности из 2m+l-1 импульсов света, где m и l<2m соответственно число старших и младших бит в каждом N=(m+l) битовом сигнале, значения которых соответствуют требуемому числу – Г уровней в градации отображения на экране яркости каждого основного цвета, определяемому из соотношения Г=2l·(2m-1), при этом 2m-1 импульсов света формируют с одинаковой световой энергией – QO, a l импульсов света – со световой энергией Qi=QO·2-i, где i=1, 2, …, l, причем в соответствии с m-разрядным кодом старших бит каждого N-битового сигнала выделяют из импульсного светового потока основного цвета, соответствующего данному N-битовому сигналу, количество K1 2m-1 импульсов света со световой энергией QO путем формирования первой группы из K1 импульсных сигналов управления, а в соответствии с количеством и комбинацией активных значений l младших бит этого же N-битового сигнала из того же импульсного светового потока дополнительно выделяют импульсы света в количестве – K2, равном количеству активных значений младших бит данного N-битового сигнала, и со световой энергией Qi, зависящей от порядкового номера i младших бит, имеющих активное значение, путем формирования второй группы из K2 l импульсных сигналов управления, причем импульсные сигналы управления первой и второй групп подают на соответствующий в данном кадре данному N-битовому сигналу элемент ПМС синхронно соответственно с воздействующими на него импульсами света со световой энергией QO и световой энергией Qj, где j – порядковые номера i младший бит, имеющих активное значение.
2. Способ по п.1, отличающийся тем, что импульсный световой поток каждого основного цвета формируют с помощью светодиодов, спектральный состав излучения которых соответствует данному основному цвету.
3. Способ по п.1, отличающийся тем, что импульсы света с одинаковой световой энергией QO формируют с постоянной амплитудой – АO, длительностью – to и частотой следования, а импульсы света со световой энергией Qi формируют с той же амплитудой – АO и частотой следования, но с длительностью ti= to·2-i, зависящей от порядкового номера i младших бит.
4. Способ по п.1, отличающийся тем, что импульсы света с одинаковой световой энергией QO формируют с постоянными амплитудой – АO, длительностью – to и частотой следования, а импульсы света со световой энергией Qi формируют с той же длительностью – to и частотой следования, но с амплитудой Ai=AO·2-i, зависящей от порядкового номера младших бит.
5. Способ по п.1, отличающийся тем, что пространственную модуляцию распределения световой энергии по сечению каждого светового пучка осуществляют с помощью ПМС, каждый элемент которого выполнен в виде снабженного приводом микрозеркала.
РИСУНКИ
|
|