|
|
(21), (22) Заявка: 2006127048/09, 26.12.2003
(24) Дата начала отсчета срока действия патента:
26.12.2003
(43) Дата публикации заявки: 10.02.2008
(46) Опубликовано: 27.08.2008
(56) Список документов, цитированных в отчете о поиске:
RU 2208912 С1, 20.07.2003. RU 2208916, 20.07.2003. CN 1266314 A, 13.09.2000. GB 2343817, 17.05.2000.
(85) Дата перевода заявки PCT на национальную фазу:
26.07.2006
(86) Заявка PCT:
CN 03/01129 (26.12.2003)
(87) Публикация PCT:
WO 2005/064833 (14.07.2005)
Адрес для переписки:
103735, Москва, ул.Ильинка, 5/2, ООО “Союзпатент”, пат.пов. Ю.Б.Перегудовой, рег. № 1103
|
(72) Автор(ы):
ДИНГ Цзиэвэй (CN)
(73) Патентообладатель(и):
ЗТЭ КОРПОРЕЙШН (CN)
|
(54) СПОСОБ ПОИСКА В СИСТЕМЕ СВЯЗИ МНОЖЕСТВЕННОГО ДОСТУПА С КОДОВЫМ РАЗДЕЛЕНИЕМ КАНАЛОВ
(57) Реферат:
Изобретение относится к системам связи. Технический результат заключается в улучшении точности поиска при многолучевом распространении сигнала, без увеличения сложности расчетов. Способ содержит этапы, на которых: рассчитывают энергетический профиль задержки принимаемого сигнала; выбирают множество пиков, которые имеют более высокую энергию из указанного энергетического профиля задержки, при этом пик определяется положением, энергия которого выше, чем энергия в положениях с обеих его сторон; выполняют сравнение с пороговым значением и интерполяцию для указанных выбранных пиков для определения положения задержки при многолучевом распространении сигнала и энергии; определяют задержку при многолучевом распространении сигнала в соответствии с результатами указанной интерполяции. 9 з.п. ф-лы, 6 ил.
Область техники, к которой относится изобретение
Настоящее изобретение относится к технологии приема сигнала в системе связи множественного доступа с кодовым разделением каналов (сокращенно, CDMA) и, в частности, к способу поиска многолучевого сигнала в период приема сигнала. Настоящее изобретение можно применять для любой системы связи, в которой используется технология множественного доступа с кодовым разделением каналов.
Уровень техники
Множественный доступ с кодовым разделением каналов представляет собой способ множественного доступа, основанный на технологии расширения спектра, который стал другим способом множественного доступа, применяемым в последние годы в системах связи, помимо множественного доступа с частотным разделением каналов (МДЧР, FDMA) и множественного доступа с временным разделением каналов (МДВР, TDMA). По сравнению с технологиями множественного доступа с частотным разделением каналов и множественного доступа с временным разделением каналов, технология МДКР имеет множество преимуществ, таких как высокая степень использования частотных спектров, простота планирования и так далее. Система связи, в которой используется технология МДКР, включает в себя: узкополосную систему МДКР, то есть систему IS-95; широкополосную систему МДКР, то есть систему WCDMA; систему CDMA 2000, систему TD-SCDMA и систему TD-CDMA и т.д.
Во всех указанных выше системах связи используется технология расширения спектра с множественным кодированием, которую также называют двухэтапной технологией построения кода с расширенным спектром. Таким образом, процесс расширения спектра обратного канала связи от мобильной станции к базовой станции может быть разделен на два этапа. Первый этап содержит расширение спектра сигнала при использовании ортогональной функции (такой, как функция Уолша, код OVSF и т.д.), значение взаимной корреляции которой равно нулю, когда задержка совмещается как код канала. Первый этап называется расширением, и процесс восстановления, происходящий на соответствующей приемной стороне (базовой станции), называется устранением расширения. Второй этап содержит умножение псевдослучайного кода (такого как псевдошумовая (ПШ, PN) последовательность, М последовательность, Золотая последовательность и т.д.), уникально назначенного для каждой мобильной станции, который имеет хорошие рабочие характеристики как в отношении автокорреляции, так и взаимной корреляции с сигналом. Второй этап называется скремблированием, и процесс восстановления, происходящий на соответствующей приемной стороне (в базовой станции) называется дескремблированием. И указанный выше псевдослучайный код называется кодом скремблирования. На втором этапе код скремблирования используют для различения различных мобильных станций. Величина в последовательности кода скремблирования также называется элементарной последовательностью. Кроме того, в этих системах процесс расширения спектра в прямом канале связи от базовой станции к мобильной станции также разделен на те же два этапа, при этом единственное отличие состоит в том, что код скремблирования прямого канала связи используют для различения базовой станции или ячейки, и разные базовые станции или ячейки имеют разный код скремблирования.
В обычной системе мобильной связи сигналы между базовой станцией и мобильной станцией распространяются по множеству путей между передатчиком и приемником. Это явление многолучевого распространения сигнала при передаче в основном возникает в результате отражения сигнала от поверхности объектов, находящихся вокруг передатчика и приемника. Поскольку пути распространения отличаются, возникают различные задержки распространения разных компонент многолучевого сигнала, поступающего в приемник, при этом компоненты многолучевого сигнала генерируются одним и тем же сигналом, распространяющимся по разным путям, в результате чего происходит интерференция из-за многолучевого распространения и затухание сигнала.
Приемник в системе МДКР имеет многосегментную структуру, в которой каждый сегмент представляет собой отдельный приемный элемент. Приемник используют для демодуляции компонента требуемого принимаемого сигнала и комбинирования сигналов различных приемных элементов, что позволяет улучшить качество принимаемого сигнала. Каждый сегмент синхронизирован с множеством путей распространения, которые имеют практически одинаковую задержку распространения. Приемник такого рода также называется Rake-приемником, который позволяет суммировать энергию сигналов, пришедших по разным путям распространения с различной задержкой, соответствующих одной и той же мобильной станции, в соответствии с определенным правилом, что позволяет улучшить рабочие характеристики приемника.
Синхронизация локального кода с расширенным спектром и кода с расширенным спектром принимаемого сигнала представляет собой предпосылку для работы системы МДКР для реализации нормальной связи. Если синхронизация кода не может быть реализована, устранение расширения не может быть выполнено правильно; поэтому исходная информация не может быть правильно демодулирована. Чем более точно обеспечивается синхронизация кода, тем лучше характеристика демодуляции приемника. Поиск при многолучевом распространении сигнала включает в себя детектирование задержки распространения сигнала при многолучевом распространении сигнала для принятых сигналов, и затем регулировку локального кода с расширенным спектром в соответствии с задержкой передачи, для обеспечения его синхронизации с кодом с расширенным спектром каждого сигнала, пришедшего по множеству путей распространения из принимаемых сигналов. Если невозможно точно определить задержку при многолучевом распространении сигнала в результате поиска при многолучевом распространении сигнала, тогда происходит ухудшение рабочих характеристик демодуляции в следующем Rake-приемнике.
Способы поиска при многолучевом распространении сигнала, в соответствии с предшествующим уровнем техники, содержат следующие этапы: во-первых, выполнение корреляционного интегрирования со смещением принимаемого сигнала с использованием скремблирующего кода, для получения комплексной функции сопряжения (КФС, CRF) ожидаемого сигнала пользователя; затем получают энергетический профиль задержки (ЭПХ, PDP) путем получения суммы квадрата действительной части и квадрата мнимой части КФС, то есть ПЗМ представляет собой квадрат модуля корреляционной функции скремблирующего кода и принимаемого сигнала; и затем пики, имеющие относительно большее значение профиля (то есть сравнительно большее значение корреляции, сравнительно большую мощность) или имеющие значение профиля, которое больше, чем заданное пороговое значение, выбирают из энергетического профиля задержки ЭПЗ, в котором положения пиков представляют собой как раз положения задержки при многолучевом распространении сигнала. Указанный выше способ представляет собой традиционный способ поиска при многолучевом распространении сигнала, который был описан в следующих книгах и статьях, “Modern Mobile Communication Systems” (People’s Post & Telecomm Press, by Qi Yusheng and Shao Shixiang), “CDMA: Principles of Spread Spectrum Communication” (Addison-WeSley Publishing Company, by Andrew J. Viterbi), “Optimal Decision Strategies for Acquisition of Spread-Spectrum Signals in Frequency-Selective Fading Channels” (IEEE Transactions on communications Vol.46. No.5, by Roland R. Rick and Laurence B. Milstein.).
В действительности поиск при многолучевом распространении сигнала всего лишь эквивалентен дескремблированию для каждой различной задержки принимаемого сигнала с использованием кода скремблирования, для того чтобы выбрать реальную задержку при многолучевом распространении сигнала. Обычно требуется дескремблировать сотни положений задержки, в то время как только некоторые из них представляют собой реальные положения при многолучевом распространении сигнала, количество которых обычно меньше десяти. При этом для последующих Rake-приемников достаточно дескремблировать только выбранные реальные положения при многолучевом распространении сигнала.
Среда беспроводной связи постоянно изменяется, в результате чего необходимо постоянно выполнять поиск при многолучевом распространении сигнала для своевременного отражения текущей среды в канале. Для уменьшения времени поиска при многолучевом распространении сигнала используют способ параллельного поиска. Поэтому в приемнике поиск при многолучевом распространении сигнала занимает существенную часть выполняемых операций и его реализация также является сложной. Если операцию поиска при многолучевом распространении сократить, то понизится соответствующая точность поиска при многолучевом распространении сигнала, более чем обычно, и, кроме того, промежуток между двумя соседними точками задержки обычно равен половине периода элементарной последовательности, а именно точность будет составлять только 1/2 элементарной последовательности, в то время как для демодуляции требуется точность 1/4 элементарной последовательности или даже 1/8 элементарной последовательности. Для улучшения точности обычно используют способ отслеживания раннего-позднего стробирования, который содержит следующие этапы: вначале каждый сегмент Rake-приемника демодулирует энергию сигнала в положении задержки при многолучевом распространении сигнала (называемом своевременным путем) и также демодулирует энергию сигнала, который поступил на половину длины элементарной последовательности раньше (называемый ранним путем), чем задержка при многолучевом распространении сигнала, а также сигнал, который поступил на половину элементарной последовательности позже (называемый поздним путем), чем задержка при многолучевом распространении сигнала, одновременно; затем сравнивают эти три сигнала, поступившие по трем путям, то есть сигнал раннего пути, сигнал позднего пути и сигнал своевременного пути, и со смещением на 1/8 элементарной последовательности или на 1/4 элементарной последовательности положений задержки при многолучевом распространении сигнала в этих трех каналах, в направлении позднего пути, если энергия сигнала позднего пути превышает заданное пороговое значение; или со смещением на 1/8 элементарной последовательности или на 1/4 элементарной последовательности положений задержки при многолучевом распространении в этих трех каналах в направлении раннего пути, если энергия сигнала в раннем пути превышает заданное пороговое значение; или рассматривают текущее положение задержки при многолучевом распространении сигнала как относительно правильное положение и при этом отсутствует необходимость смещения, если энергии сигналов как раннего пути, так и позднего пути практически равны. Этот процесс называется отслеживанием раннего/позднего стробирования. Такой способ позволяет выполнить дополнительную тонкую «настройку» результата поиска, который выполняет по существу функцию механизма поиска с меньшим окном поиска (имеет только три положения задержки). Хотя характеристика демодуляции приемника может быть существенно улучшена с использованием способа отслеживания раннего/позднего стробирования, он одновременно удваивает сложность Rake-приемника. Кроме того, в способе, предназначенном для многолучевого распространения сигнала, результат поиска при многолучевом распространении сигнала и результат отслеживания раннего/позднего стробирования обычно необходимо синтезировать, и соответствующий один из них должен быть выбран и «выделен» для Rake-приемника, для того чтобы присваивать относительно точное положение задержки при выполнении назначения при многолучевом распространении сигнала. Кроме того, способ отслеживания с ранним/поздним стробированием увеличил сложность управления назначением при многолучевом распространении сигнала. Способ отслеживания раннего/позднего стробирования подробно описан в следующей книге “CDMA: Principles of Spread Spectrum Communication” (Addison-WeSley Publishing Company, by Andrew J. Viterbi).
Таким образом, способ поиска при многолучевом распространении сигнала в соответствии с предшествующим уровнем техники может предложить только поиск с относительно низкой точностью. Для улучшения точности используют способ отслеживания с ранним/поздним стробированием, но он является сложным.
Раскрытие изобретения
Поэтому целью настоящего изобретения является создание способа поиска при многолучевом распространении сигнала, применимого в системах связи множественного доступа с кодовым разделением каналов, который позволил бы улучшить точность результата поиска при многолучевом распространении сигнала, практически без увеличения сложности расчетов, что позволило бы преодолеть недостатки усложненной реализации поиска с ранним/поздним стробированием, и одновременно упростило бы сложность Rake-приемника.
Способ поиска при многолучевом распространении сигнала в соответствии с настоящим изобретением содержит следующие этапы: расчет энергетического профиля задержки; выбор множества пиков из указанного энергетического профиля задержки, которые имеют относительно более высокую энергию; затем сравнение с пороговым значением и интерполяция для выбранных пиков для определения положения задержки при многолучевом распространении сигнала, а также энергии; наконец, определение задержки при многолучевом распространении сигнала в соответствии с результатом интерполяции.
Способ поиска при многолучевом распространении сигнала, в котором этап расчета энергетического профиля задержки дополнительно содержит: выполнение согласующей корреляции принятого сигнала с локальным скремблирующим кодом, для получения корреляционной функции; и расчет квадрата модуля указанной выше корреляционной функции для получения энергетического профиля задержки.
Способ поиска при многолучевом распространении сигнала, в котором этап сравнения с пороговым значением и интерполяции дополнительно содержит: расчет отношения разности энергии между энергией в положении задержки, которое следует раньше, чем выбранный пик, и энергии в положении задержки, которое следует позже, чем выбранный пик, к энергии выбранного пика; сравнение этого отношения с пороговым значением для определения части действительного числа, в которой расположено это отношение; затем определение положения задержки при многолучевом распространении сигнала и энергии при многолучевом распространении сигнала этого пикового значения в соответствии с величиной части действительного числа; наконец, повторение указанных выше этапов и завершение сравнения с пороговым значением, и интерполяцию для всех выбранных пиков.
Способ поиска при многолучевом распространении сигнала, в котором этап определения задержки при многолучевом распространении сигнала дополнительно содержит: выбор множества путей, которые имеют относительно более высокую энергию, из множества путей, полученных на этапе сравнения с пороговым значением и интерполяцию и, при этом соответствующая задержка представляет собой задержку при многолучевом распространении сигнала.
По сравнению со способами поиска при многолучевом распространении сигнала, в соответствии с предшествующим уровнем техники, способ поиска при многолучевом распространении сигнала, описанный в настоящем изобретении, может гарантировать существенное улучшение точности поиска при многолучевом распространении сигнала, практически без изменения сложности расчетов, при этом точность поиска может достигать 1/4 элементарной последовательности, 1/8 элементарной последовательности или даже 1/16 элементарной последовательности. Одновременно с этим в настоящем изобретении исключается необходимость использования модуля отслеживания раннего/позднего стробирования, то есть не требуется применять сложный алгоритм отслеживания, что также упрощает сложность реализации Rake-приемника и сложность управления назначением при многолучевом распространении сигнала. Способ в соответствии с настоящим изобретением можно применять для базовых станций и мобильных станций в различных системах связи множественного доступа с кодовым разделением каналов.
Краткое описание чертежей
На фиг.1 показана блок-схема типичной системы МДКР.
На фиг.2 показана блок-схема системы МДКР, в которой используется способ поиска при многолучевом распространении в соответствии с настоящим изобретением.
На фиг.3 показана блок-схема последовательности операций способа поиска при многолучевом распространении в соответствии с настоящим изобретением.
На фиг.4 показан график, иллюстрирующий идеальную форму пика при многолучевом распространении.
На фиг.5 показан график, представляющий отношение между отклонением реального положения пика к положению пика поиска, и отношение разности энергии между энергией точки выборки, которая следует раньше, чем пик поиска, и энергией точки выборки, которая следует позже, чем пик поиска, к энергии пика поиска.
На фиг.6 показан график, представляющий отношение между коэффициентом отклонения энергии реального значения пика и значением пика поиска, и отношение разности энергии между энергией точки выборки, которая следует раньше, чем пик поиска, и энергией точки выборки, которая следует позже пика поиска, к энергии пика поиска.
Осуществление изобретения
Прилагаемые чертежи и варианты выполнения совместно используются для дальнейшего описания, в соответствии с которым настоящее изобретение может быть легко реализовано специалистом в данной области техники.
На фиг.1 показана блок-схема существующей типичной системы МДКР. Как показано на фиг.1, передающее устройство включает в себя источник 101 сигнала, передающий фильтр 102, модуль радиочастотной (РЧ, RF) модуляции и антенну 104. Перед модуляцией на радиочастоте сигнал вначале пропускают через фильтр 102 модулирующего сигнала, который также называют фильтром придания формы импульсам, который преобразует цифровой сигнал с расширенным спектром в сигнал, который подходит для РЧ модуляции. Затем сигнал, подходящий для РЧ модуляции, модулируют с помощью модуля 103 РЧ модуляции, который затем передают в эфир с помощью антенны 104. В общем, характеристика передающего фильтра 102 является постоянной, например, для случая мобильной станции в системе WCDMA фильтр представляет собой косинусный фильтр с поднятым основанием, коэффициент спада которого равен 0,22. Приемное устройство включает в себя антенну 105, РЧ канал 106, модуль 107 поиска при многолучевом распространении сигнала, модуль 108 управления при многолучевом распространении сигнала и Rake-приемник 109. После приема сигнала антенной 105 этот сигнал передают через РЧ канал 106 и затем подают в модуль 107 поиска при многолучевом распространении сигнала, в котором выполняют процесс поиска, при этом сигнал, поступающий с выхода из другого маршрута РЧ канала 106, подают в Rake-приемник непосредственно. В модуле поиска при многолучевом распространении сигнала используют существующий способ поиска при многолучевом распространении сигнала, такой как способ отслеживания раннего/позднего стробирования, и задержку при многолучевом распространении сигнала выводят в модуль 108 управления при многолучевом распространении сигнала, и затем выходной сигнал модуля 108 управления при многолучевом распространении сигнала подают в Rake-приемник. Rake-приемник включает в себя множество относительных независимых приемных элементов 109. Каждый приемный элемент 109 включает в себя модуль 1091 регулирования задержки, модуль 1092 демодуляции раннего пути, модуль 1093 демодуляции своевременного пути и модуль 1094 демодуляции позднего пути. Сигналы из модуля 108 управления при многолучевом распространении сигнала и РЧ канала 106 принимают с помощью модуля 1091 регулирования задержки, который затем регулирует задержку сигнала и передает выходной сигнал в модуль 1092 демодуляции раннего пути, модуль 1093 демодуляции своевременного пути и модуль 1094 демодуляции позднего пути. Результаты демодуляции этих трех раннего, своевременного и позднего путей необходимо передавать обратно в модуль 1091 регулирования задержки, в результате чего формируется контур обратной связи. Одновременно с этим модуль 1091 регулирования задержки также должен получать информацию из модуля 108 управления при многолучевом распространении сигнала, и он передает информацию о регулировке задержки назад в модуль 108 управления при многолучевом распространении сигнала, который также формирует контур обратной связи. Хотя использование контура обратной связи усложняет способ поиска при многолучевом распространении сигнала.
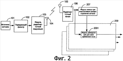
На фиг.2 показана блок-схема системы МДКР, в которой используется способ поиска при многолучевом распространении сигнала, в соответствии с настоящим изобретением. Так же, как и на фиг.1, передающее устройство включает в себя источник 101 сигнала, фильтр 102 передачи, модуль 103 РЧ модуляции и антенну 104. Приемное устройство включает в себя антенну 105, РЧ канал 106, модуль 207 поиска при многолучевом распространении сигнала и Rake-приемник. После того как антенна 105 примет сигнал, этот сигнал поступает в РЧ канал 106 и затем его передают в модуль 207 поиска при многолучевом распространении сигнала, модуль 207 поиска при многолучевом распространении сигнала применяет способ поиска в соответствии с настоящим изобретением для выполнения поиска при многолучевом распространении сигнала. И найденную задержку при многолучевом распространении сигнала выводят в Rake-приемник. Сигнал, поступающий с выхода другого маршрута для РЧ канала 106, подают в Rake-приемник непосредственно. Rake-приемник включает в себя множество относительно независимых приемных элементов 209. В котором каждый приемный элемент 209 включает в себя только модуль 2091 демодуляции своевременного пути. По сравнению с фиг.1, структура Rake-приемного элемента существенно упрощена, модуль регулирования задержки, модуль демодуляции раннего пути, а также модуль демодуляции позднего пути были исключены, и используется совершенно такой же модуль 2091 демодуляции своевременного пути, как и оригинальный модуль 1091 демодуляции своевременного пути. При использовании настоящего изобретения также не требуется применять сложный модуль управления при многолучевом распространении сигнала в приемной системе. По сравнению с фиг.1 в приемной системе используется только один контур обратной связи приемной системы, что существенно упрощают систему.
Основная идея способа поиска при многолучевом распространении сигнала в соответствии с настоящим изобретением состоит в: расчете энергетического профиля задержки ЭПЗ, без изменения точности корреляционного интеграла поиска при многолучевом распространении сигнала, затем в выборе данного пика ЭПЗ с относительно большой энергией для выполнения интерполяции на основе порогового решения, в частности, то есть рассчитывая отношение разности энергии между энергией в точке выборки, следующей раньше, чем выбранный пик, и энергией в точке выборки, следующей позже, чем выбранный пик, с энергией пика, которое затем сравнивают с заданным пороговым значением для расчета более точного положения задержки при многолучевом распространении сигнала и энергии. Пик здесь и ниже определяется положением, энергия которого выше, чем энергия в положениях с обеих его сторон. Блок-схема последовательности выполнения операций в соответствии с настоящим изобретением показана на фиг.3.
Способ в соответствии с настоящим изобретением представляет собой способ интерполяции, основанный на пороговом решении, так что необходимо устанавливать пороговое значение. Установка порогового значения может быть выполнена во время периода конфигурирования системы, как показано в блоке 301 на фиг.3. Количество и величина пороговых значений, соответствующего отклонения положения задержки и отклонения его энергии могут быть определены в соответствии с требованиями точности поиска в системе. В соответствии с требованиями точности поиска определяют 2N пороговых значений Th(n), которые расположены по размеру, где n=±1, ±2,…±N, N представляет собой натуральное число, для простоты описания ноль исключен. Чем меньше последовательное число, тем меньше соответствующее пороговое значение, то есть порядок ранжирования пороговых значений представляет собой Th(-N), Th(-n+1),…Th(-1), Th(+1),…, Th(N). Например, если в системе требуется интерполировать точность поиска от 1/2 элементарной последовательности до 1/8 элементарной последовательности, требуется использовать, по меньшей мере, четыре пороговых значения, так что в этом случае значение N равно 2. Если в системе требуется интерполировать точность поиска от 1/2 элементарной последовательности до 1/4 элементарной последовательности, тогда необходимо использовать два пороговых значения, и, таким образом, здесь N равно 1. 2N пороговых значений разделяют действительное число на 2N+1 частей действительного числа, порядковый номер которых определен следующим образом: -N, -N+1,…, 0, 1…, N. Если рассчитанное значение отношения R, полученное при интерполяции порогового значения текущего пика, располагается в части действительного числа между Th(-1) и Th(1), то есть оно находится в части действительного числа NO.0, тогда текущее положение пика можно считать действительным положением задержки при многолучевом распространении сигнала, и энергия текущего пика представляет собой действительную энергию на многолучевом распространении сигнала. Для других частей действительного числа, если номер части равен n, тогда отклонение положения, соответствующее действительному положению при многолучевом распространении сигнала, будет представлять собой DeltaOffset(n), и коэффициент отклонения энергии, соответствующий действительному пику, будет представлять собой AlphaEnergy(n), где n=±1, ±2,…±N, n представляет собой номер части действительного числа. В общем, модуль положения задержки представляет собой 1/2 элементарной последовательности. Например, во время выполнения интерполяции порогового значения текущего пика, расчетное значение отношения R располагается в части между порогами Th(1) и Th(2), то есть в части 1 действительного числа, тогда действительное положение пика получают путем суммирования положения текущего пика и DeltaOffset(1), действительную энергию пика получают путем умножения текущей энергии пика на AlphaEnergy(1). Затем отклонение положения DeltaOffset(n) и коэффициент отклонения энергии AlphaEnergy(n) можно определить в соответствии с идеальной формой пика, в которой коэффициент отклонения энергии AlphaEnergy(n) определяют как отношение действительной энергии пика к энергии пика поиска. Например, в указанном выше варианте выполнения, в котором используется 4 пороговых значения, соответствующие отклонения положения представляют собой DeltaOffset(-2)=-0,25 элементарной последовательности, DeltaOffset(-1)=-0,125 элементарной последовательности, DeltaOffset(1)=+0,125 элементарной последовательности, Delta0ffset(2)=+0,25 элементарной последовательности. В то время как в варианте выполнения, в котором используется 2 пороговых значения, соответствующие отклонения положения представляют собой DeltaOffset(-1)=-0,25 элементарной последовательности, DeltaOffset(1)=+0,25 элементарной последовательности.
Конкретный способ поиска при многолучевом распространении сигнала на основе интерполяции порогового значения выполняют во время периода работы системы. Вначале рассчитывают энергетический профиль ЭПЗ задержки (как показано в блоке 302), что представляет собой основной этап поиска при многолучевом распространении сигнала. Существует множество способов расчета энергетического профиля задержки в соответствии с предшествующим уровнем техники, но применяемая длина интегрирования может несколько отличаться, что оказывает незначительный эффект на способ в соответствии с настоящим изобретением. В настоящем изобретении функцию корреляции получают путем согласующего коррелирования принимаемого сигнала с локальным скремблированным кодом, и затем можно получить энергию для разных значений задержки путем расчета квадрата модуля функции корреляции, при этом квадрат модуля представляет собой сумму квадрата реальной части и квадрата мнимой части.
Затем выполняют интерполяцию порогового значения (как показано в блоке 303). Вначале выбирают множество пиков со сравнительно высокой энергией, в соответствии со значением энергетического профиля ЭПЗ задержки. Обычно в соответствии с пороговым значением энергии, которое определено или рассчитано самой системой, максимальное количество выбранных значений энергии при многолучевом распространении сигнала, которые превышают пороговое значение энергии, меньше или равно Mpath, при этом значение Mpath может быть определено или рассчитано в каждой системе, обычно значение Mpath находится в диапазоне от 4 до 16. Затем рассчитывают отношение разности энергии между энергией в положении задержки, предшествующем пику поиска, и энергией в положении задержки после выбранного пика к энергии выбранного пика. Если энергия выбранного пика равна PDP(k), где k представляет собой положение задержки, тогда отношение R получают с использованием следующей формулы: R=[PDP(k-1)-PDP(k+1)]/PDP(k). Путем сравнения отношения R с определенным пороговым значением для определения части действительного числа, в которой находится отношение R, затем можно определить действительное положение задержки при многолучевом распространении сигнала и соответствующее значение энергии при многолучевом распространении сигнала в соответствии с величиной этой части действительного числа. Если часть действительного числа, в которой расположено значение отношения R, представляет собой p, тогда положение действительной задержки при многолучевом распространении сигнала представляет собой сумму положения задержки выбранного пика и отклонения положения DeltaOffset(p) части действительного числа, в которой расположено отношение R, при этом его энергию при многолучевом распространении сигнала получают путем умножения PDP(k) на AlphaEnergy(p). Для всех выбранных пиков выполняют указанное сравнение с пороговым значением и операцию интерполяции в соответствии с вышеописанными этапами для получения соответствующего действительного положения задержки при многолучевом распространении сигнала и значения энергии при многолучевом распространении сигнала.
Наконец, определяют задержку при многолучевом распространении сигнала (как показано в блоке 304). После указанной выше операции интерполяции порогового значения получают несколько положений действительной задержки при многолучевом распространении сигнала и значений энергии при многолучевом распространении сигнала. Значения энергии в положениях действительной задержки при многолучевом распространении сигнала сравнивают, и М путей распространения сигнала, энергия которых сравнительно выше, выбирают из указанных выше множества путей. Конкретное значение М может быть принято каждой системой независимо, обычно М может представлять собой любое значение от 1 до 8. И положение tm задержки, которое соответствует энергии, представляет собой задержку при многолучевом распространении сигнала, где m=1, 2,…, М.
При выполнении указанных выше этапов весь процесс поиска при многолучевом распространении сигнала заканчивается; таким образом, получают значение задержки при многолучевом распространении сигнала.
На фиг.4 показан график идеальной формы значения пика при многолучевом распространении сигнала. Такой идеальный пик получают при использовании 256 элементарных последовательностей в качестве интегральной длины корреляции и 1/8 элементарной последовательности в качестве точности выборки, при этом действительное положение пика равно 15 и действительная энергия при многолучевом распространении сигнала составляет приблизительно 4600. Если принять другую длину интеграла, форма полученного пика будет несколько отличаться. В данном варианте выполнения когерентная интегральная длина с 256 элементарными последовательностями будет описана как пример.
На фиг.5 показан график, представляющий соотношение между отклонением действительного положения пика от выбранного положения пика и отношением разности энергии между энергией в точке выборки, следующей ранее, чем выбранный пик, и энергией в точке выборки, которая следует позже, чем выбранный пик, к энергии выбранного пика. Используя интегральную длину, равную 256 элементарных последовательностей, в качестве примера, и предполагая, что точность поиска при многолучевом распространении сигнала составляет 1/2 элементарной последовательности, тогда одну точку для каждых 4 соседних точек на кривой на фиг.4 необходимо выбирать в качестве положения точки выборки. В этом случае действительное положение 15 пика может быть не выбрано, в результате чего выбранный пик может отклоняться от действительного положения пика. Отклонение положения и выбранный пик имеют следующие характеристики: чем больше абсолютное значение отклонения положения, тем больше абсолютное значение отношения R разности энергии между ранней точкой выборки и поздней точкой выборки вокруг выбранного пика к энергии выбранного пика, а знак отношения, то есть положительное или отрицательное, соответствует направлению отклонения. Конкретное соотношение показано в виде кривой, представленной на фиг.5. Например, если отклонение положения равно 0, тогда отношение R равно 0; если отклонение положения равно 1/8 элементарной последовательности, тогда отношение R равно 0,43; если отклонение положения равно -1/8 элементарной последовательности, тогда отношение R равняется -0,43; если отклонение положения равно 1/4 элементарной последовательности, тогда отношение R равно 0,94.
Если необходимо улучшить точность поиска от 1/2 элементарной последовательности до 1/8 элементарной последовательности в соответствии с требованиями системы, тогда можно определить четыре пороговых значения на основе кривой по фиг.5, которые равны -0,68, -0,21, 0,21 и 0,68 соответственно, и соответствующие для них четыре отклонения положения задержки DeltaOffset равны -0,25, -0,125, 0,125 и 0,25.
На фиг.6 показана график, представляющий соотношение между коэффициентом отклонения энергии действительного пика к энергии выбранного пика и отношением разности энергии между энергией точки выборки, которая следует раньше, чем выбранный пик, и энергией точки выборки, которая следует позже, чем выбранный пик, к энергии выбранного пика поиска. Принимая интегральную длину, равную 256 элементарных последовательностей, в качестве примера и предполагая, что точность поиска при многолучевом распространении сигнала составляет 1/2 элементарной последовательности, и одну точку для каждых 4 соседних точек на кривой по фиг.4 следует выбрать в качестве положения точки выборки. В этом случае можно выбрать положение действительного положение пика, равное 15, таким образом, энергия выбранного пика может быть меньше, чем энергия действительного пика. И соотношение между величиной отклонения энергии и выбранным пиком имеет следующие характеристики: чем больше абсолютное значение отклонения энергии, тем больше абсолютное значение отношения R разности энергии между энергией ранней точки выборки и энергией поздней точки выборки вокруг выбранного пика к энергии выбранного пика. Действительное отношение показано, как кривая, представленная на фиг.6. Например, если отклонение положения равно 0, тогда отклонение энергии равно 0 и отношение R равно 0; и если отклонение положения равно 1/8 элементарной последовательности, энергия действительного пика в 1,06 раза больше энергии выбранного пика и отношение R равно 0,43; и если отклонение положения равно 1/4 элементарной последовательности, энергия действительного пика в 1,28 раза больше, чем энергия выбранного пика, и отношение R равно 0,94.
Предположим, что требуется улучшить точность поиска в системе от 1/2 элементарной последовательности до 1/8 элементарной последовательности, тогда можно определить четыре пороговых значения в соответствии с кривой на фиг.5, которые представляют собой -0,68, -0,21, 0,21 и 0,68 соответственно, и соответствующие отклонения четырех положений времени задержки DeltaOffset равны -0,25, -0,125, 0,125 и 0,25, и отношение действительной энергии к энергии поиска, то есть AlphaEnergy равно 1,28, 1,06, 1,06 и 1,28.
Из приведенного выше анализа, в соответствии с данным вариантом выполнения, достаточно оставить только два значения данных коэффициента отклонения энергии AlphaEnergy, и среди четырех значений данных отклонения положения задержки DeltaOffset и порогового значения Th, если не учитывать знак, остаются только два разных значения данных, что упрощает конкретную реализацию.
Таким образом, по сравнению с системой приема МДКР в соответствии с предшествующим уровнем техники система приема МДКР, в которой используется способ поиска при многолучевом распространении сигнала в соответствии с настоящим изобретением, позволяет существенно уменьшить сложность приемной системы без ухудшения рабочих характеристик системы, что легко реализовать, и имеет очевидный эффект, и ее можно применять для различных систем связи множественного доступа с кодовым разделением каналов.
Следует понимать, что описанные выше варианты выполнения используются для пояснения, но не для ограничения настоящего изобретения. Хотя настоящее изобретение было подробно описано со ссылкой на варианты его выполнения, для специалистов в данной области техники будет понятно, что различные модификации и изменения можно выполнить в настоящем изобретении, без отхода от сущности или объема изобретения. Таким образом, предполагается, что настоящее изобретение охватывает модификации и варианты этого изобретения при условии, что они находятся в пределах объема приложенной формулы изобретения и ее эквивалентов.
Формула изобретения
1. Способ поиска при многолучевом распространении сигнала в системе связи множественного доступа с кодовым разделением каналов, содержащий этапы, на которых:
рассчитывают энергетический профиль задержки принимаемого сигнала;
выбирают множество пиков, которые имеют более высокую энергию из указанного энергетического профиля задержки, при этом пик определяется положением, энергия которого выше, чем энергия в положениях с обеих его сторон;
выполняют сравнение с пороговым значением и интерполяцию для указанных выбранных пиков для определения положения задержки при многолучевом распространении;
определяют задержки при многолучевом распространении в соответствии с результатами указанной интерполяции.
2. Способ по п.1, в котором на указанном этапе сравнения с пороговым значением и интерполяции дополнительно выполняют сравнение с пороговым значением и интерполяцию для определения энергии при многолучевом распространении.
3. Способ по п.2, в котором на указанном этапе расчета энергетического профиля задержки дополнительно выполняют согласующую корреляцию принятого сигнала с локальным скремблирующим кодом для получения функции корреляции; и
рассчитывают квадрат модуля указанной функции корреляции для получения энергетического профиля задержки.
4. Способ по п.2, в котором на указанном этапе выбора множества пиков дополнительно выбирают не более чем Mpath множество путей в соответствии с пороговым значением энергии, предписанным или рассчитанным системой, в которых энергия выбранных путей превышает пороговое значение энергии, при этом максимальное количество выбранных Mpath путей предписано или рассчитано системой.
5. Способ по п.4, в котором указанное значение Mpath находится в пределах диапазона от 4 до 16.
6. Способ по п.2, в котором на указанном этапе сравнения с пороговым значением и интерполяции дополнительно определяют 2N пороговых значений Th(n) в соответствии с требованием точности поиска в системе, которые расположены по величине, при этом N – натуральное число, и n выражено как: n=±1, ±2,…, ±N, и при этом, чем меньше порядковое число, тем меньше величина порогового значения;
делят действительное число на 2N+1 частей действительного числа путем использования 2N пороговых значений, а порядковый номер для этих частей составляет: -N, -N+1,…, 0, 1 …, N;
учитывают местоположение пика в части 0 действительного числа в качестве действительного положения задержки при многолучевом распространении сигнала, для другой части n действительного числа отклонение положения, соответствующего действительному пути, представляет собой DeltaOffset(n), а коэффициент отклонения энергии, соответствующий действительному пику, представляет собой AlphaEnergy(n);
определяют величину отклонения положения и коэффициента отклонения энергии в соответствии с идеальной формой пика.
7. Способ по п.6, в котором на этапе сравнения с пороговым значением и интерполяции для выбранных пиков дополнительно:
рассчитывают отношение разности энергии между энергией в положении задержки до выбранного пика и энергией в положении задержки после выбранного пика к энергии выбранного пика;
сравнивают указанное отношения с указанным пороговым значением, для определения части действительного числа, в которой находится указанное отношение;
определяют положение действительной задержки при многолучевом распространении сигнала и энергию при многолучевом распространении сигнала, соответствующие выбранному пику, в соответствии с величиной части действительного числа;
повторяют приведенные выше операции для завершения сравнения с пороговым значением и интерполяции для всех выбранных пиков.
8. Способ по п.7, в котором на этапе определения положения действительной задержки при многолучевом распространении сигнала и его энергии при многолучевом распространении сигнала, соответствующих выбранному пику, дополнительно:
суммируют отклонения положения частей действительного числа, где отношение пика определяет местоположение пика, для получения действительного положения задержки при многолучевом распространении сигнала;
умножают энергию пика и коэффициент отклонения энергии части действительного числа, где отношение пика определяет местоположение для получения действительной энергии при многолучевом распространении сигнала.
9. Способ по п.2, в котором на этапе определения задержки при многолучевом распространении сигнала в соответствии с результатами указанной интерполяции дополнительно:
сравнивают энергию действительного множества путей, полученных на этапе сравнения с пороговым значением и интерполяции;
выбирают М множество путей из указанного действительного множества путей, энергия которых выше, где значение М определяется системой;
получают задержки для множества путей, которые представляют собой задержки, соответствующие М множеству путей.
10. Способ по п.9, в котором указанное значение М может представлять собой любое целое число от 1 до 8.
РИСУНКИ
|
|