|
|
(21), (22) Заявка: 2007107416/09, 27.02.2007
(24) Дата начала отсчета срока действия патента:
27.02.2007
(46) Опубликовано: 27.08.2008
(56) Список документов, цитированных в отчете о поиске:
RU 2215352 С2, 27.10.2003. SU 1065901 А, 07.01.1984. SU 1621090 А, 15.01.1991. ЕР 0238475 А1, 23.09.1987. WO 94/028566 А1, 08.12.1994. ГОДУНОВ A.M. и др. Вспомогательное оборудование трансформаторов. – М.: Энергия, 1978, с.48-49.
Адрес для переписки:
620017, г.Екатеринбург, ул. Фронтовых Бригад, 22, ОАО “Энергомашкорпорация”
|
(72) Автор(ы):
Шлентов Владимир Степанович (RU)
(73) Патентообладатель(и):
Открытое Акционерное Общество “Энергомашкорпорация” (RU)
|
(54) УСТРОЙСТВО ДЛЯ ЗАЩИТЫ ТРАНСФОРМАТОРА ОТ ВЗРЫВА И ПОЖАРА
(57) Реферат:
Изобретение относится к электротехнике и может быть использовано в защите мощных силовых электрических установок с охлаждением и электроизоляцией жидким диэлектриком для предупреждения взрыва или пожара на трансформаторах за счет исключения недопустимого давления среды внутри бака. Технический результат состоит в обеспечении компактности и компенсации давления за счет стравливания избыточного газа через патрубок, сообщающийся с атмосферой. Устройство для защиты электрического трансформатора от разрыва бака и пожара содержит бак с жидким диэлектриком. Расширитель соединен с баком трубопроводом. Дополнительная емкость соединена с баком патрубком малого гидравлического сопротивления и наполнена инертным газом. В дополнительной емкости установлены разделитель жидкой и газовой сред и выходной патрубок с возможностью сообщения с атмосферой. В выходном патрубке установлен огнепреградитель, разрывной диск и обратный клапан. Патрубок малого гидравлического сопротивления охвачен кольцевой полостью. Кольцевая полость выполнена с диаметральным уклоном и максимальной высотой, равной диаметру трубопровода. Трубопровод, обеспечивающий соединение расширителя и бака, подсоединен к кольцевой полости. 2 з.п. ф-лы, 4 ил.
Изобретение относится к устройствам защиты мощных силовых электрических установок с охлаждением и электроизоляцией жидким диэлектриком и может быть использовано для предупреждения взрыва или пожара на трансформаторах за счет исключения недопустимого давления среды внутри бака.
Известно устройство для предупреждения взрыва и пожара на электрических трансформаторах, содержащее бак с охлаждающей жидкостью, снабженный дополнительной емкостью, системой трубопроводов: для быстрого слива охлаждающей жидкости в дополнительную емкость, для подвода инертного газа (азота) в бак и дополнительную емкость с соответствующими клапанами и задвижками, датчиками температуры, давления, а также датчиком отключения питания и электронным блоком управления (патент №2215352, Н02Н 5/06, опубл. 27.05.1999 г.). Работа устройства основана на обнаружении пробоя изоляции датчиком давления, частичного слива охлаждающей жидкости из бака, охлаждением области с высокой температурой инертным газом. Все процессы контролируются и управляются с помощью электронного блока управления.
Недостатком этого устройства является сложность конструкции. Кроме того, необходимость слива значительного объема охлаждающей жидкости из бака требует выполнения дополнительных работ по восстановлению охлаждающей жидкости при последующей подготовке трансформатора к пуску.
Ближайшим аналогом является устройство, содержащее бак с жидким диэлектриком, расширитель с пленочной защитой в качестве дополнительной емкости для снижения давления, соединенный с ним патрубком малого гидравлического сопротивления. В этом устройстве дополнительная емкость, соединенная с баком посредством патрубка малого гидравлического сопротивления, обеспечивает компенсацию давления при его отклонениях, возникающих в баке в случае аварийных ситуаций, и устраняет, тем самым, возможный взрыв и пожар без каких-либо отводящих сетей (Трансформаторы, серия «Энергетика за рубежом», «Энергоатомиздат», Москва, с.48-50).
Недостатком устройства является то, что расширитель с пленочной защитой в качестве дополнительной емкости должен иметь значительный объем для того, чтобы вместить весь газ, возникающий при горении электрической дуги, что ухудшает массогабаритные характеристики и уменьшает безопасность эксплуатации устройства.
Технической задачей, решаемой изобретением, является улучшение массогабаритных характеристик устройства и повышение его безопасности за счет обеспечения рабочего давления в пределах заданного значения независимо от мощности КЗ и времени его действия.
Технический результат заключается в конструктивном решении основных узлов устройства, обеспечивающем его компактность и компенсацию давления за счет стравливания избыточного газа через патрубок, сообщающийся с атмосферой.
Для решения поставленной задачи в устройстве для защиты электрического трансформатора от разрыва бака и пожара, содержащем бак с жидким диэлектриком, расширитель, соединенный с баком трубопроводом, и дополнительную емкость, соединенную с баком патрубком малого гидравлического сопротивления, предложено дополнительную емкость наполнить инертным газом и установить в ней разделитель жидкой и газовой сред и выходной патрубок с возможностью сообщения с атмосферой. В выходном патрубке установить огнепреградитель, разрывной диск и обратный клапан. Кроме того, патрубок малого гидравлического сопротивления охватить кольцевой полостью. Кольцевую полость выполнить с диаметральным уклоном и максимальной высотой, равной диаметру трубопровода. При этом трубопровод, обеспечивающий соединение расширителя и бака, подсоединить к кольцевой полости.
Благодаря конструкции дополнительной емкости и соединению расширителя, дополнительной емкости и бака посредством трубопровода и патрубка малого гидравлического сопротивления устройство обладает компактностью и эффективным устранением избыточного давления, возникающего в баке из-за внутренних повреждений под воздействием электрической дуги при коротком замыкании.
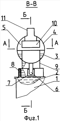
Предлагаемое устройство для защиты трансформатора от разрыва бака и пожара представлено на фиг.1-4, где на фиг.1 – общий вид устройства и сечение по В-В; на фиг.2 – вид сбоку и сечение по Б-Б; на фиг.3 – вид сверху, сечение по А-А; на фиг.4 – другой вариант исполнения устройства.
Устройство для защиты трансформатора от разрыва бака пожара (фиг.1) содержит бак 1 с жидким диэлектриком 2, расширитель 3, дополнительную емкость 4, заполненную инертным газом 5. Расширитель 3 соединен с баком 1 трубопроводом 6 с газовым реле 7 через кольцевую полость 8, а дополнительная емкость 4 соединена с баком 1 посредством патрубка малого гидравлического сопротивления 9. Кроме того, дополнительная емкость 4 снабжена разделителем жидкой и газовой сред 10 и выходным патрубком 11, в котором установлены огнепреградитель 12, разрывной диск 13 и обратный клапан 14.
Устройство для защиты трансформатора от разрыва бака и пожара работает следующим образом.
В случае пробоя изоляции и возникновения электрической дуги в жидком диэлектрике генерируется раскаленный горючий газ, что сопровождается быстрым ростом давления в баке 1. Горючий газ в смеси с жидким диэлектриком под давлением поступает через патрубок малого гидравлического сопротивления 9 в дополнительную емкость 4 с инертным газом 5, где взаимодействует с разделителем 10. При этом меняется направление движения смеси горючего газа и жидкого диэлектрика и происходит разделение на жидкую и газообразную фракцию. При дальнейшем росте давления в случае превышения заданного значения разрушается разрывной диск 13 и газовая фракция через выходной патрубок 11 и огнепреградитель 12 выходит в атмосферу. Огнепреградитель 12 препятствует проникновению пламени в дополнительную емкость 4. Обратный клапан 14 препятствует поступлению воздуха из атмосферы, контакту кислорода воздуха с газом и не допускает возгорания в дополнительной емкости 4.
При нормальном режиме работы устройства разрывной диск 13 препятствует выходу инертного газа 5 в атмосферу.
Возможность ограничения давления путем обеспечения выхода горючего газа в атмосферу позволяет снизить габариты дополнительной емкости и обеспечить эффективную защиту от разрушения бака трансформатора и возникновения в нем пожара.
Соединение бака 1 и трубопровода 6 через кольцевую полость 8 позволяет увеличить чувствительность газового реле 7 за счет эффективного сбора газа кольцевой полостью, который обеспечивается значительным превышением ее входного сечения над сечением трубопровода.
Формула изобретения
1. Устройство для защиты электрического трансформатора от разрыва бака и пожара, содержащее бак с жидким диэлектриком, расширитель, соединенный с баком трубопроводом, и дополнительную емкость, соединенную с баком патрубком малого гидравлического сопротивления, отличающееся тем, что дополнительная емкость заполнена инертным газом и снабжена разделителем жидкой и газовой сред, выходным патрубком с возможностью сообщения с атмосферой и с установленными в нем огнепреградителем, разрывным диском и обратным клапаном.
2. Устройство по п.1, отличающееся тем, что патрубок малого гидравлического сопротивления охвачен кольцевой полостью с диаметральным уклоном и максимальной высотой, равной диаметру трубопровода.
3. Устройство по п.1, отличающееся тем, что трубопровод, обеспечивающий соединение расширителя и бака, подсоединен к кольцевой полости.
РИСУНКИ
|
|