|
|
(21), (22) Заявка: 2006132166/09, 22.12.2004
(24) Дата начала отсчета срока действия патента:
22.12.2004
(30) Конвенционный приоритет:
07.02.2004 DE 102004006071.1
(46) Опубликовано: 27.08.2008
(56) Список документов, цитированных в отчете о поиске:
DE 19720557, 19.11.1998. SU 1649581 А1, 05.05.1991. ЕР 0136715 А, 10.04.1985. ЕР 1035523 А, 13.09.2000.
(85) Дата перевода заявки PCT на национальную фазу:
07.09.2006
(86) Заявка PCT:
DE 2004/002804 (22.12.2004)
(87) Публикация PCT:
WO 2005/076234 (18.08.2005)
Адрес для переписки:
103735, Москва, ул. Ильинка, 5/2, ООО “Союзпатент”, пат.пов. И.М.Захаровой
|
(72) Автор(ы):
ШТЁКЛЕ Дитер (DE)
(73) Патентообладатель(и):
ВАНЦЛЬ МЕТАЛЛЬВАРЕНФАБРИК ГМБХ (DE)
|
(54) ЗАЛОГОВЫЙ ЗАМОК
(57) Реферат:
Изобретение относится к залоговому замку (1) для штабелируемой с такими же тележками транспортной тележки, в частности тележки для покупок, содержащему блокировочный механизм (2) для фиксации соединительной части (3) другой транспортной тележки и монетоприемник (9) для монеты (50) или заменяющего монету жетона, причем при вводе монеты (50) происходят отделение соединительной части (3) другой транспортной тележки и удержание монеты (50), а при вводе соединительной части (3) – отделение монеты (50) и фиксация соединительной части (3), причем далее предусмотрен взаимодействующий с блокировочным механизмом (2) и монетоприемником (9), подпружиненный, снабженный двумя заплечиками (27) движок (10), выполненный с возможностью перемещения с помощью монеты (50) против действия пружины, а при вводе соединительной части (3) при поддержке пружины – повторного перемещения в противоположном направлении. При этом монетодержатели (31, 32) расположены так, что не оказывают одинакового действия, оказываемое на первый монетодержатель (31) усилие пружины выше, чем действующее на второй монетодержатель (32) усилие пружины, первый монетодержатель (31) опирается на второй монетодержатель (32), при этом при вводе монеты (50) либо только первый монетодержатель (31) совершает движение, либо второй монетодержатель (32) также совершает движение, которое меньше движения первого монетодержателя (31). 4 з.п. ф-лы, 5 ил.
Изобретение относится к залоговому замку для штабелируемой с аналогичными тележками транспортной тележки, в частности тележки для покупок, содержащему блокировочный механизм для фиксации соединительной части другой транспортной тележки и монетоприемник для монеты или заменяющего монету жетона, причем при вводе монеты происходят отделение соединительной части другой транспортной тележки и удержание монеты, а при вводе соединительной части – отделение монеты и фиксация соединительной части, причем далее предусмотрен взаимодействующий с блокировочным механизмом и монетоприемником, подпружиненный, снабженный двумя заплечиками движок, выполненный с возможностью перемещения с помощью монеты против действия пружины, а при вводе соединительной части при поддержке пружины – повторного перемещения в противоположном направлении, причем монетоприемник состоит из первого и второго подпружиненных, снабженных соответственно заплечиком монетодержателей, и оба монетодержателя расположены друг против друга с возможностью перемещения поперек направления перемещения движка и своими заплечиками предназначены для взаимодействия с заплечиками движка.
Залоговый замок такого рода более подробно описан в DE 10122195.9 А1. От залоговых замков, в целом, требуются их надежное функционирование и достаточная защита от манипуляций. Известно, что некоторые лица пытаются обмануть функцию залоговых замков, используя монеты, диаметр которых меньше предназначенной для этой цели монеты. В частности, вместо монеты в 1 евро можно использовать для этого 20-центовую монету. Такая возможность не исключена также у залогового замка из DE 10122195.9 А1.
Задачей изобретения является усовершенствование залогового замка описанного здесь рода так, чтобы еще более затруднить обман его функции с помощью монет меньшего диаметра.
В качестве решения указанной задачи предложено, что монетодержатели расположены так, что не оказывают одинакового действия, оказываемое на первый монетодержатель усилие пружины выше, чем действующее на второй монетодержатель усилие пружины, первый монетодержатель опирается на второй монетодержатель, и при вводе монеты либо только первый монетодержатель совершает движение, либо второй монетодержатель также совершает движение, которое меньше движения первого монетодержателя.
Первое преимущество изобретения состоит в том, что за счет разных принципов действия первого и второго монетодержателей дополнительно затруднены манипуляции при попытке отделить соединительную часть вне зависимости от того, какими средствами эти попытки предприняты.
Второе преимущество следует усматривать в том, что при попытке отжать в сторону первый монетодержатель с помощью монеты меньшего диаметра второй монетодержатель следует за первым монетодержателем, блокируясь при этом с движком, так что его нельзя сместить в конечное положение, в котором соединительная часть другой транспортной тележки отделяется от залогового замка.
Изобретение более подробно поясняется с помощью примера его осуществления. На чертеже изображают:
– фиг.1: движок залогового замка;
– фиг.2: первый и второй монетодержатели;
– фиг.3: залоговый замок в исходном положении с фиксированной соединительной частью;
– фиг.4: залоговый замок с вставленной монетой заданного диаметра;
– фиг.5: попытку манипулирования с монетой меньшего диаметра.
Описанный ниже залоговый замок 1 предназначен для использования в штабелируемых транспортных тележках, в частности в тележках для покупок. Его использование и ожидаемый от него полезный эффект известны и не требуют здесь более подробного описания. Залоговый замок 1, ориентирующийся по своей основной конструкции на залоговый замок, описанный в DE 10122195.9 А1, содержит монетоприемник 9, конструкция которого более подробно поясняется ниже, тогда как также необходимый блокировочный механизм 2 предназначен для фиксации соединительной части 3 другой транспортной тележки и имеет, в принципе, известные технические признаки, раскрытые, например, в ЕР 0427819 В1. Более подробного описания блокировочного механизма 2 поэтому здесь не требуется, причем, однако, имеется подпружиненный, перемещаемый вдоль движок 10, взаимодействующий как с монетоприемником 9, так и с блокировочным механизмом 2 с возможностью отделения один раз соединительной части 3 и удержания монеты 50, а другой раз – фиксации соединительной части 3 и отделения монеты 50.
Изображенный на фиг.1 движок 10 выполнен в виде продолговатой детали с параллельными стенками 11. Верхняя, представленная на чертеже, часть 12 взаимодействует с блокировочным механизмом 2 залогового замка 1, тогда как нижняя на чертеже часть 13 движка 10 входит в монетоприемник 9. На нижней стороне 14 движка 10 находятся средства 15 (не показаны), например углубления, упоры, контуры и т.п., которые обеспечивают взаимодействие движка 10 с блокировочным механизмом 2 (не показан). На конце нижней части 13 поперек продольного направления движка 10 в разные стороны проходят два плеча 16. На концах плеч 16 расположено по одной направленной вверх бобышке 22. От широкого участка 17 движка 10 вперед проходит узкий участок 19 (на чертеже вниз), от которого отходят оба плеча 16. Переход от широкого участка 17 к узкому участку 19 образован косым упором 26, направленным к изображенному на фиг.2 второму монетодержателю 32. На переднем конце узкого участка 19 расположены два направленных в разные стороны крюкообразных заплечика 27. Переднее ограничение 21 узкого участка 19 вогнуто скруглено. Наружная поверхность 18 широкого участка 17 лежит в плоскости чертежа. Чуть глубже расположены наружные поверхности 23 бобышек 22. Также глубже проходят наружная поверхность 20 узкого участка 19 и наружная поверхность 24 заплечиков 27, тогда как наружная поверхность 25 обоих плеч 16 расположена еще глубже. Наружная поверхность 20 узкого участка 19 имеет горизонтальный участок 34 для опирания монеты 50. От заднего ограничения 28 движка 10 вперед проходит цилиндрообразное углубление 29, предназначенное для размещения пружины 30 сжатия.
На фиг.2 при виде сверху изображены первый 31 и второй 32 монетодержатели. Оба монетодержателя 31, 32 заканчиваются вверху горизонтальной плоскостью 33, лежащей в плоскости чертежа. На каждом монетодержателе 31, 32 выполнен крюкообразный заплечик 36, 37, причем каждый заплечик 36, 37 предназначен для зацепления за соответственно соседний крюкообразный заплечик 27 движка 10 (см. ниже). Заплечики 36, 37 расположены поэтому друг против друга. Внизу оба монетодержателя 31, 32 заканчиваются проходящим поперек направляющим ребром 35. Направляющие ребра 35 расположены друг против друга. Сечение направляющих ребер 35 выбрано с возможностью перемещения монетодержателей 31, 32 в находящихся в корпусе 4 залогового замка 1 направляющих 5 поперек направления перемещения движка 10 (фиг.3). На каждой внешней стороне 38 каждого монетодержателя 31, 32 расположена камера 39 для размещения пружины 44, 45 сжатия. Пружины 44, 45 сжатия помещены в камеры 39 поперек направления перемещения движка 10 и опираются на внутренние стенки 6, 7 корпуса 4 (фиг.3). От плоскости 33 каждого монетодержателя 31, 32 вниз к направляющему участку 40, 41 и к упору 42 ведет отверстие 46. Направляющие участки 40, 41 проходят параллельно направлению перемещения движка 10, тогда как упоры 42 предназначены для ограничения степени подвижности движка 10.
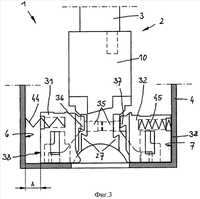
На фиг.3 оба монетодержателя 31, 32 и движок 10 изображены в исходном положении, в котором соединительная часть 3 другой транспортной тележки фиксирована в блокировочном механизме 2 залогового замка 1. Монетодержатели 31, 32 и движок 10 установлены в корпусе 4 залогового замка 1 с возможностью перемещения. Контур корпуса 4 показан схематично. Второй монетодержатель 32 прилегает своей внешней стороной 38 к внутренней стенке 7 корпуса 4, тогда как между внешней стороной 38 первого монетодержателя 31 и противоположной внутренней стенкой 6 корпуса 4 образован промежуток А. Усилие воздействующей на первый монетодержатель 31 пружины 44 сжатия выше усилия воздействующей на второй монетодержатель 32 пружины 45 сжатия. Поскольку направляющие ребра 35 обоих монетодержателей 31, 32 в исходном положении упираются торцами друг в друга, сильнее подпружиненный первый монетодержатель 31 прижимает к внутренней стенке 7 корпуса 4 слабее подпружиненный второй монетодержатель 32. В этом положении крюкообразные заплечики 27, 36, 37 занимают положение, показанное на чертеже. В соответствии с ним заплечик 36 первого монетодержателя 31 лежит в пределах траектории, описываемой движком 10 при расцеплении соединительной части 3, а это значит, что при попытке незаконного отжатия движка 10 назад (на чертеже вверх), например плоским предметом, крюкообразный левый заплечик 27 движка 10 зацепится за заплечик 36 первого монетодержателя 31, в результате чего движок 10 нельзя будет переместить дальше. Расцепление соединительной части 3 станет невозможным. Крюкообразный заплечик 37 второго монетодержателя 32 лежит вне упомянутой траектории. При описанной попытке манипулирования он бездействует.
На фиг.4 монетодержатели 31, 32 и движок 10 изображены в положении, в котором монета 50 заданного диаметра вставлена через щель 8 залогового замка 1 в монетоприемник 9 настолько, что прилегает к косому упору 26 движка 10. В процессе ввода монеты 50 первый монетодержатель 31 отклоняется на чертеже влево, возвращаясь затем немного назад на размер В, который меньше размера А, тогда как второй монетодержатель 32 либо остается в своем положении, в котором он прилегает к внутренней стенке 7, либо немного отклоняется, на чертеже вправо, причем пройденный вторым монетодержателем 32 отрезок пути меньше отрезка пути, пройденного первьм монетодержателем 31. Отклонение первого монетодержателя 31 вызвано находящимся на нем выступом 43. Из чертежа с помощью размеров С видно, что крюкообразные заплечики 36, 37 монетодержателей 31, 32 лежат вне траектории, которая требуется движку 10 при его смещении монетой 50 для расцепления соединительной части 3. Во время этого процесса бобышки 22 движка 10 движутся в направляющих участках 40, 41 монетодержателей 31, 32, препятствуя движению последних поперек направления перемещения движка 10 и извлечению монеты 50 из монетоприемника 9.
На фиг.5 монетодержатели 31, 32 и движок 10 изображены в положении, в котором предпринята попытка расцепления соединительной части 3 монетой 51 меньшего диаметра, т.е. недопустимой. В этом примере предпринята попытка отжима в сторону (на чертеже влево) первого монетодержателя 31 с помощью монеты 51 (по стрелке), чтобы переместить движок 10. При этой попытке преодолевается усилие воздействующей на первый монетодержатель 31 пружины 44 сжатия, так что воздействующая на второй монете держатель 32 пружина 45 сжатия полностью проявляет свое усилие. Вследствие этого второй монетодержатель 32 следует за направляющими 5 вдоль первого монетодержателя 31. Во время этого процесса крюкообразный заплечик 37 второго монетодержателя 32 входит в траекторию движка 10 (размер D). При желании нажать монетой 51 на движок 10 дальше для расцепления соединительной части 3 правый крюкообразный заплечик 27 движка 10 зацепляется за заплечик 37 второго монетодержателя 32. Движок 10 не может быть, следовательно, отжат в конечное положение, в котором происходит расцепление соединительной части 3. Попытка манипулирования, тем самым, не удается. При вводе же монеты 51 меньшего диаметра в монетоприемник 9 точно прямо первый монетодержатель 31 не движется влево настолько, чтобы расцепить крюкообразный заплечик 36 первого монетодержателя 31 с соседним крюкообразным заплечиком 27 движка 10. Движок 10 не может быть, следовательно, отжат в конечное положение, в котором происходит расцепление соединительной части 3. Также не удается и эта попытка манипулирования.
Формула изобретения
1. Залоговый замок (1) для штабелируемой с такими же тележками транспортной тележки, в частности тележки для покупок, содержащий блокировочный механизм (2) для фиксации соединительной части (3) другой транспортной тележки и монетоприемник (9) для монеты (50) или заменяющего монету жетона, причем при вводе монеты (50) происходят отделение соединительной части (3) другой транспортной тележки и удержание монеты (50), а при вводе соединительной части (3) – отделение монеты (50) и фиксация соединительной части (3), причем далее предусмотрен взаимодействующий с блокировочным механизмом (2) и монетоприемником (9) подпружиненный, снабженный двумя заплечиками (27) движок (10), выполненный с возможностью перемещения с помощью монеты (50) против действия пружины, а при вводе соединительной части (3) при поддержке пружины – повторного перемещения в противоположном направлении, причем монетоприемник (9) состоит из первого и второго подпружиненных, снабженных соответственно заплечиком (36, 37) монетодержателей (31, 32), и оба монетодержателя (31, 32) расположен против друг друга с возможностью перемещения поперек направления перемещения движка (10) и своими заплечиками (36, 37) предназначены для взаимодействия с заплечиками (27) движка (10), отличающийся тем, что монетодержатели (31, 32) расположены так, что не оказывают одинакового действия, оказываемое на первый монетодержатель (31) усилие пружины выше, чем действующее на второй монетодержатель (32) усилие пружины, первый монетодержатель (31) опирается на второй монетодержатель (32), при этом более подпружиненный первый монетодержатель (31) прижимает к внутренней стенке (7) корпуса (4) менее подпружиненный второй монетодержатель (3), причем при вводе монеты (50) либо только первый монетодержатель (31) совершает движение, либо второй монетодержатель (32) также совершает движение, которое меньше движения первого монетодержателя (31).
2. Замок по п.1, отличающийся тем, что заплечики (27, 36, 37) имеют крюкообразную форму.
3. Замок по п.1, отличающийся тем, что движок (10) имеет широкий участок (17) и узкий участок (19), а на переходе между широким участком (17) и узким участком (19) образован косой упор (26), направленный ко второму монетодержателю (32).
4. Замок по п.1 или 3, отличающийся тем, что в исходном положении монетодержателей (31, 32) второй монетодержатель (32) прилегает своей внешней стороной (38) к внутренней стенке (7) корпуса (4).
5. Замок по п.1 или 3, отличающийся тем, что в исходном положении монетодержателей (31, 32) между внешней стороной (38) первого монетодержателя (31) и внутренней стенкой (6) корпуса (4) образован промежуток.
РИСУНКИ
|
|