|
|
(21), (22) Заявка: 2005127585/28, 02.02.2004
(24) Дата начала отсчета срока действия патента:
02.02.2004
(30) Конвенционный приоритет:
03.02.2003 EP 03290264.5
(43) Дата публикации заявки: 27.01.2006
(46) Опубликовано: 27.08.2008
(56) Список документов, цитированных в отчете о поиске:
WO 00/50171 A1, 31.08.2000. RU 2145977 C1, 27.02.2000. FR 2758188 A, 10.07.1998. WO 9841875 A1, 24.09.1998.
(85) Дата перевода заявки PCT на национальную фазу:
05.09.2005
(86) Заявка PCT:
EP 2004/002028 (02.02.2004)
(87) Публикация PCT:
WO 2004/070390 (19.09.2004)
Адрес для переписки:
129090, Москва, ул. Б.Спасская, 25, стр. 3, ООО “Юридическая фирма Городисский и партнеры”, пат.пов. С.А.Дорофееву, рег.№ 146
|
(72) Автор(ы):
КЮБАКИ Мишель (FR)
(73) Патентообладатель(и):
ЖИЛЬСОН С.А.С. (FR)
|
(54) СПОСОБ ДЛЯ ПОДГОТОВКИ ОБРАЗЦОВ ДЛЯ АНАЛИЗА, УСТРОЙСТВО ДЛЯ ЕГО РЕАЛИЗАЦИИ И МАГАЗИН ДЛЯ ПОДГОТОВКИ ОБРАЗЦОВ ДЛЯ АНАЛИЗА
(57) Реферат:
Изобретение относится к способам подготовки образцов для анализа. В устройстве для твердофазной экстракции (SPE), как только все колонки SPE-планшета наполняются жидкостью, иглы взаимодействуют со сцепляющими конструкциями на нажимном элементе для прижима вниз планшета вместе с поджатой вверх подошвой в уплотнительное зацепление с периферической проставкой, окружающей контейнер. Одновременно создается вакуум благодаря соответствующему управлению клапаном, и все колонки одновременно передают жидкость в сливной контейнер. Затем вакуум сбрасывается, иглы входят в зацепление с углублениями для перемещения каретки над сборным контейнером, и аналогичная рабочая последовательность возобновляется. Технический результат – устранение загрязнения колонки при ускорении пробоподготовки. 3 н. и 22 з.п. ф-лы, 17 ил.
Изобретение относится к способам подготовки образцов для анализа, а также к магазину и устройству для подготовки биологических образцов для анализа, например, средствами хроматографии.
В соответствии с известной практикой упомянутой подготовки обеспечивают планшет с матрицей параллельных колонок, обычно 8×12=96 колонок с широким верхним отверстием и узким воронкообразным нижним отверстием. Стационарную фазу или твердую фазу обеспечивают в каждой колонке на определенном уровне.
Этапы подготовки, образующие способ, так называемой «твердофазной экстракции», содержат этап кондиционирования, заключающийся в том, что создают поток кондиционирующей жидкости сквозь стационарную фазу, этап загрузки, заключающийся в том, что помещают образцы в соответствующие колонки, по меньшей мере, один этап промывания для освобождения колонок от таких ингредиентов образцов, которые бесполезны для анализа, и, наконец, элюирование, заключающееся в переносе полезного ингредиента из каждой колонки в соответствующую сборную трубку или лунку. Затем ингредиент из каждой сборной трубки будет анализироваться, например, средствами хроматографии.
Публикация WO 00/50 171-A1 содержит описание устройства для подготовки образцов для анализа, в котором планшет, снабженный колонками, установлен в каретке, которая может скользить в раме для перемещения в позицию над сливным приемником и в позицию над сборным приемником. Этапы кондиционирования, загрузки и промывания выполняют над сливным приемником. Затем каретку перемещают в позицию над сборным приемником и выполняют этап сбора.
Планшет покрыт герметичной мембраной, которая герметически закрывает колонки сверху. Мембрана закреплена жесткой крышкой, снабженной сквозными отверстиями, по одному для каждой колонки, соответственно. Процесс для переноса жидкости в колонки и из колонок в нижерасположенный приемник выполняется в следующем порядке: впрыскивающая игла входит в зацепление с крышкой и толкает планшет вниз против поджимной пружины в позицию герметического зацепления нижнего контура планшета; создают вакуум в приемнике, чтобы поддерживать упомянутое герметическое зацепление, при этом потеря упомянутого вакуума через пустые колонки предотвращается мембраной; перемещают иглу вверх к источнику жидкости; отбирают жидкость из источника в шприц, к которому относится игла; помещают иглу обратно над выбранной колонкой; перемещают иглу вниз сквозь мембрану; впрыскивают жидкость в колонку; ожидают всасывания жидкости вакуумом в приемник, пока игла остается в положении прокола мембраны, при этом игла снабжена наружной продольной канавкой для создания возможности попадания воздуха в колонку, пока жидкость всасывается из колонки; затем извлекают иглу из колонки. Данный процесс повторяют для каждой колонки или каждой группы колонок, если впрыскивающая головка снабжена двумя или более иглами.
Когда один из вышеупомянутых этапов кондиционирования, загрузки и промывания завершается, вакуум сбрасывают для создания возможности перемещения планшета вверх под действием поджимных пружин. После этапа промывания каретку перемещают от сливного приемника в позицию над сборным приемником, после чего повторяются подэтапы, заключающиеся в том, что снижают планшет, создают вакуум и затем последовательно загружают колонки с одновременным всасыванием жидкости снизу.
Обычно вместо использования иглы применяют ряд, например, из четырех установленных в линию игл, чтобы как возможно быстрее завершить процесс.
Однако вся процедура является относительно продолжительной. Кроме того, существует риск, что ранее перфорированный участок мембраны больше не герметичен и допускает попадание значительного объема воздуха в другую колонку, кроме тех, в которые на данный момент вводится жидкость, так что действие вакуума на колонки, обрабатываемые на данный момент, может быть ослаблено.
Перемещение каретки из позиции над одним из приемников в позицию над другим приемником выполняется вводом иглы в одно из отверстий крышки, затем горизонтальным перемещением иглы, чтобы вызвать вдвигание каретки в боковые направляющие или рейки рамы магазина. Это может привести к загрязнению колонки, соответствующей отверстию, в которое внедряется игла для данного действия.
Основная цель настоящего изобретения заключается в устранении, по меньшей мере, одного из вышеперечисленных недостатков предшествующего уровня техники.
Другая цель настоящего изобретения заключается в ускорении подготовки образцов для анализа.
Дополнительная цель настоящего изобретения заключается в обеспечении более безопасной работы магазина при подготовке образцов для анализа.
Еще одна цель настоящего изобретения заключается в обеспечении быстрого и удобного манипулирования с планшетом, который обычно выбрасывается после каждой подготовки образцов, и с нижерасположенными приемниками, при этом сборный приемник требуется извлекать из магазина, когда образцы готовы для анализа средствами хроматографии.
В соответствии с вышеизложенным предлагается способ подготовки образцов для анализа, при этом способ содержит следующие этапы:
– впрыскивают, по меньшей мере, одну жидкость в отдельные колонки подвижного планшета посредством, по меньшей мере, одной подвижной впрыскивающей иглы;
– перемещают упомянутый планшет между, по меньшей мере, двумя рабочими позициями перемещением, по меньшей мере, одной упомянутой иглы, когда, по меньшей мере, одна упомянутая игла связана, по меньшей мере, непрямым взаимным зацеплением с упомянутым планшетом;
отличающийся тем, что упомянутое взаимное зацепление имеет место между упомянутыми иглами и зацепляющими конструкциями вне упомянутых колонок.
В соответствии с данным аспектом изобретения обеспечивается механически и биологически безопасное взаимное зацепление иглы с планшетом (или, например, опорной кареткой планшета). Можно обеспечить и выбрать конкретные конструкции для конкретных перемещений планшета. Обычно обеспечивают разные конструкции для перемещения планшета по горизонтали от одного нижерасположенного приемника к другому нижерасположенному приемнику и из поднятой позиции в опущенную герметическую позицию над приемником.
Следовательно, в соответствии с данным аспектом настоящего изобретения игла или, обычно, группа из примерно 4 игл вполне приемлема для приведения в движение планшета между его рабочими позициями.
В соответствии с другим аспектом настоящего изобретения предлагается способ подготовки образцов для анализа, при этом способ содержит следующие этапы:
– впрыскивают жидкость в каждую колонку, пока колонки открыты сверху;
– перемещают планшет вниз в, по меньшей мере, непрямое герметическое зацепление над нижерасположенным приемником;
– создают в упомянутом приемнике вакуум, чтобы тем самым обеспечить фиксацию планшета в герметическом зацеплении и втягивание жидкости из всех колонок в приемник сквозь стационарную фазу, заложенную в колонки;
– сбрасывают вакуум, чтобы тем самым обеспечить возможность перемещения вверх планшета из герметического зацепления.
Данный способ позволяет обходиться без мембраны и устранить риск недостаточного уплотнения, обеспечиваемого данной мембраной. В конце первой стадии все колонки загружены жидкостью, и только тогда все колонки вместе подвергают действию вакуума снизу. Это не только повышает безопасность, но и ускоряет процесс, поскольку больше не требуется ждать всасывания содержимого каждой колонки до извлечения из нее впрыскивающей иглы и отвода шприца обратно к источнику жидкости. Потребность в вакууме уменьшается, поскольку намного сокращается время подвода вакуума.
В соответствии с третьим аспектом настоящего изобретения предлагается магазин для подготовки образцов для анализа, содержащий:
– раму;
– скользящий узел, который установлен с возможностью скольжения на раме и оборудован планшетом, содержащим множество колонок для вмещения образцов через верхнее отверстие упомянутых колонок;
– первый и второй приемники, установленные на раме под кареткой;
– средство для избирательного соединения каждого приемника с источником вакуума;
при этом скользящий узел может перемещаться между первой позицией над первым приемником и второй позицией над вторым приемником, отличающийся тем, что упомянутый скользящий узел снабжен средством зацепления для иглы, причем средство зацепления расположено вне колонок.
В соответствии с четвертым аспектом настоящего изобретения предлагается устройство для подготовки образцов для анализа, содержащее:
– магазин в соответствии с первым аспектом;
– впрыскивающий блок, содержащий:
a) впрыскивающую головку, снабженную, по меньшей мере, одной иглой;
b) приводной механизм для трехмерного перемещения впрыскивающей головки;
c) управляющее средство для управления приводным механизмом, посредством которого головка последовательно подводится в позиции впрыскивания, в которых игла совмещается с колонками планшета, и в позиции привода планшета, в которых упомянутая игла совмещается с зацепляющими конструкциями и затем приводит в движение упомянутый планшет для совершения заданного перемещения.
Дополнительные особенности и преимущества изобретения очевидны из нижеследующего описания неограничивающего варианта осуществления.
На чертежах:
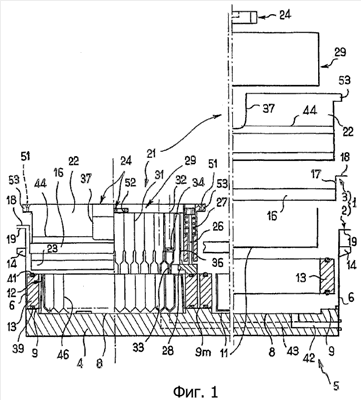
фиг.1 – продольный разрез магазина согласно изобретению, где правая часть фигуры иллюстрирует способ сборки и разборки магазина укладыванием и подъемом деталей, и левая часть иллюстрирует магазин в разных рабочих состояниях с кареткой над сборным приемником;
фиг.1A – местный вид фиг.1 в увеличенном масштабе;
фиг.1B аналогична фиг.1A, но с планшетом в поднятой позиции и кареткой, готовой к скользящему перемещению;
фиг.2-7 – виды в перспективе, показывающие шесть последовательных состояний узла магазина;
фиг.8 – вид в перспективе с пространственным разделением деталей скользящего узла;
фиг.9 – вид в перспективе нажимного элемента, взаимодействующего с иглами;
фиг.10 – вид устройства подготовки согласно изобретению, содержащего два магазина, показанных на фиг.1-9, и впрыскивающую головку со средством приводного механизма и управляющим средством;
фиг.11-15 – схемы, иллюстрирующие последовательные рабочие стадии устройства подготовки и, соответственно, последовательные этапы способа согласно изобретению.
Как показано на фиг.1-7, магазин 5 содержит раму 1, которая состоит из основания 2 и вспомогательной рамы 3. Основание 2, в свою очередь, содержит базовую плиту 4, которая выполнена с возможностью опоры на опорную поверхность, например стол, или подошву 61 устройства согласно изобретению (фиг.10), и торцевые пластины 6, которые продолжаются вверх из каждого продольного конца базовой плиты 4, соответственно.
Торцевые пластины 6 жестко прикреплены к базовой плите 4 посредством угловых элементов 7 жесткости (фиг.2).
Верхняя поверхность базовой плиты 4 снабжена двумя прямоугольными неглубокими выемками 8, каждая из которых окружена прямоугольным периферическим ребром 9, при этом данные ребра соединяются в области 9m вдоль короткой средней линии базовой плиты 4. Соответственно, выемки 8 расположены вдоль продольного направления базовой плиты 4, которая имеет форму удлиненного прямоугольника.
Каждая из выемок 8 выполнена с возможностью вмещения и позиционирования соответствующего приемника, т.е. сливного приемника 11 и сборного приемника 12. Приемники 11, 12 имеют прямоугольную форму, чтобы обеспечивалась возможность их устойчивого позиционирования в соответствующих выемках 8 за счет веса.
Кроме того, базовая плита 4 снабжена двумя полыми проставочными элементами 13, свободно установленными на плиту, причем, каждый из элементов установлен на одно из соответствующих окружных ребер 9. Полые проставки 13 имеют такие наружные размеры, чтобы точно совмещаться между двумя торцевыми пластинами 6 основания 2 и между угловыми элементами 7 жесткости. Таким образом, несмотря на свободную установку, данные элементы находятся в устойчивой позиции по отношению к базовой плите 4, естественно, пока данные элементы не подняты для разборки, как показано в правой части фиг.1.
Кроме того, каждая торцевая пластина 6 снабжена соответствующими ручками 14.
Вспомогательная рама 3 состоит, по существу, из двух продольных направляющих реек 16, которые жестко соединены между собой двумя торцевыми поперечинами 17. Как показано на фиг.1 или 4, поперечины 17 имеют верхние отогнутые кромки 18, которые выполнены с возможностью опоры на соответствующие отогнутые кромки 19 торцевых пластин 6. Верхняя вспомогательная рама 3 выполнена с возможностью установки в основание 2 простой укладкой, т.е. перемещением вниз, при котором вспомогательная рама 3 входит между двух торцевых пластин 6 и четырьмя угловыми элементами 7 жесткости до того, пока отогнутые кромки 18 не приходят в упор с отогнутыми кромками 19 торцевых пластин 6. Как показано на фиг.1 и 4-7, тогда направляющие рейки 16 продолжаются параллельно базовой плите 4 на определенное расстояние над верхней стороной приемников 11, 12 и полых проставок 13.
Магазин дополнительно содержит скользящий узел 21, который показан полностью (хотя, частично, в разрезе) в левой части фиг.1, а участки скользящего узла показаны в состоянии сборки и разборки в правой части фиг.1.
Скользящий узел 21 содержит каретку 20, состоящую из: корпуса 22, который, по существу, имеет форму прямоугольной окружающей стенки, т.е. стенки, которая продолжается вдоль прямоугольника, как видно из вышеизложенного; прямоугольной подошвы 23, продолжающейся вдоль нижнего края корпуса 22; и нажимного элемента 24, продолжающегося вдоль короткой средней линии прямоугольного корпуса 22 около его верхнего края. Короткая или проходящая по ширине средняя линия корпуса 22 параллельна ширине базовой плиты 4.
Подошва 23 подвешена к корпусу 22 посредством штоков 26 (один из них показан на фиг.1), которые поджимаются вверх пружинами 27, чтобы прижимать подошву 23 в упор к нижнему краю корпуса 22, как показано в самой левой части фиг.1. Подошва 23 имеет заплечик 28 (центральная часть фиг.1), который выступает внутрь в центральное отверстие корпуса 22.
Данное центральное отверстие корпуса 22 выполнено с возможностью помещения в каретку 20, так называемого, твердофазного экстракционного планшета 29 (SPE-планшета 29), который обычно представляет собой цельную деталь из пластикового материала и в котором образована матрица из, например, 8×12=96 пустотелых колонок 31, некоторые из которых показаны на фиг.1 и более подробно на фиг.1A и 1B. Каждая колонка 31 содержит верхнее отверстие 32, которое является относительно большим, потому что оно захватывает всю площадь поперечного сечения колонки, и нижнее отверстие 62 (фиг.1B) на конце воронкообразной части 33. Нижние отверстия 62 расположены, по существу, заподлицо с нижней поверхностью подошвы 23. Внутри каждой колонки 31 стационарная твердая фаза 34 опирается на буртик, образующий верх воронкообразного участка 33. Характер, структура и функции твердой фазы 34 широко известны в данной области техники. Планшет 29 содержит также периферическое ограждение 36, нижняя кромка 63 которого опирается на уплотнение 64, вставленное в канавку в верхней поверхности заплечика 28 подошвы 23.
Элемент 24 непосредственно опирается на верхнюю сторону SPE-планшета 29 и установлен с возможностью вертикального скользящего движения в корпусе 22 каретки. Для обеспечения упомянутого вертикального движения продольные стенки корпуса 22 каретки снабжены соответствующими пазами 37, а нажимной элемент снабжен поперечными выступами 38 (фиг.9), которые входят в зацепление с внутренней поверхностью продольной стенки корпуса 22, чтобы, тем самым, не допускать перемещения нажимного элемента 24 по ширине корпуса 22 каретки.
Когда нажимной элемент 24 поджат вниз, данный элемент, в свою очередь, поджимает SPE-планшет 29 вниз. Вследствие упора нижней кромки 63 ограждения 36 в уплотнение 64 заплечика 28 подошвы 23 данное направленное вниз перемещение передается на подошву 23, пока подошва 23 не приходит в упор с нижерасположенной полой проставкой 13.
Каждая полая проставка 13 снабжена нижним уплотнением 39 вдоль нижнего контура и верхним уплотнением 41 вдоль верхнего контура данной проставки. Нижнее периферическое уплотнение 39 взаимодействует с соответствующим ребром 9 базовой плиты 4, и верхнее периферическое уплотнение 41 взаимодействует с нижней поверхностью подошвы 23, когда поджато вниз нажимным элементом 24. Кроме того, уплотняющий контакт обеспечивается между нижней кромкой 63 ограждения 36 и уплотнением 64, по меньшей мере, когда планшет 29 поджат вниз нажимным элементом 24. Следовательно, в данном положении создается замкнутое пространство между базовой плитой 4 и планшетом 29, если исключить любой проход через колонки 31 и соответствующий канал 42, 43, соответственно, выполненный сквозь базовую плиту 4 для избирательного соединения каждой выемки 8 с источником вакуума.
Каждая из продольных стенок корпуса 22 каретки снабжена внешним продольным ребром 44 для скользящей опоры на верхнюю кромку одной из соответствующих направляющих реек 16 в положении, когда нижняя часть корпуса 22, продолжающаяся ниже упомянутых ребер 44, входит между направляющих реек 16.
Следовательно, скользящий узел вновь устанавливают простой укладкой на раму и, в частности, между направляющими рейками 16. Кроме того, планшет 29 устанавливают простой укладкой в корпус 22 каретки до упора в заплечик 28 подошвы 23, и нажимной элемент 24, в свою очередь, устанавливают укладкой на планшет 29 и в пазы 37.
В зависимости от типа подлежащих приготовлению образцов существуют планшеты 29 разной высоты. Как показано для сравнения фиг.6 и 9, в соответствии с изобретением предусмотрены нажимные элементы 24 разной толщины. Оператор выбирает более толстые нажимные элементы, когда планшет 29 имеет меньшую высоту. Существует также возможность вставки промежуточной рамы 73 (фиг.5 и 6) между нижней кромкой 63 ограждения 36 планшета и уплотнением 64.
Скользящий узел 21 установлен с возможностью скольжения по направляющим рейкам 16 между двумя конечными позициями, в каждой из которых данный узел совмещается с одним или, соответственно, другим из двух приемников 11, 12 и с соответствующей полой проставкой 13.
В первой позиции, предназначенной для этапов кондиционирования, загрузки и промывания, скользящий узел 21 находится над приемником 11, который представляет собой сливной приемник, т.е. простую ванну, в которой жидкость, вытекающая из колонок 31, смешивается для последующего удаления.
В другом конечном положении данного узла скользящий узел 21 находится над сборным приемником 12, который снабжен одним соответствующим углублением 46 для каждой колонки 31 планшета 29. Каждое углубление открыто сверху и закрыто снизу.
Скользящий узел 21 выполнен с возможностью приведения в движение впрыскивающими иглами 47 впрыскивающей головки 48 устройства 66 подготовки согласно изобретению (фиг.10).
В приведенном примере впрыскивающая головка 48 снабжена четырьмя иглами 47, расположенными в ряд, который параллелен ширине магазина. Расстояние между соседними иглами, которые могут быть регулируемыми, соответствует расстоянию между соседними колонками 21. Каретка 20 снабжена средством зацепления для наконечников игл 47. Данное средство зацепления содержит глухие конструктивные углубления 49 конической формы, которые выполнены вдоль осевой линии верхней поверхности нажимного элемента 24, чтобы соответствовать проходящей по ширине средней линии планшета 29, при этом упомянута средняя линия, продолжающаяся между двумя соседними рядами колонок 31. Расстояние между соседними углублениями 49 соответствует расстоянию между соседними иглами 47 головки 48.
С каждой стороны ряда углублений 49 выполнен ряд отверстий 52 сквозь нажимной элемент 24. Каждое отверстие 52 совмещается с колонкой 31 ряда, смежного с упомянутой средней линией.
Корпус 22 снабжен выступающим наружу фланцем 53 вдоль верхней кромки каждой из двух проходящих по ширине секций стенки данного корпуса. Средство зацепления содержит дополнительно к упомянутым углублениям 49 конструктивные углубления 51, которые выполнены в два ряда, каждый ряд – в верхней поверхности одного из фланцев 53. И вновь расстояние между соседними углублениями 51 равно расстоянию между соседними иглами 47 на впрыскивающей головке. Углубления 51 представляют собой сквозные отверстия, имеющие коническое верхнее входное сечение и цилиндрическое вертикальное нижнее выходное сечение с диаметром, подходящим для скользящего перемещения игл 47 в данном сечении.
Фиг.10 представляет собой схему типичной конструкции устройства согласно изобретению. Впрыскивающая головка 48 транспортируется трехкоординатным (XYZ) приводным механизмом 69 под управлением управляющего блока 71, который соединен или объединен с вычислительным средством, выполненным с возможностью программирования. Под пространством перемещения впрыскивающей головки подошва служит опорой для двух магазинов 5, каждый из которых соответствует фиг.1-9, установленных так, что продольное направление данных магазинов соответствует направлению X перемещения приводного механизма 69. Подошва 61 дополнительно служит опорой для двух магазинов 67, содержащих источники, по меньшей мере, одной жидкости. Управляющий блок 71 подсоединен к впрыскивающей головке 48 для управления шприцами 68, каждый из которых относится к одной игле 47. Устройство дополнительно содержит клапанную камеру 74 (фиг.11), содержащую для одного магазина 5 два пневматических клапана 76, 77, селективно подсоединяющих каналы 42, 43, соответственно, каждый к вакуумному источнику 78 или к атмосфере. Клапаны 76, 77 управляются управляющим блоком 71. Программа, которая управляет работой управляющего блока 71, определяет объединенные временные диаграммы работы приводного механизма 49, шприцов 68 и клапанной камеры 74.
Работа магазина и устройства и реализация способа описаны ниже со ссылками на фиг.11-15.
Когда каретка 20 находится в первой позиции над сливным приемником 11 (фиг.11) и прекращен подвод вакуума в обе выемки 8 (оба канала 42, 43 соединены с атмосферой клапанами 76, 77), впрыскивающая головка 48 выполняет возвратно-поступательные перемещения (стрелка 79) между одним выбранным источником жидкости из нескольких данных источников 67, позицией над выбранными колонками 21 и, возможно, позицией промывания над другим источником жидкости. У источника 67 жидкости иглы отбирают жидкость в соответствующие им шприцы 68. Над планшетом 29 каждая игла 47 выпускает жидкость из своего шприца в соответствующую колонку 31. Во время данного процесса все колонки 31 открыты сверху.
Каждый раз головка 48 перемещается приводным средством 69 под управлением управляющего блока 71 в соответствии с вышеупомянутой программой в горизонтальных направлениях X и Y между позицией над планшетом 29 и позицией над источником 67 жидкости и затем в направлении Z для погружения игл 47, соответственно, в источник 67 жидкости и в колонки 31 для, соответственно, всасывания и выпускания жидкости, и затем в верхнем направлении, соответственно, из источника 67 и из колонок 31. Для загрузки данных колонок, которые расположены под нажимным элементом 24, иглы проходят через отверстия 52.
Когда все колонки загружены жидкостью 81, впрыскивающую головку перемещают к упомянутым четырем углублениям 49 и затем в нижнем направлении, пока не создается положение, показанное на фиг.9, в котором иглы 47 входят в зацепление с углублениями 49 в нажимном элементе 24. Затем иглы 47 поджимают нажимной элемент 24 вниз вместе с планшетом 29 и подошвой 23, пока подошва 23 не упирается в проставку 13 (фиг.11). Одновременно, пока верх всех колонок остается открытым, на клапан 77 подается команда соединить канал 42 с источниками 78 вакуума, посредством чего создается вакуум в приемнике 11 и, следовательно, в нижней части колонок 31 для одновременного отбора жидкости из всех колонок 31 совместно в приемник 11. Как видно из фиг.12, данные приемники 11 и 12 опираются на бобышки 82, причем с каким-то небольшим поперечным зазором, позволяющим вакууму, при его создании в выемках 8, безопасно достигать низа планшета 29. Как только вакуум создается над приемником 11, иглы можно перемещать вверх, так как планшет 29 остается в нижнем положении благодаря разрежению под его нижней поверхностью. Вакуум не может нарушаться, поскольку все колонки 31 содержат жидкость 81. Как только экстракция жидкости завершается, вакуум нарушается, и подошва 23 перемещается обратно вверх под действием поджатых пружин 27 (фиг.1B). Осуществляется обработка второй жидкостью над тем же приемником 11, или, если выполнялась последняя обработка, предназначенная для осуществления над приемником 11, впрыскивающую головку перемещают к вышеупомянутым четырем выемкам 51, опускают иглы 47 в зацепление через данные четыре углубления 51 (фиг.1B), перемещают (фиг.12) в направлении X (по длине основания 2, по стрелке 72 на фиг.1B) для привода в движение каретки 20 по горизонтали, пока каретка не окажется над сборным приемником 12, и затем головку 48 перемещают вверх для вывода игл 47 из зацепления с углублениями 51.
Затем продолжают процедуру последовательной загрузки колонок жидкостью, пока все колонки не будут содержать жидкость (фиг.14), прижимания вниз планшета 29 в уплотнительное зацепление с основанием 4 через подошву 23 и проставку 13 (фиг.15), создания вакуума 78 в зоне под планшетом 29 соответствующим управлением, в данном случае через клапан 77 и канал 43, и сброса вакуума. В данном случае содержимое каждой колонки 31 собирают в одно из соответствующих углублений 46 (фиг.1A и 15) для раздельного анализа содержимого каждого углубления. И вновь все данные действия выполняются, когда все колонки 31 открыты сверху. Затем магазин 5 можно демонтировать съемом нажимного элемента 24, планшета 29, корпуса 22 каретки с подошвой 23, вспомогательной рамы 3, проставок 13, приемников 11, 12. Планшет 29 обычно предполагается на выброс, приемник 12 – для анализа содержимого углублений, а другие части – для промывки с целью повторного использования.
Упомянутые конструктивные углубления 49 ступенчато расположены относительно упомянутых отверстий 52 для совпадения, тем самым, с центрами воображаемых квадратов, углы которых являются центрами четырех колонок 21.
Не существует взаимного наложения между конструктивными углублениями 49 и отверстиями 52. Коническая форма углублений 49 обеспечивает самоцентрирование игл, чтобы держать их как можно дальше от отверстий 52 и, в общем, от колонок 31, чтобы жидкость, пристающая к иглам, не могла загрязнить колонки во время приведения в движение планшета 29. Углубления 51 на фланцах 53 также достаточно удалены от верхних отверстий колонок для выполнения данного условия биологической безопасности. При открывании вниз углубление 51 автоматически избавляется от остатков жидкости.
Углубления 49, 51 достаточно многочисленны, так что программа может выбирать наиболее подходящие углубления для каждого приведения планшета в движение с учетом того, что усилие приведения в движение, предпочтительно, не должно создавать риск заедания или заклинивания каретки, и перемещение игл к углублениям должно быть как можно короче, начиная с предшествующего рабочего положения игл, так же, как перемещение от углублений к следующему рабочему положению игл. Число углублений 49, 51 каждого типа допускает использование, например, восьми игл, на соответствующей впрыскивающей головке (не показана).
Изобретение не ограничено описанным вариантом осуществления. Предполагается, например, что каретка 20 может вмещать планшеты с колонками с различной площадью сечения, так что расстояние между соседними колонками может в некоторых случаях отличаться от расстояния между соседними углублениями 49 или между соседними углублениями 51. Данные планшеты можно применять с регулированием расстояния между иглами 47 в процессе работы с помощью соответствующей управляющей программы.
Формула изобретения
1. Способ подготовки образцов для анализа, содержащий этапы, в соответствии с которыми
впрыскивают, по меньшей мере, одну жидкость в отдельные колонки подвижного планшета посредством, по меньшей мере, одной подвижной впрыскивающей иглы;
перемещают планшет между, по меньшей мере, двумя рабочими позициями перемещением, по меньшей мере, одной упомянутой иглы, когда, по меньшей мере, одна игла связана, по меньшей мере, непрямым взаимным зацеплением с упомянутым планшетом,
отличающийся тем, что взаимное зацепление имеет место между иглами и зацепляющими конструкциями вне колонок.
2. Способ по п.1, отличающийся тем, что взаимное зацепление осуществляется между наконечником иглы и углублением, которое имеет приводную связь с планшетом.
3. Способ по п.1 или 2, отличающийся тем, что для разных перемещений планшета взаимное зацепление осуществляется, соответственно, в разных местах относительно планшета.
4. Способ по п.2, отличающийся тем, что для разных перемещений планшета взаимное зацепление осуществляется между наконечником и, соответственно, разными углублениями.
5. Способ по п.3, отличающийся тем, что взаимное зацепление осуществляется между иглой и кареткой, служащей опорой для планшета, при этом способ содержит этап, заключающийся в том, что вызывают скольжение каретки по горизонтали от одного из двух нижерасположенных приемников к другому.
6. Способ по п.5, отличающийся тем, что взаимное зацепление осуществляется по краю каретки, который поперечен направлению скольжения каретки.
7. Способ по п.3, отличающийся тем, что этап перемещения выполняют так, чтобы осуществить перемещение планшета вниз против усилия поджимных пружин, при этом взаимное зацепление осуществляется между наконечником иглы и средством опускания планшета, и иглу перемещают аксиально вниз для поджима вниз средства опускания планшета.
8. Способ по п.7, отличающийся тем, что взаимное зацепление осуществляется вне отверстий, которые выполнены сквозь средство опускания планшета с совмещением с некоторыми из упомянутых колонок.
9. Способ по п.1, отличающийся этапами, в соответствии с которыми
загружают каждую колонку жидкостью посредством, по меньшей мере, одной иглы, пока колонки открыты сверху;
перемещают планшет вниз в герметическое зацепление над нижерасположенным приемником;
создают в приемнике вакуум, чтобы, тем самым, обеспечить фиксацию планшета в герметическом зацеплении и втягивание жидкости из всех колонок в приемник сквозь стационарную фазу, заложенную в каждую колонку;
сбрасывают вакуум из приемника, чтобы освободить планшет из герметического зацепления.
10. Способ по п.1, содержащий этапы, в соответствии с которыми
впрыскивают жидкость в каждую колонку, пока колонки открыты сверху;
перемещают планшет вниз в герметическое зацепление над нижерасположенным приемником;
создают в приемнике вакуум, чтобы, тем самым, обеспечить фиксацию планшета в герметическом зацеплении и втягивание жидкости из всех колонок в приемник сквозь стационарную фазу, заложенную в колонки;
сбрасывают вакуум, чтобы, тем самым, обеспечить возможность перемещения вверх планшета из герметического зацепления.
11. Способ по п.10, отличающийся тем, что приемник представляет собой сборный приемник с углублениями, соответствующими по порядку каждой колонке.
12. Способ по п.10, отличающийся тем, что приемник представляет собой сливной приемник, и в котором, после сброса вакуума, планшет перемещают в позицию над сборным приемником, а этапы впрыскивания жидкости, перемещения планшета вниз в герметическое зацепление, втягивания жидкости из всех колонок одновременно и сброса вакуума многократно повторяют над и во взаимодействии со сборным приемником.
13. Способ по любому из пп.10-12, отличающийся тем, что, по меньшей мере, одно перемещение планшета осуществляют посредством того, что вводят впрыскивающую иглу в, по меньшей мере, непрямое зацепление с планшетом и перемещают впрыскивающую иглу, чтобы привести планшет в движение для упомянутого одного перемещения.
14. Способ по п.13, отличающийся тем, что зацепление осуществляется между иглой и кареткой, служащей опорой для планшета, для горизонтального перемещения планшета.
15. Способ по п.13, отличающийся тем, что зацепление осуществляется между иглой и средством опускания планшета, которое установлено над планшетом.
16. Способ по п.15, отличающийся тем, что этап впрыскивания жидкости заключается в том, что жидкость впрыскивают через отверстия, которые выполнены сквозь средство опускания планшета с совмещением с некоторыми из колонок.
17. Магазин для подготовки образцов для анализа, содержащий:
раму;
скользящий узел, который установлен с возможностью скольжения в раме и оборудован планшетом, содержащим множество колонок для вмещения образцов через верхнее отверстие колонок;
первый и второй приемники, установленные в раме под скользящим узлом;
средство для избирательного соединения каждого приемника с источником вакуума;
при этом скользящий узел может перемещаться между первой позицией над первым приемником и второй позицией над вторым приемником, отличающийся тем, что скользящий узел снабжен средством зацепления для иглы, причем средство зацепления расположено вне колонок.
18. Магазин по п.17, отличающийся тем, что скользящий узел содержит каретку, служащую опорой для планшета с возможностью его съема, при этом средство зацепления обеспечено на каретке.
19. Магазин по п.18, отличающийся тем, что каретка содержит корпус с верхним краем, продолжающимся вдоль, по меньшей мере, части контура планшета, и, по меньшей мере, часть средства зацепления обеспечена на этом верхнем краю.
20. Магазин по п.19, отличающийся тем, что средство зацепления содержит ряд углублений вдоль поперечного края, относящегося к упомянутому верхнему краю и продолжающегося поперечно направлению скольжения каретки.
21. Магазин по п.18, отличающийся тем, что каретка содержит корпус, в который планшет устанавливается для ограничения перемещения вниз против усилия поджимных пружин, и нажимной элемент, который установлен для вертикального перемещения с упором над планшетом и снабжен, по меньшей мере, частью упомянутого средства зацепления.
22. Магазин по п.21, отличающийся тем, что нажимной элемент снабжен отверстиями, которые совмещаются с некоторыми колонками, расположенными ниже нажимного элемента.
23. Магазин по п.21 или 22, отличающийся тем, что нажимной элемент продолжается вдоль средней линии планшета.
24. Магазин по п.18, отличающийся тем, что выполнен с возможностью сборки последовательной укладкой частей и разборки последовательным съемом упомянутых частей, чтобы, тем самым, обеспечивать возможность быстрого извлечения бывших в употреблении приемников и планшета и быстрой вставки новых приемников и планшета.
25. Устройство для подготовки образцов для анализа, содержащее:
магазин по любому из пп.17-24;
впрыскивающий блок, в свою очередь, содержащий:
i) впрыскивающую головку, снабженную, по меньшей мере, одной впрыскивающей иглой;
ii) приводной механизм для трехмерного перемещения впрыскивающей головки;
iii) управляющее средство для управления приводным механизмом, посредством которого головка последовательно подводится в позиции впрыскивания, в которых игла совмещается с колонками планшета, и в позиции привода планшета, в которых упомянутая игла совмещается с зацепляющими конструкциями и затем приводит в движение планшет для совершения заданного перемещения.
РИСУНКИ
|
|