|
|
(21), (22) Заявка: 2004131197/13, 15.04.2003
(24) Дата начала отсчета срока действия патента:
15.04.2003
(30) Конвенционный приоритет:
03.05.2002 (пп.1-23) US 10/138,598
(43) Дата публикации заявки: 10.06.2005
(46) Опубликовано: 27.08.2008
(56) Список документов, цитированных в отчете о поиске:
US 5478527, 26.12.1995. WO 9931486, 24.06.1999. RU 2158916 C1, 10.11.2000.
(85) Дата перевода заявки PCT на национальную фазу:
03.12.2004
(86) Заявка PCT:
US 03/11757 (15.04.2003)
(87) Публикация PCT:
WO 03/093822 (13.11.2003)
Адрес для переписки:
105064, Москва, ул. Казакова, 16, НИИР Канцелярия “Патентные поверенные Квашнин, Сапельников и партнеры”, пат.пов. В.П.Квашнину
|
(72) Автор(ы):
КОЭН Дэвид (US), КЕЙЛОР Розанн (US), СЕЙРИ Кертис (US)
(73) Патентообладатель(и):
Кимберли-Кларк Ворлдвайд Инк. (US)
|
(54) УСТРОЙСТВА ДЛЯ ДИАГНОСТИКИ НА ОСНОВЕ ДИФРАКЦИИ
(57) Реферат:
Изобретение относится к области молекулярной биологии и физики и может быть использовано для обнаружения анализируемого объекта в среде. На субстратной части, способной рассеивать или отражать свет, формируют слой чувствительного материала. Данный чувствительный материал специфичен к искомому объекту и способен связываться с ним. При облучении чувствительного материала, покрывающего субстратную часть, в присутствии трафарета получают биосенсор, содержащий узор из активных и неактивных областей указанного чувствительного материала. Данный узор позволяет при контакте со средой, содержащей анализируемый объект, и облучении светом наблюдать видимую дифракцию. 2 н. и 21 з.п. ф-лы, 2 ил.
Область техники изобретения
Настоящее изобретение относится, в общем, к области обнаружения анализируемых объектов в среде, в частности к способу получения основанных на дифракции диагностических сенсоров, специфичных к анализируемому объекту, для индикации наличия анализируемого объекта в среде.
Предшествующий уровень техники
Существует много систем и устройств для обнаружения широкого спектра анализируемых объектов в различных средах. Однако многие существующие на данный момент системы и устройства относительно дороги и требуют обученного персонала для выполнения анализа. В данной области техники существует потребность в биосенсорных системах, несложных и недорогих в производстве, способных надежно и с высокой чувствительностью обнаруживать анализируемые объекты. Например, можно сослаться на патенты США №№. 5922550; 6060256 и 6221579 B1.
В промышленности существуют различные подходы к производству биосенсоров. Например, в патенте США №5512131, Kumar, et al. описано устройство, содержащее полимерный субстрат с металлическим покрытием. Слой рецептора, специфичного к анализируемому объекту, наносится методом печати на покрытый субстрат. Когда анализируемый объект связывается с устройством, создается дифракционная картина. Затем для определения наличия дифракционной картины используют устройство визуализации, например спектрометр. Однако недостатком этого метода является тот факт, что дифракционная картина неразличима невооруженным глазом, и для ее наблюдения требуется сложное устройство визуализации. Также это устройство в общем не приспособлено для обнаружения меньших анализируемых объектов, не дающих заметной дифракционной картины.
В патенте США №5482830 Bogart, et al. описано устройство, содержащее субстрат с оптически активной поверхностью, показывающей первый цвет в ответ на попадание на нее света. Первый цвет определяется как спектральное распределение выходящего света. Субстрат также показывает второй цвет, отличающийся от первого. Второй цвет появляется в ответ на тот же свет при наличии на поверхности анализируемого объекта. Смену одного цвета на другой можно измерить либо при использовании инструмента, либо невооруженным глазом. Недостатками этого устройства являются его относительно высокая стоимость и проблемы, связанные с контролем различных слоев, помещенных на подложку субстрата.
Для получения биосенсоров с самособирающимся монослоем были разработаны методы контактной печати. Ближайшим аналогом заявленного изобретения является биосенсор, описанный в патенте США №5922550, содержащий металлизированную пленку, на которую напечатана (методом контактной печати) специфическая предварительно определенная матрица рецептора, специфичного к анализируемому объекту. Материалы рецептора связаны с самособирающимся монослоем и специфичны к конкретному анализируемому объекту или классу анализируемых объектов. Прикрепление целевого анализируемого объекта, способного рассеивать свет, к определенным областям металлизированной пластиковой пленки, на которые напечатаны рецепторы, вызывает дифракцию проходящего и/или отраженного света. Получается дифракционное изображение, которое можно распознать либо невооруженным глазом, либо, как вариант, при помощи сенсорного устройства. В патенте США №6060256 описано похожее устройство, содержащее металлизированную пленку, на которую напечатан специфический предварительно определенный узор рецептора, специфичного к анализируемому объекту. Патент ‘256 не ограничивается самособирающимися монослоями, из него следует, что может быть использован любой рецептор, который может быть химически связан с поверхностью. В изобретении согласно патенту ‘256 использованы методы контактной печати монослоев с узорами при использовании производных веществ, связывающихся с микроорганизмами. Одним из примеров таких производных является тиол. Требуемыми связывающими агентами могут быть тиолированные антитела или фрагменты антител, белки, нуклеиновые кислоты, сахара, углеводы или любые другие соединения, функционально способные связывать анализируемый объект. Производные химически связаны с металлическими поверхностями, такими как металлизированные полимерные пленки, например, через тиол.
Потенциальной проблемой при использовании описанного выше метода контактной печати для получения основанных на дифракции биосенсоров является возможность загрязнения с поверхности печати (т.е. штампа) в процессе печатания. Также существует возможность неровного нанесения или закрашивания веществ из-за изменения давления и контакта, присущих процессу, а также изменения поверхностной энергии.
Настоящее изобретение относится к биосенсорной системе, легкой и недорогой в производстве, способной надежно и с высокой чувствительностью обнаруживать анализируемые объекты и свободной от возможных недостатков, присущих традиционным методам микроконтактной печати.
Краткое содержание изобретения
Объекты и преимущества изобретения будут изложены в нижеследующем описании, или могут быть очевидны из описания, или могут быть выявлены при практическом применении изобретения.
Настоящее изобретение обеспечивает относительно недорогое и, в то же время, чувствительное биосенсорное устройство, способ получения таких биосенсорных устройств и способ обнаружения требуемых анализируемых объектов, находящихся в среде.
Биосенсор содержит субстрат, на который в общем равномерно по всей поверхности субстратной части нанесен слой, содержащий чувствительный материал (т.е. биомолекулы). Субстратом может служить любой из широкого спектра подходящих материалов, включая пластики, пластики и стекло, покрытые металлом, функционализированные пластики и стекло, кремниевые пластины, фольгу, стекло и подобные материалы. Для облегчения процесса производства желательно, чтобы поверхность была гибкой, такой как полимерная пленка. Слой чувствительного материала может быть нанесен любым известным методом, включая погружение, напыление, прокатывание, покрытие методом центрифугирования и любой другой метод, при котором слой чувствительного материала может быть нанесен в целом равномерно по всей поверхности субстрата. Изобретение также включает методы контактной печати для нанесения покрытия при условии, что такие методы применяются способом, исключающим закрашивание и загрязнение при контакте в процессе первоначального покрытия.
Затем в слое чувствительного материала обозначают активные и неактивные области чувствительного материала путем накладывания на субстрат трафарета с последующим облучением субстрата источником энергии, достаточным для дезактивации чувствительного материала, не защищенного трафаретом и подверженного облучающей энергии. Чувствительный материал “дезактивируют” до такой степени, что он разрушается и теряет способность связываться с конъюгированными лигандами, включая искомый анализируемый объект.
Трафарет может содержать любой узор из защищенных или экранированных областей или открытых областей (например, глухие, прозрачные или полупрозрачные области, а также отверстия и щели в структуре трафарета). Открытые участки трафарета определяют узор из неактивных областей чувствительного материала, а экранированные или “защищенные” участки трафарета определяют узор из активных областей чувствительного материала. Таким образом, трафарет служит для того, чтобы экранировать или защитить область слоя чувствительного материала и подвергнуть, по крайней мере, одну прилегающую область действию источника облучающей энергии.
Стоит отметить, что изобретение не ограничивается каким-либо конкретным рисунком, определяемым трафаретом. В сущности, возможна любая комбинация подвергаемых облучению форм или отверстий. В одном из способов осуществления изобретения рисунок определяется элементами диаметром 10 микрон через интервалы приблизительно в 5 микрон по анализируемой поверхности субстрата.
Слой чувствительного материала облучают источником энергии, выбираемым конкретно для дезактивации определенного типа чувствительного материала. Изобретение не ограничивается каким-либо определенным источником энергии. Например, таким источником может быть источник света, например источник ультрафиолетового света (УФ), пучок электронов или источник радиации и подобные.
При последующем контакте биосенсора со средой, содержащей требуемый анализируемый объект, этот объект связывается с чувствительным материалом в активных областях. Затем биосенсор будет дифрагировать пропускаемый свет в дифракционную картину, соответствующую активным областям. Дифракционную картину можно наблюдать невооруженным глазом или, как вариант, при помощи сенсорного устройства.
В том случае, если анализируемый объект не рассевает видимый свет из-за того, что очень мал или не имеет достаточную разницу в коэффициенте преломления по сравнению с окружающей средой, можно использовать элемент, усиливающий дифракцию, такой как полимерные микрочастицы. Эти микрочастицы покрывают связывающим или чувствительным материалом, который также специфически связывается с анализируемым объектом. При последующем связывании анализируемого объекта как с биомолекулами узора слоя чувствительного материала, так и с микрочастицами, получается дифракционное изображение, которое можно наблюдать невооруженным глазом или, как вариант, при помощи сенсорного устройства.
Под термином “дифракция” понимают явление, наблюдаемое, когда волны встречают препятствие, причем возмущение распространяется за пределы геометрической формы объекта. Эффект выражен, если размер объекта того же порядка, что и длина волны. В настоящем изобретении препятствием являются анализируемые объекты (с присоединенными микрочастицами или без них), а волнами – волны света.
В другом способе осуществления изобретения в слой чувствительного материала могут быть включены питательные вещества для определенного класса микроорганизмов. В этом случае возможно обнаружение очень низких концентраций микроорганизмов путем контакта с биосенсором по настоящему изобретению с включенными в него питательными веществами с последующим инкубированием биосенсора в условиях, подходящих для роста связавшихся микроорганизмов. Микроорганизмы подращивают до той стадии, когда их становится достаточно для формирования дифракционной картины.
Настоящее изобретение обеспечивает недорогой, одноразовый биосенсор, который можно производить массово. Биосенсоры согласно настоящему изобретению можно производить в качестве единичных тестов для обнаружения анализируемых объектов или формировать в устройства для множественных тестов. Применение биосенсоров согласно настоящему изобретению включает, без ограничения, обнаружение химических или биологических загрязнений в предметах одежды, таких как подгузники, обнаружение загрязнения микроорганизмами упакованных продуктов питания, таких как фруктовые соки или другие напитки, и применение биосенсоров по настоящему изобретению в диагностике в здравоохранении, например в диагностических наборах для обнаружения антигенов, микроорганизмов и компонентов крови. Следует отметить, что настоящее изобретение не ограничивается каким-либо конкретным способом применения.
Эти и другие свойства и преимущества настоящего изобретения будут очевидны после нижеследующего подробного описания способов применения.
Краткое описание чертежей
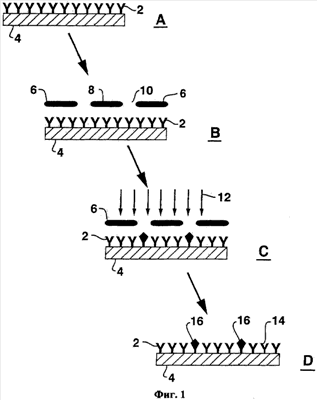
Фиг.1 – схематическое представление метода получения биосенсоров по изобретению в процессе маскирования.
Фиг.2 – фазоконтрастное изображение активных антител к С-реактивному белку в узоре из шестиугольников диаметром 10 мкм и с межцентровыми расстояниями в 15 мкм в биосенсоре по изобретению.
Подробное описание
Далее изобретение будет описано подробно со ссылкой на конкретные способы его осуществления. Способы осуществления приведены для пояснения изобретения и не рассматриваются как ограничивающие его. Например, свойства, описанные или проиллюстрированные как часть одного из способов осуществления, могут применяться в другом способе осуществления, создавая, таким образом, еще один способ. Предполагается, что такие и другие модификации и вариации составляют суть и объем изобретения.
Настоящее изобретение представляет улучшенные биосенсорные устройства и методы использования таких устройств для обнаружения и количественного определения наличия или количества требуемого анализируемого объекта в среде. К анализируемым объектам, которые могут быть обнаружены по настоящему изобретению, относятся, без ограничения, микроорганизмы, такие как бактерии, дрожжи, грибки и вирусы. Биосенсорные устройства по настоящему изобретению относительно недороги и обладают преимуществами перед традиционными биосенсорами, полученными методом микроконтактной печати.
Настоящее изобретение включает, в широком смысле, процесс получения активного узора чувствительного материала, специфичного к анализируемому объекту, на поверхности субстрата путем фотомаскирования субстрата. На поверхность субстрата наносят в целом однородное покрытие чувствительного материала. На субстрат накладывают трафарет, и субстрат вместе с трафаретом облучают источником энергии. По своей сути “трафарет” служит для того, чтобы экранировать, или “защищать”, по крайней мере, одну область или секцию чувствительного материала от облучающей энергии и подвергать, по крайней мере, одну прилегающую секцию действию источника энергии. Например, трафарет может представлять собой в общем прозрачную или полупрозрачную заготовку (например, полоску материала) с каким-либо рисунком из экранированных областей, напечатанным на него или нанесенным каким-либо другим способом. Неэкранированные области трафарета соответствуют неэкранированным областям субстратной части. Иначе, трафарет может просто представлять собой единичный объект, помещенный на субстрат. Область под объектом будет защищенной и определять, таким образом, активную область чувствительного материала, а область вокруг объекта будет подвергаться действию источника энергии и определять, таким образом, область неактивного чувствительного материала. Иначе, объект может иметь любой рисунок отверстий, определяющих, соответственно, неэкранированные области.
Источник энергии выбирают таким образом, что подверженный его действию чувствительный материал инактивируется. Источник энергии существенно разрушает структуру связей чувствительного материала по радикальному механизму. На этапе облучения чувствительный материал под экранированными областями трафарета защищен. Таким образом, после удаления трафарета образуется узор из активных и неактивных областей чувствительного материала. Следует отметить, что под термином “узор” может пониматься также всего одна активная и одна неактивная область. При последующем контакте биосенсора со средой, содержащей требуемый анализируемый объект, этот объект связывается с рецепторами в активных областях. Анализируемый объект вызывает дифракцию проходящего и/или отраженного света с образованием видимой дифракционной картины, соответствующей активным областям. Как обсуждается более подробно ниже, для усиления дифракции от очень малых анализируемых объектов можно использовать усилитель.
К анализируемым объектам, которые можно обнаружить согласно настоящему изобретению, относятся, без ограничения, бактерии; дрожжи; грибки; вирусы; ревматоидный фактор; антитела, включая, без ограничения, IgG, IgM, IgA, IgD и IgE; карциноэмбриональный антиген; антиген стрептококков группы А; вирусные антигены; антигены, ассоциированные с аутоиммунным заболеванием; антигены ПСА (простатический специфический антиген) и CRP (С-реактивный белок); аллергены; опухолевые антигены; антигены стрептококков группы В; антигены ВИЧ I или ВИЧ II; антитела ответа хозяина на эти и другие вирусы; антигены, специфичные к респираторному синцитиальному вирусу (РСВ), или антитела ответа хозяина на вирус; антиген; фермент; гормон; полисахарид; белок; липид; углевод; лекарство или нуклеиновая кислота; виды Salmonella; виды Candida, включая, без ограничения, Candida albicans и Candida tropicalis; Neisseria meningitides групп А, В, С, Y и W подгруппы 135; Streptococcus pneumoniae; E.coli; Haemophilus influenza типа А/В; антиген, полученный из микроорганизмов; гаптен; лекарство, допускающее злоупотребление; лекарственное средство; агент окружающей среды; и антигены, специфичные к гепатиту. В широком смысле под термином “искомый анализируемый объект” можно понимать любой агент, наличие или отсутствие которого в биологическом образце указывает на определенное состояние здоровья или заболевание.
Также предполагается, что в слой чувствительного материала можно включать питательные вещества для конкретного класса микроорганизмов. В этом случае можно обнаружить очень низкие концентрации микроорганизмов путем контакта биосенсора по настоящему изобретению с включенными в него питательными веществами с исследуемой средой и последующей инкубации биосенсора в условиях, подходящих для роста связавшегося микроорганизма. Микроорганизмы подращивают до такой степени, когда становится достаточно организмов для получения дифракционной картины. Конечно, в некоторых случаях микроорганизм присутствует или может размножиться достаточно для формирования дифракционной картины без добавления питательных веществ в активные области чувствительного материала.
Чувствительный материал характеризуется способностью специфически связывать требуемый анализируемый объект или объекты. В качестве чувствительных материалов можно применять различные материалы, ограничение существует только по типам материала, который будет селективно (по отношению к выбранному образцу) комбинироваться с вторичным партнером. К подклассам материалов, попадающих, в общем, в класс чувствительных материалов, относятся токсины, антитела, фрагменты антител, антигены, рецепторы гормонов, паразиты, клетки, гаптены, метаболиты, аллергены, нуклеиновые кислоты, ядерные материалы, аутоантитела, белки крови, клеточный дебрис, ферменты, белки тканей, субстраты ферментов, коферменты, нейронные передатчики, вирусы, вирусные частицы, микроорганизмы, белки, полисахариды, хелатирующие агенты, лекарства, аптамеры, пептиды и любые другие члены специфически связывающейся пары. В этот перечень включены некоторые из различных материалов, которые можно нанести на поверхность субстрата для получения тонкопленочной системы для анализа. В зависимости от анализируемого объекта подбирается чувствительный материал для специфического связывания с объектом.
Матрикс или среда, содержащая анализируемый объект, может представлять собой жидкость, твердое тело или газ, а также может представлять собой физиологическую жидкость, такую как слизистые оболочки, слюна, моча, фекальный материал, ткани, костный мозг, спинно-мозговая жидкость, сыворотка, плазма, цельная кровь, мокрота, буферные растворы, экстрагированные растворы, сперма, вагинальные выделения, околосердечные, желудочные, брюшинные, легочные и другие смывы и подобные жидкости. Анализируемым объектом может быть антиген, антитело, фермент, фрагмент ДНК, целый ген, фрагмент РНК, небольшая молекула, метал, токсин, агент окружающей среды, нуклеиновая кислота, компонент цитоплазмы, компонент пилей или жгутиков, белок, полисахарид, лекарство или любой другой материал. Например, чувствительный материал для бактерий может специфически связывать компонент поверхностной мембраны, белок или липид, полисахарид, нуклеиновую кислоту или фермент. Анализируемым объектом, специфичным для бактерий, может быть полисахарид, фермент, нуклеиновая кислота, компонент мембраны или антитело, продуцируемое хозяином в ответ на бактерии. Наличие или отсутствие анализируемого объекта может указывать на инфекционное заболевание (бактериальное или вирусное), рак или другие заболевания или нарушения метаболизма. Наличие или отсутствие анализируемого объекта может указывать на пищевое отравление или другое токсическое воздействие. Анализируемый объект может указывать на наркотическую зависимость или может позволять отслеживать уровень терапевтических агентов.
Одним из наиболее часто применяемых протоколов исследования, для которого можно использовать настоящий метод, является иммунологический анализ. Однако общие подходы применимы к исследованиям с зондами нуклеиновых кислот, фермент/субстрат и другим исследованиям в формате лиганд/рецептор. В иммунологических исследованиях антитело может служить чувствительным материалом или быть искомым анализируемым объектом. Чувствительный материал, например антитело или антиген, должен образовывать стабильный, относительно плотный реактивный слой на субстратной поверхности устройства для исследования. Если требуется обнаружить антиген, а антитело служит чувствительным материалом, то антитело должно быть специфично к искомому антигену; и антитело (чувствительный материал) должно связывать антиген (анализируемый объект) достаточно сильно так, чтобы антиген оставался на исследуемой поверхности. В некоторых случаях анализируемый объект может не просто связываться с чувствительным материалом, но и может вызывать обнаруживаемую модификацию чувствительного материала. Это взаимодействие может привести к увеличению массы на поверхности исследования или снижению количества чувствительного материала на поверхности. Примером последнего явления служит взаимодействие разрушающего фермента или материала со специфическим иммобилизованным субстратом. В таком случае дифракционную картину можно наблюдать до взаимодействия с анализируемым объектом, при наличии анализируемого объекта дифракционная картина исчезнет. Специфический механизм, по которому осуществляется связывание, гибридизация или взаимодействие анализируемого объекта с чувствительным материалом не является важным для изобретения, но может влиять на условия реакции, применяемые в конечном протоколе исследования.
В дополнение к получению простого дифракционного изображения структура анализируемых объектов может быть такой, которая позволяет получать голографический рисунок и/или смену видимого цвета. Таким образом, появление голограммы или изменение существующей указывает на положительный ответ. Рисунок, получаемый при дифракции проходящего света, может быть любой формы, включая, без ограничения, изменение рисунка с одного на другой при связывании анализируемого объекта с чувствительным материалом. В особенно предпочтительных способах осуществления изобретения дифракционная картина становится различимой менее чем через один час после контакта анализируемого объекта с биосенсорным устройством согласно настоящему изобретению.
Дифракционная решетка, дающая дифракцию света при взаимодействии с анализируемым объектом, должна иметь минимальную периодичность около 1/2 длины волны и показатель преломления, отличный от показателя окружающей среды. Очень малые объекты, такие как вирусы или молекулы, можно обнаружить косвенно, используя более большой “элемент, усиливающий дифракцию”, специфичный к очень малому объекту, например микрочастицу. Один из способов осуществления изобретения, при котором возможно обнаружение малого анализируемого объекта, включает покрытие усиливающей частицы, например латексной или полистироловой бусины, чувствительным материалом, например антителом, специфически связывающимся с искомым анализируемым объектом. К частицам, которые можно использовать в настоящем изобретении, относятся, без ограничения, стекло, целлюлоза, синтетические полимеры или пластики, латекс, полистирол, поликарбонат, белки, бактериальные или грибковые клетки, кварц, ацетат целлюлозы, углерод и подобные. Желательно, чтобы частицы были сферической формы, однако, структурная и пространственная конфигурация частиц не критична для настоящего изобретения. Например, частицы могут представлять собой осколки, эллипсоид, кубы, произвольные и подобные формы. Желательный размер частиц находится в пределах диаметра приблизительно от 0,1 микрона до 50 микрон, предпочтительно от 0,1 до 2,0 микрон. Состав частицы не критичен для настоящего изобретения.
Желательно, чтобы слой чувствительного материала на субстрате специфически связывался с эпитопом на анализируемом объекте, отличным от эпитопа, связывающегося с усиливающей частицей. Так, для обнаружения малого анализируемого объекта, например вирусных частиц, в среде эту среду сначала вводят в контакт с латексными частицами, покрытыми вирусспепифическим чувствительным материалом. Искомые малые объекты в среде связываются с латексными частицами. Затем латексные частицы по желанию промывают и вводят в контакт с биосенсорной пленкой с узором из активных областей чувствительного материала, содержащих вирусспецифические антитела. Антитела связываются с вирусными частицами на латексных бусинах, иммобилизуя, таким образом, латексные бусины в виде узора из активных областей на пленке. Так как связанные латексные бусины вызывают дифракцию видимого света, образуется дифракционная картина, указывающая на наличие в жидкости вирусных частиц. Другие комбинации с применением частиц, усиливающих дифракцию, описаны, например, в патенте США №622579.
В качестве субстрата, на который наносят чувствительный материал, может служить любой из широкого спектра материалов. Такие материалы хорошо известны специалистам в данной области техники. Например, субстрат может быть сформован из любого из ряда подходящих пластиков, пластиков или стекла, покрытых металлом, функционализированных пластиков или стекла, кремниевых пластин, фольги, стекла и подобных материалов. Было обнаружено, что для описанного здесь процесса формирования узора методом фотолитографии вместо жесткого субстрата хорошо подходят пленки из термопластиков. К таким пленкам относятся, без ограничения, полимеры, например полиэтилен-терефталат (MYLAR®), акрилонитрил-бутадиен-стирол, сополимер акрилонитрил-метилакрилат, целлофан, целлюлозные полимеры, такие как этилцеллюлоза, ацетат целлюлозы, ацетат бутират целлюлозы, пропионат целлюлозы, триацетат целлюлозы, полиэтилен, сополимеры полиэтилен – винилацетат, сополимеры иономеры (полимеры этилена) полиэтилен – нейлон, полипропилен, полимеры метилпентена, поливинилфторид и ароматические полисульфоны. Предпочтительно, чтобы оптическая прозрачность пластиковой пленки составляла более 80 процентов. Другие подходящие термопластики и производители описаны, например, в справочных изданиях, таких как Modem Plastics Encyclopedia (Современная Энциклопедия Пластиков) (McGraw-Hill Publishing Co., New York 1923-1996).
В одном из способов осуществления изобретения пленка из термопластика может иметь металлическое покрытие. Оптическая прозрачность пленки с металлическим покрытием может составлять приблизительно от 5 до 95 процентов. Более предпочтительная оптическая прозрачность термопластиковой пленки по настоящему изобретению составляет приблизительно от 20 до 80 процентов. В предпочтительном способе осуществления настоящего изобретения оптическая прозрачность термопластиковой пленки составляет, по крайней мере, приблизительно 80 процентов, а толщина металлического покрытия такова, чтобы поддерживать оптическую прозрачность больше 20 процентов, так что дифракционные картины могут быть получены либо в отраженном, либо в проходящем свете. Это соответствует толщине металлического покрытия около 20 нанометров. Однако в других способах осуществления изобретения толщина металла может составлять от 1 до 1000 нанометров.
Предпочтительным металлом для нанесения на пленку является золото. Однако можно применять серебро, алюминий, хром, медь, железо, цирконий, платину, титан и никель, а также оксиды этих металлов. Для получения металлизированных слоев можно использовать оксид хрома.
Чувствительный материал можно наносить на субстрат любым стандартным методом. Материал наносят таким образом, что он в целом равномерно покрывает всю (например, верхнюю) поверхность субстрата. Желательно применение неконтактных способов нанесения чувствительного материала для устранения возможности загрязнения при контакте в процессе нанесения. К подходящим способам нанесения относятся, без ограничения, погружение, напыление, прокатывание, покрытие методом центрифугирования и любой другой метод, при котором слой чувствительного материала может быть нанесен в целом равномерно по всей поверхности исследования субстрата. Простая физическая адсорбция может происходить на многих материалах, таких как полистирол, стекло, нейлон или другие материалы, хорошо известных специалисту в данной области техники. Один конкретный способ иммобилизации слоя чувствительного материала, специфичного к анализируемому объекту, включает молекулярное связывание, такое, которое возможно между тиолом или дисульфидсодержащими соединениями и золотом. Обычно золотое покрытие толщиной приблизительно от 5 до 2000 нанометров нанесено на кремниевую пластину, стекло или полимерную пленку (например, пленку MYLAR®). Специфичный к анализируемому объекту рецептор прикрепляется к поверхности золота при контакте с раствором чувствительного материала.
Изобретение включает также и методы контактной печати для нанесения покрытия, хотя они не являются предпочтительными. Выбранный метод должен минимизировать количество чувствительного материала, требуемого для покрытия большого числа поверхностей исследования, и поддерживать стабильность/функциональность чувствительного материала при нанесении. Метод также должен позволять нанесение или прикрепление чувствительного материала к субстрату равномерным и воспроизводимым образом.
Также предполагается, что слой чувствительного материала может быть сформирован на субстрате в виде самособирающихся монослоев из алкантиолятов, карбоновых кислот, гидроксамовых кислот и фосфоновых кислот на металлизиованных пленках из термопластика. Самособирающиеся монослои несут на себе связанный с ними чувствительный материал. Для более подробного описания таких самособирающихся монослоев и методов их получения можно сослаться на патент США №5922550. Патент ‘550 включен сюда во всей своей полноте.
Трафарет может быть сформован из любого подходящего материала, который защищает находящуюся под ним часть субстрата от источника облучающей энергии. Материалом, оказавшимся пригодным для создания узора из активных и неактивных областей чувствительного материала на покрытой золотом пленке MYLAR®, покрытой раствором антитела, причем источником энергии является ультрафиолетовый свет, является прозрачная или полупрозрачная полимерная пленка (такая как MYLAR®) с напечатанным на нее узором из экранированных или защищенных областей. Такой тип трафарета пригоден для источников света с длиной волны, равной или большей 330 нанометров. Для источников света с длиной волны меньше 330 нанометров можно применять трафарет из кварца или кварцевого стекла с экранированными областями, покрытыми хромом или другим металлом. Желательно подобрать узор отверстий и размер так, чтобы максимизировать видимый контраст дифракции между активными и неактивными областями. Было обнаружено, что наиболее подходящим является вариант, при котором активные области в общем круглые с диаметром около 10 микрон и расстоянием между ними около 5 микрон.
Для облучения комбинации субстрата и трафарета можно выбрать любой подходящий источник энергии. Такой источник выбирают для дезактивации конкретного типа чувствительного материала. Источником энергии может быть, например, источник света, например источник ультрафиолетового (УФ) света, пучок электронов, источник радиации и подобные. В одном конкретном способе осуществления изобретения чувствительным материалом является материал, основанный на белке, например антителе, а дезактивирующим источником энергии является источник УФ света. Сенсор подвергают действию УФ источника в течение периода времени, достаточного для дезактивации антител. Изобретение не ограничивается какими-либо конкретными длинами волн УФ или отрезками времени воздействия. Длины волн и временные интервалы могут изменяться в зависимости от конкретного типа чувствительного материала. К другим подходящим источникам энергии относятся перестраиваемые лазеры, пучки электронов, различные типы пучков радиации, включая источники гамма- и рентгеновского излучения, различные интенсивности и длины волн света, включая световые пучки достаточной мощности на уровне длин волн микроволн и ниже и тому подобное. Следует понимать, что для дезактивации конкретного антитела или другого типа биомолекул может быть применимо любое количество источников энергии. Следует предпринять предосторожности, чтобы источник энергии не повреждал (например, не плавил) субстрат или трафарет.
На Фиг.1 схематически представлен один из способов получения биосенсоров согласно изобретению. На этапе А представлены биомолекулы, наносимые в виде слоя чувствительного материала 2 на субстратную часть 4. На этапе В представлен трафарет 6, наложенный на субстратную часть 4. Трафарет 6 содержит открытые, или подвергаемые излучению, области 10 и экранированные, или защищенные, области 8. На этапе С представлена комбинация субстратной части 4 и трафарета 6, облучаемая источником энергии 12. Можно видеть, что области субстрата 4, находящиеся под экранированными областями 8 трафарета 6, защищены от воздействия источника энергии 12. Биомолекулы, подверженные действию источника энергии 12 через открытые области 10, дезактивируются источником энергии 12, а биомолекулы, защищенные экранированными областями 8 трафарета 6, остаются активными. На этапе D представлен биосенсор после удаления трафарета 6. Биосенсор содержит активные области 14 чувствительного материала 2 и дезактивированные области 16. Узор из активных 14 и дезактивированных 16 областей соответствует узору из открытых 10 и экранированных 8 областей трафарета 6.
Биосенсоры согласно настоящему изобретению имеют широкое применение в ряде областей. Биосенсоры применяются, без ограничения, для обнаружения химического или биологического загрязнения предметов одежды, например подгузников, обнаружения в общем загрязнения микроорганизмами упакованных продуктов питания, например мясных продуктов, фруктовых соков и других напитков, а также биосенсоры по настоящему изобретению применяются в диагностике, например в диагностических наборах для обнаружения белков, гормонов, антигенов, ДНК, микроорганизмов и компонентов крови. Настоящее изобретение также можно применять для обнаружения загрязнений на контактных линзах, очках, оконных стеклах, фармацевтических сосудах, контейнерах с растворителями, бутылках с водой, перевязочном материале, салфетках и подобном. В одном из способов осуществления настоящее изобретение представлено в виде щупа, на конце которого находится субстрат с нанесенным узором. При использовании щуп погружают в жидкость, в которой может находиться анализируемый объект, и оставляют на несколько минут. Затем щуп удаляют, а потом либо проецируют свет через субстрат, либо наблюдают субстрат в отраженном свете. Если наблюдается дифракционная картина, значит анализируемый объект присутствует в жидкости.
В другом способе осуществления изобретения на одной подложке конструируют тест для нескольких анализируемых объектов. На полоске может быть несколько субстратных секций с узорами. Каждая секция содержит свой чувствительный материал, отличающийся для разных анализируемых объектов. Можно видеть, что настоящее изобретение может быть реализовано в различных формах с рядом субстратов с узорами, что позволяет пользователю биосенсорного устройства по настоящему изобретению обнаруживать наличие в среде различных анализируемых объектов при помощи одного теста.
В другом способе осуществления биосенсор может быть прикреплен к наклейке или бирке на клеевой основе, которые затем можно помещать на твердую поверхность или стенку контейнера. Биосенсор можно помещать на внутреннюю поверхность контейнера, например упаковки с едой или стеклянного сосуда. Затем можно визуально наблюдать за биосенсором для обнаружения микробного загрязнения.
Далее изобретение иллюстрируется примером, который никоим образом не должен рассматриваться как ограничивающий рамки изобретения. Следует понимать, что могут существовать другие различные способы осуществления изобретения, их модификации и эквиваленты, которые, после прочтения приведенного здесь описания изобретения, могут предложить специалисты в данной области техники, не выходя за объем и сущность настоящего изобретения.
Пример
Предметное стекло для микроскопа 75×50 мм (Coming) покрывают полистиролом и используют в качестве субстрата для формирования рисунка методом фотолитографии. Сначала стекло промывают ацетоном. После высушивания стекло подвергают действию насыщенного раствора гидроксида калия в этаноле в течение 1 минуты. Затем стекло промывают водой, потом этанолом, а затем высушивают продуванием фильтрованным воздухом. Затем стекло обрабатывают гексаметилдисилазаном в течение 1 минуты и высушивают центрифугированием при 3000 об/мин. Затем на стекло наносят 2-процентный раствор полистирола с молекулярной массой 280000 в толуоле и высушивают центрифугированием при 1200 об/мин. Стекло, покрытое полистиролом, на 5 минут погружают в раствор моноклонального антитела к С-реактивному белку (Biospacific, #А58040136Р, lot# A0640) с концентрацией 0,5 мг/мл. Затем стекло промывают водой, фильтрованной через 0,2 мкм фильтр, и высушивают продуванием фильтрованным воздухом.
На слой антител наносят узор из активных и неактивных зон методом фотолитографии, путем воздействия света с длиной волны 222 нм в течение 4 минут (Heraeus Noblelight, Type VG) через фототрафарет. Фототрафарет “хром на кварце” получают непосредственным воздействием пучка электронов в виде узора, представляющего собой регулярную решетку шестиугольников диаметром 5 мкм с межцентровыми расстояниями 15 мкм (позитивное изображение). Покрытое антителами стекло приводят в тесный контакт с трафаретом при использовании вакуумной рамки. Для коллимирования света используют плоско-выпуклую линзу из кварцевого стекла.
Полученный рисунок активных и неактивных зон наблюдают при использовании иммуноферментного анализа, который дает окрашенный осадок. Раствор С-реактивного белка, ковалентно связанного с пероксидазой хрена, с концентрацией 1 мкг/мл (Dako, #Р0227, lot#074-301) вводят в реакцию с поверхностью антител с нанесенным узором на 10 минут, а затем промывают PBS (50 мМ фосфатный буфер, рН 7,4, 150 мМ хлорид натрия). Затем стекло высушивают продуванием фильтрованным воздухом. Остатки пероксидазы хрена (локализованные в активных зонах посредством узнавания антителом С-реактивного белка) визуализируют осаждением тетраметилбензидином (микропланшетный пероксидазный субстрат KPL, #50-76-04 и мембранный энхансер KPL, #50-77-01).
Рисунок осадка затем наблюдают, используя оптическую микроскопию. На Фиг.2 приведено фазоконтрастное изображение активных антител к С-реактивному белку в рисунке из шестиугольников диаметром 5 мкм и межцентровыми расстояниями 15 мкм.
Формула изобретения
1. Биосенсор, включающий:
субстратную часть, способную рассеивать и отражать свет;
слой чувствительного материала, в целом равномерно покрывающий и находящийся в непосредственном контакте со стороной указанной субстратной части, причем чувствительный материал является специфичным к искомому объекту и выполнен чувствительным к анализируемому объекту и способен связываться с ним;
узор из способных к связыванию с указанным анализируемым объектом активных областей и неспособных к связыванию с указанным анализируемым объектом неактивных областей указанного чувствительного материала, образованный на указанном слое, причем активные и неактивные области формируются процессом маскирования, когда на указанную субстратную часть накладывают трафарет таким образом, что области, которые открыты при использовании трафарета, образуют указанный узор из неактивных областей указанного чувствительно материала, а указанные области, защищенные трафаретом, образуют указанный узор из активных областей указанного чувствительного материала, при этом указанные активные области составляют по меньшей мере 10 мкм по размеру и выбраны, чтобы получить явно обнаруживаемую дифракционную картину и видимую дифракцию при контакте со средой, содержащей анализируемый объект, и при облучении светом; и указанный узор из активных и неактивных областей формируют для того, чтобы указанный искомый анализируемый объект после связывания с указанным чувствительным материалом в указанных активных областях обеспечивал дифракцию проходящего или отраженного света в виде дифракционной картины, соответствующей указанным активным областям, и присутствие анализируемого объекта является явно обнаруживаемым из указанной дифракционной картины.
2. Биосенсор по п.1, в котором указанный субстрат содержит материал из перечня материалов, включающих пластики, пластики и стекло, покрытые металлом, функционализированные пластики и стекло, кремневые пластины, стекло и фольгу.
3. Биосенсор по п.1, в котором указанная субстратная часть содержит полимерную пленку, покрытую металлом.
4. Биосенсор по п.3, в котором указанная полимерная пленка содержит полиэтилентерефталат.
5. Биосенсор по п.3, в котором указанный металл выбирают из группы, включающей золото, серебро, хром, никель, платину, алюминий, железо, медь, титан, оксид золота, оксид хрома, оксид серебра или цирконий.
6. Биосенсор по п.3, в котором указанный металл является золотом.
7. Биосенсор по п.1, в котором основой указанной чувствительного материала является белок.
8. Биосенсор по п.7, в котором указанный чувствительный материал представляет собой антитело.
9. Биосенсор по п.1, в котором указанный чувствительный материал представляет собой, по меньшей мере, один из следующих материалов: антигены, антитела, нуклеотиды, хелатирующие агенты, ферменты, бактерии, дрожжи, грибки, вирусы, бактериальные пили, компоненты бактериальных жгутиков, нуклеиновые кислоты, полисахариды, липиды, белки, углеводы, металлы, гормоны, аптамеры, пептиды и соответствующие рецепторы к этим материалам.
10. Биосенсор по п.1, в котором указанный искомый анализируемый объект представляет собой, по крайней мере, один из следующих объектов: бактерия, дрожжи, грибок, вирус, ревматоидный фактор, антитела IgG, IgM, IgA, IgD и IgE, карциноэмбриональный антиген, антиген стрептококка группы А, вирусные антигены, антигены, ассоциированные с аутоиммунным заболеванием, аллергены, опухолевые антигены, антигены стрептококка группы В, антигены ВИЧ I или ВИЧ II, антитела к вирусам, антигены, специфичные к РСВ, антитело, антиген, фермент, гормон, полисахарид, белок, липид, углевод, лекарство, нуклеиновая кислота, Neisseria meningitides групп А, В, С, Y и W подгруппы 135, Streptococcus pneumoniae, E.coli K1, Haemophilus influenza типа А/В, антиген, полученный из микроорганизмов, антигены ПСА и CRP, гаптен, лекарство, допускающее злоупотребление, лекарственное средство, агенты окружающей среды или антигены, специфичные к гепатиту.
11. Способ получения биосенсора, включающий следующие этапы:
формирование слоя чувствительного материала, в целом равномерно покрывающего и находящегося непосредственно на поверхности субстратной части, способной рассеивать или отражать свет, причем слой содержит чувствительный материал, который является специфичным к искомому анализируемому объекту и выполнен чувствительным к анализируемому объекту и способен связываться с ним;
установка трафарета на поверхность субстратной части, покрытую указанным чувствительным материалом, причем конфигурация трафарета таковы, чтобы закрывать, по крайней мере, одну находящуюся под ним область указанного чувствительного материала на субстратной части и открывать, по крайней мере, одну прилежащую область, при этом указанный трафарет формируют из материала, который защищает находящуюся под ним часть субстрата от облучающего источника энергии;
облучение комбинации субстратной части и трафарета источником энергии, достаточной для дезактивации чувствительного материала в областях, которые открыты при использовании трафарета;
удаление трафарета с субстратной части; при этом
образуется узор из активных и неактивных областей чувствительного материала, причем неактивные области соответствуют областям, открытым при использовании трафарета, а активные области соответствуют областям, находящимся под трафаретом, при этом указанные активные области составляют по меньшей мере более чем 10 мкм по размеру, чтобы получить явно обнаруживаемую дифракционную картину при контакте со средой, содержащей анализируемый объект.
12. Способ по п.11, в котором субстратную часть выбирают из группы материалов, включающей пластики, пластики и стекло, покрытые металлом, функционализированные пластики и стекло, кремневые пластины, стекло и фольгу.
13. Способ по п.11, в котором указанная субстратная часть содержит полимерную пленку, покрытую металлом.
14. Способ по п.13, в котором указанная полимерная пленка представляет собой полиэтилентерефталат.
15. Способ по п.13, в котором металл выбирают из группы, включающей золото, серебро, хром, никель, платину, алюминий, железо, медь, титан, оксид золота, оксид хрома, оксид серебра или цирконий.
16. Способ по п.13, в котором металл является золотом.
17. Способ по п.16, включающий покрытие полимерной пленки слоем золота толщиной приблизительно от 1 до 1000 нм.
18. Способ по п.11, в котором основой чувствительного материала является белок.
19. Способ по п.17, в котором чувствительный материал представляет собой антитело.
20. Способ по п.11, в котором субстратную часть облучают УФ светом с длиной волны, достаточной для дезактивации чувствительного материала, подвергаемого облучению через отверстия трафарета.
21. Способ по п.11, в котором чувствительный материал представляет собой, по крайней мере, один из следующих материалов: антигены, антитела, нуклеотиды, хелатирующие агенты, ферменты, бактерии, дрожжи, грибки, вирусы, бактериальные пили, компоненты бактериальных жгутиков, нуклеиновые кислоты, полисахариды, липиды, белки, углеводы, металлы, гормоны, аптамеры, пептиды и соответствующие рецепторы к этим материалам.
22. Способ по п.11, в котором искомый анализируемый объект представляет собой, по крайней мере, один из следующих объектов: бактерия, дрожжи, грибок, вирус, ревматоидный фактор, антитела IgG, IgM, IgA, IgD и IgE, карциноэмбриональный антиген, антиген стрептококка группы А, вирусные антигены, антигены, ассоциированные с аутоиммунным заболеванием, аллергены, опухолевые антигены, антигены стрептококка группы В, антигены ВИЧ I и ВИЧ II, антитела к вирусам, антигены, специфичные к РСВ, антитело, антиген, фермент, гормон, полисахарид, белок, липид, углевод, лекарство, нуклеиновая кислота, Neisseria meningitides групп А, В, С, Y и W подгруппы 135, Streptococcus pneumoniae, E.coli Kl, Haemophilus influenza типа А/В, антиген, полученный из микроорганизмов, антигены ПСА и CRP, гаптен, лекарство, допускающее злоупотребление, лекарственное средство, агенты окружающей среды или антигены, специфичные к гепатиту.
23. Способ по п.11, также включающий образование множества отверстий в трафарете в виде требуемого узора, причем эти отверстия определяют узор из неактивных областей.
РИСУНКИ
|
|