|
|
(21), (22) Заявка: 2007109988/11, 19.03.2007
(24) Дата начала отсчета срока действия патента:
19.03.2007
(46) Опубликовано: 27.08.2008
(56) Список документов, цитированных в отчете о поиске:
RU 2124712 C1, 01.10.1999. КОПИЛЕВИЧ Э.В. и др. Диагностика подвески автомобилей. – М.: Транспорт, 1974, с.40, 41, 46. SU 732721 А, 05.05.1980. FR 2219410 А, 30.09.1974. ЕР 0226981 А, 01.07.1987.
Адрес для переписки:
454080, г.Челябинск, пр. им. В.И. Ленина, 76, ЮУрГУ, технический отдел
|
(72) Автор(ы):
Киряков Алексей Геннадьевич (RU), Дубровский Анатолий Федорович (RU), Дубровский Сергей Анатольевич (RU), Путин Валентин Александрович (RU), Булаев Антон Сергеевич (RU), Водянников Александр Николаевич (RU)
(73) Патентообладатель(и):
Государственное образовательное учреждение высшего профессионального образования “Южно-Уральский государственный университет” (RU)
|
(54) СТЕНД ДЛЯ ИСПЫТАНИЯ ВЕДУЩИХ ОСЕЙ АВТОМОБИЛЯ
(57) Реферат:
Изобретение относится к области транспортного машиностроения, а именно к методам стендовых испытаний подвески автомобиля, и может быть использовано, в частности, при диагностике ведущих осей, преимущественно переднеприводных автомобилей, в условиях автосервиса. Стенд включает основание, шарнирно смонтированные опорно-беговые барабаны для установки исследуемой оси транспортного средства, привод, нагружатель, который непосредственно связан с одним из барабанов. Барабаны выполнены цельными, со съемными цапфами по бокам. На поверхности одного барабана по всей длине образующей закреплен съемный упор, профиль которого может быть различным: синусоидальным, прямоугольным, треугольным и т.п. На поверхности второго барабана может быть выполнена вогнутость, соответствующая профилю съемного упора первого барабана. В результате испытания приближаются к реальным дорожным условиям при относительной простоте конструкции стенда. 4 з.п. ф-лы, 3 ил.
Изобретение относится к области транспортного машиностроения, а именно к методам стендовых испытаний подвески автомобиля, и может быть использовано, в частности, при диагностике ведущих осей, преимущественно переднеприводных автомобилей в условиях автосервиса.
Известен стенд диагностики автомобиля методом сбрасывания [1. Э.В.Копилевич, М.А.Пурник, С.А.Федоров. Диагностика подвески автомобилей. М.: Транспорт, 1974. – стр.40, рис.17]. В указанном стенде автомобиль въезжает на препятствие клиновидной формы. Соскакивая с него, подрессоренная часть автомобиля начинает совершать на подвеске свободные затухающие колебания, которые регистрируются устройством, закрепленным на крыле автомобиля.
Недостатком указанного устройства является невозможность имитации удара в полном объеме, происходящего в реальных условиях, так как не учитывается удар в продольном направлении.
Известен стенд диагностики подвески автомобиля, который создает вынужденные колебания с эксцентричным кулачком [1, стр.41, рис.19]. Автомобиль заезжает на клиновидные опоры, при этом колесо плотно прижимается к роликам и к эксцентричному кулачку. При включении электродвигателя ведущий шкив передает вращение эксцентричному кулачку, который вызывает вынужденные гармонические колебания автомобиля.
Недостатком данного устройства является отсутствие способности имитации неровности дороги синусоидального характера.
Известен ленточный стенд диагностики подвески автомобиля, который создает вынужденные колебания [1, стр.46, рис.24]. Стенд имеет раму, на которой смонтированы опорные барабаны и натяжной барабан. Натяжное устройство позволяет регулировать натяжение бесконечной ленты. Между барабанами имеются опорные площадки, предотвращающие провисание ленты. Неровности, имитирующие дорожные условия, подаются на ленту специальным сбрасывателем. Автомобиль устанавливается колесами на бесконечную ленту. Недостатками данного устройства является его громоздкость, высокая стоимость.
Наиболее близким к заявляемому относится устройство для испытания передних осей автомобилей, содержащее основание, беговой барабан с подшипниковыми опорами. В устройстве беговой барабан выполнен цельным со съемными цапфами по бокам и сменными неравновеликими по высоте планками на поверхности. При вращении бегового барабана неравновеликие по высоте планки взаимодействуют с колесами исследуемой оси и обеспечивают вибрацию и динамическую нагрузку, эквивалентную дорожным условиям [RU 2124712 С1. Устройство для испытания передних осей автомобиля. G01M 17/04, 01.10.1999, прототип].
К недостаткам прототипа относятся его высокая стоимость, громоздкость, высокое потребление электроэнергии.
В основу изобретения положена техническая задача, заключающаяся в расширении диапазона условий испытаний, повышении достоверности получаемых данных при относительной простоте конструкции и снижении затрат на испытания.
Указанная задача решается тем, что стенд для испытания ведущих осей автомобиля, содержащий основание, опорно-беговой барабан, привод, нагружатель, фиксаторы, датчик частоты вращения, комплексное измерительное устройство, электронное регистрирующее устройство, согласно изобретению снабжен вторым беговым барабаном с подшипниковыми опорами, при этом на поверхности одного из барабанов по всей длине образующей закреплен съемный упор.
Профиль съемного упора может быть выполнен различного профиля: синусоидальным, прямоугольным, треугольным и т.п.
Кроме того, на поверхности второго барабана может быть выполнена вогнутость, соответствующая профилю упора первого барабана, глубина h и ширина L которой равна высоте и ширине упора.
Особенность заявленного стенда в том, что он позволяет проводить испытания в широком диапазоне нагрузок, имитирующих дорожные условия, и получать достоверные данные при относительной простоте конструкции и небольших затратах.
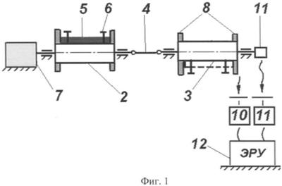
Сущность изобретения поясняется чертежами, где на фиг.1 изображена схема стенда (вид сверху), на фиг.2 – схема стенда (вид слева), на фиг.3 – сечения второго барабана: А – с упором синусоидального профиля, Б – с упором прямоугольного профиля, В – с упором треугольного профиля, Г – с вогнутостью.
Стенд для испытания ведущих осей автомобиля состоит из основания 1, на которое крепятся опорно-беговые барабаны 2 и 3, вращающиеся на подшипниках. Беговые барабаны приводятся в действие от ведущих колес исследуемой оси переднеприводного автомобиля, каждое из которых установлено на соответствующем опорно-беговом барабане. Они жестко связаны между собой с помощью кардана 4. На одном из барабанов, например, 2 закреплен съемный упор 5, который крепится к барабану с помощью болтов 6. Для более полной имитации дорожных условий и облегчения установки автомобиля стенд снабжен нагружателем 7, который создает дополнительное сопротивление в месте контакта колеса и бегового барабана. Нагружатель непосредственно связан с одним из барабанов. Во избежание падения автомобиля со стенда при испытаниях беговые барабаны снабжены отбойниками 8. Задние колеса автомобиля фиксируются с помощью упоров 9. Также стенд содержит комплексное измерительное устройство 10, датчик частоты вращения 11, электронное регистрирующее устройство 12.
Для расширения диапазона дорожных условий испытаний на втором беговом барабане 3 выполнена вогнутость 13, которая может быть расположена в противофазе со съемным упором на первом барабане.
Испытания осуществляются следующим образом.
После установки передней оси транспортного средства на беговые барабаны 2 и 3, его закрепления с помощью упоров 9 запускается двигатель автомобиля, ведущие колеса передают вращающий момент опорно-беговым барабанам. При вращении барабана упор 5 в виде планки набегает на колесо, в результате передняя ось автомобиля нагружается вертикальными колебаниями. Комплексное измерительное устройство 10 фиксирует амплитуду перемещения кузова, диапазоны частот колебания, величину ускорений. Данные от датчика частоты вращения 11 и устройства 10 поступают в электронное регистрирующее устройство 12.
При установке на поверхность бегового барабана 2 съемного упора 5 синусоидального профиля имитируется ситуация, при которой автомобиль наезжает на препятствие в виде кочки, «лежачего полицейского». Колесо при этом не отрывается от поверхности, и детали подвески не испытывают серьезного нагружения. Съемный упор 5 прямоугольного сечения позволяет создать ситуацию, когда автомобиль наезжает на кирпич. Детали подвески испытывают при этом пиковые нагрузки: в момент заезда колеса на препятствие и съезда с него.
Самый опасный вид нагружения моделируется с помощью съемного упора 5 треугольного сечения. В этом случае шина испытывает серьезные нагрузки, что нередко приводит к ее разрыву.
При выполнении на поверхности второго барабана 3 вогнутости 13, имитирующей ситуацию, при которой колесо автомобиля попадает в выбоину, детали подвески испытывают сложные нагрузки.
Таким образом, результаты испытания приближаются к реальным дорожным условиям при относительной простоте конструкции и небольших затратах.
Формула изобретения
1. Стенд для испытания ведущих осей автомобиля, содержащий основание, опорно-беговой барабан с подшипниковыми опорами, привод, нагружатель, фиксаторы, датчик частоты вращения, комплексное измерительное устройство, электронное регистрирующее устройство, отличающийся тем, что он снабжен вторым беговым барабаном с подшипниковыми опорами, при этом на поверхности одного из барабанов по всей длине образующей закреплен съемный упор.
2. Стенд по п.1, отличающийся тем, что профиль съемного упора выполнен синусоидальным.
3. Стенд по п.1, отличающийся тем, что профиль съемного упора выполнен прямоугольным.
4. Стенд по п.1, отличающийся тем, что профиль съемного упора выполнен треугольным.
5. Стенд по п.1, или 2, или 3, отличающийся тем, что на поверхности второго барабана выполнена вогнутость, соответствующая профилю съемного упора первого барабана, глубина и ширина которой равна высоте и ширине упора.
РИСУНКИ
|
|