|
|
(21), (22) Заявка: 2006139420/28, 07.11.2006
(24) Дата начала отсчета срока действия патента:
07.11.2006
(46) Опубликовано: 27.08.2008
(56) Список документов, цитированных в отчете о поиске:
RU 45775 U1, 27.05.2005. RU 33222 U1, 10.10.2003. SU 1791601 A1, 30.01.1993.
Адрес для переписки:
614051, г.Пермь, ул. Юрша, 3, кв.17, В.Н. Зуеву
|
(72) Автор(ы):
Зуев Валентин Никитович (RU), Силина Ольга Валентиновна (RU)
(73) Патентообладатель(и):
Зуев Валентин Никитович (RU), Силина Ольга Валентиновна (RU)
|
(54) ДАТЧИК НАТЯЖЕНИЯ КАНАТА
(57) Реферат:
Изобретение относится к измерительной технике и может быть использовано для определения натяжения гибких связей, в частности канатов. Устройство включает корпус с установленным в нем преобразователем, упругий элемент, прикрепленный к корпусу преобразователя, прижимное устройство, прижимающее гибкий орган к концу упругого элемента. При этом к другому концу упругого элемента прикреплена стойка и упор, воздействующий на вход преобразователя. На опорной поверхности стойки установлен фиксатор положения каната, выполненный в виде конуса. Прижимное устройство выполнено в виде пластины с центральным продольным углублением. Технический результат заключается в повышении точности измерений, а также упрощении конструкции. 3 з.п. ф-лы, 5 ил.
Изобретение относится к измерительной технике и может быть использовано для определения натяжения неподвижного каната, например, на подъемниках, применяемых при текущем и капитальном ремонте скважин.
Известен датчик натяжения неподвижного гибкого органа, содержащий прижимно-прогибочное устройство, включающее две стойки с вырезами для укладки гибкого органа, ложемент, установленный на упругом элементе, скобу для прижатия гибкого органа к ложементу, преобразователь механической величины в электрическую. Упругий элемент имеет внутреннюю цилиндрическую полость, на одном конце которой в поперечном сечении размещена мембрана с жесткой консольной балкой и преобразователем, а на другом конце цилиндрической полости расположен упор, взаимодействующий с концом консольной балки (см. патент RU 2195637, МКИ 7 G01L 5/10, 5/06, 5/04).
Данное устройство позволяет измерять силу натяжения каната, однако это устройство имеет низкую точность, сложно в исполнении и ненадежно при эксплуатации.
Известно силоизмерительное устройство для измерения натяжения гибкого органа, включающее прижимное устройство, зажимающее его на заданной длине, и жестко скрепленное с датчиком силы, включающим упругий элемент, один конец которого жестко скреплен с корпусом датчика силы, имеющим внутреннюю полость с размещенными в ней преобразователем перемещения или силы в электрическую величину, к другому концу упругого элемента жестко прикреплена стойка с упором, воздействующим на входной параметр преобразователя (см. патент RU №45775 на полезную модель МКИ 7, Е21В 47/00). Данный патент взят за прототип.
Данное устройство позволяет измерять натяжение каната.
Однако данное устройство обладает низкой точностью измерений. В данном устройстве силу, воздействующую на вход преобразователя, получают за счет изгиба каната. Изгиб каната осуществляют при помощи прижимного устройства и одной стойки, на которую укладывают канат. Такое выполнение датчика дает большую погрешность измерения из-за неоднозначной укладки стального каната на стойку, что приводит к непостоянству угла преломления гибкого органа, а это в свою очередь приводит к увеличению погрешности измерения.
Сущность изобретения. Изобретение направлено на создание датчика, имеющего более высокую точность измерения натяжения каната.
Технический результат заключается в том, что, установив на стойке фиксатор положения каната в виде конуса или в виде призмы или пирамиды, пряди каната располагаются более устойчиво относительно упора, а выполнение прижимного устройства в виде пластины с центральным продольным углублением позволит надежно закрепить датчик натяжения каната, фиксировать расстояние h центра каната от опорной поверхности, стабилизировать угол отклонения каната стойкой, что значительно уменьшит погрешность измерения силы его натяжения и приведет к повышению точности.
Указанный технический результат достигается тем, что датчик натяжения каната (ДНК), содержащий корпус, с установленным в нем преобразователем, упругий элемент, прикрепленный к корпусу преобразователя, прижимное устройство, прижимающее гибкий орган к концу упругого элемента и выполненное в виде пластины с центральным продольным углублением, к другому концу упругого элемента прикреплены стойка и упор, воздействующий на вход преобразователя, на опорной поверхности стойки установлен фиксатор положения каната, выполненный в виде конуса или в виде призмы или пирамиды.
Кроме того, фиксатор положения каната выполнен за одно целое со стойкой.
Кроме того, фиксатор положения каната выполнен из материала, например, стали 40Х13.
Кроме того, упругий элемент выполнен в виде пластины из материала, например, стали 40Х13.
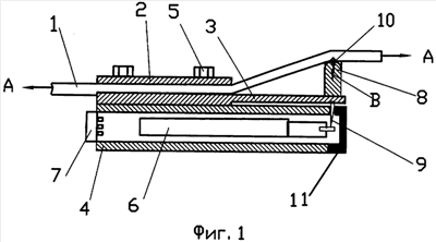
На фиг.1 представлен общий вид продольного сечения датчика натяжения каната, на фиг.2 представлен вид его со стороны стойки, на фиг.3 и фиг.4 представлены виды поперечного сечения каната и опорной поверхности стойки, на фиг.5 представлено поперечное сечение каната, стойки и фиксатора положения каната.
Датчик натяжения каната (ДНК) (фиг.1) содержит канат 1, прижимное устройство 2, выполненное с продольным углублением в центре для укладки каната 1, упругий элемент 3, прикрепленный к корпусу 4 элементами крепления 5 (например, болты, гайки, винты, шайбы и т.п.). Внутри корпуса 4 расположены преобразователь 6 и устройство ввода-вывода 7, выполненного в виде герметичного разъема. Упругий элемент 3 одним концом жестко прикреплен к корпусу 4, а другим – к стойке 8 и упор 9, а фиксатор положения каната 10 установлен на опорной поверхности стойки 8. С другой стороны корпус 4 закрыт крышкой 11. Прижимное устройство может быть выполнено в виде пластины с центральным продольным углублением для надежного закрепления датчика на гибком органе. Упругий элемент выполнен в виде пластины из материала, например, стали 40Х13 и предназначен для согласования величины силы, воздействующей на упругий элемент и величины входного параметра преобразователя.
Датчик натяжения каната работает следующим образом.
Датчик натяжения устанавливают на канате 1, например, на неподвижном конце талевого каната подъемника, применяемого при ремонте нефтяных и газовых скважин, или буровой установки следующим образом. Канат 1 укладывают в продольное углубление прижимного устройства 2 с учетом действия фиксатора положения каната 10. Прижимное устройство 2 элементами крепления 5 прижимает канат 1 к одному из концов упругого элемента 3 и к корпусу 4. Зажатие каната 1 должно быть плотным, чтобы датчик не мог перемещаться вдоль него. На другом конце упругого элемента 3 жестко прикреплена стойка 8 и упор 9. Благодаря стойке 8 осуществляют изгиб каната 1 для создания силы В (см. фиг.1), воздействующей на упругий элемент 3. Сила В прогибает конец упругого элемента 3. Величина прогиба упругого элемента 3 зависит от величины входного параметра преобразователя 6, измеряющего перемещение. Например, для преобразователя С-50 величина входного перемещения составляет 0,2 мм. В этом случае при натяжении каната 1 силой А на стойку 8 и конец упругого элемента 3 воздействует сила В, которая прогибает его относительно корпуса 4 от 0 до 0,2 мм. Сила В, воздействующая через стойку на упругий элемент, прямо пропорциональна натяжению каната. Однако при установке ДНК на канат подъемника канат может расположиться на опорной поверхности стойки как угодно. Из всех возможных вариантов выделим два крайних случая:
а) две пряди каната ложатся на опорную поверхность стойки (см. Фиг.3),
б) одна прядь каната ложится на опорную поверхность стойки (см. Фиг.4).
На Фиг.3 и 4 видно, что расстояние h центра каната от опорной поверхности будет различное, что приведет к различному углу отклонения каната стойкой, а это в свою очередь приведет к погрешности измерений. Например, для каната типа ЛК-РО ГОСТ 7668-80 диаметром 38 мм h2-h1=1,5 мм и при высоте стойки 8, равной 9 мм, погрешность составит 16,7%, что весьма существенно при измерении натяжения канатов. Для уменьшения этой погрешности предлагается установить фиксатор положения каната 10 на опорной поверхности стойки 8. На Фиг.4 показана установка фиксатора положения каната на опорной поверхности стойки 8. Он представляет собой конус, изготовленный, например, из стали 40Х13. Фиксатор положения каната может быть выполнен за одно целое со стойкой в виде призмы или пирамиды.
Таким образом, введение в известное устройство фиксатора положения каната позволяет устанавливать ДНК на канате однообразно, т.е. всегда на опорной поверхности стойки будут находиться две пряди, что значительно повысит точность измерения натяжения канатов.
Так как стойка 8 жестко скреплена с концом упругого элемента 3, то при перемещении она воздействует на вход преобразователя 6 упором 9. Преобразователь 6 вырабатывает сигнал, пропорциональный величине силы А натяжения каната 1. В качестве преобразователя 6 может быть применен интегральный тензопреобразователь силы серии “С”, например, С50 с подключенной к нему печатной платой. Преобразователь 6 формирует стандартный выходной сигнал согласно ИСО и ГОСТ или сигнал, удобный для восприятия потребителем, например, в цифровой форме. Датчик натяжения каната подключают к любой аппаратуре при помощи устройства ввода-вывода 6, например, при помощи герметичного разъема типа ШРГ.
Формула изобретения
1. Датчик натяжения каната, включающий корпус с установленным в нем преобразователем, упругий элемент, прикрепленный к корпусу преобразователя, прижимное устройство, прижимающее гибкий орган к концу упругого элемента, к другому концу упругого элемента прикреплена стойка и упор, воздействующий на вход преобразователя, отличающийся тем, что на опорной поверхности стойки установлен фиксатор положения каната, выполненный в виде конуса или в виде призмы или пирамиды, а прижимное устройство выполнено в виде пластины с центральным продольным углублением.
2. Датчик натяжения каната по п.1, отличающийся тем, что фиксатор положения каната выполнен за одно целое со стойкой.
3. Датчик натяжения каната по п.1, отличающийся тем, что упругий элемент выполнен в виде пластины из материала, например, стали 40Х13.
4. Датчик натяжения каната по п.1, отличающийся тем, что фиксатор положения каната выполнен из материала, например, стали 40Х13.
РИСУНКИ
|
|