|
|
(21), (22) Заявка: 2007105386/06, 12.02.2007
(24) Дата начала отсчета срока действия патента:
12.02.2007
(46) Опубликовано: 27.08.2008
(56) Список документов, цитированных в отчете о поиске:
US 5188090 A, 23.02.1993. RU 2235950 C2, 10.09.2004. RU 2233409 C1, 20.07.2004. RU 2142604 C1, 10.12.1999. DE 4202395 A, 05.08.1993.
Адрес для переписки:
601900, Владимирская обл., г. Ковров, ул. Труда, 4, ОАО “Завод им. В.А. Дегтярева”, ОПЛИР
|
(72) Автор(ы):
Мосалёв Сергей Михайлович (RU), Наумов Виктор Иванович (RU), Сыса Виктор Павлович (RU)
(73) Патентообладатель(и):
Открытое акционерное общество “Завод им. В.А. Дегтярева” (RU)
|
(54) УСТРОЙСТВО ДЛЯ НАГРЕВАНИЯ ТЕКУЧЕЙ СРЕДЫ
(57) Реферат:
Устройство для нагревания текучей среды относится к теплотехнике, и может быть использовано для тепло- и горячего водоснабжения. Задачей изобретения является повышение эффективности нагрева жидкости при одновременном увеличении расхода текучей среды. Для решения поставленной задачи предложено устройство для нагревания текучей среды, содержащее неподвижный корпус с цилиндрической полостью и расположенный с зазором в этой полости цилиндрический ротор, жестко установленный на валу с возможностью вращения и имеющий на цилиндрической поверхности определенное число неровностей или отверстий. В неподвижном корпусе устройства выполнена вторая полость, соприкасающаяся с первой полостью, в которой, аналогично установленному ротору, расположен второй ротор на втором валу, причем роторы установлены с возможностью противоположного вращения от независимых приводных двигателей, кроме того, на цилиндрической поверхности каждого ротора последовательно размещены ряды глухих отверстий и прямоугольные пазы, меньшая сторона которых совпадает с радиусом ротора, пазы выполнены сквозными с выходом на торцы ротора, выпускной канал выполнен соосно с коническим отверстием, объединяющим цилиндрические полости, и размещен по центру корпуса. 2 з.п. ф-лы, 3 ил.
Изобретение относится к теплотехнике, а именно к устройствам, содержащим вращающиеся элементы для нагревания текучих сред, и может быть использовано для тепло- и горячего водоснабжения объектов промышленного и бытового назначения, нагрева технологических жидкостей.
Известно устройство для нагревания текучей среды (см. US Patent № 5188090, 1993 г.), взятое за прототип. Устройство содержит неподвижный корпус с цилиндрической полостью и расположенный с зазором в этой полости цилиндрический ротор, который жестко установлен на валу с возможностью вращения. Цилиндрическая поверхность ротора имеет на цилиндрической поверхности определенное число неровностей или отверстий. Опорная шайба, которая служит для монтажа внутри нее подшипников и сальников, имеет полые части, которые соединяются с полостью между корпусом и ротором. В опорной шайбе сделаны впускные каналы, через которые текучая среда проходит в полость корпус/ротор в зоне вала. Корпус имеет один или более выпускных каналов, через которые текучая среда при повышенном давлении и температуре покидает устройство. Вал приводится в движение электродвигателем или другим двигателем.
Недостатком данного устройства является низкая теплопроизводительность из-за недостаточного нагрева имеющегося расхода текучей среды.
Предлагаемым изобретением решается задача: повышение теплопроизводительности.
Предлагаемое изобретение направлено на достижение технического результата, заключающегося в повышении эффективности нагрева жидкости при одновременном увеличении расхода текучей среды.
Указанный технический результат достигается тем, что в устройстве для нагревания текучей среды, содержащем неподвижный корпус с цилиндрической полостью и расположенный с зазором в этой полости цилиндрический ротор, который жестко установлен на валу с возможностью вращения и имеет на цилиндрической поверхности определенное число неровностей или отверстий, а корпус имеет, по крайней мере, один впускной канал и выпускной канал, новым является то, что в неподвижном корпусе выполнена вторая полость, соприкасающаяся с первой полостью, в которой аналогично установленному ротору расположен второй ротор на втором валу, причем роторы установлены с возможностью противоположного вращения от независимых приводных двигателей, кроме того, на цилиндрической поверхности каждого ротора последовательно размещены ряды глухих отверстий и прямоугольные пазы, меньшая сторона которых совпадает с радиусом ротора, пазы выполнены сквозными с выходом на торцы ротора, выпускной канал выполнен соосно с коническим отверстием, объединяющим цилиндрические полости, и размещен по центру корпуса.
Соосно с впускными каналами размещены ускорители, внутренняя поверхность которых выполнена в виде сопла Лаваля или в иной форме, для придания потоку текучей среды ускорения.
На торцевых поверхностях роторов выполнены радиальные сужающиеся каналы.
Выполнение корпуса в форме двух цилиндрических полостей обусловлено необходимостью создания двух вращающихся потоков текучей среды с целью их дальнейшего объединения перед поступлением в выпускной канал, причем объединение этих потоков происходит с увеличением скоростной составляющей.
Внутренние цилиндрические поверхности полостей соприкасаются, соединяясь между собой в зоне выпускного канала, что позволяет объединить два потока вращающейся текучей среды с их одновременным активным перемешиванием, увеличением скорости при входе из зазора между вращающимися навстречу друг другу роторами и дальнейшим торможением перед выпускным каналом, что сопровождается выделением тепловой энергии.
Роторы установлены с возможностью вращения от независимых приводных двигателей, каждый в соответствующей полости, причем направление их вращения противоположно. Расположение приводных двигателей может быть произвольным, то есть или с одной стороны корпусов, или с противоположных сторон, и обусловлено только их габаритными размерами. Противоположное направление вращения роторов обеспечивает однонаправленное движение потоков вращающейся текучей среды, их объединение и дальнейшее движение в одном направлении.
Наличие конического отверстия в корпусе перед выпускным каналом обусловлено необходимостью эффективного объединения двух вращающихся потоков текучей среды, формирования общего потока, торможения с целью поддержания в этой зоне повышенного давления, что является необходимым условием для поддержания высокой теплопроизводительности.
Чередование рядов глухих отверстий на цилиндрической поверхности каждого ротора со сквозными прямоугольными пазами, у которых меньшая сторона совпадает с радиусом ротора, обусловлено необходимостью повышения эффективности прокачивания потока текучей среды через устройство. Увеличение расхода способствует полной его загрузке по мощности и оптимальному режиму теплообразования. Одновременно с интенсивным вовлечением текучей среды во вращательное движение за счет прямоугольных пазов происходит образование локальных вихревых образований в текучей среде в зоне глухих отверстий, сопровождающееся выделением тепловой энергии.
Размещение соосно с впускными каналами ускорителей, внутренняя поверхность которых выполнена в виде сопла Лаваля или в иной форме, обусловлено необходимостью придания потоку текучей среды, поступающему во внутреннюю полость, значительного ускорения. Ускоренный поток текучей среды тормозится о торцевые поверхности ротора с выделением тепловой энергии и перемещается к цилиндрической поверхности ротора, где происходят основные процессы тепловыделения. Таким образом, процессы теплообразования активизируются, повышается теплопроизводительность.
Выполнение на торцевых поверхностях роторов радиально расположенных сужающихся каналов обусловлено необходимостью обеспечения поступления текучей среды к цилиндрическим поверхностям корпуса и роторов с наименьшими гидравлическими потерями и при повышенных скоростях.
Технические решения с признаками, отличающими заявляемое решение от прототипа, не известны и явным образом из уровня техники не следуют. Это позволяет считать, что заявляемое решение является новым и обладает изобретательским уровнем.
Сущность изобретения поясняется чертежами, где на
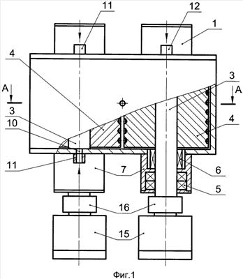
фиг.1 изображено устройство для нагревания текучей среды, общий вид;
фиг.2 – схема расположения глухих отверстий и прямоугольных пазов на роторе;
фиг.3 – схема расположения радиальных сужающихся каналов на торцевых поверхностях ротора.
Устройство для нагревания текучей среды состоит из неподвижного корпуса 1, имеющего две цилиндрических полости 2, внутри которых с возможностью противоположного вращения на валах 3 жестко закреплены цилиндрические роторы 4. Валы 3 установлены в подшипниковых опорах 5 и уплотнены сальниками 6. Подшипниковые опоры 5 и сальники 6 размещены в опорных шайбах 7, выполненных совместно с корпусом 1. На цилиндрических поверхностях каждого ротора 4 выполнены ряды глухих отверстий 8, чередующиеся с прямоугольными пазами 9, меньшая сторона которых совпадает с радиусом ротора. Пазы выполнены сквозными с выходом на торцы ротора 4. На торцевых поверхностях корпуса 1 над опорными шайбами 7 размещены впускные каналы 10, соосно с которыми установлены ускорители 11, внутренняя поверхность которых выполнена в виде сопла Лаваля. На торцевых поверхностях роторов 4 радиально расположены сужающиеся каналы 12. Выпускной канал 13 выполнен соосно с коническим отверстием 14, объединяющим цилиндрические полости 2, и размещен по центру корпуса 1. Валы 3 связаны с приводными двигателями 15 посредством муфт 16.
Устройство для нагревания текучей среды работает следующим образом.
Текучая среда под давлением подается к ускорителям 11. После заполнения текучей средой устройства включаются двигатели 15, передающие противоположное вращение через муфту 16 к валам 3 с роторами 4. Противоположное направление вращения роторов обеспечивает однонаправленное движение потоков вращающейся текучей среды, их объединение и дальнейшее движение в одном направлении. Ускоренный поток от ускорителей 11 через впускные каналы 10 поступает в цилиндрические полости 2 и тормозится с выделением тепловой энергии о торцевые стенки роторов 4. Далее движение текучей среды происходит между торцевыми поверхностями корпуса 1 и роторов 4. Параллельно текучая среда с ускорением перемещается по радиальным сужающимся каналам 12. Перед объединением двух потоков происходит интенсивное вовлечение текучей среды во вращательное движение за счет прямоугольных пазов. В зоне глухих отверстий 8 между цилиндрическими поверхностями роторов 4 и корпуса 1 за счет разрыва сплошного потока и образующихся вихревых воронок происходят активные процессы тепловыделения. В зоне конического отверстия 14, объединяющего цилиндрические полости 2 и соосного с ним выпускного канала 13, происходит столкновение двух вращающихся потоков текучей среды, перемещающихся от впускных каналов 10, что также сопровождается выделением тепловой энергии. Через выпускной канал 13 нагретая текучая среда поступает в систему теплопотребления.
Формула изобретения
1. Устройство для нагревания текучей среды, содержащее неподвижный корпус с цилиндрической полостью и расположенный с зазором в этой полости цилиндрический ротор, который жестко установлен на валу с возможностью вращения и имеет на цилиндрической поверхности определенное число неровностей или отверстий, а корпус имеет, по крайней мере, один впускной канал и выпускной канал, отличающееся тем, что в неподвижном корпусе выполнена вторая полость, соприкасающаяся с первой полостью, в которой, аналогично установленному ротору, расположен второй ротор на втором валу, причем роторы установлены с возможностью противоположного вращения от независимых приводных двигателей, кроме того, на цилиндрической поверхности каждого ротора последовательно размещены ряды глухих отверстий и прямоугольные пазы, меньшая сторона которых совпадает с радиусом ротора, пазы выполнены сквозными с выходом на торцы ротора, выпускной канал выполнен соосно с коническим отверстием, объединяющим цилиндрические полости, и размещен по центру корпуса.
2. Устройство по п.1, отличающееся тем, что соосно с впускными каналами размещены ускорители, внутренняя поверхность которых выполнена в виде сопла Лаваля или в иной форме для придания потоку текучей среды ускорения.
3. Устройство по п.1, отличающееся тем, что на торцевых поверхностях роторов выполнены радиальные сужающиеся каналы.
РИСУНКИ
|
|