|
(21), (22) Заявка: 2006143040/06, 06.12.2006
(24) Дата начала отсчета срока действия патента:
06.12.2006
(46) Опубликовано: 27.08.2008
(56) Список документов, цитированных в отчете о поиске:
RU 2273804 C1, 10.04.2006. RU 2273805 C1, 10.04.2006. RU 7181 U1, 16.07.2008. US 2005016717 A, 27.01.2005. DE 19939909 A, 25.05.2000.
Адрес для переписки:
129301, Москва, ул. Касаткина, 11, СКТБ, Н.А. Туленинову
|
(73) Патентообладатель(и):
Общество с ограниченной ответственностью “СТП-РЕГИОН” (RU)
|
(54) КОЖУХ НАПОЛЬНОГО ОТОПИТЕЛЬНОГО КОНВЕКТОРА
(57) Реферат:
Изобретение предназначено для отопительных конвекторов и может быть использовано для обогрева помещений. Кожух содержит верхнюю часть с верхней стенкой, переднюю, заднюю и боковые стенки, которые соединены между собой и образуют объемную жесткую металлоконструкцию с воздушной полостью под теплообменник. Кожух выполнен с опорами, воздухозабором в нижней части и воздуховыпускными отверстиями в верхней стенке. Верхняя стенка в ее поперечном сечении имеет П-образную форму со скругленными углами и прикрепленные к ней закрывающие ее торцовые стороны боковые элементы, которые с верхней стенкой образуют объемную корытообразную конструкцию, соединенную нижней стороной с боковыми, передней и задней стенками кожуха. Передняя и задняя стенки кожуха выполнены из отдельных продольно расположенных панелей, соединенных между собой боковыми стенками и верхней частью кожуха. Высота каждой боковой стенки больше высоты передней и задней стенок, а между нижними кромками последних и полом обогреваемого помещения образованы проемы под воздухозабор. Изобретение обеспечивает создание унифицированного кожуха для напольных отопительных конвекторов большой мощности. 2 з.п. ф-лы, 19 ил.
Кожух напольного отопительного конвектора.
Данное техническое решение относится к обогревателям помещений конвекторного типа, в частности к кожухам таких обогревателей, которые устанавливаются преимущественно на пол обогреваемого помещения и вследствие этого имеют существенные отличительные признаки, характеризующиеся наличием в кожухе опор для установки кожуха и обогревателя в целом на указанном полу.
Известны кожухи напольных отопительных конвекторов, каждый из которых включает переднюю, заднюю, боковые и верхнюю стенки, при этом в верхней стенке выполнены воздуховыпускные отверстия, а нижняя часть кожуха имеет опоры для установки кожуха на пол обгреваемого помещения [1-14].
Кожухи конвекторов [1, 2, 7, 12, 14 и 15] имеют панели, из которых выполнены передние или задние стенки кожухов, а кожухи [3, 4, 5, 7, 9, 10, 11] имеют съемные верхние части, которые включают верхнюю стенку с воздуховыпускными в ней отверстиями.
Известные кожухи предназначены в основном для их использования в конвекторах средней мощности.
Однако при существенном увеличении мощности конвекторов и, соответственно, габаритов теплообменников для мощных конвекторов, существенно увеличиваются габариты кожухов, вследствие чего известные конструкции кожухов невозможно применить для конвекторов большой мощности с номинальным тепловым потоком, например, от 4 до 16 кВт.
Решаемой задачей данного технического решения является создание унифицированного кожуха для напольных отопительных конвекторов большой мощности.
Данная задача решается тем, что в кожухе напольного отопительного конвектора, содержащем верхнюю часть с верхней стенкой, переднюю, заднюю и боковые стенки, которые соединены между собой и образуют объемную жесткую металлоконструкцию с воздушной полостью под теплообменник, при этом кожух выполнен с опорами, воздухозабором в нижней части и воздуховыпускными отверстиями в верхней стенке, верхняя стенка в ее поперечном сечении имеет П-образную форму и прикрепленные к ней закрывающие ее торцовые стороны боковые элементы, которые с верхней стенкой образуют объемную корытообразную конструкцию, соединенную нижней открытой стороной с боковыми, передней и задней стенками, причем передняя и задняя стенки выполнены из отдельных продольно расположенных панелей, соединенных между собой боковыми стенками и верхней частью кожуха, высота каждой боковой стенки больше высоты передней и задней стенок, между нижними кромками последних и полом обогреваемого помещения образованы проемы под воздухозабор.
На нижней стороне верхней части кожуха выполнены отбортовки, соединенные с отбортовками боковых, передней и задней стенок, отбортовки верхней части кожуха расположены на противоположной стороне от воздуховыпускных отверстий, последние образованы просечками и трапециевидными, отогнутыми внутрь кожуха наклонными отбортовками, выполненными в средней части верхней стенки.
Верхняя стенка выполнена прямолинейной и ее каждая торцовая сторона состыкована с выступом, выполненным на боковом элементе верхней части кожуха таким образом, что верхние поверхности верхней стенки и боковых элементов расположены в одной плоскости.
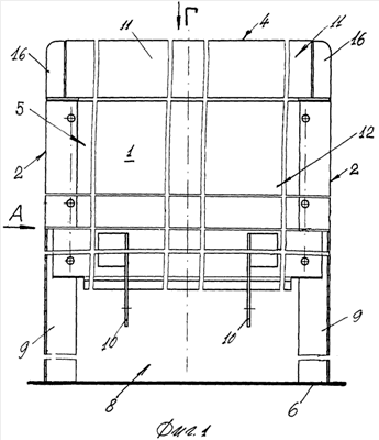
На фиг.1 показан первый вариант кожуха, вид спереди с вырезами.
На фиг.2 – вид А на фиг.1.
На фиг.3 показан второй вариант кожуха.
На фиг.4 – вид Б на фиг.3.
На фиг.5 – соединение панели кожуха с отбортовкой боковой стенки.
На фиг.6 показан третий вариант кожуха.
На фиг.7 – вид В на фиг.6.
На фиг.8 – вид Г на фиг.1.
На фиг.9 – соединение верхней части кожуха со стенками кожуха.
На фиг.10 показана верхняя часть кожуха на виде сверху.
На фиг.11 – сечение Д-Д на фиг.10.
На фиг, 12 – сечение Е-Е на фиг.10.
На фиг.13 – верхняя стенка кожуха в продольном сечении.
На фиг.14 – вид Ж на фиг.13.
На фиг.15 – сечение 3-3 на фиг.14.
На фиг.16 – боковой элемент верхней части кожуха.
На фиг.17 – вид И на фиг.16.
На фиг.18 – вид К на фиг.17.
На фиг.19 – вид М на фиг.16.
Кожух напольного отопительного конвектора (фиг.1) содержит переднюю стенку 1, боковые стенки 2, заднюю стенку 3 (фиг.2) и верхнюю стенку 4, при этом все указанные стенки скреплены между собой соединениями таким образом, что образуют объемную металлоконструкцию с воздушной полостью 5. Полость 5 выполняет функции воздуховода. Эта полость предназначена также для размещения в ней теплообменника (не показан), который устанавливают между полом 6 обогреваемого помещения и воздуховыпускными отверстиями 7 верхней стенки 4. Между полом 6 и нижними кромками передней и задней стенок 1 и 3 кожуха образован воздухозабор кожуха или проемы 8 (фиг.3).
Кожух имеет две боковые опоры 9 (фиг.1) для его опирания на пол 6 обогреваемого помещения. Опоры 9 образованы боковыми стенками 2 в нижней части кожуха. Кожух имеет дополнительные опоры 10, расположенные внутри кожуха между опорами 9 или боковыми стенками 2. К этим опорам 10 при необходимости крепят удлинители опор 10 или опорные элементы (не показаны), предназначенные для дополнительного опирания кожуха на пол обогреваемого помещения с целью равномерного распределения нагрузки на пол от большого веса теплообменника, а также с целью крепления кожуха к полу.
Кожух выполнен из отдельных соединенных между собой верхней части 11, нижней части 12 и, по крайней мере, одной средней части 13. Все части кожуха соединены между собой таким образом, что смежные элементы этих частей кожуха образуют собой вышеуказанные стенки кожуха. Названные части кожуха включают отбортовки 14 (фиг.2), которые скреплены с элементами кожуха заклепками 15 или другими аналогичными соединениями. Отбортовки 14 расположены внутри кожуха.
Верхняя часть 11 кожуха выполнена объемной, корытообразной со скругленными верхними углами, открытая сторона обращена в сторону боковых, передней и задней стенок кожуха. Верхняя часть 11 кожуха включает верхнюю стенку 4 кожуха (фиг 13), имеющую в поперечном сечении П-образную форму (фиг.15) со скругленными верхними углами, а также объемные боковые элементы 16 (фиг.17-19), соединенные с верхней стенкой 4. Боковые элементы обращены внутрь кожуха открытыми сторонами 17 (фиг.11), пристыкованы к боковым торцам верхней стенки 4 и соединены с ними таким образом, что их верхние поверхности находятся в плоскости верхней стенки 4, а их боковые стороны находятся в плоскости боковых стенок 2 кожуха (фиг.10). Верхняя часть 11 кожуха имеет расположенные внутри него отбортовки 18 (фиг.2, 4), соединенные с отбортовками 14 средней части 13 кожуха.
Воздуховыпускные отверстия 7 (фиг, 13) верхней стенки 4 образованы трапециевидными направленными внутрь кожуха наклонными отбортовками 19, выполненными в средней части верхней стенки 4 путем образования множества просечек в верхней стенке 4, в средней ее части и путем отгибания наклонных отбортовок 19 в сторону воздушной полости 5 кожуха. Верхняя стенка 4 выполнена прямолинейной и ее вышеуказанные торцы или короткие стороны 20 (фиг.11) состыкованы заподлицо с выступом 21 боковых элементов 16. Верхняя поверхность 22 верхней стенки 4 и верхние поверхности 23 боковых элементов 16 расположены в одной плоскости.
Передняя и задняя стенки 1 и 3 (фиг.4) выполнены из отдельных соединенных между собой и боковыми стенками 2 панелей 24, 25 и 26, которые по форме идентичны или могут быть идентичными. Эти панели соединены расположенными внутри кожуха отбортовками 14.
Нижняя часть 13 кожуха также образована выполненными из отдельных соединенных между собой панелей 27, 28 и 29, которые соединены между собой и боковыми стенками аналогичным образом.
Отбортовки 18 (фиг.4) верхней части 11 кожуха соединены с отбортовками 14 средней части 13 кожуха винтами 30. Такими винтами могут быть также соединены отбортовки 14 средней части 13 кожуха с отбортовками 14 нижней части 12 кожуха. В боковых стенках 2 кожуха (фиг.2) выполнены отверстия 31 под рукоятки воздушной заслонки (не показана), которая предназначена для регулировки воздушного потока в воздушной полости 5 кожуха в процесса работы конвектора и в процессе теплообмена между теплообменником и воздушным потоком, проходящим через кожух.
Описанная выше конструкция предусматривает несколько вариантов выполнения крупногабаритных кожухов для конвекторов различной повышенной мощности, преимущественно промышленного назначения. В описании даны три варианта кожуха, отличающиеся между собой различным числом имеющихся в нем средних частей или числом панелей передней и задней стенок кожуха и высотой боковых стенок.
Первый вариант кожуха (фиг.1) содержит его верхнюю часть 11 и нижнюю часть 12. Второй вариант кожуха (фиг.4) содержит верхнюю часть 11, нижнюю часть 12 и среднюю часть 13. Третий вариант кожуха (фиг.3) содержит верхнюю часть 11, нижнюю часть 12 и две средние части 13.
Все варианты отличаются друг от друга числом панелей передней и задней стенок и высотой боковых стенок, при этом конструкция съемной верхней части кожуха остается для всех вариантов кожуха неизменной, что обеспечивает возможность изготовления различных крупногабаритных кожухов из высокой степени унифицированных элементов.
Предусмотрен способ сборки кожуха, который включает операции соединения нижней, средней и верхней частей кожуха (фиг.6) между собой, при этом все названные части кожуха формируют путем соединения с боковыми стенками 2 панелей 24-29 (фиг.4) передней и задней стенок, при этом панели также соединяют между собой. Далее верхнюю часть 11 кожуха устанавливают на сборочном столе вниз воздуховыпускными отверстиями 7, для чего показанную на фиг.11 верхнюю часть 11 кожуха переворачивают на 180 градусов вокруг ее горизонтальной оси. Затем переворачивают показанный на фиг.4 кожух (без верхней части 11) на 180 градусов вокруг его горизонтальной оси, совмещают посадочные места средней части 13 кожуха с посадочными местами верхней части 11 кожуха, для чего стыкуют отбортовки 14 и 18 и совмещают выполненные в них отверстия, в которые вставляют винты 30, и после этого винтами 30 жестко соединяют отбортовки 14 и 18 между собой и таким образом соединяют верхнюю часть 11 кожуха со смежной его частью.
Такие операции выполняют с целью обеспечения доступа к винтам 30 во время сборки имеющего большую высоту кожуха. Доступ к винтам 30 осуществляют сверху через воздушную полость 5 нижней части 12 кожуха, который на время сборки находится в перевернутом положении.
Работает кожух следующим образом. Устанавливают в кожухе теплообменник, через который пропускают теплоноситель. Воздух в воздушной полости 5 (фиг.2) нагревается теплообменником и выходит через воздуховыпускные отверстия 7 в обогреваемое помещение. При этом холодный воздух через воздухозабор или через проемы 8 кожуха поступает в воздушную полость 5 кожуха. За счет перепада температуры воздуха в нижней и верхней частях кожуха в воздушной полости 5 создается воздушная тяга, которая регулируется поворотом воздушной заслонки (не показана), устанавливаемой в рукоятках (не показаны), смонтированных в отверстиях 31 (фиг.2) боковых стенок 2 кожуха.
Источники информации
1. DE 10297819 T5, 10.06.2005.
2. DE 19808512 A1, 27.02.1998.
3. DE 19851207 A1, 06.11.1998.
4. DE 19805861 C1, 13.02.1998.
5. DE 19805863 C1, 13.02.1998.
6. SU 1158826 A, 30.05, 1985.
7. RU 0007181 U1, 16.07.1998.
8. RU 47030 S, 16.12.1996.
9. RU 21649 U1, 21.01.2002.
10. FR 2635173, 06.02.1990.
11. DE 19939909 A1, 23.08.1999.
12. JP 987895 S, 05.02.1997.
13. IT DM/041323, 05.09.1997.
14. FR 561730 S, 12.11.1999.
15. AT MU 1313/98, 10.07.99 (ВОИС 49809159).
16. Напольные конвекторы «САНТЕХПРОМ СТИЛЬ», Каталог отопительного оборудования ОАО «САНТЕХПРОМ», 2005, с.5 (прототип).
Формула изобретения
1. Кожух напольного отопительного конвектора, содержащий верхнюю часть с верхней стенкой, переднюю, заднюю и боковые стенки, которые соединены между собой и образуют объемную жесткую металлоконструкцию с воздушной полостью под теплообменник, при этом кожух выполнен с опорами, воздухозабором в нижней части и воздуховыпускными отверстиями в верхней стенке, отличающийся тем, что верхняя стенка в ее поперечном сечении имеет П-образную форму и прикрепленные к ней закрывающие ее торцовые стороны боковые элементы, которые с верхней стенкой образуют объемную корытообразную конструкцию, соединенную нижней открытой стороной с боковыми, передней и задней стенками, причем передняя и задняя стенки выполнены из отдельных продольно расположенных панелей, соединенных между собой боковыми стенками и верхней частью кожуха, высота каждой боковой стенки больше высоты передней и задней стенок, между нижними кромками последних и полом обогреваемого помещения образованы проемы под воздухозабор.
2. Кожух по п.1, отличающийся тем, что на нижней стороне верхней части кожуха выполнены отбортовки, соединенные с отбортовками боковых, передней и задней стенок, отбортовки верхней части кожуха расположены на противоположной стороне от воздуховыпускных отверстий, последние образованы просечками и трапециевидными, отогнутыми внутрь кожуха наклонными отбортовками, выполненными в средней части верхней стенки.
3. Кожух по п.1, отличающийся тем, что верхняя стенка выполнена прямолинейной и ее каждая торцевая сторона состыкована с выступом, выполненным на боковом элементе верхней части кожуха таким образом, что верхние поверхности верхней стенки и боковых элементов расположены в одной плоскости.
РИСУНКИ
|