|
| На основании пункта 1 статьи 1366 части четвертой Гражданского кодекса Российской Федерации патентообладатель обязуется заключить договор об отчуждении патента на условиях, соответствующих установившейся практике, с любым гражданином Российской Федерации или российским юридическим лицом, кто первым изъявил такое желание и уведомил об этом патентообладателя и федеральный орган исполнительной власти по интеллектуальной собственности. |
|
(21), (22) Заявка: 2007102498/28, 24.01.2007
(24) Дата начала отсчета срока действия патента:
24.01.2007
(46) Опубликовано: 27.08.2008
(56) Список документов, цитированных в отчете о поиске:
RU 2035496 С1, 20.05.1995. RU 2040198 С1, 25.07.1995. KR 20030095929 A, 24.12.2003. GB 190319750 A, 23.06.1904.
Адрес для переписки:
140093, Московская обл., г. Дзержинский, а/я 48, А.И. Максимову
|
(72) Автор(ы):
Максимов Александр Иванович (RU)
(73) Патентообладатель(и):
Максимов Александр Иванович (RU)
|
(54) СПОСОБ ИЗГОТОВЛЕНИЯ СВЕЧИ И СВЕЧА
(57) Реферат:
Изобретения относятся к осветительным приборам, а именно к свече, и способу изготовления ее. Сущность заявляемого способа: в способе изготовления свечи, включающем изготовление корпуса из твердого жирового вещества, обеспечивающего генерирование световой энергии при плавлении жирового вещества и его горении на фитиле, размещенном в корпусе, согласно изобретению корпус образуют по форме мебели для сидения и изготавливают сиденье с верхней и нижней опорными поверхностями, опору и спинку или спинку-опору, закрепляют опору к сиденью под нижней опорной поверхностью, спинку к сиденью над верхней опорной поверхностью или спинку-опору к сиденью над верхней и под нижней опорными его поверхностями, причем фитиль размещают в спинке или спинке-опоре, вдоль последней. Сущность заявляемого устройства – в свече, содержащей корпус из твердого жирового вещества, обеспечивающий генерирование световой энергии при плавлении жирового вещества и его горении на фитиле, размещенном в корпусе, согласно изобретению корпус образован по форме мебели для сидения и содержит сиденье с верхней и нижней опорными поверхностями, опору, закрепленную к сиденью под нижней опорной поверхностью, и спинку, закрепленную к сиденью над верхней опорной поверхностью, или спинку-опору, закрепленную к сиденью над верхней и под нижней опорными его поверхностями, причем фитиль размещен в спинке или спинке-опоре, вдоль последней. 2 н.п ф-лы, 4 ил.
Изобретения относятся к осветительным приборам, в частности к способу изготовления свечи и свече, и могут быть использованы при изготовлении свечей.
Известен способ изготовления свечи, включающий изготовление корпуса из твердого жирового вещества, обеспечивающего генерирование световой энергии при плавлении жирового вещества и его горении на фитиле, размещенном в корпусе (RU 2035496 С1).
Известна свеча, содержащая корпус из твердого жирового вещества, обеспечивающего генерирование световой энергии при плавлении жирового вещества и его горении на фитиле, размещенном в корпусе (RU 2035496 С1).
Недостаток известных технических решений заключается в том, что они имеют ограниченные функциональные возможности, ибо не могут реализовать функцию мебели для сидения.
Задача, на решение которой направлены заявляемые технические решения, состоит в расширении арсенала технических средств определенного назначения, в частности создание новых объектов – способа изготовления свечи и свечи, которые были бы лишены указанного недостатка путем расширения их функциональных возможностей.
Технический результат, который может быть при этом получен, заключается в реализации указанного назначения – расширение арсенала технических средств определенного назначения, в частности создание новых объектов – способа изготовления свечи и свечи с расширенными функциональными возможностями. Дополнительный технический результат – улучшение удобства эксплуатации (пользования)свечи.
Сущность заявляемого способа заключается в том, что в способе изготовления свечи, включающем изготовление корпуса из твердого жирового вещества, обеспечивающего генерирование световой энергии при плавлении жирового вещества и его горении на фитиле, размещенном в корпусе, согласно изобретению в нем корпус образуют по форме мебели для сидения и изготавливают сиденье с верхней и нижней опорными поверхностями, опору и спинку или спинку-опору, закрепляют опору к сиденью под нижней опорной поверхностью, спинку к сиденью над верхней опорной поверхностью или спинку-опору к сиденью над верхней и под нижней опорными его поверхностями, причем фитиль размещают в спинке или спинке-опоре, вдоль последней.
Сущность заявляемого устройства заключается в том, что в свече, содержащей корпус из твердого жирового вещества, обеспечивающий генерирование световой энергии при плавлении жирового вещества и его горении на фитиле, размещенном в корпусе, согласно изобретению корпус образован по форме мебели для сидения и содержит сиденье с верхней и нижней опорными поверхностями, опору, закрепленную к сиденью под нижней опорной поверхностью и спинку, закрепленную к сиденью над верхней опорной поверхностью или спинку-опору, закрепленную к сиденью над верхней и под нижней опорными его поверхностями, причем фитиль размещен в спинке или спинке-опоре, вдоль последней.
Именно заявляемые совокупности существенных признаков способа и устройства, указанные выше, обеспечивают расширение арсенала технических средств определенного назначения путем создания новых объектов с расширенными функциональными возможностями, которые позволяют вынести суждение о достижении указанного выше технического результата и дополнительного технического результата благодаря наличию новых существенных признаков, используемых для характеристики заявляемых способа и устройства.
Существенный признак способа «корпус образуют по форме мебели для сидения», а также существенный признак устройства «корпус образован по форме мебели для сидения» характеризуются на уровне функционального обобщения, т.е. конкретные геометрические формы выполнения составных частей (элементов) мебели для сидения, например сиденья, опоры, спинки или спинки-опоры, не являются существенными, а существенным является их наличие и взаимное расположение относительно друг друга для обеспечения идентификации заявляемых технических решений среди иных объектов. При любых геометрических формах составных частей корпуса свечи будет достигнут заявляемый технический результат.
Существенный признак способа «изготовление корпуса из твердого жирового вещества», а также существенный признак устройства «корпус из твердого жирового вещества» характеризуются на уровне функционального обобщения, т.е. используемые конкретные твердые жировые вещества не оказывают влияния на достижение заявляемого технического результата и в силу этого не могут быть признаны существенными для заявляемого объема прав. В качестве твердого жирового вещества может быть использован, например, парафин, а также любое иное вещество из известного арсенала твердых жировых веществ, пригодных для изготовления свечей с фитилями и генерации световой энергии.
Существенный признак способа и устройства, касательно фитиля, также охарактеризован на функциональном уровне, т.е. используемые конкретные материалы для изготовления фитиля, а также его форма не являются существенными для заявляемого объема прав, а существенным является наличие фитиля и выполняемая им функция, связанная с обеспечением устойчивого горения расплавленного жирового вещества на верхней концевой части фитиля. При любом использовании известных фитилей, а также тех, которые будут созданы, будет достигнут один и тот же технический результат для заявляемого объема прав. Фитиль может быть изготовлен (выполнен), например, из хлопчатобумажной веревки, жгута и пр.
Сопоставительный анализ заявляемого способа изготовления свечи с прототипом показывает, что заявляемый объект имеет общие существенные признаки с прототипом:
изготовление корпуса из твердого жирового вещества, обеспечивающего генерирование световой энергии при плавлении жирового вещества и его горении на фитиле, размещенном в корпусе.
Заявляемый способ изготовления свечи отличается от прототипа новыми существенными признаками:
корпус образуют по форме мебели для сидения;
изготавливают сиденье с верхней и нижней опорными поверхностями, опору и спинку или спинку-опору;
закрепляют опору к сиденью под нижней опорной поверхностью, спинку к сиденью над верхней опорной поверхностью или спинку-опору к сиденью над верхней и под нижней опорными его поверхностями;
фитиль размещают в спинке или спинке-опоре, вдоль последней.
Сопоставительный анализ заявляемой свечи с прототипом показывает, что заявляемый объект имеет общие существенные признаки с прототипом:
корпус выполнен из твердого жирового вещества, обеспечивающего генерирование световой энергии при плавлении жирового вещества и его горении на фитиле, размещенном в корпусе.
Заявляемая свеча отличается от прототипа новыми существенными признаками:
корпус образован по форме мебели для сидения;
содержит сиденье с верхней и нижней опорными поверхностями, опору, закрепленную к сиденью под нижней опорной поверхностью, и спинку, закрепленную к сиденью над верхней опорной поверхностью, или спинку-опору, закрепленную к сиденью над верхней и под нижней опорными его поверхностями;
фитиль размещен в спинке или спинке-опоре, вдоль последней.
Из приведенного перечня признаков заявляемых объектов – способа и устройства и решения поставленной задачи – наглядно видно, что заявляемые технические решения представляют собой новую совокупность признаков, как сочетание известных и новых признаков, обеспечивающих получение нового технического результата, неизвестного на дату подачи заявки. Новый технический результат, который может быть получен при осуществлении изобретения, заключается в расширении арсенала технических средств определенного назначения путем создания новых эффективных объектов с расширенными функциональными возможностями, удобных в эксплуатации, которые обеспечивают эффективное решение комплекса вопросов, связанных с изготовлением свечи, конструкцией свечи и его использованием.
Заявляемые объекты промышленно применимы, т.к. могут быть изготовлены промышленным способом и использованы при изготовлении свечей. Для изготовления свечи могут быть использованы известные материалы, средства и методы, используемые при изготовлении свечей. С использованием известных средств и методов действительно возможно осуществление изобретения в том виде, как оно охарактеризовано в формуле изобретения.
Технические решения заявляемых объектов соответствуют критерию «новизна», т.к. они неизвестны из уровня техники на дату подачи заявки. Не известна из уровня техники совокупность существенных признаков заявляемых технических решений и их влияние на получение требуемого технического результата.
Технические решения заявляемых объектов соответствуют критерию «изобретательский уровень», т.к. не выявлены решения, имеющие признаки, совпадающие с их отличительными признаками, и не обнаружена известность влияния отличительных признаков на получаемый технический результат. Между существенными признаками заявляемых объектов и достигаемым техническим результатом существует причинно-следственная связь.
Заявляемые изобретения (два объекта) связаны между собой единым изобретательским замыслом и по этой причине заявляются в составе одной заявки.
Таким образом, заявляемые технические решения связаны между собой настолько, что они образуют единый изобретательский замысел и соответствуют всем критериям, предъявляемым к изобретению, и обеспечивают получение нового технического результата и дополнительного технического результата.
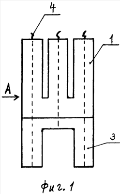
На фиг.1, 3 показаны способ изготовления свечи и свеча; на фиг.2 – вид А на фиг.1; на фиг.4 – вид Б на фиг.3.
Свеча содержит корпус из твердого жирового вещества, обеспечивающий генерирование световой энергии при плавлении жирового вещества и его горении на фитиле 4 (см. фиг.1-4), размещенном в корпусе, причем корпус образован по форме мебели для сидения и содержит сиденье 2 с верхней «Г» и нижней «Д» опорными поверхностями, опору 3, закрепленную к сиденью 2 под нижней опорной поверхностью «Д», и спинку 5, закрепленную к сиденью 2 над верхней опорной поверхностью «Г» (см. фиг.3, 4), или спинку-опору 1 (см. фиг.1, 2), закрепленную к сиденью 2 над верхней и под нижней опорными его поверхностями «Г» и «Д», причем фитиль 4 размещен в спинке 5 или спинке-опоре 1, вдоль последней.
Пример реализации способа изготовления свечи.
Изготовили корпус свечи из твердого жирового вещества, обеспечивающий генерирование световой энергии при плавлении жирового вещества и его горении на фитиле 4, который разместили в корпусе, причем корпус образовали по форме мебели для сидения, например стула, путем изготовления сиденья 2 с верхней и нижней опорными поверхностями «Г», «Д», опоры 3 и спинки 5 или спинки-опоры 1, закрепления опоры 3 к сиденью 2 под нижней опорной поверхностью «Д», спинки 5 к сиденью 2 над верхней опорной поверхностью «Г» или спинки-опоры 1 к сиденью 2 над верхней и под нижней опорными его поверхностями «Г», «Д», причем фитиль 4 разместили в спинке 5 или спинке-опоре 1, вдоль последней. Фитиль 4 образовали тремя участками хлопчатобумажного жгута. В спинке 5 или спинке-опоре 1 образовали пазы (условно на фиг.1, 3 поз. не обозначены) для обеспечения экономии жирового вещества и эффективности его использования (жировое вещество при плавлении и течении в направлении сверху вниз заполняет указанные полости и повторно используется в процессе генерации световой энергии).
Заявляемые объекты обеспечивают изготовление эффективной свечи с качественно новыми потребительскими свойствами, не известными в технике и необходимыми в пользовании.
Таким образом, заявляемые технические решения обеспечивают достижение поставленной задачи и получение нового технического результата и дополнительного технического результата.
Формула изобретения
1. Способ изготовления свечи, включающий изготовление корпуса из твердого жирового вещества, обеспечивающего генерирование световой энергии при плавлении жирового вещества и его горении на фитиле, размещенном в корпусе, отличающийся тем, что корпус образуют по форме мебели для сидения и изготавливают сиденье с верхней и нижней опорными поверхностями, опору и спинку или спинку-опору, закрепляют опору к сиденью под нижней опорной поверхностью, спинку к сиденью над верхней опорной поверхностью или спинку-опору к сиденью над верхней и под нижней опорными его поверхностями, причем фитиль размещают в спинке или спинке-опоре, вдоль последней.
2. Свеча, содержащая корпус из твердого жирового вещества, обеспечивающего генерирование световой энергии при плавлении жирового вещества и его горении на фитиле, размещенном в корпусе, отличающаяся тем, что корпус образован по форме мебели для сидения и содержит сиденье с верхней и нижней опорными поверхностями, опору, закрепленную к сиденью под нижней опорной поверхностью, и спинку, закрепленную к сиденью над верхней опорной поверхностью, или спинку-опору, закрепленную к сиденью над верхней и под нижней опорными его поверхностями, причем фитиль размещен в спинке или спинке-опоре, вдоль последней.
РИСУНКИ
|
|