|
|
(21), (22) Заявка: 2006121159/28, 14.06.2006
(24) Дата начала отсчета срока действия патента:
14.06.2006
(43) Дата публикации заявки: 27.12.2007
(46) Опубликовано: 27.08.2008
(56) Список документов, цитированных в отчете о поиске:
RU 2247896 С2, 10.03.2005. RU 2199696 С2, 27.02.2003. RU 2045113 C1, 27.09.1995. US 2004062055, 01.04.2004. JP 1050303, 27.02.1989.
Адрес для переписки:
367015, Республика Дагестан, г.Махачкала, пр-кт имама Шамиля, 70, ДГТУ, отдел интеллектуальной собственности
|
(72) Автор(ы):
Исмаилов Тагир Абдурашидович (RU), Аминов Гарун Ильясович (RU), Юсуфов Ширали Абдулкадиевич (RU), Евдулов Олег Викторович (RU)
(73) Патентообладатель(и):
ГОСУДАРСТВЕННОЕ ОБРАЗОВАТЕЛЬНОЕ УЧРЕЖДЕНИЕ ВЫСШЕГО ПРОФЕССИОНАЛЬНОГО ОБРАЗОВАНИЯ ДАГЕСТАНСКИЙ ГОСУДАРСТВЕННЫЙ ТЕХНИЧЕСКИЙ УНИВЕРСИТЕТ (ДГТУ) (RU)
|
(54) ОСВЕТИТЕЛЬНЫЙ ПРИБОР
(57) Реферат:
Осветительный прибор содержит термоэлектрическую батарею, на первом спае которой расположена емкость с испаряющейся жидкостью, плафон и лампу, установленную в пространство, ограниченное плафоном, и подключенную к термоэлектрической батарее. Емкость представляет собой чашу, выполненную из алюминиевого прямоугольного параллелепипеда, в котором с противоположной стороны крепления термоэлектрической батареи выточено углубление в виде сегмента сферы. На втором спае термоэлектрической батареи установлен омический нагреватель, представляющий собой резистивную пленку, напыленную на керамическую обкладку термоэлектрической батареи. Причем основание емкости вместе с термоэлектрической батареей и омическим нагревателем залито прозрачным диэлектрическим компаундом, из которого методом формования изготовлен плафон. При этом цвет плафона регулируется при изготовлении с помощью различных красящих добавок, подмешиваемых в компаунд. Лампа, представляющая собой набор светодиодов, подключена к термоэлектрической батарее параллельно омическому нагревателю. Технический результат – разработка осветительного прибора с использованием полупроводникового термоэлектрического генератора для выработки электрической энергии, на который в меньшей мере влияют параметры окружающей среды, а также повышение эффективности использования термоэлектрического генератора. 2 ил.
Изобретение относится к приборостроению, в частности к осветительным приборам.
В труднодоступных отдаленных районах, где получение электрической энергии затруднено, актуальным является вопрос освещения бытовых помещений. Этот вопрос решается путем использования различных типов горючих веществ (например, в виде свечей, лучин, керосиновых ламп и т.п.), а также электрических осветительных приборов, работающих на различного вида аккумуляторах электрической энергии. Недостатком указанных способов является их низкая эффективность, кратковременность, а при использовании горючих веществ, кроме того, отрицательное воздействие на человека и окружающую среду.
На настоящее время известен осветительный прибор (Патент №2199696), содержащий термоэлектрическую батарею, на первом спае которой расположена емкость с испаряющейся жидкостью, а на втором спае – металлический радиатор, представляющий собой плоскую пластину с плафоном в виде усеченного конуса. Лампа накаливания помещена в пространство, ограниченное плафоном, и посредством электрических проводов подключена к термоэлектрической батарее.
Недостатком данного устройства является то, что разница температур между первыми и вторыми спаями термоэлектрической батареи очень сильно зависит от температуры и влажности окружающей среды. При этом термоэлектрическая батарея, как правило, вырабатывает больший ток, чем это требуется для работы лампы, особенно, если использовать современные светодиодные лампы.
Целью изобретения является разработка осветительного прибора с использованием полупроводникового термоэлектрического генератора для выработки электрической энергии, на который в меньшей мере влияют параметры (температура и влажность) окружающей среды, а также повышение эффективности использования термоэлектрического генератора.
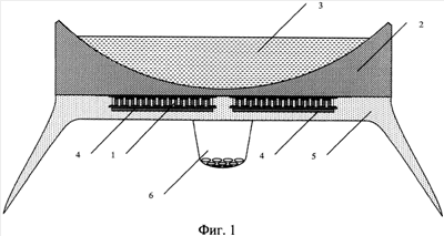
Для достижения указанной цели предлагается устройство, представленное на фиг.1.
Осветительный прибор содержит термоэлектрическую батарею 1, на первом спае которой расположена емкость 2, которая представляет собой чашу, выполненную из алюминиевого прямоугольного параллелепипеда, в котором с одной стороны (противоположной стороне крепления термоэлектрической батареи) выточено углубление в виде сегмента сферы. В емкость 2 наливается испаряющаяся жидкость 3. На втором спае термоэлектрической батареи 1 установлен омический нагреватель 4, представляющий собой резистивную пленку, напыленную на керамическую обкладку термоэлектрической батареи 1. Основание емкости 2 вместе с термоэлектрической батареей 1 и омическим нагревателем 4 залито прозрачным диэлектрическим компаундом 5, из которого методом формования изготовлен плафон. Цвет плафона можно регулировать при изготовлении с помощью различных красящих добавок, подмешиваемых в компаунд 5. К термоэлектрической батарее 1 параллельно омическому нагревателю 4 подключена лампа 6, представляющая собой набор светодиодов. Схема подключения термоэлектрической батареи к омическим нагревателям и светодиодной лампе приведена на фиг.2.
Принцип работы осветительного устройства следующий. Налитая в емкость 2 жидкость 3 в процессе своего испарения понижает температуру первого спая термоэлектрической батареи 1. Возникающая при этом разность температур между спаями термоэлектрической батареи 1 вызывает появление разности потенциалов между ее выводами. При этом происходит нагревание омических нагревателей 4 за счет протекания через них электрического тока, что приводит к появлению еще большей разницы температур между спаями термоэлектрической батареи. Тепло, проходящее через термоэлектрическую батарею 1 от омического нагревателя 4 за счет теплопроводности, подогревает жидкость 3, и ее испарение становится более интенсивным. Данная интенсификация позволяет использовать меньшее количество термоэлектрических модулей в генераторе, что приводит к его удешевлению.
Формула изобретения
Осветительный прибор, содержащий термоэлектрическую батарею, на первом спае которой расположена емкость с испаряющейся жидкостью, плафон и лампу, установленную в пространство, ограниченное плафоном, и подключенную к термоэлектрической батарее, отличающийся тем, что емкость представляет собой чашу, выполненную из алюминиевого прямоугольного параллелепипеда, в котором с противоположной стороны крепления термоэлектрической батареи выточено углубление в виде сегмента сферы, а на втором спае термоэлектрической батареи установлен омический нагреватель, представляющий собой резистивную пленку, напыленную на керамическую обкладку термоэлектрической батареи, причем основание емкости вместе с термоэлектрической батареей и омическим нагревателем залито прозрачным диэлектрическим компаундом, из которого методом формования изготовлен плафон, при этом цвет плафона регулируется при изготовлении с помощью различных красящих добавок, подмешиваемых в компаунд, а лампа, представляющая собой набор светодиодов, подключена к термоэлектрической батарее параллельно омическому нагревателю.
РИСУНКИ
MM4A – Досрочное прекращение действия патента СССР или патента Российской Федерации на изобретение из-за неуплаты в установленный срок пошлины за поддержание патента в силе
Дата прекращения действия патента: 15.06.2008
Извещение опубликовано: 20.03.2010 БИ: 08/2010
|
|