|
|
(21), (22) Заявка: 2007104743/06, 26.01.2007
(24) Дата начала отсчета срока действия патента:
26.01.2007
(46) Опубликовано: 27.08.2008
(56) Список документов, цитированных в отчете о поиске:
RU 2037736 C1, 18.06.1995. RU 2058508 C1, 20.04.1996. SU 1838716 A3, 30.08.1993. JP 10252990 A, 22.09.1998. EP 0661493 A1, 05.07.1995.
Адрес для переписки:
420085, Татарстан, г.Казань, ул. Тэцевская, 10, ЗАО “Заречье”, М.В. Китаеву
|
(72) Автор(ы):
Карась Леонтий Вениаминович (RU), Китаев Михаил Валентинович (RU), Локай Леонид Викторович (RU), Муштаков Георгий Глебович (RU)
(73) Патентообладатель(и):
Закрытое акционерное общество “Заречье” (RU)
|
(54) УСТАНОВКА ДЛЯ ЗАПОЛНЕНИЯ БАЛЛОНОВ СЖИЖЕННЫМ ГАЗОМ
(57) Реферат:
Изобретение относится к устройствам для заполнения и хранения баллонов с сжиженным газом и может быть использовано, в частности, для заполнения баллонов огнетушителей хладоном. Установка для заполнения баллонов сжиженным газом содержит смонтированные на несущей конструкции емкость с газовым и жидкостным пространствами и спускным клапаном, жидкостный и газовый трубопроводы с запорной арматурой и манометром, измерительное весовое устройство и гибкий трубопровод, соединенный одним концом с жидкостным трубопроводом, а другим, с запорным клапаном, устанавливаемым на горловине заполняемого баллона, компрессор и пневматический аккумулятор. Аккумулятор соединен трубопроводом с газовым пространством емкости и с трубопроводом подачи сжатого воздуха в гибкий трубопровод, а в жидкостное пространство емкости помещена труба для забора сжиженного газа, соединенная с жидкостным трубопроводом, на концах которых установлены обратные клапаны, соединенные между собой трубопроводом, который соединен с гибким трубопроводом и с трубопроводом, сообщающимся с газовым пространством емкости через перепускной клапан. Использование изобретения позволит упростить конструкцию и обеспечить возможность заправки баллонов огнетушителей хладоном без снижения эргономических показателей. 10 з.п. ф-лы, 1 ил.
Изобретение относится к устройствам для заполнения и хранения баллонов с сжиженным газом и может быть использовано, в частности, для заполнения баллонов огнетушителей хладоном.
Известна установка для наполнения баллонов сжиженным газом, содержащая несущую конструкцию, рычаг с противовесом, подвесную платформу для баллонов, приводной пневмоцилиндр с поршнем, клапан сброса сжатого воздуха, установленный на корпусе пневмоцилиндра, сборную емкость, трубопроводы подачи и слива сжиженного газа и сжатого воздуха, клапан-отсекатель сжиженного газа, гидравлически связанного со сливной емкостью и функционально с блоком управления, закрепленным на несущей конструкции, клапан-пускатель сжатого воздуха, выход которого соединен с входом клапана-пускателя, и пневматический зажим баллона (Патент RU №2058508 C1. Установка для наполнения баллонов сжиженным газом. – МПК6 F17С 5/02, G05D 27/00. – 1996.04.20). Недостатком известного аналога является сложность конструкции.
Наиболее близкой по технической сущности к заявляемому изобретению является установка для заполнения баллонов сжиженным газом, содержащая изотермическую емкость, соединительные трубопроводы с запорной арматурой и наполняемый баллон, соединенный с наполнительным устройством, которое выполнено в виде двухгорлового сосуда высокого давления, внутри которого герметично размещена продольная труба, соединенная верхним и нижним торцами соответственно с газовым и жидкостным пространством емкости, при этом в трубе на уровне нижней горловины сосуда и на уровне ниже верхней его горловины выполнены сквозные отверстия (Патент RU №2037736 C1. Установка для заполнения баллонов сжиженным газом. – МПК6 F17С 5/02. – 1995.06.19). Данное изобретение принято за прототип.
Недостатком известного изобретения, принятого за прототип, является сложность конструкции и ограниченность его применения, в частности для заправки баллонов огнетушителей хладоном.
Основной задачей, на решение которой направлено заявляемое изобретение, является упрощение заправки баллонов огнетушителей хладоном.
Техническим результатом, достигаемым при осуществлении заявляемого технического решения, является упрощение конструкции и возможность заправки баллонов огнетушителей хладоном без снижения эргономических показателей.
Указанный технический результат достигается тем, что в известной установке для заполнения баллонов сжиженным газом, содержащей смонтированные на несущей конструкции емкость с газовым и жидкостным пространствами и спускным клапаном, жидкостный и газовый трубопроводы с запорной арматурой и манометром, измерительное весовое устройство и гибкий трубопровод, соединенный одним концом с жидкостным трубопроводом, а другим – с запорным клапаном, устанавливаемым на горловине заполняемого баллона, согласно предложенному техническому решению
она дополнительно снабжена компрессором и пневматическим аккумулятором, соединенными трубопроводами с запорной арматурой, манометром и воздушным фильтром, последний соединен с газовым трубопроводом, сообщающимся с газовым пространством емкости через запорный вентиль и редукционный клапан, и с трубопроводом подачи сжатого воздуха в гибкий трубопровод, а в жидкостное пространство емкости помещена труба для забора сжиженного газа, соединенная с жидкостным трубопроводом, причем на концах трубопровода подачи сжатого воздуха и жидкостного трубопровода установлены обратные клапаны, последние соединены между собой трубопроводом, который соединен с гибким трубопроводом и параллельно с трубопроводом, сообщающимся с газовым пространством емкости через перепускной клапан;
трубопровод подачи сжатого воздуха в гибкий трубопровод оснащен запорным вентилем, манометром и спускным клапаном;
пневматический аккумулятор содержит два воздушных баллона высокого давления, расположенных на несущей конструкции и соединенных между собой трубопроводами с запорными вентилями;
измерительное весовое устройство снабжено платформой с возможностью покачивания и вертикального перемещения, в основании которой над чашей весов выполнено базовое гнездо для баллона, и фиксаторами горизонтального, верхнего и нижнего положений платформы;
измерительное весовое устройство выполнено сверху несущей конструкции для малогабаритных баллонов и/или сбоку несущей конструкции для крупногабаритных баллонов;
базовое гнездо для баллона выполнено в форме отверстия диаметром, меньшим диаметра баллона;
платформа для малогабаритного баллона выполнена скобообразной формы и подвижно соединена боковыми сторонами со стойками, помещенными в закрепленных на несущей конструкции направляющих втулках, вертикально перемещающимися посредством поворота пары соединенных между собой валом эксцентриков, образующих зазоры с торцами стоек в нижнем положении платформы, достаточные для взвешивания баллона на чаше весов, и оснащена прихватом закрепления горловины заполняемого баллона;
эксцентрики выполнены с ручкой их поворота для выполнения ими подъема и опускания платформы над чашей весов;
платформа выполнена с рычагом покачивания ее в верхнем положении;
измерительное весовое устройство для крупногабаритных баллонов выполнено на раме, к которой прикреплена гайка с ходовым винтом, вертикально перемещающим стойку с платформой и ложементами с хомутами для закрепления баллона в отверстии платформы посредством вращения ходового винта за соединенные с ним ручки;
на горловине емкости установлен предохранительный мембранный клапан.
Проведенный заявителем анализ уровня техники позволил установить, что аналоги, характеризующиеся совокупностями признаков, тождественными всем признакам заявленной установки для заполнения баллонов сжиженным газом, отсутствуют. Следовательно, заявленное техническое решение соответствует условию патентоспособности «новизна».
Результаты поиска известных решений в данной области техники с целью выявления признаков, совпадающих с отличительными от прототипа признаками заявляемого технического решения, показали, что они не следуют явным образом из уровня техники. Из определенного заявителем уровня техники не выявлена известность влияния предусматриваемых существенными признаками из заявляемого технического решения преобразований на достижение указанного технического результата. Следовательно, заявляемое техническое решение соответствует условию патентоспособности «изобретательский уровень».
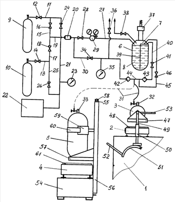
На представленном чертеже показана схема предложенной установки.
Установка для заполнения баллонов сжиженным газом содержит конструкцию 1, несущую измерительное весовое устройство 2 для малогабаритных баллонов 3, расположенное сверху несущей конструкции 1, и/или измерительное весовое устройство 4 для крупногабаритных баллонов 5, установленное сбоку несущей конструкции 1, емкость 6 с газовым 7 и жидкостным 8 пространствами, пневматический аккумулятор, состоящий из воздушных баллонов 9 и 10, соединенных трубопроводом 11, содержащим запорный вентиль 12, с воздушным баллоном 9, трубопроводом 13, содержащим запорный вентиль 14, с баллоном 10, соединенных трубопроводом 15 с запорным вентилем 16 и трубопроводом 17 с запорным вентилем 18, которые соединены трубопроводом 19 с воздушным фильтром 20. К баллонам 9 и 10 пневматического аккумулятора трубопроводом 21 присоединен компрессор 22. Трубопровод 21, оснащенный манометром 23 и запорным вентилем 24, соединен с трубопроводами 11 и 15, а также с трубопроводом 25 с запорным вентилем 26, соединенным с трубопроводами 13 и 17. Выход воздушного фильтра 20 соединен параллельно с газовым трубопроводом 27, сообщающимся с газовым пространством 7 емкости 6 через запорный вентиль 28 и редукционный клапан 29, оснащенный манометрами входного и выходного давления воздуха в газовом трубопроводе 27, и с трубопроводом 30 подачи сжатого воздуха в перекидываемый гибкий трубопровод 31, соединяемый с запорным клапаном 32 на малогабаритном баллоне 3 или с запорным клапаном 33 на крупногабаритном баллоне 5. Трубопровод 27 подачи сжатого воздуха в гибкий трубопровод 31 оснащен запорным вентилем 34, манометром 35 и спускным клапаном 36. На горловине емкости 3 установлен предохранительный мембранный клапан 37, а газовое пространство 7 емкости 6 сообщается с атмосферой через спускной клапан 38. В жидкостное пространство 8 емкости 6 помещена труба 39 для забора сжиженного газа, соединенная с жидкостным трубопроводом 40, оснащенным запорным вентилем 41 посредством насадки, закрепленной на горловине емкости 6. На концах трубопровода 30 подачи сжатого воздуха и жидкостного трубопровода 40 установлены обратные клапаны 42 и 43, последние соединены между собой трубопроводом 44, который соединен с гибким трубопроводом 31 и параллельно с трубопроводом 45, сообщающимся с газовым пространством 7 емкости 6 через перепускной клапан 46.
Измерительное весовое устройство 2 для малогабаритного баллона 3 снабжено платформой 47 с возможностью покачивания и вертикального перемещения, в основании которой над чашей весов 48 выполнено базовое гнездо для баллона 3, и фиксаторами горизонтального, верхнего и нижнего положений платформы 47. Базовое гнездо для баллона 3 выполнено в форме отверстия диаметром, меньшим диаметра баллона. Платформа 47 выполнена скобообразной формы и подвижно соединена боковыми сторонами со стойками 49, помещенными в закрепленных на несущей конструкции направляющих втулках 50, вертикально перемещающимися посредством поворота пары соединенных между собой эксцентриков 51 с ручкой 52, образующих зазоры с торцами стоек в нижнем положении платформы 47, достаточные для взвешивания баллона 3 на чаше весов 48, и оснащена прихватом закрепления горловины заполняемого баллона 3. Платформа 47 выполнена с рычагом 53 для покачивания ее в верхнем положении.
Емкость 6 представляет собой баллон с закрепленной на его горловине насадкой, которая имеет четыре штуцера для присоединения трубопроводов: газового трубопровода 27, жидкостного трубопровода 40, трубопровода 45, сообщающегося с газовым пространством 7 емкости 6 и клапаном 38 сброса воздуха из газового пространства 7. На насадке установлен предохранительный мембранный клапан 37.
Измерительное весовое устройство 4 для крупногабаритных баллонов 5 выполнено на раме 54, на которой прикреплена гайка с ходовым винтом 55, вертикально перемещающим стойку 56 с платформой 57 посредством вращения ходового винта 55 с помощью ручек 58, с возможностью покачивания платформы 57 в верхнем положении. Платформа 57 оснащена ложементами 59 и хомутами 60 для закрепления баллона 5 в базовом гнезде платформы. В основании платформы 57 над чашей весов 61 выполнено базовое гнездо для баллона 5 и фиксаторами горизонтального, верхнего и нижнего положений платформы 57. Базовое гнездо для баллона 5 выполнено в форме отверстия диаметром, меньшим диаметра баллона.
Предложенная установка для заполнения баллонов сжиженным газом работает следующим образом.
Вначале производят заправку воздушных баллонов 9 и/или 10 с емкостью 40 л и максимально допустимым давлением 150 кгс/см2 сжатым воздухом от компрессора 22, например «POSEIDON Р-100», с давлением в пределах 150…170 кгс/см2, с автоматическим отключением компрессора по достижению в воздушных баллонах 9 и 10 давления 150 кгс/см2. Запорные вентили 12 и 24 и/или 14 и 26 открывают в зависимости от заправляемых баллонов 9 и/или 10. Воздух от компрессора 22 по трубопроводу 21 поступает через трубопроводы 11 и/или 25 и 13 через открытые запорные вентили 24 и 12 и/или 26 и 14 в воздушные баллоны 9 и/или 10 соответственно, до давления 150 кгс/см2 под визуальным контролем по манометру 23. Затем закрывают вентили 12 и 24 и/или 14 и 26, и открывают запорный вентиль 34 и спускной клапан 36, сбрасывая давление в трубопроводе 30 подачи сжатого воздуха в гибкий трубопровод 31, проверяя давление в трубопроводе 30 по манометру 35, после чего их закрывают. На этом заканчивают заправку воздушных баллонов 9 и 10 пневматического аккумулятора.
В емкости 6, представляющей собой баллон БК-35-40, открывают спускной клапан 38, и в емкость 6 заливают 33±0,5 л хладона 114В2 или 13В1 до образования в ней газового 7 и жидкостного 8 пространств, после чего закрывают спускной клапан 38.
Платформу 47 в измерительном весовом устройстве 2 для малогабаритных баллонов 3, включающем настольные электронные весы 48 «Штрих АС мини 15-10» с пределом взвешивания 0,2…15 кг, устанавливают над чашей весов 48 в верхнем положении и закрепляют ее фиксаторами, как в горизонтальном, так и верхнем положениях. В базовое гнездо платформы 47 устанавливают пустой баллон 3, и его горловину закрепляют прихватом на платформе 47, а на горловину баллона 3 устанавливают запорный клапан 32, к которому присоединяют гибкий трубопровод 31.
На одном из воздушных баллонов 9 или 10 открывают запорный вентиль 12 или 14, затем открывают запорные вентили 16 или 18, в зависимости от используемого баллона, и запорный вентиль 28. Редукционным клапаном 29 устанавливают выходное давление воздуха в пределах 4±1 кгс/см2. Платформу 47 с пустым баллоном 3 с помощью эксцентриков 51 и ручки 52 медленно опускают на чашу весов 48 с образованием зазора между стойками 49 и эксцентриками 51, достаточным для взвешивания баллона 3, и в нижнем положении платформу 47 закрепляют фиксатором. В этом положении замеряют вес пустого баллона 3 вместе с платформой 47, запорным клапаном 32 и гибким трубопроводом 31. Затем открывают запорный вентиль 41, и сжиженный хладон, вытесняемый сжатым воздухом под давлением, поступающим из газового трубопровода 27 в газовое пространство 7, из емкости 6 по трубе 39, жидкостному трубопроводу 40 через обратный клапан 43, гибкий трубопровод 31 и запорный клапан 32 поступает в баллон 3, и с достижением заданного суммарного веса закрывают запорный вентиль 41. Если вес заправленного баллона 3 получился выше требуемого, то закрывают запорный вентиль 28 и открывают спускной клапан 38, тем самым сбрасывают давление в газовом пространстве 7 емкости 6 до нуля. Затем плавно открывая перепускной клапан 46, излишки хладона сливают по трубопроводу 45 в емкость 6, одновременно отслеживая вес баллона 3, после чего закрывают спускной клапан 38 и перепускной клапан 46. Затем производят заправку баллона 3 воздухом высокого давления. Для этого платформу 47 с баллоном 3 с помощью эксцентриков 51 и ручки 52 медленно поднимают над чашей весов 48 в верхнее положение и закрепляют в этом положении фиксатором. Медленно открывая запорный вентиль 34 сжатый воздух по трубопроводу 30 через обратный клапан 42, гибкий трубопровод 31 и запорный клапан 32 поступает в баллон 3 до достижения давления 50±1 кгс/см2, определяемого по манометру 35, после чего закрывают запорный вентиль 34. Освободив платформу 47 от фиксатора горизонтального положения, за рукоятку 53 выполняют 10…15 качаний платформы 47 вместе с баллоном 3, тем самым взбалтывают хладон в баллоне 3, что приводит к уменьшению давления в баллоне, которое определяют по манометру 35. Для восстановления давления в баллоне платформу закрепляют в горизонтальном положении с помощью фиксатора, медленно открывают запорный вентиль 34 и доводят давление в баллоне до заданной величины под визуальным контролем по манометру 35, после чего закрывают запорный вентиль 34 и запорный клапан 32. Затем закрывают заборные вентили 16 и/или 18, 28 и 34, открывают заборные вентили 34 и 41, спускные клапаны 36 и 38 и перепускной клапан 46, отсоединяют гибкий трубопровод 31 и запорный клапан 32 от баллона 3, последний освобождают от прихвата горловины на платформе 47 и заправленный баллон снимают с платформы 47 измерительного весового устройства 2.
Аналогичным образом заполняют сжиженным газом крупногабаритный баллон 5, установленный на платформе 57 измерительного весового устройства 4, в котором используются электронные весы мод. ВТ-60 с пределом взвешивания 0,5…60 кг. Для этого платформу 57 устанавливают над чашей весов 61 в верхнем положении посредством вращения ходового винта 55 за ручку 58 и вертикального перемещения стойки 56, которую с платформой 56 закрепляют фиксаторами в горизонтальном и верхнем положениях. В базовое гнездо платформы 57 устанавливают пустой баллон 5 и закрепляют на ложементах 59 и хомутами 60, а на горловину баллона 5 устанавливают запорный клапан 33, к которому присоединяют гибкий трубопровод 31.
Предложенная установка для заполнения баллонов сжиженным газом позволяет вести заправку огнетушителей хладоном в течение 10-20 мин в зависимости от объема баллона.
Формула изобретения
1. Установка для заполнения баллонов сжиженным газом, содержащая смонтированные на несущей конструкции емкость с газовым и жидкостным пространствами и спускным клапаном, жидкостный и газовый трубопроводы с запорной арматурой и манометром, измерительное весовое устройство и гибкий трубопровод, соединенный одним концом с жидкостным трубопроводом, а другим с запорным клапаном, устанавливаемым на горловине заполняемого баллона, отличающаяся тем, что она дополнительно снабжена компрессором и пневматическим аккумулятором, соединенными трубопроводами с запорной арматурой, манометром и воздушным фильтром, последний соединен с газовым трубопроводом, сообщающимся с газовым пространством емкости через запорный вентиль и редукционный клапан, и с трубопроводом подачи сжатого воздуха в гибкий трубопровод, а в жидкостное пространство емкости помещена труба для забора сжиженного газа, соединенная с жидкостным трубопроводом, причем на концах трубопровода подачи сжатого воздуха и жидкостного трубопровода установлены обратные клапаны, последние соединены между собой трубопроводом, который соединен с гибким трубопроводом и параллельно с трубопроводом, сообщающимся с газовым пространством емкости через перепускной клапан.
2. Установка по п.1, отличающаяся тем, что трубопровод подачи сжатого воздуха в гибкий трубопровод оснащен запорным вентилем, манометром и спускным клапаном.
3. Установка по п.1, отличающаяся тем, что пневматический аккумулятор содержит два воздушных баллона высокого давления, расположенных на несущей конструкции и соединенных между собой трубопроводами с запорными вентилями.
4. Установка по п.1, отличающаяся тем, что измерительное весовое устройство снабжено платформой с возможностью покачивания и вертикального перемещения, в основании которой над чашей весов выполнено базовое гнездо для баллона, и фиксаторами горизонтального, верхнего и нижнего положений платформы.
5. Установка по п.4, отличающаяся тем, что измерительное весовое устройство выполнено сверху несущей конструкции для малогабаритных баллонов и/или сбоку несущей конструкции для крупногабаритных баллонов.
6. Установка по п.4, отличающаяся тем, что базовое гнездо для баллона выполнено в форме отверстия диаметром, меньшим диаметра баллона.
7. Установка по п.5, отличающаяся тем, что платформа для малогабаритного баллона выполнена скобообразной формы и подвижно соединена боковыми сторонами со стойками, помещенными в закрепленных на несущей конструкции направляющих втулках, вертикально перемещающимися посредством поворота пары соединенных между собой эксцентриков, образующих зазоры с торцами стоек в нижнем положении платформы, достаточные для взвешивания баллона на чаше весов, и оснащена прихватом закрепления горловины заполняемого баллона.
8. Установка по п.7, отличающаяся тем, что эксцентрики выполнены с ручкой их поворота для выполнения ими подъема и опускания платформы над чашей весов.
9. Установка по п.7, отличающаяся тем, что платформа выполнена с рычагом покачивания ее в верхнем положении.
10. Установка по п.5, отличающаяся тем, что измерительное весовое устройство для крупногабаритных баллонов выполнено на раме, к которой прикреплена гайка с ходовым винтом, вертикально перемещающим стойку с платформой и ложементами с хомутами для закрепления баллона в отверстии платформы, посредством вращения ходового винта за соединенные с ним ручки.
11. Установка по п.1, отличающаяся тем, что на горловине емкости установлен предохранительный мембранный клапан.
РИСУНКИ
|
|