|
|
(21), (22) Заявка: 2006136343/06, 13.10.2006
(24) Дата начала отсчета срока действия патента:
13.10.2006
(43) Дата публикации заявки: 20.04.2008
(46) Опубликовано: 27.08.2008
(56) Список документов, цитированных в отчете о поиске:
US 1659950 А, 21.11.1925. US 1690221 А, 06.11.1928. US 2463113 А, 01.03.1949. RU 2244202 С2, 10.01.2005. SU 93347 А, 01.01.1952.
Адрес для переписки:
456600, Челябинская обл., г. Копейск, ул. Ленина, 24, ОАО “Копейский машиностроительнвй завод”
|
(72) Автор(ы):
Телков Валерий Александрович (RU), Калашников Сергей Анатольевич (RU)
(73) Патентообладатель(и):
ОАО “Копейский машиностроительный завод” (RU)
|
(54) УСТРОЙСТВО ДЛЯ ПОДАЧИ СМАЗКИ
(57) Реферат:
Устройство предназначено для нагнетания консистентных смазок и густых масел к поверхностям трения узлов и механизмов различных машин при их эксплуатации. Устройство для подачи смазки содержит корпус с плунжером и обратными клапанами, цилиндр с крышкой и поршнем, при этом плунжер имеет две ступени, в корпус встроены два воздушных обратных клапана, а один из гибких рукавов выполнен с возможностью нагнетания воздуха в цилиндр или отсасывания воздуха из цилиндра. Технический результат – повышение производительности устройства и удобство в эксплуатации. 2 ил.
Изобретение относится к области машиностроения и может быть использовано для нагнетания консистентных смазок и густых масел к поверхностям трения узлов и механизмов различных машин при их эксплуатации.
Известно устройство для подачи смазки (патент №2244202). Нагнетание смазки в данном устройстве для подачи смазки осуществляется плунжером через обратный клапан, который встроен на выходе смазки из корпуса. Смазка подается к плунжеру с помощью поршня, перемещение которого осуществляется при помощи штока, перемещающегося по резьбе, выполненной на штоке и в крышке. При вращении ручки со штоком поршень перемещается и подает смазку к плунжеру.
К причинам, препятствующим достижению указанного ниже технического результата при использовании известного устройства, относится то, что в известном устройстве для перемещения поршня необходимо периодически вращать ручку со штоком. Для этого требуются дополнительные затраты времени, что снижает производительность работы устройства, представляет неудобство в эксплуатации; также это устройство из-за наличия штока имеет большие габариты.
Наиболее близким устройством того же назначения к заявленному изобретению по совокупности признаков является устройство для подачи смазки по патенту US 1659950 A, (L.GOODMANN), 21.11.1925 г. Нагнетание смазки в данном устройстве для подачи смазки также осуществляется плунжером. Одновременно вторым плунжером происходит нагнетание воздуха через обратный воздушный клапан в цилиндр для перемещения поршня и подачи смазки к первому плунжеру. К причинам, препятствующим достижению указанного ниже технического результата при использовании известного устройства, принятого за прототип, относится то, что в известном устройстве имеется два плунжера и отсутствует гибкий рукав для нагнетания воздуха в цилиндр. Поэтому конструкция этого устройства более сложная, имеет большие габариты и вес.
Задачей настоящего изобретения является упрощение конструкции, уменьшение габаритов и веса.
Сопоставление заявленного устройства для подачи смазки, содержащего корпус с плунжером, обратными клапанами и двумя гибкими рукавами, цилиндр с крышкой и поршнем, с прототипом позволяет сделать вывод об отсутствии в последнем признаков, сходных с существенными отличительными признаками в заявленном устройстве для подачи смазки:
– плунжер имеет две ступени;
– в корпус встроены два воздушных обратных клапана;
– один из гибких рукавов выполнен с возможностью нагнетания воздуха в цилиндр или отсасывания воздуха из цилиндра.
Совокупность признаков заявленного технического решения имеет отличие от прототипа и известного аналога и не следует явным образом из изученного уровня техники, поэтому авторы считают, что объект является новым и имеет изобретательский уровень. Указанный технический результат при осуществлении изобретения достигается тем что, что в заявленном изобретении:
– плунжер имеет две ступени;
– в корпус встроены два воздушных обратных клапана;
– один из гибких рукавов выполнен с возможностью нагнетания воздуха в цилиндр или отсасывания воздуха из цилиндра.
Сочетание этих признаков решает поставленную задачу изобретения: упрощение конструкции, уменьшение габаритов и веса устройства.
Эти признаки связаны между собой так, что при устранении одного из них исчезает добываемый изобретением технический результат. Изобретение также представляет собой определенный шаг в развитии техники и является прогрессивным, так как позволяет упростить конструкцию, уменьшить вес и габариты устройства.
Устройство для подачи смазки, содержащее корпус с плунжером, обратными клапанами и двумя гибкими рукавами, цилиндр с крышкой и поршнем, в котором заявлено данное изобретение, может найти широкое применение в машиностроении, т.е. является промышленно применимым техническим решением.
Достижение технического результата при работе устройства для подачи смазки, содержащего корпус с плунжером, обратными клапанами и двумя гибкими рукавами, цилиндр с крышкой и поршнем, обеспечивается тем, что:
– плунжер имеет две ступени;
– в корпус встроены два воздушных обратных клапана;
– один из гибких рукавов выполнен с возможностью нагнетания воздуха в цилиндр или отсасывания воздуха из цилиндра.
Такое решение позволило при возвратно-поступательном движении одного плунжера одновременно нагнетать смазку к поверхностям трения и воздух через обратный клапан и гибкий рукав в цилиндр. Первая ступень плунжера, имеющая меньший диаметр, нагнетает смазку. Вторая ступень, имеющая больший диаметр, нагнетает воздух в цилиндр для создания избыточного давления и перемещения поршня. Кроме того, наличие второго воздушного обратного клапана и гибкого рукава позволило отсасывать воздух из цилиндра и перемещать поршень в обратном направлении для заполнения цилиндра смазкой. По сравнению с известным прототипом конструкция заявленного устройства более проста, что позволяет уменьшить вес и габариты устройства.
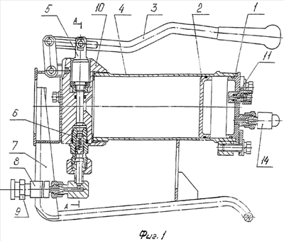
Сущность заявляемого изобретения поясняется прилагаемыми чертежами. На чертежах изображено устройство для подачи смазки, которое состоит из крышки 1, поршня 2, рычага 3, цилиндра 4, плунжера 5, обратного клапана 6, подставки 7, гибкого рукава 8, штуцера 9, корпуса 10, предохранительного клапана 11 (фиг.1) обратных клапанов 12 и 13, гибкого рукава 14 (фиг.2).
Подготовка и работа устройства осуществляется в следующем порядке: гибкий рукав 14 (фиг.2) отсоединить от обратного клапана 12 (фиг.2), цилиндр 4 (фиг.1) вместе с крышкой 1 (фиг.1), гибким рукавом 14 (фиг.2) и поршнем 2 (фиг.1) выкрутить из корпуса 10 (фиг.1). При этом поршень 2 (фиг.1) должен быть в крайнем левом положении в цилиндре 4 (фиг.1). Подсоединить гибкий рукав 14 (фиг.2) к обратному клапану 13 (фиг.2). Придать возвратно-поступательное движение рычагу 3 и плунжеру 5 (фиг.1). В результате отсасывания воздуха из цилиндра 4 (фиг.1) через обратный клапан 13 (фиг.2) и гибкий рукав 14 (фиг.2) поршень 2 (фиг.1) начинает перемещаться внутрь цилиндра 4 (фиг.1). По мере перемещения поршня 2 заполнить цилиндр 4 (фиг.1) смазкой. Отсоединить гибкий рукав 14 от обратного клапана 13 (фиг.2). Закрутить цилиндр 4 со смазкой в корпус 10 (фиг.1) до упора. Подсоединить гибкий рукав 14 к обратному клапану 12 (фиг.2), придавая возвратно-поступательное движение рычагу 3 и плунжеру 5, подать смазку через обратный клапан 6, гибкий рукав 8 и штуцер 9 (фиг.1) к поверхности трения. При этом устройство можно установить при помощи подставки 7 (фиг.1) в любое удобное для работы положение (горизонтальное или вертикальное). Излишек воздуха в цилиндре 4 удаляется через предохранительный клапан 11 (фиг.1).
Формула изобретения
Устройство для подачи смазки, содержащее корпус с плунжером и обратными клапанами, и двумя гибкими рукавами, цилиндр с крышкой и поршнем, отличающееся тем, что плунжер имеет две ступени, в корпус встроены два воздушных обратных клапана, а один из гибких рукавов выполнен с возможностью нагнетания воздуха в цилиндр или отсасывания воздуха из цилиндра.
РИСУНКИ
|
|