|
|
(21), (22) Заявка: 2007128666/06, 25.07.2007
(24) Дата начала отсчета срока действия патента:
25.07.2007
(46) Опубликовано: 27.08.2008
(56) Список документов, цитированных в отчете о поиске:
RU 2153616 С2, 27.07.2000. RU 2226632 С2, 10.04.2004. RU 41504 U1, 27.10.2004. US 3545721 A, 08.12.1970. US 2890017 A, 09.06.1959. US 4235003 A, 25.11.1980. FR 1515843 A1, 08.03.1968. JP 52105333 A, 03.09.1977.
Адрес для переписки:
454014, г.Челябинск, а/я 2862, Т.А. Крымской
|
(72) Автор(ы):
Баранчугов Юрий Александрович (RU), Степанов Александр Алексеевич (RU)
(73) Патентообладатель(и):
Общество с ограниченной ответственностью “Завод трубопроводной арматуры” (RU)
|
(54) НЕРАЗБОРНЫЙ ШАРОВОЙ КРАН И СПОСОБ ЕГО ИЗГОТОВЛЕНИЯ
(57) Реферат:
Группа изобретений относится к запорной трубопроводной арматуре и предназначена для надежного перекрытия проходного сечения трубопроводов в системах водоснабжения. Шаровой неразборный кран между двух труб включает штревельный узел со своим корпусом. Концы цилиндрических участков труб уплотнены с поворачивающимся вокруг его вертикальной оси шаром. Шар и концы труб окружены корпусом крана. Корпус крана выполнен рукавообразным и соединен в верхней части с корпусом штревеля посредством сварки, расположенным по вертикали соосно с ним. Окружающими шар выпуклыми поверхностями корпус соединен с концами цилиндрических участков труб. На концах цилиндрических участков труб по их окружности сформирована ступенчатая выступающая часть с кольцевым уплотнением. Корпус сформирован с сужением к своим концам и присоединен к сторонам труб. Шар и ступенчатые концы труб с их уплотнениями размещены внутри пространства, образованного корпусом, и расположены симметрично относительно оси штревеля. Штревель установлен на цилиндрическом кольце. Корпус крана имеет в центральной части шарообразную форму, соразмерную с поверхностью шара крана внутри корпуса, переходящую через небольшой ступенчатый скос в цилиндрическую трубчатую поверхность. Относительно вертикальной оси корпус крана выполнен из двух симметричных отдельных частей, соединенных между собой посредством сварки с упомянутым цилиндрическим кольцом. Относительно горизонтальной оси корпус выполнен как одно целое с цилиндрической трубчатой поверхностью. Между шаром и его корпусом установлены последовательно от шара к корпусу уплотняющее кольцо затвора из неметаллического материала и с помощью сварки упорное кольцо из металла. Имеется способ изготовления шарового неразъемного крана. Группа изобретений направлена на упрощение технологии изготовления при повышении надежности эксплуатации шарового крана. 2 н.п. ф-лы, 5 ил.
Изобретения относятся к запорной трубопроводной арматуре, предназначены для надежного перекрытия проходного сечения трубопроводов и могут использоваться в системах водоснабжения.
Известны шаровой кран и способ его изготовления, описанные в з. Финляндии №3532/72. Известный шаровой кран содержит корпус вокруг шара, концы труб прикреплены сваркой к сторонам труб так, что полости для уплотнения остаются внутри пространства, ограниченного корпусом. При таком выполнении требуется, чтобы стенки труб были достаточно толстыми для формирования полости для уплотнений внутри них. При этом процесс изготовления проходит так, что стенки у концов труб толще, чем в других частях трубы.
Это утяжеляет конструкцию и приводит к высокой стоимости изготовления. Кроме того, в связи со сваркой корпуса на шаре и трубах существует опасность проникновения огненных брызг от сварки внутрь корпуса, где они могут повредить движению шара, которое является основой работы крана.
Наиболее близкими по технической сущности к заявляемым являются технические решения, описанные в п. РФ №2153616 «Шаровой кран с полным открытием и способ его изготовления» по кл. F16K 5/06, 27/06, з. 17.08.95, оп. 27.07.2000 и выбранные в качестве прототипа.
Известный кран между двух труб, концы которых уплотнены с шаром крана, открывающим и закрывающим кран и поворачивающимся вокруг его оси, причем шар крана и концы труб окружены корпусом, выполненным рукавообразным и прикрепленным своими концами к сторонам труб, так что он является элементом, скрепляющим детали крана, причем на концах труб по их окружности сформирована ступенчатая выступающая часть, содержащая кольцевое уплотнение, а корпус сформирован с сужением по конусу к своим концам и присоединен к сторонам труб так, что шар крана и ступенчатые концы труб с их уплотнениями размещены внутри пространства, образованного корпусом.
Недостатком известного крана является следующее. Упор уплотнений в трубу негерметичен и возможно протекание воды через затвор. Из-за того что корпус является составным из рукава и труб и возможны отклонения в диаметрах поверхностей рукава, сопрягаемых с трубами, может иметь место перекос элементов корпуса, а следовательно, и элементов затвора крана, что приведет к нарушению его герметичности.
Способ изготовления такого крана заключается в следующем.
Кран между двух труб выполняют с уплотнениями между концами труб и шаром крана, открывающим и закрывающим кран и поворачивающимся вокруг его оси, при этом вокруг шара крана и концов устанавливают рукавообразный корпус, концы которого прикрепляют к сторонам вставленных в корпус труб в качестве элемента, скрепляющего детали крана, причем перед прикреплением проводят стадию формирования на обоих концах труб по их окружности по существу ступенчатой выступающей части для последующего размещения в ней кольцевого уплотнения, стадии примыкания концов труб и уплотнений к противоположным сторонам шара крана, а также стадию сужения концов рукавообразного корпуса давлением для того, чтобы их внутренний диаметр соответствовал наружному диаметру труб.
Недостатком способа является то, что упорные металлические уплотняющие кольца не соединены жестко с трубами и, следовательно, не могут использоваться при базировании элементов корпуса для обеспечения их соосности при сборке. Наличие шара внутри рукава после его формования не позволяет обрабатывать посадочные поверхности конических участков рукава и, следовательно, при сборке может проявиться несовпадение осей шара и элементов корпуса и, как следствие, несовпадение осей шара и штревеля, приводящее к преждевременному износу уплотняющих колец.
Кроме этого, способ сборки сложен из-за неопределенности положения блоков уплотнений после снятия защелок, установленных на них при формовании конических концов рукава.
Таким образом, недостатками известных технических решений являются сложность изготовления и ненадежность работы при эксплуатации.
Задачей заявляемых технических решений является упрощение технологии изготовления при повышении надежности эксплуатации.
Поставленная задача решается тем, что:
– в шаровом неразборном кране между двух труб, концы цилиндрических участков которых уплотнены с шаром крана, открывающим и закрывающим кран и поворачивающимся вокруг его вертикальной оси, содержится штревельный узел со своим корпусом, причем шар крана и концы труб окружены корпусом крана, выполненным рукавообразным и соединенным в верхней части с корпусом штревеля посредством сварки и расположенным по вертикали соосно с ним, а окружающими шар выпуклыми поверхностями соединен с концами цилиндрических участков труб так, что он является элементом, скрепляющим детали крана, при этом на концах цилиндрических участков труб по их окружности сформирована ступенчатая выступающая часть, содержащая кольцевые уплотнения из металлического и неметаллического колец, а корпус сформирован с сужением к своим концам и присоединен к сторонам труб таким образом, что шар крана и ступенчатые концы труб с их уплотнениями размещены внутри пространства, образованного корпусом, и расположены симметрично относительно оси штревеля, согласно изобретению штревель установлен на цилиндрическом кольце, соразмерном с корпусом крана, корпус крана имеет в центральной части шарообразную форму, соразмерную с поверхностью шара крана внутри корпуса, переходящую через небольшой ступенчатый скос в цилиндрическую трубчатую поверхность, причем относительно вертикальной оси корпус крана выполнен из двух симметричных отдельных частей, соединенных между собой посредством сварки соосно с цилиндрическим кольцом, на котором установлен штревель, а относительно горизонтальной оси корпус выполнен как одно целое с цилиндрической трубчатой поверхностью, при этом между шаром крана и его корпусом установлены последовательно от шара к корпусу уплотняющее кольцо затвора из неметаллического материала и посредством сварки упорное кольцо из металла;
– в способе изготовления шарового крана, заключающемся в том, что изготавливают корпус крана в форме трубчатого рукава, имеющего расширение в районе расположения в нем шара крана, при этом концы корпуса с двух сторон от шара представляют собой отрезки труб одинакового диаметра, в которых в местах стыка расширенной части корпуса с трубными цилиндрическими частями выполняют симметрично ступенчатые выступы на стенках труб для образования кольцевых углублений, в которых размещают кольцевые уплотнения в виде расположенных последовательно металлического упорного кольца и прилегающего к шару неметаллического уплотняющего кольца так, чтобы они прилегли к поверхности шара, связанного с корпусом штревеля, соединяют части корпуса в единое целое таким образом, чтобы шар крана оказался внутри корпуса под его расширенной частью, согласно изобретению корпус штревеля устанавливают посредством сварки в верхней части отдельного цилиндрического кольца, соразмерного с рукавным корпусом крана, который формуют из труб в виде двух отдельных одинаковых частей, имеющих шарообразную форму в центральной части, переходящую через небольшой ступенчатый скос в цилиндрическую трубчатую поверхность, одновременно под скосом растачивают кольцевые углубления под кольцевые уплотнения, которые устанавливают в эти углубления посредством сварки, после чего корректируют расточкой опорные поверхности металлического кольцевого уплотнения, затем во внутрь цилиндрического кольца заводят шар крана, после чего соединяют соосно корпус крана с цилиндрическим кольцом посредством сварки, обеспечивая при этом соосное расположение осей вращения шара и штревеля.
Установка штревеля на отдельном цилиндрическом кольце, соразмерном с корпусом крана, выполненным шарообразным в средней части, в совокупности с выполнением корпуса из двух отдельных относительно вертикальной оси частей, переходящих через ступенчатый скос в трубчатые цилиндрические поверхности, и выполнением его как одно целое с цилиндрической трубчатой поверхностью относительно горизонтальной оси, при соединении частей корпуса между собой посредством сварки соосно с цилиндрическим кольцом, на котором установлен штревель, обеспечивающем соосное расположение осей вращения шара и штревеля, а также сварного крепления уплотнений между корпусом и шаром исключают возможность протечки воды, обеспечивая надежную работу крана, и делают сборку более простой.
Технический результат – исключение возможности протечек воды и упрощение сборки.
Заявляемый кран обладает новизной в сравнении с прототипом, отличаясь от него такими существенными признаками, как установка штревеля на цилиндрическом кольце, соразмерном с корпусом крана, выполнение корпуса крана в центральной части шарообразной формы, соразмерной с поверхностью шара крана внутри корпуса, переходящей через небольшой ступенчатый скос в цилиндрическую трубчатую поверхность, выполнение корпуса крана относительно вертикальной оси из двух симметричных отдельных частей, соединенных между собой посредством сварки соосно с цилиндрическим кольцом, на котором установлен штревель, а относительно горизонтальной оси – как одно целое с цилиндрической трубчатой поверхностью, установкой между шаром крана и его корпусом последовательно от шара к корпусу уплотняющего кольца затвора из неметаллического материала и посредством сварки упорного кольца из металла, обеспечивающих в совокупности достижение заданного результата.
Заявляемый способ изготовления крана обладает новизной в сравнении с прототипом, отличаясь от него наличием таких существенных признаков, как установка корпуса штревеля посредством сварки в верхней части отдельного цилиндрического кольца, соразмерного с рукавным корпусом крана, формование корпуса из труб в виде двух отдельных относительно вертикальной оси одинаковых частей, имеющих шарообразную форму в центральной части, переходящую через небольшой ступенчатый скос в цилиндрическую трубчатую поверхность, а относительно горизонтальной оси – как одно целое с цилиндрической трубчатой поверхностью, расточка одновременно под скосом кольцевых углублений под кольцевые уплотнения, которые устанавливают в эти углубления посредством сварки, последующая корректировка расточкой опорных поверхностей металлического кольцевого уплотнения, введение во внутрь цилиндрического кольца шара крана и последующее соединение соосно корпусу крана с цилиндрическим кольцом посредством сварки, обеспечивая при этом соосное расположение осей вращения шара и штревеля, позволяющих достичь заданного результата.
Заявителю неизвестны технические решения, обладающие указанными отличительными признаками, позволяющими в совокупности обеспечить достижение заданного результата, поэтому он считает, что заявляемые технические решения соответствуют критерию «изобретательский уровень».
Заявляемые шаровой кран и способ его изготовления могут найти широкое применение в коммунальном и производственном водоснабжении, а потому соответствуют критерию «промышленная применимость».
Заявляемые изобретения иллюстрируются чертежами, где показаны на:
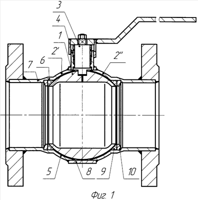
– фиг.1 – общий вид шарового крана в разрезе;
– фиг.2 – поясняющие рисунки к технологии сборки:
а) приваривание к корпусу крана упорного кольца;
б) обработка поверхностей корпуса крана под уплотнения;
в) расточка внутренней поверхности цилиндрического кольца;
г) возможная установка упругого тарельчатого элемента для подпружинивания уплотняющего кольца затвора.
Шаровой кран включает шар 1 (шаровую пробку) крана, окружающий его корпус 2 крана, и штревельный узел 3 со своим корпусом 4. Корпус 2 крана симметричен относительно вертикальной оси и имеет в центральной части 5 шарообразную форму, соразмерную с поверхностью шара 1 внутри корпуса 2, переходящую с каждой из сторон через небольшой ступенчатый скос 6 в цилиндрическую трубчатую поверхность 7. При этом относительно вертикальной оси корпус 2 крана выполнен из двух симметричных отдельных частей 2 и 2 , а относительно горизонтальной оси корпус 2 выполнен как одно целое с цилиндрическими трубчатыми поверхностями 7 и 7 . Корпус 4 штревельного узла 3 посредством сварки установлен на цилиндрическом кольце 8, соразмерном с корпусом 2 крана. Между шаром 1 крана и корпусом 2 под ступенчатыми скосами 6 и 6 последнего установлены последовательно от шара 1 к корпусу 2 в углублениях (на чертеже не обозначены) последнего уплотняющее кольцо 9 затвора из неметаллического материала и посредством сварки упорное кольцо 10 из металла.
Способ изготовления шарового неразъемного крана осуществляется следующим образом.
Изготавливают корпус 2 крана, который формуют из труб в виде двух отдельных одинаковых относительно вертикальной оси частей, имеющих каждая шарообразную форму 5 в центральной части, переходящую через небольшой ступенчатый скос 6 в цилиндрическую трубчатую поверхность 7. Изготавливают формованием из трубных заготовок упорные кольца 10, а из фторопласта – уплотняющие кольца 9 затвора. Одновременно под скосом 6 корпуса 2 крана растачивают кольцевые углубления под них. Устанавливают упорные кольца 10 в углубления с двух сторон корпуса 2 от шара 1 и приваривают их сваркой к поверхности корпуса 2 в обеих его частях 2 и 2 (фиг.2а, сварной шов «К»). Внутренние поверхности корпуса 2 А, В, С, D обрабатывают на токарном станке с одного установа (фиг.2б), что обеспечивает необходимую точность их взаимного расположения, и следовательно, точность при последующей сборке собственного шарового затвора крана. Затем приваривают корпус 4 штревельного узла 3 к цилиндрическому кольцу 8 в специальном стапеле, обеспечивающем перпендикулярность оси корпуса 4 и оси наружной поверхности цилиндрического кольца 8. После этого выполняют расточку внутренней поверхности «М» (фиг.2в) цилиндрического кольца 8, базируясь за его наружную поверхность. В кольцевые расточки «В» внутренней поверхности корпуса 2 устанавливают фторопластовые уплотняющие кольца 9 затвора, которые могут быть подпружинены тарельчатыми упругими элементами 11 (фиг.2в).
В корпус 4 штревеля устанавливают штревельный узел 3, после чего вовнутрь цилиндрического кольца 8 заводят шаровую пробку (шар 1) таким образом, чтобы его паз совпал с выступом штревеля (фиг.1). В цилиндрическое кольцо 8 с установленной в нем шаровой пробкой 1 заводят части 2 и 2 корпуса с установленными в них уплотнениями 8 и 9. Части 2 и 2 корпуса 2 своими поверхностями «А» базируются по поверхности «М» цилиндрического кольца 8, обеспечивая тем самым соосность шаровой пробки 1 с осями цилиндрического кольца 8, поверхностей частей корпуса 2 и 2 и уплотняющих колец 9 затвора. Это позволяет предотвратить задевание пробки 1 крана о корпус 2 в эксплуатации и обеспечить симметричное расположение поверхностей корпуса 2 и уплотняющих колец 9 затвора относительно шаровой пробки 1 и, как следствие, надежную работу шарового крана.
Предварительно поджатая система – шаровая пробка 1 и окружающие ее с двух сторон поверхности корпуса 2 с уплотняющими кольцами 9 может свободно перемещаться вдоль оси цилиндрического кольца 8 и обеспечивать установку оси вращения шаровой пробки 1 соосно с осью вращения штревеля 3.
В сравнении с прототипами заявляемые технические решения обеспечивают более надежную работу крана и более простую технологию его сборки.
Формула изобретения
1. Шаровой неразборный кран между двух труб, концы цилиндрических участков которых уплотнены с шаром крана, открывающим и закрывающим кран, и поворачивающимся вокруг его вертикальной оси, включающий штревельный узел со своим корпусом, причем шар крана и концы труб окружены корпусом крана, выполненным рукавообразным и соединенным в верхней части с корпусом штревеля посредством сварки, расположенным по вертикали соосно с ним, а окружающими шар выпуклыми поверхностями соединен с концами цилиндрических участков труб так, что он является элементом, скрепляющим детали крана, при этом на концах цилиндрических участков труб по их окружности сформирована ступенчатая выступающая часть, содержащая кольцевое уплотнение, а корпус сформирован с сужением к своим концам и присоединен к сторонам труб таким образом, что шар крана и ступенчатые концы труб с их уплотнениями размещены внутри пространства, образованного корпусом, и расположены симметрично относительно оси штревеля, отличающийся тем, что штревель установлен на цилиндрическом кольце, корпус крана имеет в центральной части шарообразную форму, соразмерную с поверхностью шара крана внутри корпуса, переходящую через небольшой ступенчатый скос в цилиндрическую трубчатую поверхность, причем относительно вертикальной оси корпус крана выполнен из двух симметричных отдельных частей, соединенных между собой посредством сварки с цилиндрическим кольцом, на котором установлен штревель, а относительно горизонтальной оси корпус выполнен как одно целое с цилиндрической трубчатой поверхностью, при этом между шаром крана и его корпусом установлены последовательно от шара к корпусу уплотняющее кольцо затвора из неметаллического материала и с помощью сварки упорное кольцо из металла.
2. Способ изготовления шарового крана, заключающийся в том, что изготавливают корпус крана в форме трубчатого рукава, имеющего расширение в районе расположения в нем шара крана, при этом концы корпуса с двух сторон от шара представляют собой отрезки труб одинакового диаметра, в которых в местах стыка расширенной части корпуса с трубными цилиндрическими частями выполняют симметрично ступенчатые выступы на стенках труб для образования кольцевых углублений, в которых размещают кольцевые уплотнения в виде расположенных последовательно металлического упорного кольца и прилегающего к шару неметаллического уплотняющего кольца так, чтобы они прилегли к поверхности шара, связанного с корпусом штревеля, соединяют части корпуса в единое целое таким образом, чтобы шар крана оказался внутри корпуса под его расширенной частью, отличающийся тем, что корпус штревеля устанавливают посредством сварки в верхней части отдельного цилиндрического кольца, соразмерного с рукавным корпусом крана, который формуют из труб в виде двух отдельных одинаковых частей, имеющих шарообразную форму в центральной части, переходящую через небольшой ступенчатый скос в цилиндрическую трубчатую поверхность, одновременно под скосом растачивают кольцевые углубления под кольцевые уплотнения, которые устанавливают в эти углубления посредством сварки, после чего корректируют расточкой опорные поверхности металлического кольцевого уплотнения, затем во внутрь цилиндрического кольца заводят шар крана, после чего соединяют соосно корпус крана с цилиндрическим кольцом посредством сварки, обеспечивая при этом соосное расположение осей вращения шара и штревеля.
РИСУНКИ
|
|