|
|
(21), (22) Заявка: 2003134277/06, 26.11.2003
(24) Дата начала отсчета срока действия патента:
26.11.2003
(30) Конвенционный приоритет:
27.11.2002 US 10/305,181
(43) Дата публикации заявки: 20.05.2005
(46) Опубликовано: 27.08.2008
(56) Список документов, цитированных в отчете о поиске:
US 6045134 А, 04.04.2000. US 6257586 В1, 10.07.2001. US 6105967 А, 22.08.2000. US 5749584 А, 12.05.1998. US 5704769 А, 06.01.1998. RU 2158864 С2, 10.11.2000.
Адрес для переписки:
129090, Москва, ул. Б.Спасская, 25, строение 3, ООО “Юридическая фирма Городисский и партнеры”, пат.пов. С.А.Дорофееву, рег.№ 146
|
(72) Автор(ы):
ТОНГ Вей (US), ВАГНЕР Томас Артур (US), ЗУО Зангквинг (US)
(73) Патентообладатель(и):
ДЖЕНЕРАЛ ЭЛЕКТРИК КОМПАНИ (US)
|
(54) УПЛОТНИТЕЛЬНОЕ УСТРОЙСТВО И ВЕНТИЛЯЦИОННАЯ СИСТЕМА ЭЛЕКТРИЧЕСКОГО ГЕНЕРАТОРА С УПЛОТНИТЕЛЬНЫМ УСТРОЙСТВОМ
(57) Реферат:
Изобретение относится к уплотнительной технике. Комбинированное уплотнение щеточных/лабиринтных зубцов расположено между газовым экраном и кромками вентилятора в вентиляционной системе электрического генератора. По меньшей мере пара щеточных уплотнений охватывает с двух сторон лабиринтные зубцы, обеспечивая узкий или нулевой радиальный зазор с кромками лопастей вентилятора. Щеточные уплотнения выполнены в виде двойной двухрядной двунаправленной формы. В одном варианте осуществления щеточные щетинки наклонены к вентилятору, по существу, в радиально противоположном направлении. В дополнительном варианте осуществления наклонные щеточные уплотнения зацепляют противоположные стороны лопастей вентилятора или кромки лопастей вентилятора. Изобретение повышает надежность уплотнения. 2 н. и 8 з.п. ф-лы, 6 ил.
Настоящее изобретение касается в общем уплотнительного устройства для вентиляционной системы электрического генератора и, в частности, касается уплотнительного устройства для охлаждающих вентиляторов генераторов, использующих неметаллические щеточные уплотнители на кромках лопастей вентиляторов для устранения или сведения к минимуму утечек и увеличения эффективности вентилятора (US 6045134, 04.04.2000).
Во время нормальной работы электрических генераторов в электропроводящих катушках, сердечниках роторов и статоров, рамах и т.д. вырабатывается тепло из-за потерь в меди, железе, вентиляционных и нагрузочных потерь. Для обеспечения надежной работы генератора такое вырабатываемое тепло должно эффективно рассеиваться от генератора вентиляционной системой. Вентиляторы, установленные на концах оси ротора, играют решающую роль в вентиляционной системе, заставляя холодный газ охлаждать обмотки и сердечники статора и ротора, и таким образом обеспечивая рабочие температуры генератора ниже допустимых пределов.
В обычном генераторе с вентилятором, установленным на конце ротора, охлаждающий газ проходит по существу в четыре отделения генератора: промежуток между статором и ротором, паз ротора, блок внешнего пространства и вентиляционные отверстия к теплообменнику. Когда охлаждающий газ выходит из вентилятора и подходит к ротору, вращающиеся поверхности концевой области ротора действуют на газ, ускоряя его до частоты вращения ротора. Это облегчает перекачку охлаждающего газа, проходящего через статорные стержни. Охлаждающий поток разделяется перед центрирующим кольцом для прохождения в паз ротора и промежуток между статором и ротором соответственно. Затем весь охлаждающий газ проходит через сердечник статора в радиальном направлении наружу. Поскольку весь горячий газ ротора должен пройти через сердечник статора, распределение газа через ротор и через статор взаимосвязано и влияет на рабочие температуры статора. Для улучшения охлаждения концов статорных стержней около ряда кольцевых насадок промежуток между краями статорных стержней и кромкой газового экрана используют для регулирования интенсивности подачи.
Область лобовой части обмотки расположена у двух концов генератора. В этой области расположено большое количество частей и компонентов, включая вентилятор, газовый экран, статорные стержни, стопорное кольцо, центрирующее кольцо, лобовые части обмотки ротора, силовые соединительные кольца и корпус статора. В результате поле течения в этой области весьма сложное. При крупных и мощных генераторах охлаждающий поток в области лобовой части обмотки особенно важен, потому что он может привести к образованию участков местного перегрева на стержнях лобовой части обмотки и большим потерям сопротивления воздуха. На полный размер синхронного генератора оказывает существенное влияние, насколько хорошо охлаждается обмотка генератора.
Конструкция вентилятора генератора основана на требуемом давлении в указанном потоке. Вентилятор должен работать с частотой вращения оси ротора, а размеры ограничены геометрическими размерами концевой конструкции генератора. Эффективность вентилятора непосредственно зависит от способности уплотнений предотвращать утечку. В генераторах обычно используются жесткие зубцы треугольной формы, то есть уплотнения лабиринтного типа, для управления утечкой между вращающимися лопастями вентилятора и стационарным газовым экраном. Для предотвращения повреждения лопастей вентилятора между кромками лопастей вентилятора и лабиринтными зубцами газового экрана поддерживается радиальный зазор. Однако этот зазор приводит к утечкам и, таким образом, к снижению эффективности вентилятора.
Техническим результатом настоящего изобретения является усиление уплотнения для обеспечения сокращения утечек между кромками вентилятора и корпусом генератора рентабельным и надежным способом.
Этот технический результат достигается тем, что уплотнительное устройство содержит вращающийся компонент, установленный для вращения относительно оси, стационарный компонент, окружающий вращающийся компонент, уплотнение, расположенное между внешними диаметральными краями вращающегося компонента и окружающим стационарным компонентом и включающее кольцевое лабиринтное уплотнение, поддерживаемое стационарным компонентом и имеющее множество зубцов, разнесенных на расстояние от внешних краев вращающегося компонента, и кольцевое щеточное уплотнение, размещенное на каждой из противоположных в осевом направлении сторон зубцов лабиринтного уплотнения и имеющее щетинки, проходящие к краям вращающегося компонента и заканчивающиеся на кромках рядом с упомянутыми краями, посредством чего утечка через любой промежуток между краями вращающегося компонента и стационарным компонентом сведена к минимуму или устранена.
Устройство может включать комбинированный держатель щеточного и зубцов лабиринтного уплотнения, установленный на стационарном компоненте.
Каждое щеточное уплотнение на каждой стороне зубцов может содержать первый и второй разнесенные на расстояние по оси ряды щетинок, отделенные один от другого щетинным держателем.
Устройство может включать закрывающую пластину щеточного уплотнения, накрывающую каждый держатель щеточного уплотнения и участки двойного ряда щетинок на каждой из противоположных сторон зубцов лабиринтного уплотнения.
Кончики первого ряда щетинок каждого щеточного уплотнения на каждой из противоположных сторон зубцов лабиринтного уплотнения могут заканчиваться радиально внутри дальше кончиков второго ряда щетинок каждого щеточного уплотнения.
Устройство может иметь углубление, выполненное во вращающемся компоненте радиально внутрь для приема кончиков первых рядов щетинок.
Щеточное уплотнение на каждой стороне зубцов может содержать первый и второй разнесенные на расстояние по оси ряды щетинок, разделенные один от другого щетинным держателем, при этом кончики первого ряда щетинок каждого щеточного уплотнения на каждой из противоположных сторон зубцов лабиринтного уплотнения заканчиваются радиально внутри дальше кончиков упомянутого второго ряда щетинок каждого щеточного уплотнения, и вращающийся компонент имеет засечки вокруг внешних своих краев для приема кончиков первых рядов щетинок.
По меньшей мере одно из щеточных уплотнений на одной стороне зубцов лабиринтного уплотнения может иметь щетинки, наклоненные в осевом направлении.
Щеточные уплотнения на противоположных сторонах зубцов лабиринтного уплотнения могут иметь щетинки, наклоненные в противоположных осевых направлениях.
Щеточные уплотнения на каждой из противоположных сторон зубцов лабиринтного уплотнения могут иметь щетинки, наклоненные в том же осевом направлении.
В соответствии с предпочтительным вариантом осуществления настоящего изобретения создано комбинированное щеточное уплотнение типа двухрядных, двунаправленных или наклонных щеточных уплотнений, и обычного лабиринтного уплотнения, которое устраняет или сводит к минимуму утечки газа через промежуток между лопастями вентилятора и газовым экраном. Щеточные уплотнения образованы из неметаллических материалов типа пластмассовых волокон и(или) кевлара (Kevlar ). Неметаллические щеточные уплотнения обеспечивают низкую жесткость щетинок, таким образом способствуя нулевому радиальному зазору между кромками лопастей вентилятора и щетинками щеток. Кроме того, при низкой жесткости угол наклона составляет не более управляемого расчетного параметра, поскольку угол наклона устанавливается просто вращением лопастей. Помимо этого, щетинки низкой жесткости и неметаллические щетинки приспосабливаются к радиальным отклонениям оси без повреждения оси или уплотнения.
В предпочтительном варианте осуществления изобретения два двухрядных двунаправленных щеточных уплотнения устанавливают на держателе щеточного уплотнения на противоположных сторонах зубцов лабиринтного уплотнения. Держатель щеточного уплотнения прикреплен к корпусу генератора, в частности к газовому экрану, для образования кольцевого уплотнения вокруг кромок лопастей вентилятора на конце ротора. С зубцами лабиринтного уплотнения между щеточными уплотнениями вихревые потоки, вводимые от направленного вверх щеточного уплотнения, не значительно влияют на направленное вниз щеточное уплотнение. Для дополнительного усиления уплотнения на кромках лопастей вентилятора можно образовывать засечки, чтобы вводить маленькую радиальную ступеньку на каждой стороне лопасти. Таким образом, кончики связок щетинок лежат в разных радиальных местоположениях, обеспечивая увеличенную эффективность уплотнения. Наклонные щеточные уплотнения можно также использовать с соседними сторонами лопастей вентилятора. При наклоне щетинок к противоположным сторонам вентилятора любой утечке требуется по существу два поворота на 90° в противоположных направлениях, что существенно улучшает эффективность уплотнения. Точно также щетинки наклонных щеточных уплотнений могут быть наклонены вверх по направлению к потоку утечки, чтобы увеличить сопротивление потоку утечки. Зубцы лабиринтного уплотнения аналогичным образом можно наклонять по направлению к потоку утечки.
Указанный технический результат достигается и тем, что вентиляционная система электрического генератора, имеющего ротор, статор и корпус для ротора и статора, с уплотнительным устройством содержит вентилятор для установки на концевом участке ротора с участками корпуса генератора, окружающими вентилятор, уплотнение, расположенное между внешними диаметральными краями вентилятора и окружающими участками корпуса, и включающее кольцевое лабиринтное уплотнение, поддерживаемое окружающим участком корпуса и имеющее множество зубцов, отделенных на расстояние от внешних краев вентилятора, и кольцевое щеточное уплотнение, размещенное на каждой из противоположных сторон зубцов лабиринтного уплотнения и имеющее щетинки, проходящие к краям вентилятора и заканчивающиеся в кромках рядом с краями вентилятора, посредством чего утечка через любой промежуток между краями вентилятора и участком корпуса сведена к минимуму или устранена.
Устройство может включать комбинированный держатель щеточного уплотнения и зубцов лабиринтного уплотнения, установленный на окружающем участке корпуса.
Каждое щеточное уплотнение на каждой стороне зубцов может содержать первый и второй разделенные по оси ряды щетинок, отделенные один от другого щетинным держателем.
Устройство может включать закрывающую пластину щеточного уплотнения, покрывающую каждый держатель щеточного уплотнения и участки двойного ряда щетинок на каждой из противоположных сторон зубцов лабиринтного уплотнения.
Кончики первого ряда щетинок каждого щеточного уплотнения на каждой из противоположных сторон лабиринтных зубцов могут заканчиваться радиально внутри дальше кончиков второго ряда щетинок каждого щеточного уплотнения.
Устройство может иметь углубления, выполненные в кромках вентилятора радиально внутрь для приема кончиков первых рядов щетинок.
Вентилятор может включать множество разнесенных на расстояние по окружности лопастей.
Щеточное уплотнение на каждой стороне зубцов может содержать первый и второй разделенные на расстояние по оси ряды щетинок, отделенные один от другого щетинным держателем, причем кончики первого ряда щетинок каждого щеточного уплотнения на каждой из противоположных сторон зубцов лабиринтного уплотнения заканчиваются радиально внутри дальше кончиков второго ряда щетинок каждого щеточного уплотнения, и лопасти вентилятора имеют засечки на своих кромках для приема кончиков первых рядов щетинок.
По меньшей мере одно из щеточных уплотнений на одной стороне зубцов лабиринтного уплотнения может иметь щетинки, наклоненные в осевом направлении и проходящие по направлению к одной стороне вентилятора.
Щеточные уплотнения на противоположных сторонах зубцов лабиринтного уплотнения могут иметь щетинки, наклоненные в противоположных осевых направлениях и проходящие к противоположным сторонам вентилятора соответственно.
Щеточные уплотнения на каждой из противоположных сторон зубцов лабиринтного уплотнения могут иметь щетинки, наклоненные в одном и том же осевом направлении.
Далее приводится подробное описание изобретения со ссылками на прилагаемые чертежи, на которых изображено следующее:
фиг.1 представляет фрагментарный вид в поперечном разрезе верхней половины электрического генератора рядом с одним его концом;
фиг.2 представляет увеличенный фрагментарный вид в поперечном разрезе, изображающий уплотнительное устройство вокруг кромок вентилятора в соответствии с предпочтительным вариантом осуществления настоящего изобретения;
фиг.3 представляет вид, подобный фиг.2, изображающий другой вариант осуществления его уплотнительного устройства;
фиг.4 представляет вид, подобный фиг.2, изображающий еще один вариант осуществления его уплотнительного устройства;
фиг.5 представляет увеличенное изображение в поперечном разрезе участка устройства щеточного уплотнения фиг.4;
фиг.6 представляет вид в поперечном разрезе еще одного варианта уплотнительного устройства в соответствии с предпочтительным вариантом осуществления настоящего изобретения.
На фиг.1 изображен концевой участок электрического генератора 10. Генератор 10 включает ротор 12, способный вращаться относительно оси 14 и включающий обмотки 16 ротора, витки 18 лобовой части катушки обмотки ротора, стопорное кольцо 20 и вентилятор 22, поддерживающий лопасти 24 вентилятора, расположенные внутри корпуса 29. Ротор также содержит статор 26, имеющий торцевые статорные стержни 28, последовательно соединенные кольцевые насадки 30 и соединительные кольца 32. Ротор 12 также имеет паз 34. Между статором 26 и обмотками 16 ротора имеется воздушный промежуток 36. Следует понимать, что охлаждающий газ входит через прорези вентилятора для прохождения вокруг стопорного кольца и витков лобовой части катушки обмотки ротора в паз ротора и воздушный промежуток, где охлаждающий газ проходит через сердечник статора в радиальном направлении наружу. Охлаждающий газ также проходит через статорные стержни и через вентиляционные отверстия (на чертеже не показаны) для прохождения через теплообменники (на чертеже не показаны). Из-за большого количества имеющих различную форму составляющих частей в области лобовой части обмотки поле течения в этой области является весьма сложным. Следовательно, важно избегать участков местного перегрева в стержнях лобовой части обмотки.
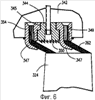
На фиг.2 показано уплотнение 40, установленное на газовом экране 42 для уплотнения вокруг внешних краев или кромок лопастей 24 вентилятора. Уплотнение 40 включает аркообразные сегменты, укрепленные в газовом экране 42. Сегменты могут быть различной длины, например два сегмента по 180° или четыре сегмента по 90°, или иные для удобства применения. Однако, следует оценить, что сегменты образуют кольцевое уплотнение вокруг кромок лопастей 24 вентилятора. Уплотнение 40 содержит держатель 44 аркообразного уплотнения, который имеет в общем Т-образную конфигурацию в поперечном разрезе, включая пару фланцев 46 и радиально проходящий стержень 48. Держатель 44 уплотнения прикреплен в аркообразном углублении 49, образованном в газовом экране 42, к газовому экрану 42 множеством разнесенных на расстояние по окружности имеющих резьбу болтов. Радиально внутренняя лицевая поверхность стержня 48 держателя 44 снабжена множеством зубцов 50 лабиринтного уплотнения, разнесенных на расстояние от внешних краев или кромок 52 лопастей 24 вентилятора. Двухрядные двунаправленные щеточные уплотнения 54 расположены на противолежащих сторонах зубцов 50 лабиринтного уплотнения, то есть щеточные уплотнения 54 охватывают с двух сторон зубцы 50 лабиринтного уплотнения. Каждое щеточное уплотнение 54 включает пару направленных по оси разделенных рядов щетинок 55, 57. Хотя можно использовать различные типы щеточных уплотнений, предпочтительный вариант осуществления включает в себя центральный щетинный держатель 60, вокруг которого по противоположным сторонам и по вершине щетинного держателя 60 проходят щетинки 62. Щетинки 62 образуют связку 63 щетинок, согнутую над держателем 60 для образования двойного ряда щетинок 55, 57. Покрывающая пластина 64 щеточного уплотнения накрывает щетинки по противоположным сторонам щеточного уплотнения и заделывает короткий отрезок кончиков щетинок 62 по противоположным сторонам щеточного уплотнения. Каждое щеточное уплотнение прикреплено к держателю 44 щеточного уплотнения любым подходящим средством, например склеивающей каплей 66. Щеточные уплотнения предпочтительно образуют из неметаллического материала типа кевлара и(или) пластмассовых волокон. Кончики щетинок могут иметь нулевой радиальный зазор с кромками лопастей вентилятора, который способствует уменьшению утечки газа, протекающей мимо вентилятора. Направленное вверх щеточное уплотнение вводит вихревой поток. Посредством расположения зубцов лабиринтного уплотнения между направленными вверх и направленными вниз щеточными уплотнениями вихревой поток уменьшают до такой степени, что направленное вниз щеточное уплотнение не находится под влиянием вихревого потока.
На фиг.3 ссылочные позиции элементов подобны ссылочным позициям, примененным к аналогичным частям на фиг.2, с предшествующей цифрой 1, где двухрядные двунаправленные щеточные уплотнения 154 на противоположных сторонах лабиринтных зубцов 150 могут иметь щетинки неравной длины. Например, наиболее удаленный в направлении по оси ряд щетинок 180 каждого щеточного уплотнения заканчивается в кончиках радиально внутри кончиков самого внутреннего ряда щетинок 182 каждого щеточного уплотнения. Кроме того, лопасти 124 вентилятора имеют засечки, чтобы вводить углубление или радиально направленную ступеньку 170 в лопасть 124 вентилятора для размещения более длинных по направлению радиально внутрь кончиков щетинок. Благодаря введению щетинок, имеющих кончики, заканчивающиеся в различных радиальных местоположениях, сопротивление утечке газа увеличивается и эффективность уплотнения улучшается.
В варианте осуществления, изображенном на фиг.4, ссылочные позиции элементов подобны ссылочным позициям, примененным к аналогичным частям на фиг.2, с предшествующей цифрой 2, где щеточные уплотнения 254 установлены на противоположных сторонах лопастей 224 вентилятора с щетинками 262, в которых каждая связка 263 щетинок наклонена в осевом направлении к лопастям 224 вентилятора. Как показано на фиг.5, кончики щетинок образуют угол с осью электрической машины, причем угол составляет менее 45°. Таким образом, кончики щетинок 262 щеточного уплотнения 254 лежат в непосредственной близости или имеют нулевой осевой зазор с противоположными сторонами лопастей 24 вентилятора. Уплотнение 240 также включает лабиринтное уплотнение, содержащее множество зубцов 250 лабиринтного уплотнения, образованных на держателе 244 уплотнения. Как в предыдущем варианте осуществления, держатель 244 уплотнения прикреплен болтами к газовому экрану 242. В этой форме держатель 244 уплотнения включает углубление 245 по противоположным сторонам, проходящее на длину аркообразного держателя 244 уплотнения.
Каждое щеточное уплотнение 254 включает опорную пластину 247 и распорную пластину 249. Распорная пластина включает выступающий в осевом направлении фланец 248 для размещения в углублении 245 держателя 244 уплотнения. Таким образом, щеточные уплотнения захвачены между держателем 244 уплотнения и сторонами углубления 250, в которых постоянно находятся щеточные уплотнения и лабиринтное уплотнение. Как лучше всего показано на фиг.5, опорная пластина 247 включает изогнутый кончик 251, поддерживающий щетинки 262 в их наклонной конфигурации направленными в общем по оси к лопастям 224 вентилятора. Щеточные уплотнения 254 закреплены предпочтительно склеивающей каплей, например, в позиции 266. Направленные под углом щетинки щеточных уплотнений заставляют поток утечки поворачиваться приблизительно на 90° для протекания в промежуток между кромками лопастей и лабиринтными зубцами, а затем поворота снова приблизительно на 90° к выходу из промежутка, проходя по направлению вниз щеточного уплотнения. Таким образом, комбинированные наклонные щеточные уплотнения и лабиринтное уплотнение обеспечивают высокую эффективность уплотнения. Дополнительно к этому воздействие отклонения оси на уплотнение вентилятора устранено. Радиальный зазор между кромками лопасти и лабиринтным уплотнением может поддерживаться приблизительно на уровне 0,060 дюйма ±0,010 дюйма, как общепринято.
В варианте осуществления настоящего изобретения, показанном на фиг.6, ссылочные позиции подобны ссылочным позициям, примененным к аналогичным частям на фиг.2, с предшествующей цифрой 3, где можно использовать наклонные щеточные уплотнения, аналогичные изображенным на фиг.4 и 5, и направлять в том же по существу осевом направлении. Таким образом, подобно держателю 344 щеточного уплотнителя с боковыми углублениями 345, пара щеточных уплотнителей 354 прикреплена в углублении 350 газового экрана 342. Для увеличения сопротивления потоку утечки наклонные щетинки 362 направлены к потоку утечки, то есть направлены вверх. Дополнительно наклонные зубцы 350 зубцов лабиринтного уплотнения аналогичным образом являются наклоненными вверх. Таким образом, опорные пластины 347 для каждого щеточного уплотнения находятся на одной и той же осевой стороне щетинок 362, так что наклонные щетинки проходят по существу в осевом направлении вверх для того, чтобы устранить или иметь нулевой радиальный зазор с кромками лопастей 24 вентилятора.
В то время как изобретение было описано в связи с тем, что, как полагают, является самым практичным и предпочтительным вариантом осуществления, следует понимать, что изобретение не должно быть ограничено раскрытым вариантом осуществления, а напротив, предназначено, чтобы охватить различные модификации и эквивалентные приспособления, заключенные в пределах сути и объема прилагаемой формулы изобретения.
Формула изобретения
1. Уплотнительное устройство, содержащее вращающийся компонент, установленный для вращения относительно оси, стационарный компонент, окружающий вращающийся компонент, уплотнение, расположенное между внешними диаметральными краями вращающегося компонента и окружающим стационарным компонентом и включающее кольцевое лабиринтное уплотнение, поддерживаемое стационарным компонентом и имеющее множество зубцов, разнесенных на расстояние от внешних краев вращающегося компонента, и кольцевое щеточное уплотнение, размещенное на каждой из противоположных в осевом направлении сторон зубцов лабиринтного уплотнения и имеющее щетинки, проходящие к краям вращающегося компонента и заканчивающиеся на кромках рядом с упомянутыми краями, посредством чего утечка через любой промежуток между краями вращающегося компонента и стационарным компонентом сведена к минимуму или устранена.
2. Устройство по п.1, отличающееся тем, что включает комбинированный держатель щеточного уплотнения и лабиринтного уплотнения, установленный на стационарном компоненте.
3. Устройство по п.1, отличающееся тем, что каждое щеточное уплотнение на каждой стороне зубцов содержит первый и второй разнесенные на расстояние по оси ряды щетинок, отделенные один от другого щетинным держателем.
4. Устройство по п.3, отличающееся тем, что включает закрывающую пластину щеточного уплотнения, накрывающую каждый держатель щеточного уплотнения и участки двойного ряда щетинок на каждой из противоположных сторон зубцов лабиринтного уплотнения.
5. Устройство по п.3, отличающееся тем, что кончики первого ряда щетинок каждого щеточного уплотнения на каждой из противоположных сторон зубцов лабиринтного уплотнения заканчиваются радиально внутри дальше кончиков второго ряда щетинок каждого щеточного уплотнения.
6. Вентиляционная система электрического генератора, имеющего ротор, статор и корпус для ротора и статора, с уплотнительным устройством, содержащая вентилятор для установки на концевом участке ротора с участками корпуса генератора, окружающими вентилятор, уплотнение, расположенное между внешними диаметральными краями вентилятора и окружающими участками корпуса и включающее кольцевое лабиринтное уплотнение, поддерживаемое окружающим участком корпуса и имеющее множество зубцов, отделенных на расстояние от внешних краев вентилятора, и кольцевое щеточное уплотнение, размещенное на каждой из противоположных сторон зубцов лабиринтного уплотнения, и имеющие щетинки, проходящие к краям вентилятора и заканчивающиеся в кромках рядом с краями вентилятора, посредством чего утечка через любой промежуток между краями вентилятора и участком корпуса сведена к минимуму или устранена.
7. Система по п.6, отличающаяся тем, что включает комбинированный держатель щеточного уплотнения и лабиринтного уплотнения, установленный на окружающем участке корпуса.
8. Система по п.6, отличающаяся тем, что каждое щеточное уплотнение на каждой стороне зубцов содержит первый и второй разделенные по оси ряды щетинок, отделенные один от другого щетинным держателем.
9. Система по п.8, отличающаяся тем, что включает закрывающую пластину щеточного уплотнения, покрывающую каждый держатель щеточного уплотнения и участки двойного ряда щетинок на каждой из противоположных сторон зубцов лабиринтного уплотнения.
10. Система по п.8, отличающаяся тем, что кончики первого ряда щетинок каждого щеточного уплотнения на каждой из противоположных сторон зубцов лабиринтного уплотнения заканчиваются радиально внутри дальше кончиков второго ряда щетинок каждого щеточного уплотнения.
РИСУНКИ
|
|