Изобретение относится к транспортному машиностроению, в частности к ведущим мостам автомобилей и тракторов. Самоблокирующийся дифференциал содержит корпус (2), ведомое зубчатое колесо (1), выходные полуоси (7), два механизма свободного хода, ведущую зубчатую муфту (4) с торцовыми трапецеидальными зубьями, и две ведомые полумуфты с торцовыми трапецеидальными зубьями, жестко связанные с ведомыми обоймами (6) механизмов свободного хода. Зубчатая муфта (4) с торцовыми трапецеидальными зубьями связана с корпусом (2) с возможностью осевого перемещения. Расстояние вдоль оси между вершинами зубьев одной и впадинами зубьев другой ведомой полумуфты равно осевому расстоянию между вершинами зубьев ведущей муфты (4). Число торцовых зубьев каждой полумуфты кратно числу тел заклинивания (8) механизмов свободного хода. Оба механизма свободного хода установлены с возможностью в момент их включения совпадения в окружном направлении вершин зубьев ведомых полумуфт с впадинами зубьев ведущей муфты (4). Зубья ведомых полумуфт и ведущей муфты (4) имеют одинаковый профиль. Изобретение позволяет повысить безопасность движения транспортного средства и упростить конструкции самоблокирующегося дифференциала. 2 ил.
Изобретение относится к области транспортного машиностроения, в частности к ведущим мостам автомобилей и тракторов.
Известен дифференциал свободного хода (см. а.с. №1763761 А1, МПК F16Н 1/38, 1/32, 1989 г.), который содержит полуоси, сепараторы, размещенные в последних ролики, корпус с внутренними зубьями для взаимодействия с роликами, размещенную между полуосями дистанционную втулку, упругие и фрикционные элементы. Недостатком этого дифференциала является низкая долговечность вследствие высоких контактных напряжений в зоне контакта роликов с внутренними зубьями корпуса.
Наиболее близким по технической сущности и достигаемому результату к заявляемому изобретению является самоблокирующийся дифференциал (см. патент №2238459, МПК F16Н 48/20, 48/16, В60К 17/16, 2004 г.), который содержит корпус, ведущее и ведомое зубчатые колеса, ведущий вал, выходные полуоси, два механизма свободного хода (МСХ), связывающие последние с ведомым зубчатым колесом, и механизм согласования работы МСХ. На выходных полуосях расположен механизм согласования работы МСХ, представляющий собой блоки шестерен наружного зацепления, жестко связанные между собой и имеющие возможность осевого перемещения вдоль полуосей для последующего зацепления большей шестерни блока с венцом шестерни внутреннего зацепления или меньшей шестерни с венцом шестерни внутреннего зацепления через паразитное колесо.
Этот дифференциал имеет следующие недостатки. Во-первых, низкий уровень безопасности движения, обусловленный невозможностью передачи крутящего момента в обратном направлении, т.е. от ходовых колес на вал двигателя. Это исключает возможность торможения двигателем и его запуск в режиме наката. В связи с этим область применения данного дифференциала ограничивается только тихоходным транспортом. Во-вторых, сложность конструкции вследствие необходимости наличия системы рычагов и тяг для передвижения блоков шестерен механизма согласования работы МСХ при изменении направления вращения ведущего вала. В-третьих, усложняется труд водителя транспортного средства в виду необходимости принудительного управления передвижением блоков шестерен при изменении направления вращения ведущего вала.
Задачей предлагаемого изобретения является устранение указанных недостатков.
Поставленная задача достигается тем, что самоблокирующийся дифференциал, содержащий корпус, ведомое зубчатое колесо, выходные полуоси и два механизма свободного хода, снабжен двухсторонней зубчатой муфтой свободного хода, состоящей из ведущей муфты с торцовыми трапецеидальными зубьями, связанной с корпусом с возможностью осевого перемещения, и двух ведомых полумуфт с торцовыми трапецеидальными зубьями, жестко связанных с ведомыми обоймами механизмов свободного хода. Расстояние вдоль оси между вершинами зубьев одной и впадинами зубьев другой ведомой полумуфты равно осевому расстоянию между вершинами зубьев ведущей муфты. Число торцовых зубьев каждой полумуфты кратно числу тел заклинивания механизмов свободного хода. Оба механизма свободного хода установлены с возможностью в момент их включения совпадения в окружном направлении вершин зубьев ведомых полумуфт с впадинами зубьев ведущей муфты. Зубья ведомых полумуфт и ведущей муфты имеют одинаковый профиль.
Благодаря тому что ведущая зубчатая муфта соединена с корпусом дифференциала с возможностью осевого перемещения, а ведомые зубчатые полумуфты жестко связаны с ведомыми обоймами механизмов свободного хода, обеспечивается жесткое соединение выходных полуосей с корпусом дифференциала, что делает возможным передачу крутящего момента от ходовых колес к ведущему валу и торможение транспортного средства двигателем.
Благодаря трапецеидальному профилю зубьев зубчатой муфты при движении транспортного средства по криволинейному участку дороги с крутым спуском в зацеплении ведущей муфты с ведомыми полумуфтами появляется неуравновешенная составляющая силы зацепления, способствующая осевому перемещению ведущей муфты в направлении полумуфты с меньшим крутящим моментом. Ввиду того что расстояние вдоль оси между вершинами зубьев одной и впадинами зубьев другой ведомой полумуфты равно осевому расстоянию между вершинами зубьев ведущей муфты, обеспечивается выход одной полумуфты и связанной с ней полуосью из зацепления с ведущей муфтой, т.е. автоматическое отключение одной выходной полуоси. Это способствует вращению выходных полуосей и связанных с ними ходовых колес с различными угловыми скоростями при сохранении кинематической связи между валом двигателя и ходовым колесом, что повышает безопасность движения транспортного средства по сравнению с прототипом.
Благодаря установке механизмов свободного хода с возможностью в момент их включения совпадения в окружном направлении вершин зубьев ведущей зубчатой муфты с впадинами зубьев ведомых полумуфт в момент замыкания МСХ образуется зазор между рабочими профилями зубьев ведущей муфты и ведомых полумуфт, т.е. обеспечивается автоматическое отключение или включение зубчатой муфты при изменении направления вращения ведущего вала без использования системы рычагов и тяг. Это упрощает конструкцию по сравнению с прототипом и облегчает труд водителя.
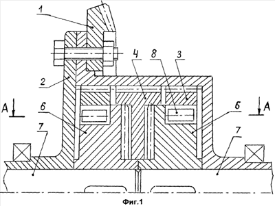
На фиг.1 представлен общий вид самоблокирующегося дифференциала, на фиг.2 – сечение А-А на фиг.1.
Предлагаемый самоблокирующийся дифференциал состоит из ведущей конической шестерни 1, корпуса 2, жестко связанных с ним ведущих обойм 3 механизмов свободного хода, установленной между ними зубчатой муфты 4 с торцовыми трапецеидальными зубьями, связанной с корпусом 2 с возможностью осевого перемещения. Зубчатая муфта 4 установлена с возможностью зацепления с двумя зубчатыми полумуфтами 5, жестко связанными с ведомыми обоймами 6 механизмов свободного хода и имеющими трапецеидальные торцовые зубья. Ведомые обоймы 6 МСХ неподвижно соединены с выходными полуосями 7 и имеют возможность замыкаться с ведущими обоймами 3 при помощи тел заклинивания 8.
Самоблокирующийся дифференциал работает следующим образом.
При приложении крутящего момента к ведомой конической шестерне 1 в случае одинаковой скорости вращения выходных полуосей 7 крутящий момент передается от ведущих обойм 3 механизмов свободного хода с помощью тел заклинивания 8 на ведомые обоймы 6 и связанные с ними выходные полуоси 7. При этом между рабочими профилями зубьев зубчатой муфты 4 и полумуфт 5 образуется зазор.
В случае поворота транспортного средства, например налево, угловая скорость правой полуоси 7 становится больше скорости ведущей обоймы 3. Правая ведомая обойма 6 МСХ вращается быстрее ведущей обоймы 3, т.е. вхолостую. При этом крутящий момент на левой полуоси 7 и связанной с ней ведомой зубчатой полумуфте 5 становится больше, чем момент на правой полуоси 7. В зацеплении ведомых полумуфт 5 с ведущей зубчатой муфтой 4 появляется неуравновешенная осевая составляющая силы зацепления, которая полностью выводит ведущую муфту 4 из зацепления с левой полумуфтой 5. При этом правая полумуфта 5 вращается с ведущей муфтой 4 как одно целое. Весь момент передается на левую полуось 7.
При движении транспортного средства в режиме наката угловые скорости ведомых обойм МСХ 6 становятся больше скоростей ведущих обойм 3, оба МСХ выключаются. При этом торцовые зубья ведомых полумуфт 5 входят в зацепление с зубьями ведущей муфты 4 и весь момент передается от выходных полуосей 7 через зубчатую муфту 4 на корпус дифференциала 2 и связанную с ним ведомую коническую шестерню 1. При этом сохраняется кинематическая связь между выходными полуосями 7 и корпусом дифференциала 2.
В случае поворота транспортного средства, например направо, при движении его по крутому спуску оба механизма свободного хода выключаются. При этом ведущая зубчатая муфта 4 перемещается по оси, выходя из зацепления с правой полумуфтой 5, и передает момент через левую ведомую полумуфту 5 на корпус дифференциала 2 и ведомую коническую шестерню 1. Обе выходные полуоси 7 вращаются с различными скоростями при сохранении кинематической связи между ведомой полуосью 7 и корпусом дифференциала 2.
При включении заднего хода ведомая коническая шестерня 1 с корпусом дифференциала 2 начинает вращаться в противоположном направлении, оба МСХ при этом совершают свободный ход. Ведущая зубчатая муфта 4 передает момент через ведомые полумуфты 5 на выходные полуоси 7.
Самоблокирующийся дифференциал, содержащий корпус, ведомое зубчатое колесо, выходные полуоси и два механизма свободного хода, отличающийся тем, что он снабжен ведущей зубчатой муфтой с торцовыми трапецеидальными зубьями, соединенной с корпусом с возможностью осевого перемещения, двумя ведомыми полумуфтами с торцовыми трапецеидальными зубьями, совмещенными с ведомыми обоймами механизмов свободного хода, причем расстояние вдоль оси между вершинами зубьев одной и впадинами зубьев другой ведомой полумуфты равно осевому расстоянию между вершинами зубьев ведущей зубчатой муфты, при этом оба механизма свободного хода установлены с возможностью в момент их включения совпадения в окружном направлении вершин зубьев ведомых полумуфт со впадинами зубьев ведущей муфты, а число торцовых зубьев каждой полумуфты кратно числу тел заклинивания механизмов свободного хода.