|
(21), (22) Заявка: 2006135213/11, 07.07.2004
(24) Дата начала отсчета срока действия патента:
07.07.2004
(30) Конвенционный приоритет:
07.04.2004 (пп.1, 2) IN 320/CHE/2004
(46) Опубликовано: 27.08.2008
(56) Список документов, цитированных в отчете о поиске:
US 4440268 А, 03.04.1984. RU 2091626 C1, 27.09.1997. WO 03083322 A1, 09.10.2003. “Тормозные устройства”, Справочник, под ред. М.П.Александрова. – М.: Машиностроение, 1985, с.102-103, рис.2.52. RU 1727 U1, 16.02.1996. US 4380276 А, 19.04.1983.
(85) Дата перевода заявки PCT на национальную фазу:
07.11.2006
(86) Заявка PCT:
IN 2004/000201 (07.07.2004)
(87) Публикация PCT:
WO 2005/098259 (20.10.2005)
Адрес для переписки:
105425, Москва, ул.5-я Парковая, д.55, корпус 3, кв.60, пат.пов. О.В.Аргасову, рег.№ 253
|
(72) Автор(ы):
ЭЧАМБАДИ Кришнасвами Партхасаратхи (IN), СИНИАППАН Манипандиан (IN)
(73) Патентообладатель(и):
МАДРАС ЭНДЖИНИРИНГ ИНДАСТРИЗ ПРАЙВИТ ЛТД. (IN)
|
(54) АВТОМАТИЧЕСКИЙ РЕГУЛЯТОР ТОРМОЗА ДЛЯ РЕГУЛИРОВАНИЯ ЗАЗОРА МЕЖДУ ТОРМОЗНОЙ КОЛОДКОЙ И ТОРМОЗНЫМ БАРАБАНОМ ТОРМОЗНОЙ СИСТЕМЫ ТРАНСПОРТНОГО СРЕДСТВА
(57) Реферат:
Изобретение относится к области автомобилестроения, а именно к автоматическим регуляторам тормоза. Автоматический регулятор тормоза содержит корпус, поворотное червячное колесо, муфту сцепления со стопорным механизмом, крышку подшипникового узла с нажимным подшипником и стопорное кольцо. Муфта сцепления со стопорным механизмом одностороннего действия содержит поворотный червячный вал, закрепленный перпендикулярно червячному колесу, но находящийся в зацеплении с червячным колесом, и седло стопора/сцепления одностороннего действия, имеющее зубья. Седло стопора/сцепления одностороннего действия первоначально образует с поворотным червячным валом механизм сцепления, а затем со стопорной втулкой одностороннего действия формирует стопорный механизм одностороннего действия при одновременном наличии интегрированного механизма одностороннего действия и стопорного механизма над червячным валом. Достигается возможность автоматического реагирования на чрезмерный износ колодки и выполнение тарирования таким образом, чтобы поддерживать оптимальный клиренс, а также увеличение долговечности деталей благодаря уменьшению износа. 2 н.п. ф-лы, 4 ил.
ОБЛАСТЬ ТЕХНИКИ, К КОТОРОЙ ОТНОСИТСЯ ИЗОБРЕТЕНИЕ
Это изобретение относится к усовершенствованию автоматического регулятора тормоза с гибким регулированием положения контрольной точки начального отсчета и сравнения, в котором стопорный механизм и механизм сцепления одностороннего действия сблокированы воедино и расположены на червячном валу с обеспечением изолирования стопорного механизма одностороннего действия и колеса червячного привода регулятора от действия тяжело нагруженной пружины сжатия с помощью нажимной втулки для независимого функционирования. Стопорный механизм одностороннего действия предназначен для реагирования на чрезмерный зазор колодки и для регулирования зазора между тормозной колодкой и тормозным барабаном, тогда как механизм сцепления не реагирует на чрезмерный рабочий ход тормозного привода в связи с наличием упругости в тормозных деталях основания тормозной системы транспортного средства.
ПРЕДШЕСТВУЮЩИЙ УРОВЕНЬ ТЕХНИКИ
В тяжеловесном транспортном средстве для коммерческого использования, в таком как грузовые автомобили, трейлеры и автобусы, обычно широко используются барабанные тормозы с валом, имеющим S-образный кулачок. Тормозные башмаки с тормозной колодкой покоятся на валу с S-образным кулачком и являются прижатыми к тормозному барабану во время использования тормоза. Шлицевой участок кулачкового вала с S-образным кулачком выступает от тормозного барабана.
Регулятор тормоза соединяет указанный кулачковый вал с S-образным кулачком с нажимной штангой тормозного привода. Регулятор тормоза на одном конце присоединен к шлицевому участку кулачкового вала с S-образным кулачком, а на другом конце он соединен с нажимной штангой тормозного привода. Давление воздуха, приложенное к тормозному приводу, приводит к выработке механической энергии, передаваемой в виде формируемого ею тормозного усилия через нажимную штангу к кулачковому валу с S-образным кулачком, который раздвигает тормозные башмаки и прижимает колодку к тормозному барабану так, чтобы тормоз начал свою работу.
Автоматический регулятор тормоза используется в виде рычага, который передает тормозное усилие от тормозного привода к кулачковому валу с S-образным кулачком и к механическому устройству для реагирования на чрезмерный клиренс тормозных колодок и регулирует зазор между тормозной колодкой и тормозным барабаном до его оптимизированной величины.
Из предшествующего уровня техники известно, что автоматический регулятор тормоза используется в виде рычага для того, чтобы соединять нажимную штангу тормозного привода и шлицевой кулачковый вал, имеющий S-образный тормозной кулачок. Тормоз с S-образным кулачком состоит из тормозного барабана, тормозных башмаков и кулачкового вала с S-образным кулачком. Тормозной башмак должен прижиматься к тормозному барабану во время использования тормозов с S-образным кулачком. Автоматический регулятор тормоза используется для того, чтобы передавать тормозное усилие тормозу с S-образным кулачком посредством тормозного привода, который работает от давления воздуха.
Определение зазора тормоза, появляющегося в связи с износом колодки, с помощью автоматического регулятора тормоза может осуществляться либо посредством учета рабочего хода, или посредством учета клиренса между колодкой и барабаном.
Согласно принципу учета рабочего хода регулировка полностью зависит от рабочего хода нажимной штанги тормозного привода или, другими словами, от углового перемещения автоматического регулятора тормоза, и она изменяется от клиренса между тормозной колодкой и тормозным барабаном.
Согласно принципу учета зазора, на котором основана заявляемая усовершенствованная система, механизм для регулирования способен реагировать на различные факторы, такие как упругость тормозного барабана и различных конструкционных составных частей тормозов, для изменения рабочего хода нажимной штанги и для дифференцирования износа тормозной колодки с целью осуществления оптимизирования клиренса колодок без учета влияния избыточного рабочего хода нажимной штанги в связи с наличием других факторов.
ЗАДАЧИ ИЗОБРЕТЕНИЯ
Первая задача изобретения заключается в автоматическом реагировании на чрезмерный износ колодки и в выполнении тарирования таким образом, чтобы поддерживать оптимальный клиренс. Во время регулярной работы тормозов, известных из предшествующего уровня техники в данной области, клиренс между тормозной колодкой и тормозным барабаном увеличивается из-за износа колодки, в результате чего увеличивается рабочий ход нажимной штанги тормозного привода при применении тормоза. Поддержание оптимального клиренса и периодическое ручное регулирование с целью поддержания оптимального клиренса являются существенными для осуществления эффективного торможения. Следовательно, основной задачей изобретения является создание автоматического регулятора тормоза с внутренним механизмом для реагирования на чрезмерный износ колодки и с автоматическим поворотом червячного вала, взаимодействующего с червячным колесом, и, в свою очередь, с «кулачковым валом, имеющим S-образный кулачок», для того, чтобы поддерживать оптимальный клиренс, этим удерживая угловое перемещение автоматического регулятора тормоза до величины его желаемого предела.
Другая задача изобретения состоит в создании автоматического регулятора тормоза с высокой степенью надежности, который представляет собой безопасное устройство, способное работать при чрезвычайно ухудшенных условиях внешней среды, а также при условиях жесткой силовой нагрузки и в условиях вибрации при учете ограничения по имеющемуся пространству для размещения регулятора.
Другая задача изобретения заключается в создании автоматического регулятора тормоза, в котором осуществляется контролирование избыточного клиренса у колодки во время возвратного хода тормоза вместо регулирования того же самого клиренса во время использования тормоза, что известно из предшествующего уровня техники.
СОПРОВОДИТЕЛЬНЫЕ ЧЕРТЕЖИ К ОПИСАНИЮ ИЗОБРЕТЕНИЯ
Изобретение теперь будет описано со ссылками на сопроводительные чертежи, которые иллюстрируют изобретение посредством примера его реализации и не ограничивают его при предпочтительном воплощении этого изобретения.
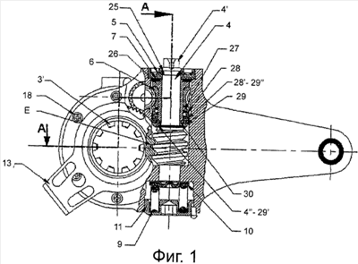
На фиг.1 показан вид спереди на автоматический регулятор тормоза, выполненный в соответствии с изобретением.
На фиг.2 показан вид с торца по сечению по линии А-А на фиг.1.
На фиг.3 показан вид с торца по сечению по линии А-А на фиг.1 для иллюстрации узла шестерни и консоли для регулирования.
На фиг.4 показан вид с торца по сечению по линии С-С на фиг.3 для иллюстрации устройства для предварительной установки зазора в узле шестерни.
Цифровые обозначения на прилагаемых чертежах являются следующими:
1 – корпус автоматического регулятора тормоза,
2 – отверстие в хвостовике,
3 – червячное колесо,
3′ – внутренний шлиц,
4 – червячный вал,
4′ – шестигранник,
4″ – зубья сцепления,
5 – крышка подшипникового узла,
6 – червячное колесо регулятора,
7 – нажимной подшипник сцепления,
8 – прокладка,
9 – тяжело нагруженная пружина сжатия,
10 – седло для пружины,
11 – крышка, поддерживающая пружину,
12 – зубчатое колесо для регулирования,
13 – консоль для регулирования,
14 – плоская крышка,
15 – уплотнительное кольцо,
16 – шестерня,
17 – уплотнительное кольцо,
18 – винты,
19 – червяк для регулирования,
20 – направляющая,
21 – винт,
22 – пружина,
23 – шпиндель,
24 – пружина кручения,
25 – уплотнительное кольцо,
26 – нажимная втулка,
27 – пружина стопора одностороннего действия,
28 – стопорная втулка одностороннего действия,
29 – седло стопора/сцепления муфты одностороннего действия,
28′-29″ – стопорные поверхности стопорной втулки одностороннего действия,
29′ – зубья седла стопора/сцепления одностороннего действия,
30 – стопорное кольцо,
G – предварительно устанавливаемый зазор между ступенчатыми поверхностями шестерни 16 червяка 19 для регулирования,
D – точка зацепления червяка 19 для регулирования с червячным колесом 6 регулятора,
Е – точка зацепления червячного колеса 3 с червячным валом 4.
ОПИСАНИЕ ИЗОБРЕТЕНИЯ В СООТВЕТСТВИИ С ПРЕДПОЧТИТЕЛЬНЫМИ ВАРИАНТАМИ ЕГО ВОПЛОЩЕНИЯ
В известном автоматическом регуляторе тормоза его угловое перемещение определяется с помощью консоли для регулирования, закрепленной на фиксированной детали на ходовой части транспортного средства для установления начальной контрольной точки отсчета и сравнения. Но желательным является гибкое по своему расположению фиксирование контрольной точки начального отсчета и сравнения для легкой установки при различных модельных сравнениях на корпусе автоматического регулятора тормоза для того, чтобы избежать соблюдение дополнительной предосторожности, требующейся при первоначальной установке, а также для того, чтобы осуществлять легкую установку пользователем во время переоборудования и после сервисного технического обслуживания. Для решения вышеуказанной проблемы консоль для регулирования автоматического регулятора тормоза согласно изобретению спроектирована так, чтобы иметь плавающую контрольную точку начального отсчета и сравнения.
Обычно снижение величины передаточных отношений а) между зубчатым колесом для регулирования и шестерней и b) между червяком для регулирования и шестерней для регулирования фиксируется таким образом, что имеет место только частичное регулирование во время каждого применения тормоза при компенсировании чрезмерного зазора в связи с наличием износа колодки.
По существу при вышеуказанных особенностях желательно осуществлять регулирование избыточного клиренса скорее во время возвратного хода тормоза, чем во время рабочего хода при использовании тормоза, с целью уменьшения износа и увеличения благодаря этому долговечности деталей.
Автоматический регулятор тормоза для контролирования зазора между тормозной колодкой и тормозным барабаном системы транспортного средства, выполненный в соответствии с настоящим изобретением, в основном, содержит следующие детали:
a) корпус 1, способный к присоединению к тормозному приводу;
b) механизм сцепления, в котором седло 29 стопора/сцепления одностороннего действия образует сцепление с поворотным червячным валом 4 с помощью попарно взаимодействующих зубьев, указанный червячный вал 4 находится в зацеплении с червячным колесом 3, но расположен перпендикулярно его оси, указанное седло 29 стопора/сцепления одностороннего действия удерживается посредством нажимной втулки 26 за счет поджатия тяжело нагруженной пружиной 9 сжатия, которая предварительно настраивается на желаемую силовую нагрузку. Нажимная втулка 26 гарантирует свободное вращение червячного колеса 6 регулятора посредством обхода тяжелой силовой нагрузки со стороны пружины 9 сжатия. Механизм сцепления должен разобщать червячный вал 4 с червячным колесом 6 регулятора и со стопорным механизмом одностороннего действия во время хода отклонения тормозов;
c) стопорный механизм одностороннего действия, образованный между стопорными поверхностями 28′-29″ стопорной втулки 28 одностороннего действия и седла 29 стопора/сцепления одностороннего действия, взаимодействующего с червячным валом у зубьев 4″-29′, и другим концевым участком стопорной втулки 28 одностороннего действия, которая соединена с червячным колесом 6 регулятора посредством прорезей на поверхностях и с помощью стопорной пружины 27 одностороннего действия, предназначен для реагирования на чрезмерный клиренс у колодок в связи с наличием износа и осуществляет его автоматическое регулирование. Все эти детали зафиксированы с помощью стопорного кольца 30 на нажимной втулке 26 для устранения возможности поверхностного перемещения зубьев седла 29 стопора/сцепления одностороннего действия по червячному валу 4 при разобщении сцепления и для облегчения изготовления узла и его технического обслуживания;
d) узел консоли для регулирования, включающий в себя поворотную консоль 13 для регулирования с фиксирующим участком 13′, присоединенным к ходовой части транспортного средства для обеспечения наличия контрольной точки начального отсчета и сравнения, и зубчатое колесо 12 для регулирования с периферийными зубьями, размещенную также в отверстии червячного колеса 3, но выполненную за одно целое с консолью 13 для регулирования;
e) шестерню 16 со ступенчатыми поверхностями, взаимодействующими со ступенчатыми поверхностями червяка 19 для регулирования, при этом зазор G между ступенчатыми поверхностями гарантирует наличие радиального клиренса и желаемого зазора, т.е. хода при установившемся движении. Червяк для регулирования находится в зацеплении в точке D с червячным колесом 6 регулятора для того, чтобы осуществлять регулирование функции стопорного механизма одностороннего действия при вращении зубчатого колеса 12 для регулирования.
В соответствии с настоящим изобретением автоматический регулятор тормоза включает в себя корпус 1 автоматического регулятора тормоза, предусмотренный с отверстием 2 в хвостовом участке для соединения с тормозным приводом. Другой концевой участок корпуса содержит поворотное червячное колесо 3, которое имеет внутренние шлицы для фиксирования на кулачковом валу, имеющем S-образный кулачок. Поворотный червячный вал 4 при его зацеплении с червячным колесом 3 расположен в корпусе 1 и ориентирован перпендикулярно оси червячного колеса 3.
Для обеспечения возможности вращения посредством гаечного ключа один концевой участок червячного вала 4 имеет участок 4′ шестигранника, выступающий из корпуса 1. На стороне участка шестигранника смонтированы нажимная втулка 26, червячное колесо 6 регулятора, стопорная втулка 28 одностороннего действия, седло 29 стопора/сцепления одностороннего действия и пружина 27 стопора одностороннего действия наряду с нажимным подшипником 7 сцепления и крышкой 5 подшипникового узла, которая ввинчена в корпус 1 и служит направляющей для червячного вала 4. Нажимная втулка 26 и нажимной подшипник 7 сцепления используются для удержания седла 29 стопора/сцепления одностороннего действия от свободного вращения при противодействии тяжелой силовой нагрузке пружины 9 сжатия. Стопорный механизм одностороннего действия образован между стопорными поверхностями зубьев 28′-29″ стопорной втулки 28 одностороннего действия и седлом 29 стопора/сцепления одностороннего действия со стопорной пружиной 27 одностороннего действия, и этот стопорный механизм расположен между червячным колесом 6 регулятора и червячным валом 4. Уплотнительное кольцо 25 предусмотрено в канавке червячного вала 4 для предотвращения попадания инородных частиц. На другой стороне червяного вала 4 установлены седло 10 для пружины, тяжело нагруженная пружина 9 и крышка 11, поддерживающая пружину. Крышка 11, поддерживающая пружину, ввинчена в корпус 1 для предварительной настройки пружины на желаемую силовую нагрузку. Механизм сцепления образован зубом 29′ на седле 29 стопора/сцепления одностороннего действия и зубом 4″ червячного вала 4. Захват этого сцепления обеспечен тяжело нагруженной пружиной 9 сжатия, которая прикладывает силовую нагрузку к червячному валу 4.
Узел 12-15 и 17 консоли для регулирования расположен в корпусе в том же самом отверстии для червячного колеса 3 и работает в независимом режиме. Поворотное зубчатое колесо 12 для регулирования, входящее в узел консоли для регулирования и имеющее периферийно расположенные зубья, выполнено за одно целое с консолью 13 для регулирования, которая имеет фиксирующий участок 13′. Плоская крышка 14 расположена внутри и между зубчатым колесом 12 для регулирования и консолью 13 для регулирования наряду с уплотнительными кольцами 15 и 17 для устранения возможности попадания инородных частиц.
Узел 12-15 и 17 консоли для регулирования зафиксирован на корпусе 1 с прокладкой 8 посредством винтов 18, находящихся в периферийных отверстиях плоской крышки 14. Консоль 13 для регулирования должна жестко крепиться на ходовой части транспортного средства для обеспечения наличия контрольной точки начального отсчета и сравнения для автоматического регулятора тормоза, как это будет пояснено ниже.
Зубчатое колесо 12 для регулирования находится в зацеплении с шестерней 16 и расположено внутри отверстия для червячного колеса в корпусе 1. Положение шестерни показано на фиг.3 и 4.
Шестерня 16 и червяк 19 для регулирования сопряжены друг с другом посредством шпинделя 23 с направляющей 20 и удерживаются с помощью винта 21. Зазор G, предусмотренный внутри между ступенчатыми поверхностями шестерни 16 и поверхностью отверстия червяка 19 для регулирования, обеспечивает свободное первоначальное движение во время вращения шестерни 16 зубчатым колесом 12 для регулирования заданного зазора между тормозным башмаком и тормозным барабаном, который иначе называется как ход клиренса автоматического регулятора тормоза.
Стопорный механизм одностороннего действия образован между стопорными поверхностями 28′-29″ стопорной втулки 28 одностороннего действия и седла 29 стопора/сцепления одностороннего действия, взаимодействующими с червячным валом 4, и другим концевым участком стопорной втулки 28 одностороннего действия, которая соединена с червячным колесом 6 регулятора посредством прорезей на поверхностях и с помощью стопорной пружины 27 одностороннего действия, и этот стопорный механизм предназначен для реагирования на чрезмерный клиренс у колодок в связи с наличием износа и осуществляет его автоматическое регулирование. Все эти детали зафиксированы с помощью стопорного кольца 30 на нажимной втулке 26 для устранения возможности поверхностного перемещения зубьев седла 29 стопора/сцепления одностороннего действия по червячному валу 4 при разобщении муфты и для облегчения изготовления узла и его технического обслуживания.
Согласно настоящему изобретению автоматический регулятор тормоза с гибкой контрольной точкой начального отсчета и сравнения включает в себя выполненные за одно целое стопорный механизм и механизм сцепления одностороннего действия над червячным валом. Функция механизма сцепления одностороннего действия заключается в реагировании на наличие чрезмерного клиренса у колодок в связи с износом и в осуществлении автоматического регулирования, тогда как функция стопорного механизма сцепления состоит в разобщении червячного вала с червячным колесом регулятора во время хода отклонения тормозного привода, и оба механизма совместно зафиксированы относительно друг друга с помощью стопорного кольца. Обеспечение стопора одностороннего действия на увеличенной площади повышает долговечность стопорного механизма одностороннего действия, а совместное фиксирование всех этих деталей упрощает изготовление узла в дополнение к устранению возможности контакта при перемещении седла сцепления над зубьями червячного вала сцепления во время хода отклонения тормозного привода, что позволяет увеличивать долговечность зубьев сцепления на червяном валу и на седле стопора/сцепления одностороннего действия.
Регулируемый радиальный клиренс между червяком для регулирования и шестерней гарантируется наличием зазора, предусмотренного между ступенчатыми поверхностями шестерни и червяка для регулирования, которые собираются в узле друг с другом внутри шпинделя с пружиной кручения, которая обеспечивает наличие желаемого зазора или контролируемого расстояния для автоматического регулятора тормоза с целью поддержания клиренса между тормозной колодкой и тормозным барабаном. Шестерня и червяк для регулирования сопряжены друг с другом посредством шпинделя и удерживаются винтом с направляющей для облегчения разборки и повторной сборки, как это показано на чертеже (см. фиг.3). Эти детали собираются в корпусе при наличии внизу его пружины сжатия.
Далее описывается работа автоматического регулятора тормоза, конструкция и функциональное назначение которого в соответствии с реализацией изобретения были описаны в предшествующих разделах описания изобретения.
Когда тормоз срабатывает при чрезмерном клиренсе у колодок для того, чтобы начинать его работу на первоначальном этапе функционирования, шестерня 16 в связи с перемещением рычага поворачивается с помощью узла 12-15 и 17 консоли для регулирования, который жестко смонтирован на ходовой части транспортного средства. Во время первоначального периода этой работы шестерня 16 вращается свободно до тех пор, пока не будет перекрыт зазор G, предварительно установленный между ступенчатыми поверхностями червяка 19 для регулирования и шестерни 16. Это свободное вращение шестерни 16 гарантирует наличие заданного хода клиренса автоматического регулятора тормоза. Одновременно червячное колесо 3 вращается в направлении против хода часовой стрелки вместе с корпусом 1 автоматического регулятора тормоза; в свою очередь, кулачковый вал с S-образным кулачком, взаимодействующий со шлицем 3′, вращается для того, чтобы поднимать тормозную колодку к тормозному барабану.
Во время дальнейшего вращения (после прохождения через цикл хода клиренса) червяк 19 для регулирования также вращается шестерней 16 наряду с червячным колесом 6 регулятора, вращающим стопорную втулку 28 одностороннего действия. Поскольку другая часть стопора одностороннего действия, т.е. седло 29 стопора/сцепления одностороннего действия теперь жестко сцеплено с зубьями червяного вала, образуя механизм сцепления, стопорная втулка 28 одностороннего действия должна проходить над стопорными поверхностями 28′-29″ при противодействии стопорной пружины 27 одностороннего действия и при взаимодействии до получения нового местоположения, когда имеется чрезмерный зазор между тормозной колодкой и тормозным барабаном.
Это осуществляется благодаря тому, что с помощью вращения червячного вала 4 предотвращается вращение седла 29 стопора/сцепления одностороннего действия в связи с наличием чрезмерного трения его зуба 29′ на червячном валу, полностью взаимодействующим с зубом 4″ червячного вала.
Как только колодка тормоза начинает взаимодействовать с тормозным барабаном, силовое противодействие увеличивается, и червячный вал 4 перемещается в осевом направлении, сжимая тяжело нагружаемую пружину 9 сжатия, и сцепление разобщается, когда зубчатый участок червячного вала 4 отодвигается от зуба 29′ седла стопора/сцепления одностороннего действия.
Теперь, когда муфта сцепления находится в разобщенном положении, устраняется сопротивление седлу 29 стопора/сцепления одностороннего действия, и это седло может вращаться вместе со стопорной втулкой 28 одностороннего действия и червячным колесом 6 регулятора в виде единого блока при поддержании относительных положений. Благодаря этому игнорируется перемещение рычага во время этого периода (в зоне расширения/отклонения).
Когда тормоз находится в разобщенном положении, шестерня 16 вращается в направлении по ходу часовой стрелки с помощью зубчатого колеса 12 для регулирования, в направлении, противоположном применению тормоза, и червяк 19 для регулирования отслеживает вращение шестерни 16 при образовании единого блока с червячным колесом 6 регулятора, стопорной втулкой 28 одностороннего действия и седлом 29 стопора/сцепления одностороннего действия, перекрывая ход отклонения автоматического регулятора тормоза. Однако червячный вал 4 остается неподвижным, когда разобщается сцепление между зубьями 4″ и 29′.
Как только колодка тормоза отодвигается от тормозного барабана, усилие уменьшается, и силовая нагрузка тяжело нагружаемой пружины 9 сжатия перемещает червячный вал для того, чтобы он взаимодействовал со сцеплением, предотвращая свободное вращение седла 29 стопора/сцепления одностороннего действия.
Во время дальнейшего движения разобщения тормозного привода корпус 1 поддерживает вращение в направлении по ходу часовой стрелки; зубчатое колесо 12 для регулирования продолжает вращать шестерню 16 вместе с червяком 19 для регулирования до тех пор, пока не восстанавливается перекрытый зазор между червяком 19 для регулирования и шестерней 16 при противодействии пружины 24 кручения. Это перемещение перекрывает ход клиренса автоматического регулятора тормоза, который был достигнут при первоначальном периоде использования тормоза. Однако в связи с наличием трения при сцеплении в этот период времени предотвращается вращение седла 29 стопора/сцепления одностороннего действия и стопорной втулки 28 одностороннего действия вместе с червячным колесом 6 регулятора.
Во время конечного разобщающего вращения в автоматическом регуляторе тормоза шестерня 16, вращаемая зубчатым колесом 12 для регулирования, в свою очередь, вращает червяк 19 для регулирования вместе с червячным колесом 6 регулятора и поворачивает весь механизм одностороннего действия. Червячный вал 4, который теперь взаимодействует с седлом 29 стопора/сцепления одностороннего действия, вращается и вращает червячное колесо 3 и кулачковый вал с S-образным кулачком для регулирования зазора у колодки. Это осуществляется пропорционально новому взаимодействию, имевшему место во время рабочего хода тормоза, поясненного здесь ранее.
Функция, поясненная в последнем разделе описания изобретения, является применимой только для использования тормоза при чрезмерном зазоре у колодок, когда стопорная втулка 28 одностороннего действия взаимодействует в новом месте и позднее разобщается, как описано выше. Всякий раз, когда тормоз используется при оптимальном зазоре у тормозной колодки, после завершения рабочего хода клиренса автоматического регулятора тормоза не будет иметь место перемещение стопорной втулки одностороннего действия на седле стопора/сцепления одностороннего действия.
При предпочтительном варианте реализации изобретения, как описано здесь выше и иллюстрировано сопроводительными чертежами, автоматический регулятор тормоза с плавающей контрольной точкой для начального отсчета и сравнения с механизмом стопора и сцепления одностороннего действия, выполненный согласно настоящему изобретению для регулирования зазора между тормозной колодкой и тормозным барабаном тормозной системы транспортного средства, содержит:
a) корпус 1, имеющий отверстие 2 в хвостовой части для соединения с тормозным приводом;
b) поворотное червячное колесо 3 с внутренними шлицами, расположенное на другом участке указанного корпуса для размещения кулачкового вала с S-образным кулачком;
c) муфту сцепления стопорного механизма одностороннего действия, содержащую поворотный червячный вал 4, закрепленный перпендикулярно червячному колесу 3, но находящийся в зацеплении с червячным колесом 3, седло 29 стопора/сцепления одностороннего действия, взаимодействующее с зубьями 4″, при этом червячный вал 4 ориентирован с помощью крышки 5 подшипникового узла, червячное колесо 6 регулятора, размещенное на нажимной втулке 26, смонтированной на червячном валу 4, но взаимодействующей с втулкой 28 стопора/сцепления одностороннего действия, которая также расположена на нажимной втулке 26 и которая, в свою очередь, взаимодействует с седлом 29 стопора/сцепления одностороннего действия таким образом, что механизм сцепления и стопорный механизм одностороннего действия находятся на червячном валу 4;
d) крышку 5 подшипникового узла с нажимным подшипником 7 сцепления, седло 29 стопора/сцепления одностороннего действия во взаимодействии с червячным валом 4 посредством нажимной втулки 26 при противодействии тяжело нагруженной пружины 9 сжатия, благодаря чему изолированы для свободного перемещения червячное колесо 6 регулятора и стопорная втулка 28 одностороннего действия;
e) стопорное кольцо 30, предусмотренное на нажимной втулке 26 и фиксирующее друг с другом червячный вал 4 и червячное колесо 6 для предотвращения перемещения зубьев 29′ седла сцепления по зубьям 4″ сцепления червячного вала при условии, что сцепление находится в разобщенном положении;
f) при этом стопорный механизм одностороннего действия и механизм сцепления находятся над червячным валом 4,
g) при этом стопорный механизм одностороннего действия и механизм сцепления интегрированы и выполнены за одно целое в виде седла стопора/сцепления одностороннего действия.
Автоматический регулятор тормоза с плавающей контрольной точкой для начального отсчета и сравнения с механизмом стопора и сцепления одностороннего действия, выполненный согласно настоящему изобретению для регулирования зазора между тормозной колодкой и тормозным барабаном тормозной системы транспортного средства, содержит:
a) корпус 1, имеющий отверстие 2 в хвостовой части, приспособленное для соединения с тормозным приводом;
b) поворотное червячное колесо 3 с внутренними шлицами, расположенное на другом участке указанного корпуса для размещения кулачкового вала с S-образным кулачком;
с) муфту сцепления стопорного механизма одностороннего действия, содержащую:
i) поворотный червячный вал 4, имеющий зубья 4″ и закрепленный перпендикулярно оси червячного колеса 3, но находящийся в зацеплении с червячным колесом 3;
ii) седло 29 стопора/сцепления одностороннего действия, имеющее зубья 29′, взаимодействующие с зубьями 4″ червячного вала 4, ориентированного с помощью крышки 5 подшипникового узла;
iii) стопорный механизм одностороннего действия, содержащий: червячное колесо 6 регулятора, взаимодействующее посредством шлицев, расположенных на поверхностях, со стопорной втулкой 28 одностороннего действия, имеющей зубья 28′, размещенные на нажимной втулке 26 при наличии стопорной пружины 27 одностороннего действия, и они расположены на шестигранном концевом участке 4′ червячного вала у одного его концевого участка;
iv) тяжело нагруженную пружину 9 сжатия с седлом 10 для пружины и крышку 11, поддерживающую пружину на другом концевом участке червячного вала;
v) уплотнительное кольцо 25, расположенное в канавке червячного вала 4;
vi) при этом крышка 5 подшипникового узла с нажимным подшипником 7 удерживает седло 29 стопора/сцепления одностороннего действия посредством нажимной втулки 26 при противодействии тяжело нагруженной пружины 9 сжатия таким образом, чтобы изолировать свободное перемещение червячного колеса 6 регулятора и стопорную втулку 28 одностороннего действия;
vii) при этом указанная крышка 11 для поддержания пружины соответственно ввинчена в указанный корпус 1 для предварительной установки силовой нагрузки пружины;
viii) при этом седло 29 стопора/сцепления образует муфту сцепления посредством зубьев 29′, сидящих на зубьях 4′ червячного вала;
ix) при этом тяжело нагруженная пружина 9 сжатия прикладывает силовую нагрузку на червячный вал 4 таким образом, чтобы гарантировать взаимодействие сцепления;
х) при этом стопорная втулка 28 одностороннего действия образует стопор с помощью зубьев 28′, сидящих на зубьях 29′ седла 29 стопора/сцепления на другом концевом участке;
d) узел консоли для регулирования, содержащий:
– поворотную консоль 13 для регулирования с фиксирующим участком 13′;
– зубчатое колесо 12 для регулирования, имеющее периферийные зубья и расположенное в отверстии червячного колеса 3 совместно с консолью 13 для регулирования;
– плоскую крышку 14 с уплотнительными кольцами 15 и 17, установленную внутри и между зубчатым колесом 12 для регулирования и консолью 13 для регулирования;
– при этом прокладка 8 с винтами 18 в периферийных отверстиях плоской крышки предназначены для гарантирования жесткого крепления на корпусе 1;
– при этом фиксирующий участок 13′ жестко прикреплен к ходовой части транспортного средства для обеспечения наличия контрольной точки начального отсчета и сравнения, и
e) узел шестерни, содержащий:
– шестерню 16, находящуюся в зацеплении с зубчатым колесом 12 для регулирования и имеющую ступенчатые поверхности;
– червяк 19 для регулирования со ступенчатыми поверхностями, приспособленный для взаимодействия со ступенчатыми поверхностями шестерни 16;
– при этом шпиндель 23, направляющая 20 и винт 21 сопрягают шестерню 16 и червяк 19 для регулирования;
– при этом зазор G между ступенчатыми поверхностями шестерни 16 и поверхностью отверстия червяка 19 для регулирования гарантирует наличие радиального клиренса для возможности первоначального свободного движения во время вращения шестерни 16 зубчатым колесом 12 для регулирования с целью достижения заданного зазора между тормозным башмаком и тормозным барабаном, который известен как ход клиренса автоматического регулятора тормоза.
Следует считать очевидным, что раскрытые предпочтительные варианты реализации изобретения правильно спроектированы для выполнения заявленных целей, и следует понимать, что изобретение хорошо понятно для специалистов в данной области техники, и все изменения и модификации, которые могут осуществляться без отклонения от его сущности, также считаются охватываемыми описанием изобретения и пунктами формулы заявленного изобретения.
Формула изобретения
1. Автоматический регулятор тормоза с плавающей контрольной точкой для начального отсчета и сравнения с механизмом стопора и сцепления одностороннего действия для регулирования зазора между тормозной колодкой и тормозным барабаном тормозной системы транспортного средства, содержащий:
корпус (1), приспособленный к соединению с тормозным приводом;
поворотное червячное колесо (3) с внутренними шлицами, расположенное на другом участке указанного корпуса для размещения кулачкового вала с S-образным кулачком;
муфту сцепления со стопорным механизмом одностороннего действия, содержащую поворотный червячный вал (4), закрепленный перпендикулярно червячному колесу (3), но находящийся в зацеплении с червячным колесом (3), седло (29) стопора/сцепления одностороннего действия, имеющее зубья (29′), взаимодействующие с зубьями (4”) червячного вала (4), при этом червячный вал (4) ориентирован с помощью крышки (5) подшипникового узла для образования механизма сцепления, червячное колесо (6) регулятора, взаимодействующее посредством прорезей на поверхностях со стопорной втулкой (28) стопора/сцепления одностороннего действия, имеющей зубья (28′), расположенное на нажимной втулке (26) со стопорной пружиной (27) одностороннего действия и дополнительно смонтированное на концевом участке шестигранника червячного вала (4) таким образом, что механизм сцепления и стопорный механизм одностороннего действия находятся на червячном валу (4);
крышку (5) подшипникового узла с нажимным подшипником (7) сцепления, удерживающую седло (29) стопора/сцепления одностороннего действия посредством нажимной втулки (26) при противодействии тяжело нагруженной пружины (9) сжатия, благодаря чему изолируются от свободного перемещения червячное колесо (6) регулятора и стопорная втулка (28) одностороннего действия;
стопорное кольцо (30), предусмотренное на нажимной втулке (26) и фиксирующее друг с другом червячный вал (4) и червячное колесо (6) регулятора для изолирования зубьев (29′) седла сцепления от их перемещения по зубьям (4”) сцепления червячного вала при разобщенном сцеплении;
при этом стопорный механизм одностороннего действия и механизм сцепления находятся над червячным валом (4);
причем стопорный механизм одностороннего действия и механизм сцепления выполнены за одно целое в седле стопора/сцепления одностороннего действия.
2. Автоматический регулятор тормоза с плавающей контрольной точкой для начального отсчета и сравнения с механизмом стопора и сцепления одностороннего действия для регулирования зазора между тормозной колодкой и тормозным барабаном тормозной системы транспортного средства, содержащий:
корпус (1), имеющий отверстие (2) в хвостовой части и приспособленный к соединению с тормозным приводом;
поворотное червячное колесо (3) с внутренними шлицами, расположенное на другом участке указанного корпуса для размещения кулачкового вала с S-образным кулачком;
муфту сцепления со стопорным механизмом одностороннего действия, содержащую:
поворотный червячный вал (4), имеющий зубья (4”) и закрепленный перпендикулярно оси червячного колеса (3), но находящийся в зацеплении с червячным колесом (3);
седло (29) стопора/сцепления одностороннего действия, имеющее зубья (29′), взаимодействующие с зубьями (4”) червячного вала (4), смонтированного на концевом участке шестигранника (4′) червячного вала (4) вместе с крышкой (5) подшипникового узла, взаимодействующей с обеспечением ориентирования червячного вала (4);
стопорный механизм одностороннего действия, содержащий:
стопорную втулку (28) одностороннего действия, имеющую зубья (28′-29′) со стопорной пружиной (27) одностороннего действия, взаимодействующие с помощью прорезей на поверхностях червячного колеса (6) регулятора, расположенного на нажимной втулке (26) и смонтированного на концевом участке шестигранника (4′) червячного вала (4) у одного его концевого участка;
тяжело нагруженную пружину (9) сжатия с седлом (10) для пружины и крышку (11), поддерживающую пружину, смонтированные на другом концевом участке червячного вала (4);
уплотнительное кольцо (25), закрепленное в канавке червячного вала (4);
при этом крышка (5) подшипникового узла с нажимным подшипником (7) удерживает седло (29) стопора/сцепления одностороннего действия посредством нажимной втулки (26) при противодействии тяжело нагруженной пружины (9) сжатия таким образом, чтобы изолировать от свободного перемещения червячное колесо (6) регулятора и стопорную втулку (28) одностороннего действия;
при этом указанная крышка (11) для поддержания пружины соответственно ввинчена в указанный корпус (1) для предварительной установки силовой нагрузки пружины;
причем седло (29) стопора/сцепления одностороннего действия образует муфту сцепления посредством зубьев (29′), сидящих на зубьях (4”) червячного вала (4);
при этом тяжело нагруженная пружина (9) сжатия прикладывает силовую нагрузку на червячный вал (4) таким образом, чтобы обеспечить взаимодействие с муфтой сцепления;
при этом стопорная втулка (28) одностороннего действия образует стопор с помощью зубьев (28′), сидящих на зубьях (29′) седла (29) стопора/сцепления одностороннего действия на другом концевом участке;
узел консоли для регулирования, содержащий:
поворотную консоль (13) для регулирования с фиксирующим участком (13′);
зубчатое колесо (12) для регулирования, имеющее периферийные зубья и расположенное в отверстии червячного колеса (3) совместно с консолью (13) для регулирования;
плоскую крышку (14) с уплотнительными кольцами (15) и (17), установленную внутри между зубчатым колесом (12) для регулирования и консолью (13) для регулирования;
при этом прокладка (8) с винтами (18) в периферийных отверстиях плоской крышки (14) предназначены для обеспечения жесткого крепления на корпусе (1);
при этом фиксирующий участок (13′) жестко прикреплен к ходовой части транспортного средства для обеспечения наличия контрольной точки начального отсчета и сравнения, и узел шестерни, содержащий:
шестерню (16), находящуюся в зацеплении с зубчатым колесом (12) для регулирования и имеющую ступенчатые поверхности;
винтовой червяк (19) для регулирования со ступенчатыми поверхностями, приспособленными для взаимодействия со ступенчатыми поверхностями шестерни (16);
причем шпиндель (23), направляющая (20) и винт (21) сопрягают шестерню (16) и винтовой червяк (19) для регулирования;
при этом зазор (G) между ступенчатыми поверхностями шестерни (16) и поверхностью отверстия винтового червяка (19) для регулирования гарантирует наличие радиального клиренса для обеспечения первоначального свободного движения во время вращения шестерни (16) зубчатым колесом (12), гарантируя требуемое радиальное перемещение для достижения желательного зазора между тормозным башмаком и тормозным барабаном, который известен как ход клиренса автоматического регулятора тормоза.
РИСУНКИ
|