|
|
(21), (22) Заявка: 2007114202/11, 16.04.2007
(24) Дата начала отсчета срока действия патента:
16.04.2007
(46) Опубликовано: 27.08.2008
(56) Список документов, цитированных в отчете о поиске:
RU 2228470 С1, 10.05.2004. RU 2073801 C1, 20.02.1997. RU 2083886 C1, 10.07.1997. FR 2182551 A5, 07.12.1973. US 5348401 A, 20.09.1994.
Адрес для переписки:
302020, г.Орел, Наугорское ш., 29, ОрелГТУ
|
(72) Автор(ы):
Степанов Юрий Сергеевич (RU), Савин Леонид Алексеевич (RU), Корнеев Андрей Юрьевич (RU), Стручков Александр Александрович (RU), Поляков Роман Николаевич (RU), Афанасьев Борис Иванович (RU)
(73) Патентообладатель(и):
Государственное образовательное учреждение высшего профессионального образования “Орловский государственный технический университет” (ОрелГТУ) (RU)
|
(54) КОМБИНИРОВАННАЯ ОПОРА С НЕРАВНОЖЕСТКИМ КОЛЬЦОМ
(57) Реферат:
Изобретение относится к области машиностроения, а именно к изготовлению роторно-опорных узлов, состоящих из комбинации подшипника скольжения и подшипника качения и повышающих надежность и долговечность роторных машин. Комбинированная опора содержит установленный на валу подшипник качения и подшипник скольжения с конической опорной поверхностью. На валу также установлено неравножесткое кольцо, выполненное с утолщенными участками, которые чередуются с тонкими волновыми участками, с возможностью деформирования в радиальном направлении, т.е. изменения наружного диаметра под действием центробежных сил и обеспечения фрикционного контакта с подвижной конической втулкой подшипника скольжения утолщенными участками за счет выпрямления тонких участков, при этом оно жестко закреплено тонкими участками на валу. Предлагаемая комбинированная опора повышает надежность и долговечность роторно-опорного узла, упрощает его изготовление и эксплуатацию благодаря простоте конструкции и повышает ресурс работы. 4 ил.
Изобретение относится к области машиностроения, а именно к изготовлению роторно-опорных узлов, состоящих из комбинации подшипника скольжения и подшипника качения, и повышающих надежность и долговечность роторных машин.
Известен подшипниковый узел с комбинированными подшипниками, содержащий корпус, втулку гидростатического подшипника скольжения, подшипник качения, наружная обойма которого служит валом в гидростатическом подшипнике.
Недостатком известного комбинированного подшипникового узла является то, что сохраняется возможность проворота наружной обоймы подшипника качения относительно вала с неопределенной угловой скоростью, которая зависит от частоты вращения вала и нагрузок на подшипниковый узел, и тем самым возникновение вибраций на частотах подшипников качения, при этом снижается его несущая способность, подшипник качения занимает неопределенное положение и, следовательно, появляется эксцентриситет и биение в зазоре наружной обоймы подшипника качения и втулки гидростатического подшипника, что приводит к снижению долговечности всего подшипникового узла, кроме того, приложенные к корпусу однократные импульсивные нагрузки высокой интенсивности воспринимаются подшипником качения и ведут к его разрушению, что выводит из строя весь подшипниковый узел. При этом усложненная конструкция известного подшипникового узла снижает надежность и ресурс его работы.
Задачей изобретения является повышение надежности и долговечности роторно-опорного узла, упрощение его конструкции и повышение ресурса работы.
Поставленная задача решается с помощью предлагаемой комбинированной опоры, содержащей установленный на валу подшипник качения и подшипник скольжения с конической опорной поверхностью, причем на валу установлено неравножесткое кольцо, выполненное с утолщенными участками, которые чередуются с тонкими волновыми участками, с возможностью деформирования в радиальном направлении, т.е. изменения наружного диаметра под действием центробежных сил и обеспечения фрикционного контакта с подвижной конической втулкой подшипника скольжения утолщенными участками за счет выпрямления тонких участков, при этом оно жестко закреплено тонкими участками на валу.
Особенности конструкции предлагаемой комбинированной опоры поясняются чертежами.
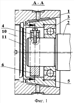
На фиг.1 схематически представлена комбинированная опора, продольный ступенчатый разрез А-А на фиг.3 в момент «Пуск-останов»; на фиг.2 – то же, комбинированная опора на основных режимах работы, неравножесткое кольцо условно не разрезано; на фиг.3 – сечение Б-Б на фиг.1, момент «Пуск-останов»; фиг.4 – то же, момент работы на основном режиме.
Предлагаемая комбинированная опора представляет собой гидростатическую опору и состоит из корпуса 1 с внутренней конической поверхностью и вала 2. На валу 2 закреплен радиально-осевой подшипник качения 3 и неравножесткое кольцо 4. На наружном кольце подшипника качения 3 установлена коническая втулка 5, играющая роль подшипника скольжения.
Неравножесткое кольцо 4 изготовлено с утолщенными участками 6, которые чередуются с тонкими волновыми участками 7. Кольцо имеет возможность деформирования в радиальном направлении, т.е. изменения наружного диаметра под действием центробежных сил и обеспечения фрикционного контакта с подвижной конической втулкой 5 подшипника скольжения утолщенными участками 6 за счет выпрямления тонких участков 7.
Кольцо 4 жестко закреплено тонкими участками 7 на валу 2 известными способами, например, с помощью болтов 8 и распорных втулок 9. Утолщенные участки 6 кольца служат инерционными грузиками.
Кольцо 4 устанавливается в отверстие втулки 5 с минимальным зазором между утолщенными участками и подшипником скольжения.
В корпусе 1 выполнена система смазки подшипника скольжения, для ограничения перемещения конического подшипника скольжения 5 в осевом направлении и для избежания его заклинивания в корпусе устанавливается регулировочный винт 10, на торец которого нанесен антифрикционный слой 11. При помощи винта 10 возможно настроить оптимальное положение конического подшипника скольжения относительно корпуса 1 в момент отсутствия гидродинамической силы в нем.
Предлагаемая комбинированная опора работает следующим образом.
При переходных режимах работы (пуск, останов), когда частота вращения ротора невелика, осевая и радиальная нагрузка воспринимается радиально-осевым подшипником качения 3 через конический подшипник скольжения 5 и корпус 1, при этом конический подшипник скольжения 5 опирается на внутреннюю поверхность корпуса 1, и кольцо 4 свободно вращается вместе с валом 2 внутри подшипника 5.
Смазочный материал по гидравлической системе подается в рабочий зазор, образованный поверхностями подшипника 5 и корпуса 1, в результате чего в зазоре возникает избыточное давление, которое определяет несущую способность подшипника скольжения.
На основных режимах работы комбинированной опоры утолщенные участки 6 как инерционные грузики под действием центробежных сил деформируют волновые тонкие участки 7 кольца 4 и перемещаются в радиальном направлении. Наружный диаметр кольца в местах утолщенных участков увеличивается, утолщенные участки 6 кольца 4 касаются подшипника скольжении 5 и последний приводится во вращение. Обеспечение фрикционного контакта вала с подвижной конической втулкой подшипника скольжения происходит за счет деформирования волновых тонких участков 7 кольца 4 и увеличения наружного диаметра кольца.
Вращающийся подшипник скольжения 5 позволяет разгрузить подшипник качения 3 при высоких скоростях вращения вала.
Переключение с переходного режима работы (например, пуск), когда в работе участвует только подшипник качения, на основной режим работы, когда работает подшипник скольжения, зависит от массы утолщенных участков, жесткости и толщины волновых тонких участков 7 кольца и других конструктивных параметров комбинированной опоры.
Предлагаемая комбинированная опора повышает надежность и долговечность роторно-опорного узла, упрощает его изготовление и эксплуатацию благодаря простоте конструкции и повышает ресурс работы.
Формула изобретения
Комбинированная опора, содержащая установленный на валу подшипник качения и подшипник скольжения с конической опорной поверхностью, отличающаяся тем, что на валу установлено неравножесткое кольцо, выполненное с утолщенными участками, которые чередуются с тонкими волновыми участками, с возможностью деформирования в радиальном направлении, т.е. изменения наружного диаметра под действием центробежных сил и обеспечения фрикционного контакта с подвижной конической втулкой подшипника скольжения утолщенными участками за счет выпрямления тонких участков, при этом оно жестко закреплено тонкими участками на валу.
РИСУНКИ
|
|