|
|
(21), (22) Заявка: 2007124150/06, 27.06.2007
(24) Дата начала отсчета срока действия патента:
27.06.2007
(46) Опубликовано: 27.08.2008
(56) Список документов, цитированных в отчете о поиске:
RU 2222714 С1, 27.01.2004. RU 2176337 С1, 27.11.2001. US 6325152 В1, 04.12.2001. US 4744730 А, 17.05.1988.
Адрес для переписки:
77400, Ивано-Франковская обл., г. Тисменица, ул. Вильшанецкая, 33, З.Д. Хоминец
|
(72) Автор(ы):
Хоминец Зиновий Дмитриевич (UA)
(73) Патентообладатель(и):
Хоминец Зиновий Дмитриевич (UA)
|
(54) СКВАЖИННАЯ СТРУЙНАЯ УСТАНОВКА ДЛЯ КИСЛОТНОЙ ОБРАБОТКИ И ИССЛЕДОВАНИЯ ГОРИЗОНТАЛЬНЫХ СКВАЖИН
(57) Реферат:
Изобретение относится к области насосной техники. Скважинная струйная установка содержит наружную и внутреннюю колонны труб (КТ). На наружной КТ смонтирован струйный насос (СН) и пакер. В корпусе СН выполнены проходной канал (ПК) с посадочным седлом и канал подвода откачиваемой среды, сообщенный ниже седла с ПК. Активное сопло СН сообщено с наружной КТ выше седла. Диффузор СН со стороны выхода сообщен с затрубным пространством наружной КТ. ПК выполнен соосно наружной КТ и сообщен с ней. Канал подвода откачиваемой среды выполнен с обратным клапаном и ограничителем перемещения вверх его запорного органа относительно седла. Внутренняя КТ выполнена с герметизирующим узлом на нижнем конце, размещенном в посадочном седле ПК. Внутренняя КТ установлена с образованием выше посадочного седла с наружной КТ кольцевого канала подвода рабочей среды в активное сопло. Через внутреннюю КТ и ПК пропущена в подпакерное пространство скважины с возможностью перемещения гибкая гладкая труба с каротажным прибором на конце. Диаметры внутренней и наружной КТ, корпуса СН, гибкой трубы и внутренний диаметр эксплуатационной колонны скважины в интервале от устья скважины до места установки СН связаны между собой соотношениями. В результате достигается повышение качества проводимых в скважине работ и повышение производительности установки при проведении работ по повышению продуктивности пласта. 1 ил.
Изобретение относится к области насосной техники, преимущественно к скважинным насосным установкам для испытания и освоения скважин.
Известна скважинная струйная установка, содержащая смонтированные на колонне труб снизу-вверх пакер с выполненным в нем центральным каналом и струйный насос, в корпусе которого установлены активное сопло и камера смешения с диффузором, а также выполнены канал подвода рабочей среды и канал подвода откачиваемой из скважины среды, при этом в корпусе струйного насоса выполнен проходной канал с возможностью установки в нем сменных функциональных вставок и герметизирующего узла (см. патент RU 2176336 С1, кл. F04F 5/02, 27.11.2001).
Данная скважинная струйная установка позволяет проводить в скважине ниже уровня установки струйного насоса обработку пласта, в том числе с созданием перепада давлений над и под герметизирующим узлом. Однако возможности скважинной струйной установки используются не в полной мере, что связано с большими затратами времени на замену вставок, которое часто больше расчетного времени реакции кислотного раствора с минералами продуктивного пласта.
Наиболее близкой к изобретению по технической сущности и достигаемому результату является скважинная струйная установка, содержащая смонтированные на колонне труб пакер с выполненным в нем центральным каналом и струйный насос, в корпусе которого установлены активное сопло и камера смешения с диффузором, а также выполнены канал подвода рабочей среды, канал подвода откачиваемой из скважины среды, при этом выход струйного насоса подключен к затрубному пространству колонны труб, сопло струйного насоса через канал подвода рабочей среды подключено к внутренней полости колонны труб выше струйного насоса и канал подвода откачиваемой из скважины среды подключен к внутренней полости колонны труб ниже пакера (см. патент RU №2222717, кл. F04F 5/02, 27.01.2004).
Данная скважинная струйная установка позволяет оказывать воздействие на продуктивный пласт путем создания депрессии и репрессии. Однако герметизирующий узел перекрывает проходное сечение колонны труб, что не позволяет спускать в скважину оборудование и различного назначения приборы, например измерительные приборы, гибкие трубы для подачи в пласт химических реагентов или жидкости гидроразрыва, а также приборы для воздействия на пласт, что сужает возможности данной установки.
Задачей, на решение которой направлено настоящее изобретение, является повышение качества работ по испытанию и увеличению дебитов скважин за счет изменения физических параметров прискважинной зоны пласта, например, проницаемости, без использования дополнительного оборудования для струйного насоса, а также обеспечение возможности проведения в скважине указанной выше обработки продуктивного пласта при работающем и при неработающем струйном насосе.
Техническим результатом, достигаемым при реализации изобретения, является повышение качества проводимых в скважине работ и повышение производительности скважинной струйной установки при проведении работ по повышению продуктивности пласта.
Поставленная задача решается, а технический результат достигается за счет того, что скважинная струйная установка содержит наружную и внутреннюю колонны труб, причем на наружной колонне труб смонтирован струйный насос и пакер, в корпусе струйного насоса соосно установлены активное сопло и камера смешения с диффузором, а также выполнены проходной канал с посадочным седлом и канал подвода откачиваемой из скважины среды, сообщенный ниже посадочного седла с проходным каналом, диффузор со стороны выхода из него сообщен с затрубным пространством наружной колонны труб, активное сопло сообщено с наружной колонной труб выше посадочного седла, при этом проходной канал выполнен соосно наружной колонне труб и сообщен с ней, канал подвода откачиваемой из скважины среды выполнен с обратным клапаном и ограничителем перемещения вверх запорного органа обратного клапана, например шарика, относительно седла обратного клапана, внутренняя колонна труб выполнена с герметизирующим узлом на нижнем ее конце, размещенном в посадочном седле проходного канала, причем внутренняя колонна труб установлена с образованием выше посадочного седла с наружной колонной труб кольцевого канала для подвода рабочей среды в активное сопло, через внутреннюю колонну труб и проходной канал пропущена в подпакерное пространство скважины с возможностью осевого перемещения гибкая гладкая труба с установленным на нижнем ее конце каротажным прибором, при этом внутренний диаметр Do внутренней колонны труб составляет не менее 0,30 от наружного диаметра D5 корпуса струйного насоса,, внутренний диаметр Do внутренней колонны труб на менее чем в 1,15 раза больше наружного диаметра D3 гибкой гладкой трубы, внутренний диаметр D2 наружной колонны труб не менее чем в 1,15 больше наружного диаметра D1 внутренней колонны труб, а внутренний диаметр D4 эксплуатационной колонны скважины в интервале от устья скважины до места установки в ней струйного насоса не менее чем в 1,05 раза больше наружного диаметра D5 корпуса струйного насоса.
Анализ различных конструкций показал, что качество работы по повышению продуктивности пласта можно повысить путем увеличения функциональных возможностей установки при исследовании и испытании скважин.
Было выявлено, что указанный выше набор элементов конструкции скважинной установки позволяет организовать такую последовательность действий, при которой наиболее эффективно используется оборудование, которое установлено на колонне труб при проведении каротажных работ по исследованию, испытанию и освоению продуктивных пластов в горизонтальных скважинах. При этом созданы условия как для получения полной и достоверной информации о состоянии продуктивных пластов, так и для проведения обработки продуктивных пластов в ходе проведения исследования, причем проводить обработку продуктивного пласта можно как при работающем, так и не работающем струйном насосе. Скважинная установка дает возможность создавать ряд различных депрессий с помощью струйного насоса в подпакерной зоне скважины с заданной величиной перепада давления, а с помощью каротажного прибора проводить регистрации давления, температуры и других физических параметров скважины и откачиваемой из скважины среды, также проводить регистрацию кривой восстановления пластового давления в подпакерном пространстве скважины без использования специально для этого предназначенной функциональной вставки. Одновременно представляется возможность контролировать величину депрессии путем управления скоростью прокачки активной рабочей среды. При проведении испытания пластов можно регулировать режим откачки посредством изменения давления активной рабочей среды, подаваемой в активное сопло струйного насоса. В то же время исключена возможность самопроизвольного перетока рабочей среды в подпакерную зону как при работающем, так и при неработающем струйном насосе.
Кроме того, представляется возможность проводить кислотную обработку пласта без предварительной установки в струйном насосе каких-либо функциональных вставок.
Выполнение скважинной струйной установки с внутренней и наружной колоннами труб дает возможность образовать два отделенных друг от друга концентричных канала, один из которых, кольцевой, образованный пространством между указанными колоннами труб, предназначен для подачи рабочей среды в активное сопло струйного насоса, а второй герметично отделенный от кольцевого канала канал, образованный внутренней полостью внутренней колонны труб, предназначен для подачи, например, кислотного раствора в продуктивный пласт и/или спуска по ней гибкой гладкой трубы с установленным на ней каротажным прибором, что позволяет проводить в обрасти продуктивного пласта и подпакерном пространстве скважины замеры различных параметров, например, температуры горных пород вдоль ствола скважины или дебита скважины, а также проводить обработку продуктивного пласта физическими, например, ультразвуковыми полями или проводить подачу по гибкой гладкой трубе в зону продуктивного пласта различных химических реагентов для его обработки. Важно, что все эти работы можно проводить как при работающем, так и при не работающем струйном насоса, что позволяет расширить функциональные возможности установки при проведении работ по интенсификации дебита скважины.
Принимая во внимание, что абсолютные размеры скважины и, в первую очередь, ее диаметр ограничены техническим возможностями по бурению скважин и прочностными характеристиками технических средств по бурению и оборудованию скважин, необходимо подобрать такие минимально необходимые относительные размеры элементов конструкции установки, при которых достигалась бы возможность проведения работ в скважине при минимально возможных гидравлических потерях, возникающих при подаче рабочей среды в активное сопло струйного насоса, подаче химических реагентов в скважину, а также отвода из скважины добываемой из нее среды и откачиваемых из продуктивного пласта продуктов, образовавшихся при его обработке. В ходе проведенных исследований и испытаний было установлено, что наилучшие результаты были достигнуты в скважинной струйной установке, выполненной таким образом, что внутренний диаметр Do внутренней колонны труб составляет не менее 0,30 от наружного диаметра D5 корпуса струйного насоса и не менее чем в 1,15 раза больше наружного диаметра D3 гибкой гладкой трубы, внутренний диаметр D2 наружной колонны труб не менее чем в 1,15 больше наружного диаметра D1 внутренней колонны труб, а внутренний диаметр D4 эксплуатационной колонны скважины в интервале от устья скважины до места установки в ней струйного насоса не менее чем в 1,05 раза больше наружного диаметра D5 корпуса струйного насоса. Что касается максимальных относительных размеров, то они определяются максимальными размерами скважины, которую можно пробурить в каждом конкретном случае, однако в любом случае возникающее в образованных в скважинной струйной установке каналах гидравлическое сопротивление будет ниже того, которое получается при указанных выше минимальных относительных размерах.
В результате достигается интенсификация работ по исследованию, испытанию и освоению скважин, что позволяет проводить качественное исследование и испытание скважин после бурения и при капитальном ремонте, а также подготовку скважины к эксплуатации с проведением всестороннего исследования и испытания в различных режимах и за счет этого повышение надежности работы установки.
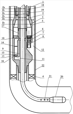
На чертеже представлен продольный разрез скважинной струйной установки. Скважинная струйная установка содержит наружную 1 и внутреннюю 2 колонны труб. На наружной колонне труб 1 смонтирован струйный насос 3 и пакер 4. В корпусе 5 струйного насоса 3 соосно установлены активное сопло 6 и камера смешения 7 с диффузором 8, а также выполнены проходной канал 9 с посадочным седлом 10 и канал 11 подвода откачиваемой из скважины среды, сообщенный ниже посадочного седла 10 с проходным каналом 9. Диффузор 8 со стороны выхода из него сообщен с затрубным пространством 12 наружной колонны труб 1. Активное сопло 6 сообщено с наружной колонной труб 1 выше посадочного седла 10, при этом проходной канал 9 выполнен соосно наружной колонне труб 1 и сообщен с ней. Канал 11 подвода откачиваемой из скважины среды выполнен с обратным клапаном 13 и ограничителем 14 перемещения вверх запорного органа 15 обратного клапана 13, например шарика, относительно седла 16 обратного клапана 13. Внутренняя колонна труб 2 выполнена с герметизирующим узлом 17 на нижнем ее конце, размещенном в посадочном седле 10 проходного канала 9, причем внутренняя колонна труб 2 установлена с образованием выше посадочного седла 10 с наружной колонной труб 1 кольцевого канала 18 для подвода рабочей среды в активное сопло 6. Через внутреннюю колонну труб 2 и проходной канал 9 пропущена в подпакерное пространство скважины с возможностью осевого перемещения гибкая гладкая труба 19 с установленным на нижнем ее конце каротажным прибором 20, а в стенке гибкой гладкой трубы 19 выполнены отверстия 21 для сообщения внутренней полости гибкой гладкой трубы 19 с окружающим ее пространством скважины. Внутренний диаметр Do внутренней колонны труб 2 составляет не менее 0,30 от наружного диаметра D5 корпуса 5 струйного насоса 3, и не менее чем в 1,15 раза больше наружного диаметра D3 гибкой гладкой трубы 19, внутренний диаметр D2 наружной колонны труб 1 не менее чем в 1,15 больше наружного диаметра D1 внутренней колонны труб 2, а внутренний диаметр D4 эксплуатационной колонны 22 скважины в интервале от устья скважины до места установки в ней струйного насоса 3 не менее чем в 1,05 раза больше наружного диаметра D5 корпуса 5 струйного насоса 3.
Работа скважинной струйной установки для кислотной обработки пласта и исследования скважин заключается в том, что проводят сборку наружной колонны труб 1 путем установки на наружной колонне труб 1 струйного насоса 3 и пакера 4. Проводят спуск сборки в скважину и распакеровку пакера 4, после чего проводят спуск в скважину внутренней колонны труб 2 с герметизирующим узлом 17 и установку последнего в посадочное седло 10 с образованием таким образом кольцевого канала 18 для подвода рабочей среды в активное сопло 6 струйного насоса 3. После этого проводят спуск в зону продуктивного пласта скважины через внутреннюю колонну труб 2 гибкой гладкой трубы 19 с каротажным прибором 20, замеряя при этом параметры, например температуру, в скважине. Далее проводят закачку через внутреннюю колонну труб 2 и проходной канал 9 струйного насоса 3 или через гибкую гладкую трубу 19 химических реагентов, например кислотного раствора в продуктивный пласт скважины. Далее струйным насосом 3 путем подачи по кольцевому каналу 18 в активное сопло 6 рабочей среды создают депрессию на продуктивный пласт и таким образом дренируют продуктивный пласт, удаляя из него продукты реакции химической обработки пласта химическими реагентами. Затем при работающем струйном насосе 2 проводят с помощью каротажного прибора 20 регистрацию текущих значений физических полей горных пород и поступающего в скважину пластового флюида, а также регистрируют забойное давление и дебит скважины. Затем спускают каротажный прибор 20 до забоя и регистрируют при работающем струйном насосе 3 профиль притока и физические параметры откачиваемой из скважины среды, причем указанную регистрацию проводят несколько раз при различных депрессиях на продуктивный пласт в ходе спуска и подъема каротажного прибора 20, причем последний перемещают вдоль скважины с разной скоростью. Затем резко прекращают подачу рабочей среды в активное сопло 6 и с помощью каротажного прибора 20 проводят регистрацию кривой восстановления пластового давления в подпакерном пространстве скважины.
По окончании работ извлекают из скважины каротажный прибор 20 вместе с гибкой гладкой трубой 19 и производят последовательно подъем внутренней колонны труб 2 и затем наружной колонны труб 1 вместе со струйным насосом 3, после чего после обработки полученной информации принимается решение о проведении дальнейших исследований скважины или переводе ее в эксплуатационный режим.
Настоящее изобретение может быть использовано в нефтегазодобывающей промышленности при освоении горизонтальных скважин после бурения или при их капитальном ремонте.
Формула изобретения
Скважинная струйная установка, содержащая наружную и внутреннюю колонны труб, причем на наружной колонне труб смонтирован струйный насос и пакер, в корпусе струйного насоса соосно установлены активное сопло и камера смешения с диффузором, а также выполнены проходной канал с посадочным седлом и канал подвода откачиваемой из скважины среды, сообщенный ниже посадочного седла с проходным каналом, диффузор со стороны выхода из него сообщен с затрубным пространством наружной колонны труб, активное сопло сообщено с наружной колонной труб выше посадочного седла, при этом проходной канал выполнен соосно наружной колонне труб и сообщен с ней, канал подвода откачиваемой из скважины среды выполнен с обратным клапаном и ограничителем перемещения вверх запорного органа обратного клапана, например шарика, относительно седла обратного клапана, внутренняя колонна труб выполнена с герметизирующим узлом на нижнем ее конце, размещенном в посадочном седле проходного канала, причем внутренняя колонна труб установлена с образованием выше посадочного седла с наружной колонной труб кольцевого канала для подвода рабочей среды в активное сопло, через внутреннюю колонну труб и проходной канал пропущена в подпакерное пространство скважины с возможностью осевого перемещения гибкая гладкая труба с установленным на нижнем ее конце каротажным прибором, при этом внутренний диаметр Do внутренней колонны труб составляет не менее 0,30 от наружного диаметра D5 корпуса струйного насоса и не менее чем в 1,15 раза больше наружного диаметра D3 гибкой гладкой трубы, внутренний диаметр D2 наружной колонны труб не менее чем в 1,15 больше наружного диаметра D1 внутренней колонны труб, а внутренний диаметр D4 эксплуатационной колонны скважины в интервале от устья скважины до места установки в ней струйного насоса не менее чем в 1,05 раза больше наружного диаметра D5 корпуса струйного насоса.
РИСУНКИ
|
|