|
(21), (22) Заявка: 2006127334/06, 27.07.2006
(24) Дата начала отсчета срока действия патента:
27.07.2006
(43) Дата публикации заявки: 10.02.2008
(46) Опубликовано: 27.08.2008
(56) Список документов, цитированных в отчете о поиске:
US 4099890 А, 11.07.1978. RU 29357 U1, 10.05.2003. RU 34686 U1, 10.12.2003. DE 2719168 А, 02.11.1978. US 3661474 А, 09.05.1972. US 4521151 А, 04.06.1985.
Адрес для переписки:
456600, Челябинская обл., г. Копейск, ул. Ленина, 24, ООО “КМЗ”
|
(72) Автор(ы):
Мальчер Марк Алексеевич (RU), Морозов Сергей Петрович (RU)
(73) Патентообладатель(и):
Открытое акционерное общество “Копейский машиностроительный завод” (RU)
|
(54) ЦЕНТРОБЕЖНЫЙ НАСОС
(57) Реферат:
Изобретение, относится к области машиностроения и может быть использовано в химических и обогатительных производствах и других областях народного хозяйства. Центробежный насос содержит закрепленный на станине корпус из износостойкого материала, вал с рабочим колесом в подшипниковых опорах и узел уплотнений. Корпус имеет входной и напорный патрубки с фланцами. Фланцы выполнены вращающимися, съемными и установлены на патрубках без непосредственного упора фланца в патрубок. На фланцах и патрубках выполнены полукруглые выточки, в которых размещены разрезные стопорные кольца круглого сечения. Изобретение позволяет упростить технологию изготовления износостойкого корпуса и повысить эксплуатационные качества насоса. 2 ил.
Изобретение относится к области машиностроения и может быть использовано в химических и обогатительных производствах.
Известны центробежные грунтовые насосы типа ГруТ (см. Кривченко Г.И. Гидравлические машины: турбины и насосы, М.: Энергия, 1978 г. стр.263-265), у которых рабочее колесо закреплено на консольном конце вала и находится в двойном корпусе, у которого имеется входной и напорный патрубок. Несущий наружный корпус крепится к станине. Вал насоса с подшипниковыми опорами установлен в расточки станины, часть которой образует масляную ванну. Для исключения течи из проточной части корпуса установлен узел уплотнения, герметизирующий отверстие, через которое проходит вал.
К причинам, препятствующим достижению указанного ниже технического результата при использовании известного устройства, относится сложность конструкции и большие габариты, так как внутренний корпус, определяющий рабочий объем насоса, находится внутри наружного корпуса.
Наиболее близким устройством того же назначения к заявленному изобретению по совокупности признаков является центробежный насос [см. US4099890 A, (MITSUI MINING & SMELTING CO., LTD, 11.07.1978). Общая компоновка аналогична грунтовому насосу, за исключением единого корпуса, проточная часть которого выполняется из износостойкого материала с входным, выходным патрубками и фланцами, под которые на патрубках выполнены заточки. Изготовление корпуса единой деталью снижает габариты и упрощает конструкцию.
К причинам, препятствующим достижению указанного ниже технического результата при использовании известного устройства, относится то, что усложняется технология изготовления насоса и снижаются его эксплуатационные качества. Запрессовка фланцев на заточках патрубков трудоемка и сложна в связи с хрупкостью износостойкого материала, особенно износостойких чугунов. Кроме того, в технологических линиях при стыковке насоса необходимо предусматривать переходники, которые компенсируют угловое смещение отверстий во фланцах насоса и подводимых трубопроводов. В случае выхода из строя фланцев в процессе эксплуатации (периодических подтяжках болтовых соединений) необходима трудоемкая запрессовка и монтаж новых фланцев.
Задачей заявляемого изобретения является упрощение технологии изготовления корпусов и повышения эксплуатационных качеств насоса. Указанный технический результат при осуществлении изобретения достигается тем, что в заявляемом насосе фланцы выполнены вращающимися, съемными и установлены на патрубках без непосредственного упора фланцев в патрубки, причем на фланце и патрубках выполнены полукруглые выточки, в которых размещены разрезные стопорные кольца круглого сечения, воспринимающие осевые нагрузки в соединениях фланцев с патрубками. После установки разрезных колец и сдвижки фланцев до упора их проточек в кольца положение фланца фиксируется от осевого перемещения назад – установкой полуколец, которые одним торцом упираются в заточку патрубка, а второй торец полуколец препятствует возврату фланца в исходное положение, но не мешает вращению фланца.
Сопоставление заявляемого насоса с прототипом позволяет сделать вывод об отсутствии в последнем признаков, сходных с существенными отличительными признаками с заявляемым насосом:
– корпус насоса и патрубки снабжены вращающимися, съемными фланцами, которые установлены на патрубках без непосредственного упора фланца в патрубок, причем между патрубками и фланцами установлены полукольца препятствующие сдвижке фланцев в осевом направлении назад;
– на фланцах и патрубках выполнены полукруглые выточки, в которых размещены разрезные стопорные кольца круглого сечения, воспринимающие осевые нагрузки в соединениях фланцев с патрубками.
Совокупность признаков заявляемого технического решения имеет отличие от прототипа и известных аналогов и не следует явным образом из изученного уровня техники, поэтому авторы считают, что объект является новым и имеет изобретательский уровень.
Изобретение имеет изобретательский уровень и в связи с тем, что сочетание признаков, а именно:
– корпус насоса и патрубки снабжены вращающимися, съемными фланцами, которые установлены на патрубках без непосредственного упора фланца в патрубок, а между патрубками и фланцами установлены полукольца, исключающее сдвижку фланцев в осевом направлении назад.
– на фланцах и патрубках выполнены полукруглые выточки, в которых размещены разрезные стопорные кольца круглого сечения, воспринимающие осевые нагрузки в соединениях фланцев с патрубками.;
решает поставленную задачу упрощения технологии изготовления и повышения эксплуатационных качеств. Эти признаки связаны между собой так, что при устранении одного из них исчезает достигаемый изобретением технический результат.
Изобретение также представляет собой определенный шаг в развитии техники и является прогрессивным, так как позволяет упростить технологию изготовления корпусов и повышает эксплуатационные качества насоса.
Насос, в котором заявлено данное изобретение может найти широкое применение в химической, горнодобывающей и других отраслях народного хозяйства, то есть является промышленно применимым техническим решением.
Достижение технического результата при работе насоса обеспечивается тем, что:
– корпус насоса снабжен вращающимися съемными фланцами, установленными на патрубках без непосредственного упора фланца в патрубок, причем между патрубками и фланцами установлены полукольца, исключающие сдвижку фланцев в осевом направлении назад.
Такое техническое решение позволяет упростить корпус и технологию его изготовления, и повысить эксплуатационные качества насоса за счет облегчения монтажа насоса в технологическую линию.
– на фланцах и патрубках выполнены полукруглые выточки в которых размещены разрезные стопорные кольца круглого сечения,
Такое техническое решение позволяет повысить эксплуатационные качества за счет простой замены вышедших из строя фланцев, т.к. стопорные кольца круглого сечения легче демонтируются из полукруглых заточек, чем известные стопорные кольца.
Сущность заявляемого изобретения поясняется прилагаемыми чертежами.
На чертежах изображено:
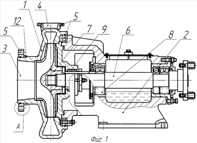
Фиг.1 – разрез центробежного насоса,
Фиг.2 – изображен узел А на фиг.1 (установка фланца на патрубке).
Центробежный насос (Фиг.1) содержит закрепленный на станине 2 корпус 1 из износостойкого материала, имеющий входной 3 и напорный 4 патрубки с фланцами 5, вал 6 с рабочим колесом 7, в подшипниковых опорах 8. Для исключения течи из проточной части корпуса установлен узел уплотнения 9, герметизирующий отверстие, через которое проходит вал 6. Фланцы 5, устанавливаются на входном 3, напорном 4 патрубке и на стыке корпуса 1 со станиной 2, с возможностью свободного вращения вокруг оси заточек 11 без непосредственного упора фланца в патрубок или корпус, причем между патрубками и фланцами установлены полукольца 12 (Фиг.2) препятствующие сдвижке фланцев в осевом направлении назад.
На фланцах 5 и патрубках 3,4 выполнены полукруглые выточки, в которых размещены разрезные стопорные кольца 10 круглого сечения воспринимающие осевые нагрузки в соединениях фланцев с патрубками. Установка фланца производится следующим образом:
– фланец надевается на заточку 11 патрубка до упора в торец заточки патрубка, при этом освобождается полукруглая заточка на патрубке для установки стопорного кольца;
– устанавливается разрезное стопорное кольцо 10 в полукруглую заточку фланца;
– фланец сдвигается на кольцо до упора проточки фланца в разрезное стопорное кольцо;
– между торцом заточки патрубка и фланцем устанавливаются два полукольца 12, исключающие сдвижку фланца в осевом направлении назад, но не мешающие вращению фланца. Полукольца крепятся между собой сваркой или привариваются в нескольких местах к патрубку.
Насос работает следующим образом.
Перекачиваемая жидкость поступает в насос (Фиг.1) через входной патрубок 3 к центральной части рабочего колеса 7 и выбрасывается из него вращающимся колесом в напорный патрубок 4 корпуса 1. Вращение колесу 7 передается через вал 6, расположенный в подшипниковых опорах 8.
В предлагаемом насосе за счет установки вращающихся, съемных фланцев на патрубках без непосредственного упора фланца в патрубок, и выполненых, на фланце и патрубках, полукруглых выточек, в которых размещены разрезные стопорные кольца круглого сечения, воспринимающие осевые нагрузки в соединениях фланцев с патрубками, упрощается технология изготовления износостойкого корпуса и повышаются эксплуатационные качества насоса.
Формула изобретения
Центробежный насос, содержащий закрепленный на станине корпус из износостойкого материала, имеющий входной и напорный патрубки с фланцами, вал с рабочим колесом в подшипниковых опорах, и узел уплотнений, отличающийся тем, что на входном и напорном патрубках фланцы выполнены вращающимися, съемными и установлены на патрубках без непосредственного упора фланца в патрубок, причем на фланце и патрубках выполнены полукруглые выточки, в которых размещены разрезные стопорные кольца круглого сечения, воспринимающие осевые нагрузки в соединениях фланцев с патрубками.
РИСУНКИ
|