|
(21), (22) Заявка: 2006144669/06, 14.12.2006
(24) Дата начала отсчета срока действия патента:
14.12.2006
(30) Конвенционный приоритет:
15.12.2005 DE 102005060433.1
(46) Опубликовано: 27.08.2008
(56) Список документов, цитированных в отчете о поиске:
RU 2219378 C1, 20.12.2003. RU 2168072 C2, 27.05.2001. SU 475455 A, 07.10.1975. SU 1211464 A, 15.02.1986. US 4595340 А, 17.06.1986. DE 2401894 C2, 01.08.1974.
Адрес для переписки:
129010, Москва, ул. Б.Спасская, 25, стр.3, ООО “Юридическая фирма Городисский и Партнеры”, пат.пов. Г.Б. Егоровой, рег.№ 513
|
(72) Автор(ы):
КИНЦЕР Франк (DE)
(73) Патентообладатель(и):
ТЛТ-ТУРБО ГМБХ (DE)
|
(54) ОСЕВОЙ ВЕНТИЛЯТОР С РЕГУЛИРУЕМЫМИ ЛОПАТКАМИ И СПОСОБ МОНТАЖА ЛОПАТОК
(57) Реферат:
Группа изобретений относится к осевому вентилятору, содержащему рабочее колесо (1) и регулируемые лопатки (2), причем рабочее колесо (1) содержит несущее кольцо (5), в котором с возможностью вращения установлены соединенные с лопатками (2) консоли (11). При этом опора каждой консоли (11) состоит из прилегающего изнутри к несущему кольцу (5) подшипника (14) качения и прилегающей снаружи к насадке (13) втулки (15). Консоль (11) зафиксирована в несущем кольце (5) гайкой (19), навинченной на внешний конец консоли (11). Группа изобретений позволяет упростить конструкцию опоры консоли осевого вентилятора, чем достигается ее экономичность. 3 з.п. ф-лы, 2 ил.
Изобретение относится к осевому вентилятору, содержащему рабочее колесо и регулируемые лопатки, с признаками ограничительной части п.1 формулы и к способу монтажа лопаток.
Современные осевые вентиляторы представляют собой регулируемые рабочие машины, преобразующие механическую энергию в энергию течения. Регулирование осевых вентиляторов происходит посредством частоты вращения или углов установки лопаток. Если во время работы должно быть изменено положение лопаток, то лопатка должна быть закреплена на установленном на подшипниках валу, консоли. Такую консоль до сих пор вставляют снаружи в рабочее колесо и привинчивают изнутри. Такой способ относительно сложен и требует различных компонентов и деталей.
В основе изобретения лежит задача упрощения конструкции опоры консоли осевого вентилятора и выполнения ее, тем самым, более экономичной.
Эта задача решается у осевого вентилятора согласно изобретению посредством отличительных признаков п.1 формулы. Способ монтажа лопаток является объектом п.3 формулы. Предпочтительные варианты осуществления изобретения приведены в зависимых пунктах.
Конструкция опоры консоли обеспечивает монтаж консолей и лопаток осевого вентилятора изнутри рабочего колеса. Помимо фиксации опоры консоли в несущем кольце осуществляемое снаружи привинчивание консоли обеспечивает возможность закрепления лопаток непосредственно на гайках консолей. В целом, число деталей и компонентов, необходимых для опоры консолей, уменьшается, а затраты на обработку и монтаж сокращаются.
Пример осуществления изобретения изображен на чертежах и более подробно поясняется ниже. На чертежах представлено:
– фиг.1: продольный разрез осевого вентилятора согласно изобретению;
– фиг.2.1-2.5: продольный разрез осевого вентилятора в порядке следующих друг за другом этапов монтажа.
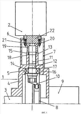
Осевой вентилятор содержит рабочее колесо 1 с регулируемыми лопатками 2. Рабочее колесо 1 закреплено на валу 3 и состоит из ступицы 4, несущего кольца 5, кожуха 6 и крышки 7.
Внутри ступицы 4 находится регулировочный диск 8, установленный с возможностью смещения в продольном направлении осевого вентилятора посредством гидравлического регулировочного устройства 9. Регулировочное устройство 9 известно и не является объектом изобретения, так что его более подробное описание опущено.
Регулировочный диск 8 снабжен окружной канавкой, в которую входят изогнутые рычаги 10. Каждый рычаг 10 соединен с консолью 11, установленной в несущем кольце 5 с возможностью вращения. При смещении регулировочного диска 8 рычаги 10 поворачивают консоли 11 вокруг их продольной оси.
Описанным ниже образом на каждой консоли 11 закреплена одна из лопаток 2. Регулировочный диск 8 и регулировочное устройство 9 позволяют изменять установочный угол лопаток 2.
Регулируемые лопатки 2 требуют особой, легко доступной опоры. Каждая консоль 11 для этого пропущена через радиальное отверстие 12 в несущем кольце 5 и через размещенную в продолжении отверстия 12 надставку 13. Опора консоли 11 в несущем кольце 5 и надставке 13 состоит из подшипника 14 качения и втулки 15. Подшипник 14 качения размещен в расширении 16 отверстия 12 на радиально внутреннем краю несущего кольца 5. Расширение 16 отверстия 12 образует заплечик 17, в который подшипник 14 качения упирается изнутри на несущем кольце 5.
На радиально внешнем конце надставки 13 несущего кольца 5 выполнено гнездо 18 для втулки 15 опоры консоли. Внутри этого гнезда 18 втулка 15 прилегает снаружи к надставке 13.
Внешний конец консоли 11 выступает из надставки 13 несущего кольца 5 и снабжен на этой части резьбой. На резьбу консоли 11 накручена гайка 19 консоли. Гайка 19 снабжена фланцем 20 с внутренним и внешним краями. В ввинченном состоянии гайка 19 опирается торцевой поверхностью на надставку 13 несущего кольца 5. Гайка 19 фиксирует тем самым опору консоли 11 в несущем кольце 5.
Каждая лопатка 2 соединена непосредственно с гайкой 19. При этом винты ввинчены в гайку 19 через основание 22 лопатки 2.
Описанный конструктивный принцип опоры консолей основан на том, что при монтаже рабочего колеса 1 консоль 11 может быть вставлена в несущее кольцо 5 изнутри.
На фиг.2.1 рабочее колесо 1 изображено без консолей 11 и лопатки 2. Исходя из этого сначала на консоль 11 надевают подшипник 14 качения, а затем в надставку 13 несущего кольца 5 вклеивают втулку 15.
После этого консоль 11 с подшипником 14 качения вставляют изнутри в несущее кольцо 5 и фиксируют от выпадения внутрь предохранительным кольцом через уплотнительную крышку (фиг.2.2).
Сверху вставляют гайку 19 и свинчивают ее непосредственно с консолью 11 (фиг.2.3).
После навинчивания гайки (19) на консоль (11) основание (22) лопатки (2) соединяют винтами (21) с гайкой (19) (фиг.2.4).
В заключение осуществляют дальнейший монтаж рабочего колеса, соединяя рычаги 11 с консолями 11 и устанавливая на рабочее колесо 1 крышку 7 и регулировочное устройство 9 (фиг.2.5).
Формула изобретения
1. Осевой вентилятор, содержащий рабочее колесо (1) и регулируемые лопатки (2), причем рабочее колесо (1) содержит несущее кольцо (5), в котором с возможностью вращения установлены соединенные с лопатками (2) консоли (11), отличающийся тем, что опора каждой консоли (11) состоит из прилегающего изнутри к несущему кольцу (5) подшипника (14) качения и прилегающей снаружи к надставке (13) втулки (15), при этом консоль (11) зафиксирована в несущем кольце (5) гайкой (19) консоли, навинченной на внешний конец консоли (11).
2. Вентилятор по п.1, отличающийся тем, что основание (22) лопатки (2) прикреплено непосредственно к гайке (19) консоли.
3. Способ монтажа лопаток (2) осевого вентилятора по п.1 или 2, отличающийся тем, что последовательно на консоль (11) надевают подшипник (14) качения, втулку (15) закрепляют в надставке (13) несущего кольца (5), консоль (11) с надетым подшипником (14) качения вставляют изнутри рабочего колеса (1) в несущее кольцо (5) и гайку (19) консоли навинчивают снаружи на консоль (11).
4. Способ по п.3, отличающийся тем, что после навинчивания гайки (19) на консоль (11) основание (22) лопатки (2) соединяют винтами (21) с гайкой (19).
РИСУНКИ
|