|
|
(21), (22) Заявка: 2006100277/06, 07.07.2004
(24) Дата начала отсчета срока действия патента:
07.07.2004
(30) Конвенционный приоритет:
22.07.2003 DE 10333308.8 07.11.2003 DE 10352487.8
(43) Дата публикации заявки: 10.07.2006
(46) Опубликовано: 27.08.2008
(56) Список документов, цитированных в отчете о поиске:
DE 3822897 A, 11.01.1990. RU 2066793 C1, 20.09.1996. RU 45165 U1, 27.04.2005. US 4502695 A, 05.03.1985. FR 1125399 A, 30.10.1956. DE 10154630 A1, 15.05.2003.
(85) Дата перевода заявки PCT на национальную фазу:
22.02.2006
(86) Заявка PCT:
EP 2004/007446 (07.07.2004)
(87) Публикация PCT:
WO 2005/015023 (17.02.2005)
Адрес для переписки:
191186, Санкт-Петербург, а/я 230, “АРС-ПАТЕНТ”, пат.пов. В.М.Рыбакову, рег. № 90
|
(72) Автор(ы):
КАЛАВСКИ Михаль (SK), ДЕ ФИЛИППИС Пьетро (IT)
(73) Патентообладатель(и):
БСХ БОШ УНД СИМЕНС ХАУСГЕРЕТЕ ГМБХ (DE)
|
(54) НАСОС СО ВСТРОЕННЫМ ДВИГАТЕЛЕМ И ПОСУДОМОЕЧНАЯ МАШИНА С ТАКИМ НАСОСОМ
(57) Реферат:
Насос со встроенным электродвигателем с электронной коммутацией и мокрым ротором содержит неразъемную рабочую камеру 4, в которой расположен мокрый ротор 5 электродвигателя. Насос имеет неподвижную ось 9. На оси 9, по меньшей мере, в одном радиальном подшипнике 7, 8 скольжения установлен с возможностью вращения ротор 5. Подшипник 7, 8 удерживается в роторе 5 кольцом 30, 31 круглого сечения и имеет гидравлическое уплотнение. Ротор 5 установлен на оси 9 в упорном подшипнике 12, имеющем гидравлическое уплотнение, содержащее резиновый амортизатор 14. Изобретение направлено на обеспечение защиты насоса от повреждения простым способом. 4 н. и 11 з.п. ф-лы, 2 ил.
Область техники
Настоящее изобретение относится к насосу со встроенным электродвигателем с электронной коммутацией и мокрым ротором, а также к посудомоечной машине с таким насосом.
Уровень техники
В насосах обычной конструкции со встроенным электродвигателем с электронной коммутацией вал с ротором электродвигателя вращается в камере ротора, а рабочее колесо насоса – в гидравлической камере. Между этими камерами расположен подшипниковый щит с подшипником скольжения, поддерживающим вал, и с резиновым уплотнением, защищающим подшипник скольжения от загрязнения и коррозии под действием воды. Этот подшипниковый щит препятствует проникновению воды из гидравлической камеры в камеру ротора. В случае появления дефекта в резиновом уплотнении вода может проникнуть в камеру ротора. Вследствие загрязнения водой и коррозии при этом могут быть повреждены подшипниковый узел и камера ротора. Кроме того, обычная конструкция имеет тот недостаток, что под действием веса ротора происходит односторонний износ подшипника.
Раскрытие изобретения
Задача изобретения состоит в том, чтобы предложить насос со встроенным электродвигателем с электронной коммутацией и мокрым ротором, который простым способом защищен от повреждения.
Эта задача решена тем, что насос имеет одну неразъемную рабочую камеру, в которой расположен мокрый ротор электродвигателя. Такая конструкция позволяет непрерывно очищать камеру насоса потоком воды в процессе перекачки, так что не происходит сильного загрязнения воды. Другое преимущество состоит в том, что при такой конструкции ротор можно охлаждать потоком воды.
В предпочтительном варианте реализации изобретения камера насоса образуется передней чашей корпуса и щитом двигателя. Это позволяет уменьшить габариты насоса благодаря тому, что можно отказаться от подшипникового щита между ротором и рабочим колесом насоса.
Щит предпочтительно имеет форму чаши. Это позволяет охватить ротор щитом при минимальном промежуточном пространстве, что приводит к высокому коэффициенту использования объема двигателя.
В предпочтительном варианте исполнения предусматривается, что насос имеет невращающуюся ось, на которой расположен вращающийся ротор. Ось предпочтительно устанавливается в щите, в частности, для гашения вибрации, по меньшей мере, в одном кольце круглого сечения (уплотнительном кольце), которое предпочтительно изготовляется из резины.
В одном предпочтительном варианте исполнения ротор установлен на оси, по меньшей мере, в одном радиальном подшипнике скольжения. Это повышает срок службы подшипника вращения, так как он вращается на оси вместе с ротором.
Предпочтительно радиальный подшипник скольжения удерживается в роторе кольцом круглого сечения. Это позволяет компенсировать отклонения размеров гнезда, в котором установлен подшипник скольжения ротора за счет упругости кольца круглого сечения так, чтобы подшипник скольжения сидел на оси концентрично. К тому же это кольцо будет гасить вибрации ротора, так что требования гашения вибрации оси могут быть снижены.
Предпочтительно ротор устанавливается на оси в упорном подшипнике. Это дает то преимущество, что упорный подшипник уменьшает осевой люфт ротора.
Предпочтительно подшипник скольжения и/или упорный подшипник снабжен гидравлическим уплотнением, в частности с помощью резинового уплотнения и/или уплотнительного кольца круглого сечения. Это позволит герметизировать подшипник скольжения и/или упорный подшипник в процессе перекачки так, чтобы воспрепятствовать протеканию воды через подшипник скольжения и/или упорный подшипник и, следовательно, коррозии подшипников.
В одном предпочтительном варианте исполнения ротор имеет внутреннюю полость, разделяющуюся на две, обращенные друг к другу, конически сужающиеся части. Этим предусматривается место запрограммированного разбиения надвое попавшей во внутреннюю полость и замерзающей воды, что позволяет уменьшить растягивающие нагрузки, воздействующие на ротор в осевом и радиальном направлении. В частности, обе части внутренней полости располагаются между двумя радиальными подшипниками скольжения, причем каждый из радиальных подшипников скольжения удерживается в роторе упругим кольцом круглого сечения, так что замерзающая вода может расширяться в осевом направлении за счет незначительного смещения радиальных подшипников скольжения.
В одном предпочтительном варианте рабочее колесо насоса устанавливается на роторе. Предпочтительно рабочее колесо выполняется заодно с ротором, как несъемная деталь. Это упрощает монтаж насоса, так как сокращается количество отдельных деталей.
Предпочтительно ротор заключается в пластмассовую оболочку. Таким простым способом обеспечивается водонепроницаемость ротора. Кроме того, таким способом особенно легко реализовать совместное изготовление ротора и пластмассового рабочего колеса.
Краткий перечень чертежей
Прочие признаки и преимущества изобретения вытекают из нижеследующего описания двух примеров реализации со ссылками на прилагаемые фигуры 1 и 2.
На фиг.1 изображен в разрезе первый вариант, а на фиг.2 – второй вариант предлагаемого в изобретении насоса с встроенным электродвигателем с электронной коммутацией и мокрым ротором.
Осуществление изобретения
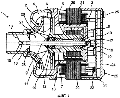
Согласно фиг.1 и 2 корпус насоса 1 состоит из передней чаши 2 и чашеобразного щита 3, соединенных между собой с геометрическим замыканием. Корпус насоса 1 образует неразъемную рабочую камеру 4, внутри которой расположены ротор 5 с рабочим колесом 6. Предпочтительно рабочее колесо 6 изготавливается заодно с ротором 5.
Ротор 5 вращается на оси 9 в переднем подшипнике 7 скольжения, обращенном к рабочему колесу 6, и в обращенном к щиту 3 заднем подшипнике 8 скольжения. Чтобы воспрепятствовать осевому перемещению ротора 5 на оси 9, ротор 5, как показано на фиг.1, с обеих сторон закреплен стяжными кольцами 10, 11. Кроме того, на переднем, обращенном к рабочему колесу 6, конце ротора 5 расположен для уменьшения осевого перемещения упорный подшипник 12 с обоймой для кольца 13 круглого сечения между упорным подшипником 12 и подшипником 7 скольжения. Благодаря кольцу 13 круглого сечения подшипник 7 скольжения защищен от проникновения влаги, в частности воды, и упруго центрирован в радиальном направлении. Между упорным подшипником 12 и стяжным кольцом 11 расположен резиновый амортизатор 14.
Обращенный к рабочему колесу 6 передний конец оси 9 зажат в гнезде 15, закрепленном на передней чаше 2 корпуса кронштейнами 16, а обращенный к щиту 3 задний конец оси зажат в гнезде 17 в щите 3. В гнездо 17 щита 3 вставлен компенсатор 18, выполненный предпочтительно в виде резинового диска и предназначенный для компенсации изменений длины оси 9 вследствие температурных колебаний. В первом конструктивном исполнении по фиг.1 ось 9 фиксирована в радиальном направлении в гнезде 17 щита 3 кольцом 19 круглого сечения. В особенности важно, что кольца 13, 19 так же как, и компенсатор 18, выполнены из резины и могут поглощать вибрации ротора 5 и, следовательно, оси 9.
Чтобы защитить от коррозии постоянные магниты 20 ротора 5, весь ротор 5 окружен пластмассовой оболочкой. Из той же пластмассы на роторе 5 выполнено рабочее колесо 6 насоса 1. Поэтому ротор 5 и рабочее колесо 6 могут быть изготовлены заодно, как единая деталь. Такое монолитное исполнение не обязательно, но оно обладает тем преимуществом, что сокращается количество деталей и отпадает проблема крепления рабочего колеса 6 на роторе 5.
Снаружи чашеобразного щита 3 расположен статор 21 двигателя с мокрым ротором, так что в данном случае имеет место так называемый внутренний ротор. Конструктивный вариант с наружным ротором также возможен. Электрическое подключение статора 21 выполнено в форме подпружиненного контакта 22 со схемой управления, расположенной на плате 23. Это позволяет производить сборку насоса 1 без применения специального паяльного инструмента. Плата 23 закрыта задней крышкой 24 корпуса, соединенной винтами 25 со статором 21 и чашеобразным щитом 3.
Для улучшения гидродинамических свойств рабочего колеса 6 на ось 9 в качестве завершающей детали перед передним, обращенным к рабочему колесу 6 стяжным кольцом 11 насажен профилированный обтекатель 26, отделяющий стяжное кольцо 11 от заполненной водой зоны 27 рабочего колеса. Форма обтекателя 26 так согласована с формой рабочего колеса 6, чтобы гидродинамическое сопротивление было минимальным. Между рабочим колесом 6 и передней чашей 2 корпуса расположено щелевое уплотнение 28, в котором вращается рабочее колесо 6.
Во втором конструктивном варианте исполнения по фиг.2 радиальные подшипники 7, 8 скольжения в роторе 5 удерживаются упругими кольцами 30, 31 круглого сечения. Эти кольца 30, 31 предназначены, с одной стороны, для компенсации допусков в гнездах подшипников скольжения ротора 5, чтобы подшипники 7, 8 скольжения располагались на оси 9 концентрично. С другой стороны, упругие кольца 30, 31 гасят вибрации ротора 5. Поэтому можно отказаться от кольца 19 в гнезде 17 щита 3 и от резинового амортизатора 14 для гашения вибрации оси 9, которые предусмотрены в первом конструктивном варианте согласно фиг.1. Далее во втором конструктивном варианте обтекатель 26 по фиг.1 выполняет одновременно функцию стяжного кольца 11, что позволяет отказаться и от этой детали.
Внутренняя полость ротора 5 между подшипниками 7, 8 скольжения разделена на две конически сужающиеся по направлению друг к другу области 32, 33. Если в эту внутреннюю полость ротора 5 попадет вода и замерзнет там, превратившись в лед, то этот лед разобьется в соответствии с зонами 32, 33 на две части. Эти две части, расширяясь, будут давить на радиальные подшипники 7, 8, вызывая их незначительное смещение в осевом направлении, что приведет к снижению растягивающих нагрузок на ротор 5 как в радиальном, так и в осевом направлении.
Насос 1 предназначен в особенности для применения в бытовых приборах с проточной водой, например в посудомоечных машинах.
Формула изобретения
1. Насос со встроенным электродвигателем с электронной коммутацией и мокрым ротором, с неразъемной рабочей камерой (4), в которой расположен мокрый ротор (5) электродвигателя, и с неподвижной осью (9), на которой, по меньшей мере, в одном радиальном подшипнике (7, 8) скольжения установлен с возможностью вращения ротор (5), причем радиальный подшипник (7, 8) скольжения удерживается в роторе (5) кольцом (30, 31) круглого сечения, отличающийся тем, что радиальный подшипник (7, 8) снабжен гидравлическим уплотнением, при этом ротор (5) установлен на оси (9) в упорном подшипнике (12), имеющем гидравлическое уплотнение, содержащее резиновый амортизатор (14).
2. Насос по п.1, отличающийся тем, что гидравлическое уплотнение содержит уплотнительное кольцо (13) круглого сечения.
3. Насос по п.1 или 2, отличающийся тем, что ротор (5) имеет внутреннюю полость, разделенную на две конически сужающиеся по направлению друг к другу области (32, 33).
4. Насос по п.3, отличающийся тем, что обе области (32, 33) расположены между двумя радиальными подшипниками (7, 8) скольжения.
5. Насос по одному из пп.1-4, отличающийся тем, что ось (9) установлена в щите (3) двигателя с мокрым ротором, по меньшей мере, в одном уплотнительном кольце (19) круглого сечения.
6. Насос по п.5, отличающийся тем, что уплотнительное кольцо (19) круглого сечения выполнено из резины.
7. Насос со встроенным электродвигателем с электронной коммутацией и мокрым ротором, с неразъемной рабочей камерой (4), в которой расположен мокрый ротор (5) электродвигателя, и с неподвижной осью (9), на которой установлен с возможностью вращения ротор (5), отличающийся тем, что ротор (5) имеет внутреннюю полость, разделенную на две конически сужающиеся по направлению друг к другу области (32, 33).
8. Насос по п.7, отличающийся тем, что обе области (32, 33) расположены между двумя радиальными подшипниками (7, 8) скольжения.
9. Насос по п.8, отличающийся тем, что ротор (5) вращается в двух радиальных подшипниках (7, 8) скольжения.
10. Насос по п.9, отличающийся тем, что радиальные подшипники (7, 8) скольжения удерживаются соответственно уплотнительными кольцами (30, 31) круглого сечения.
11. Насос по одному из пп.7-10, отличающийся тем, что ось (9) установлена в щите (3) двигателя с мокрым ротором, по меньшей мере, в одном уплотнительном кольце (19) круглого сечения.
12. Насос по п.11, отличающийся тем, что уплотнительное кольцо (19) круглого сечения выполнено из резины.
13. Насос с встроенным электродвигателем с электронной коммутацией и мокрым ротором, с неразъемной камерой (4), в которой расположен мокрый ротор (5) электродвигателя, и с неподвижной осью (9), на которой установлен с возможностью вращения ротор (5), отличающийся тем, что ось (9) установлена в щите (3) двигателя с мокрым ротором, по меньшей мере, в одном уплотнительном кольце (19) круглого сечения.
14. Насос по п.13, отличающийся тем, что уплотнительное кольцо (19) круглого сечения выполнено из резины.
15. Посудомоечная машина с насосом, описанным в любом из предшествующих пунктов.
РИСУНКИ
|
|