|
|
(21), (22) Заявка: 2007118763/06, 22.05.2007
(24) Дата начала отсчета срока действия патента:
22.05.2007
(46) Опубликовано: 27.08.2008
(56) Список документов, цитированных в отчете о поиске:
RU 9267 U1, 16.02.1999. RU 7153 U1, 16.07.1998. US 5344281 А, 06.09.1994. DE 4415566 А, 09.11.1995.
Адрес для переписки:
115541, Москва, ул. Веселая, 3, кв.155, А.А. Лепехе
|
(72) Автор(ы):
Лепеха Антон Анатольевич (RU)
(73) Патентообладатель(и):
Лепеха Антон Анатольевич (RU)
|
(54) РОТОРНО-ВИХРЕВАЯ МАШИНА
(57) Реферат:
Изобретение относится к области машиностроения и может быть использовано в насосах, компрессорах или двигателях. Роторно-вихревая машина содержит, по крайней мере, одну рабочую ступень, которая включает два статора и ротор. Ротор выполнен в виде диска и расположен между статорами. Между ротором и каждым из статоров образована торообразная рабочая полость, в которой размещены лопатки, связанные со статором, и разделитель, связанный с ротором. В роторе и смежных с ним статорах напротив друг друга по обеим сторонам торообразной рабочей полости выполнены кольцевые канавки для размещения в них уплотнительных колец. Каждое уплотнительное кольцо закреплено в кольцевой канавке статора или ротора и установлено с возможностью вращения в смежной с ней канавке ротора или статора соответственно. В результате достигается повышение КПД машины путем уменьшения перетечек рабочей среды по зазору между ротором и статором. 3 ил.
Изобретение относится к области машиностроения и может быть использовано в насосах, компрессорах или двигателях.
Известна роторно-вихревая машина, содержащая, по крайней мере, одну рабочую ступень, которая включает два статора и ротор, причем ротор выполнен в виде диска и расположен между статорами, а между ротором и каждым из статоров образована торообразная рабочая полость, в которой размещены лопатки, связанные со статором, и разделитель, связанный с ротором (см. свидетельство на полезную модель №7153, кл. F04D 5/00, F01D 1/08, 1998 г.).
Недостатком указанной машины являются перетечки рабочей среды по зазору между ротором и статором, который необходим для компенсации неточностей изготовления деталей и узлов машины, а также исключения возможности заклинивания ротора при его нагреве во время работы.
Наиболее близким к изобретению по технической сущности и достигаемому результату является роторно-вихревая машина, содержащая размещенный в корпусе пакет ступеней, в котором входные и выходные каналы смежных ступеней сообщены друг с другом, причем каждая ступень содержит закрепленный на валу ротор и закрепленный в корпусе статор, каждый ротор расположен между двумя статорами и между каждым статором и смежным с ним ротором образована торообразная рабочая полость, в которой расположены рабочие лопатки, связанные со статором, и разделитель, связанный с ротором, при этом статор каждой ступени выполнен в виде диска, а в роторе и смежных с ним статорах напротив друг друга по обеим сторонам торообразной рабочей полости выполнены кольцевые канавки для размещения в них уплотнительных колец (см. патент на полезную модель RU №9267, кл. F04D 5/00, 16.02.1999).
Недостатком указанной машины являются большие гидравлические потери между ступенями, а также сложность обработки статоров.
Задачей, на решение которой направлено настоящее изобретение, является снижение гидравлических потерь в проточной части роторно-вихревой машины.
Техническим результатом, достигаемьм при реализации изобретения, является повышение КПД роторно-вихревой машины путем уменьшения перетечек рабочей среды по зазору между ротором и статорами машины.
Указанная задача решается, а технический результат достигается за счет того, что роторно-вихревая машина содержит, по крайней мере, одну рабочую ступень, которая включает два статора и ротор, причем ротор выполнен в виде диска и расположен между статорами, между ротором и каждым из статоров образована торообразная рабочая полость, в которой размещены лопатки, связанные со статором, и разделитель, связанный с ротором, в последнем и смежных с ним статорах напротив друг друга по обеим сторонам торообразной рабочей полости выполнены кольцевые канавки для размещения в них уплотнительных колец, а каждое уплотнительное кольцо закреплено в кольцевой канавке статора или ротора и установлено с возможностью вращения в смежной с ней канавке ротора или статора соответственно.
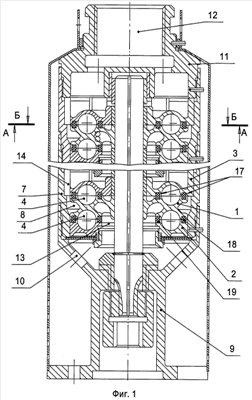
На фиг.1 представлен продольный разрез общего вида роторно-вихревой машины.
На фиг.2 – представлен разрез А-А на фиг.1.
На фиг.3 – представлен разрез Б-Б на фиг.1.
Роторно-вихревая машина содержит, по крайней мере, одну рабочую ступень, которая включает ротор 1 и статоры 2 и 3. Ротор 1 выполнен в виде диска и расположен между статорами 2 и 3. Между ротором и каждым статором образована торообразная (имеющая в меридиональном сечении овальный или круглый профиль) рабочая полость 4, в которой расположены рабочие лопатки 5, связанные со статором, и разделитель 6, связанный с ротором. Между ротором и обоймой 7 выполнен кольцевой канал 8, а машина снабжена основанием 9, в котором выполнен канал 10 для подвода рабочей среды, и головкой 11, в которой выполнен канал 12 для отвода среды. Входной канал 13 ступени выполнен в статоре 2, выходной канал 14 – в статоре 3 (в виде пазов) и сообщен с кольцевым каналом 8. В роторе 1 выполнены каналы 15 и 16, сообщающие рабочую полость 4 с входным 13 и кольцевым 8 каналами. В роторе 1 и смежных с ним статорах 2 и 3 напротив друг друга по обеим сторонам торообразной рабочей полости 4 выполнены кольцевые канавки 17 для размещения в них уплотнительных колец 18 и 19. Каждое уплотнительное кольцо 18 и 19 закреплено в кольцевой канавке 17 статора 2 и 3 или ротора 1 и установлено с возможностью вращения в смежной с ней канавке 17 ротора 1 или статора 2 и 3 соответственно.
Роторно-вихревая машина работает следующим образом.
При работе роторно-вихревой машины в режиме двигателя поток рабочей среды через каналы 10, 13, 15 подается в рабочие полости 4. В каждой рабочей полости 4 ступени под действием торообразных участков поверхностей статора 2 (или 3) и ротора 1 и лопаток 5 приобретает вихреобразный характер, исключающий возможность ее свободного перетекания по рабочей полости 4 в канал 16 и далее в кольцевой и выходной каналы 8 и 14. В результате разделитель 6 оказывается под действием перепада давлений рабочей среды, и ротор 1 совершает вращательное движение, которое передается на связанный с ним вал машины. При наличии нескольких рабочих ступеней рабочая среда из выходного канала первой ступени поступает во входной канал второй ступени, где, так же как и в первой ступени, давление рабочей среды преобразуется во вращательный момент, передаваемый на вал машины. После последовательного прохождения всех ступеней рабочая среда из выходного канала поступает в канал для отвода рабочей среды.
При работе машины в режиме насоса или компрессора при вращении ротора 1 рабочая среда, находящаяся в каждой рабочей полости 4 ступени, под воздействием на нее разделителя 6, лопаток 5 и торообразных участков поверхностей статора 2 (или 3) и ротора 1 приобретает вихреобразное движение. Такое движение рабочей среды препятствует ее свободному перетеканию по рабочей полости 4 в направлении вращения ротора 1. Под воздействием перемещающегося разделителя 6 давление рабочей среды повышается, и рабочая среда вытесняется в канал 16 и далее через кольцевой канал 8 в выходной канал 14 первой ступени, а через канал 15 в рабочую полость 4 засасывается новое количество рабочей среды. При наличии нескольких рабочих ступеней рабочая среда из выходного канала первой ступени поступает в рабочую полость второй ступени, где аналогичным образом происходит дальнейшее повышение ее давления. Из выходного канала последней ступени рабочая среда поступает в канал для отвода среды в головке.
Наличие уплотнительных колец 18 и 19 позволяет уменьшить перетечки рабочей среды по зазору между ротором 1 и статорами 2 и 3 и, за счет этого увеличить КПД машины.
Настоящее изобретение может быть использовано в машиностроении при создании роторно-вихревых насосов и компрессоров, а также при создании гидравлических двигателей роторного типа.
Формула изобретения
Роторно-вихревая машина, содержащая, по крайней мере, одну рабочую ступень, которая включает два статора и ротор, причем ротор выполнен в виде диска и расположен между статорами, а между ротором и каждым из статоров образована горообразная рабочая полость, в которой размещены лопатки, связанные со статором, и разделитель, связанный с ротором, при этом в роторе и смежных с ним статорах напротив друг друга по обеим сторонам горообразной рабочей полости выполнены кольцевые канавки для размещения в них уплотнительных колец, отличающаяся тем, что каждое уплотнительное кольцо закреплено в кольцевой канавке статора или ротора и установлено с возможностью вращения в смежной с ней канавке ротора или статора соответственно.
РИСУНКИ
PC4A – Регистрация договора об уступке патента СССР или патента Российской Федерации на изобретение
Прежний патентообладатель:
Лепеха Антон Анатольевич
(73) Патентообладатель:
Закрытое акционерное общество “Гидроэнергетические машины”
Договор № РД0041051 зарегистрирован 18.09.2008
Извещение опубликовано: 27.10.2008 БИ: 30/2008
|
|