|
(21), (22) Заявка: 2006137519/06, 24.10.2006
(24) Дата начала отсчета срока действия патента:
24.10.2006
(43) Дата публикации заявки: 27.04.2008
(46) Опубликовано: 27.08.2008
(56) Список документов, цитированных в отчете о поиске:
RU 94010773 А1, 20.08.1996. RU 2147079 С1, 27.03.2000. RU 20062353 С1, 20.06.1996. RU 2189495 С2, 20.09.2002. SU 1134771 А1, 15.01.1985. GB 2081390 А, 17.02.1982.
Адрес для переписки:
127543, Москва-543, а/я 776, И.А. Антуфьеву
|
(72) Автор(ы):
Антуфьев Игорь Александрович (RU)
(73) Патентообладатель(и):
Российская Академия сельскохозяйственных наук Государственное научное учреждение Всероссийский научно-исследовательский институт электрификации сельского хозяйства (ГНУ ВИЭСХ РОССЕЛЬХОЗАКАДЕМИИ) (RU), Антуфьев Игорь Александрович (RU)
|
(54) ВЕТРОЭЛЕКТРОСТАНЦИЯ – ГРАДООБРАЗУЮЩИЙ ФАКТОР
(57) Реферат:
Изобретение относится к ветроэнергетике и может быть использовано для выработки электроэнергии с помощью ветра. Ветроэлектростанция содержит концентраторы воздушного потока, ветроколеса, ветротурбины и генераторы электроэнергии, при этом ветроэлектростанция выполнена в виде окруженной опорным монолитом башни с центральным вертикальным каналом, магистральными воздуховодами и прилегающими к ней жилыми массивами, которые являются концентраторами воздушных потоков для магистральных воздуховодов. Изобретение обеспечит устранение зависимости от скоростей и направлений воздушного потока в приземном слое, совмещение выброса ненужных газов в атмосферу с получением электроэнергии и может стать основным источником энергии городов и крупных поселков, то есть стать градообразующим фактором. 2 ил.
Изобретение относится к ветроэнергетике и может быть использовано в качестве установки для выработки электроэнергии с использованием энергии ветра.
Известны устройства для утилизации энергии ветра, содержащие башню, воздухозаборник, воздуховод и вращательный рабочий орган, соединенный с генератором электроэнергии (RU 2242635, F03D 1/04; 9/02, 2004 г.), где в целях повышения надежности использования ветрового потока башня выполнена ориентируемой по направлению ветра.
Известны устройства, в которых для увеличения скорости потока воздуха в воздуховоде с генератором электротока воздуховод выполнен сужающимся (RU 2215184, F03D 1/04, 2003 г.; RU 2256818, F03D 1/04, 2005 г.).
Известны также и ветроэлектростанции с концентратором потока воздуха, в которых осуществлен принцип широкого захвата воздушного потока и превращение его в узкий, но высокоскоростной поток (RU 2062353, F03D 3/00, 1996 г.). В данном устройстве реализована возможность сжигания горючих газов, подлежащих выбросу в атмосферу.
Недостатком всех перечисленных и имеющихся в настоящее время устройств по преобразованию энергии ветра в электрическую является их повседневная зависимость от движения воздушных масс в приземном слое (в пределах до высоты 100-200 метров) и необходимость ориентирования устройства по направлению ветра. Кроме того, во всех устройствах такого типа всегда имеется достаточно много передаточных звеньев с потерей мощности вращения генератора электрического тока. Это обстоятельство не дает возможности основательно использовать природный и экологически чистый способ получения электрической энергией в надежном режиме.
Задача настоящего изобретения в освобождении от всех и всевозможных поворотных платформ для ориентирования устройства, что частично выполнено в прототипе (Патент России №2062353), совмещение выброса ненужных газов в атмосферу с получением электроэнергии (что также частично реализовано в указанном прототипе), избавление от разного вида аккумуляторов мощности вращения, а также устранение повседневной зависимости от скоростей и направлений воздушного потока в приземном слое.
Предлагаемое изобретение может стать основным источником энергии городов и крупных поселков с большими затратами электроэнергии в жилом и производственном секторе и стать градообразующим фактором, например, при разработке каких-то полезных ископаемых или выработки, например, алюминия из глинозема.
Вышеуказанный технический результат достигается тем, что ветроэлектростанция (далее ВЭС), содержащая концентраторы воздушного потока, ветроколеса, ветротурбины и генераторы электроэнергии выполнена в виде окруженной опорным монолитом башни с центральным вертикальным каналом, магистральными воздуховодами и прилегающими к ней жилыми массивами, которые являются концентраторами воздушных потоков для магистральных воздуховодов.
Площадки с силовыми агрегатами и воздуховодами располагаются в башне горизонтально на высоте, определяемой особенностью применяемых воздуховодов, турбин и генераторов электроэнергии.
Каждая следующая площадка с силовыми агрегатами и воздуховодами расположена на несколько метров (например, на 10-20 м) выше предыдущей, повернута вокруг вертикальной оси, например на 30-45 градусов, иначе ориентирована по сторонам света, что позволяет при определенном направлении ветра использовать более подходящий для этой цели вариант приема воздушного потока. Один и тот же воздуховод может воспринимать воздушные потоки в диаметрально противоположных направлениях.
При чрезмерных скоростях ветра соответствующий его направлению воздуховод может быть перекрыт частично или полностью заслонками.
Между площадками с силовыми агрегатами и воздуховодами расположены, где это возможно, жилые и служебные помещения, а также производственные помещения, в том числе теплицы, животноводческие фермы и сектора, склады, заводские цеха и т.п.
Башня (ВЭС) имеет несколько десятков площадок с силовыми агрегатами и воздуховодами с размещением в них ветроколес, ветротурбин и генераторов тока в различных вариантах. Наиболее целесообразным для наших целей, особенно на высоко расположенных площадках (отметках), скорее всего, являются соосно совмещенные высокоскоростные турбины и генераторы тока.
Жилые массивы по обе стороны центральной башни выполняются единым монолитом, формируя тем самым и часть центральной башни с силовыми горизонтами, и центральный канал центральной башни.
Лифты имеют остановки на соответствующих площадках с силовыми агрегатами и воздуховодами.
Рядом стоящие жилые массивы выполняют роль концентраторов воздушного потока на всех отметках по высоте и помогают в некоторых случаях перераспределению воздушных потоков с одной высотной отметки на другую.
Центральный канал башни служит дополнительным устройством для выработки электроэнергии и может совмещать в себе функцию выброса неутилизируемых газов в атмосферу. В нем допустимо любое расположение ветроколес и в том числе частичное расположение небольшого сектора ветроколеса, когда центральная часть вращающегося приспособления остается вне вертикального канала-воздуховода. Такое расположение ветроколес обеспечивает легкую доступность любого участка вращающегося приспособления для осмотра и ремонта. Возможен также вариант и с подземным расположением турбин и генераторов электрического тока, расположенных в воздуховодах, например внутри фундамента башни, выходящих в центральный канал на приземном или более высоком уровне.
Для повышения устойчивости ВЭС против опрокидывания и уменьшения глубины ее фундамента, башня имеет наземную опорную сетчатую конструкцию, представляющую из себя, например, многоэтажный жилой массив, производственные и складские помещения, выполненными железобетонным монолитом с башней. В отдельных случаях возможен вариант крепления башни с помощью углубленной в грунт железобетонной трубы, уходящей вглубь за пределы вечной мерзлоты и имеющей расширенный нижний участок, выполненный, например, с помощью локального подземного взрыва и заливания бетоном шарообразной пустоты.
Решение вопроса относительно устойчивости башни позволит размещать ее в зонах с вечной мерзлотой, где создание крепкого фундамента является серьезной проблемой, но освоение природных богатств диктует необходимость пребывания людей именно в этом месте. Обилие дешевой электроэнергии может сделать пребывание людей (в неблагоприятных для проживания зонах) более комфортным и независимым от природных условий.
ВЭС не обязательно должна иметь жилые массивы вокруг основной (центральной) башни. ВЭС может быть выполнена из основной башни с площадками для силовых агрегатов и воздуховодов и отходящими от центральной башни достаточно тонкими, но прочными стенами, для концентрации воздушных потоков. Такая ВЭС может достигать высоты 200-300 и более метров.
Отходящие от центральной башни железобетонные стены могут выполнять ряд дополнительных функций, например нести на себе антенны телерадиоаппаратуры, приборы видеонаблюдения, мереорологические приспособления, устройства для зондирования атмосферы, лазерные и другие устройства для передачи информации и воздействия на верхние слои атмосферы и т.п. В некоторых случаях ВЭС может содержать элементы пусковых установок для метеоракет и другой специальной аппаратуры.
Сущность предлагаемого изобретения поясняется фигурами 1 и 2.
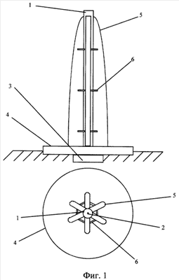
На фигуре 1 представлен общий вид ВЭС с оптимальным фундаментом и наземной опорной сетчатой конструкцией у основания башни.
На фигуре 2 показан один из вариантов площадки с силовыми агрегатами и воздуховодами.
Ветроэлектростанция (фиг.1) состоит из башни 1 с центральным каналом 2, снабженной реальным для данной местности и данного грунта фундаментом 3. Башня окружена наземной опорной сетчатой конструкцией 4, выполненной монолитом с самой башней.
К башне примыкают жилые массивы 5, между которыми имеются на разной высоте перемычки – переходы 6.
Площадка с силовыми агрегатами и воздуховодами (фиг.2) имеет несколько магистральных воздуховодов 7 с различной геометрией, в том числе и суженными посередине. Входы и выходы воздуховодов выполнены с заслонками 8, способными перекрывать сечение воздуховода частично или полностью. Свободные от воздуховодов пространства 9 центральной башни выполнены как производственные и/или общественные помещения разного профиля. Сообщение производственных и жилых помещений по высоте обеспечивается лифтами 10.
Формула изобретения
Ветроэлектростанция, содержащая концентраторы воздушного потока, ветроколеса, ветротурбины и генераторы электроэнергии, отличающаяся тем, что ветроэлектростанция выполнена в виде окруженной опорным монолитом башни с центральным вертикальным каналом, магистральными воздуховодами и прилегающими к ней жилыми массивами, которые являются концентраторами воздушных потоков для магистральных воздуховодов.
РИСУНКИ
|