|
(21), (22) Заявка: 2007105473/06, 13.02.2007
(24) Дата начала отсчета срока действия патента:
13.02.2007
(46) Опубликовано: 27.08.2008
(56) Список документов, цитированных в отчете о поиске:
RU 2154748 С2, 20.08.2000. RU 2118685 C1, 10.09.1998. US 4608821 A, 02.09.1986. GB 2102076 A, 26.01.1983. DE 3443388 A1, 13.06.1985.
Адрес для переписки:
644021, г.Омск, ул. Богдана Хмельницкого, 226, ЗАО “ПОЛЕТ-ИНТЕР”
|
(72) Автор(ы):
Блинов Виктор Николаевич (RU), Горлов Василий Иванович (RU), Иванов Николай Николаевич (RU), Рубан Виктор Иванович (RU)
(73) Патентообладатель(и):
ЗАКРЫТОЕ АКЦИОНЕРНОЕ ОБЩЕСТВО “ПОЛЕТ-ИНТЕР” (ЗАО “ПОЛЕТ-ИНТЕР”) (RU)
|
(54) ЭЛЕКТРОТЕРМИЧЕСКИЙ МИКРОДВИГАТЕЛЬ
(57) Реферат:
Изобретение относится к двигательным установкам для спутников малой массы. В микродвигателе газовод выполнен с двумя цилиндрическими фланцами, расположенными на его наружной части с отступом от его торцов, и дополнительно размещен внутри цилиндрического стакана с цилиндрическим буртиком в районе дна так, что свободный торец газовода уперт в дно стакана, длина которого выбрана из условия утопания противоположного цилиндрического фланца относительно открытого торца стакана, и снаружи газовода между цилиндрическими фланцами расположены электрические нагревательные элементы в двухканальных керамических трубках, например, в виде проволоки из нихрома, диаметр которой меньше диаметра отверстий в трубках, с выводом токоподводящих частей нагревательных элементов в трубках через пазы во фланце и отверстия в дне стакана, причем внутренний диаметр стакана равен наружному диаметру цилиндрических фланцев газовода, при этом камера выполнена в виде стакана с внутренним диаметром, равным диаметру цилиндрического буртика, и с отверстием в дне, диаметр которого равен диаметру выступающей торцевой части газовода с соплом Лаваля, выполненной ступенчатой, длина утолщенной цилиндрической части которой равна величине утопания цилиндрического фланца относительно открытого торца стакана, который с расположенным в нем газоводом прижат к дну камеры при помощи цилиндрического выступа пустотелой гайки с наружной резьбой, ввинченной в открытый торец камеры, в теле которой размещена система подачи газифицированного топлива в виде подводящего трубопровода, а завихритель выполнен в виде наклонных газоподводящих прорезей на цилиндрическом буртике, при этом на боковой поверхности свободного торца стакана, а также на боковой поверхности газовода у торца, контактирующего с дном стакана, и в цилиндрических фланцах газовода выполнены прорези, а чувствительные элементы термопар размещены в газоводе через отверстия в дне стакана и вместе с токовыводами выведены наружу через пустотелую гайку, полость которой и торец камеры заполнены термостойким герметиком. Изобретение обеспечивает повышение эффективности микродвигателя, а также увеличение удельной тяги на 35-40% и снижение массы на 10-12%. 11 ил.
Изобретение относится к космической технике, а именно к электротермическим микродвигателям, входящим в состав двигательных установок микротяги, устанавливаемых на спутники малой массы для решения задач орбитального маневрирования.
Современный уровень развития космической техники характеризуется тенденцией к миниатюризации спутников различного назначения (научных, связных, дистанционного зондирования Земли, навигационных, гидрометеорологических и др.) и увеличению количества их запусков. Для решения задач орбитального маневрирования в состав спутников вводятся двигательные установки микротяги, в которых реактивная тяга создается электротермическими микродвигателями. Тяга таких микродвигателей составляет 0.02-0.05 Н (2-5 кгс).
В настоящее время как в России, так и за рубежом создано немало образцов двигателей микротяги, среди которых электротермические (электронагревательные) микродвигатели являются наиболее простыми и отработанными.
Создание реактивной микротяги в электротермических микродвигателях осуществляется посредством подвода энергии к нагревательному элементу, размещенному в микродвигателе, прокачиванием рабочего тела вдоль «горячих» поверхностей микродвигателя, на которых происходит испарение и нагрев рабочего тела, и выброс нагретого газа через реактивное сопло (сопло Лаваля).
Несмотря на схемную простоту таких микродвигателей, трудности конструктивного их исполнения и изготовления обусловлены необходимостью выполнения следующих, зачастую противоречивых, требований, среди них:
– высокие удельные показатели (удельная тяга, потребляемая электрическая мощность на единицу массы);
– высокая надежность, для обеспечения которой необходимо вводить основной и резервный электрические нагревательные элементы;
– обеспечение управления микродвигателем и контроля его температуры при помощи термопар, чувствительные элементы которых должны быть размещены у входа в реактивное сопло (сопло Лаваля);
– простота и технологичность конструкции при минимальных габаритах и массе и т.п.
Эффективность микродвигателя в первую очередь определяется величиной его удельной тяги, которая напрямую зависит от величины нагрева газообразного топлива на входе в реактивное сопло. Уравнение для определения теоретической удельной тяги имеет вид (см. патент №2186237):

где Руд – удельная тяга двигателя;
Т0 – температура газообразного топлива перед входом в сопло;
т – молекулярный вес топлива;
R – универсальная газовая постоянная.
Вместе с тем, микродвигатель должен иметь минимальную массу конструкции и обеспечивать подвод электрической энергии к нагревательным элементам и монтаж термопар для измерения температуры газообразного топлива.
Известен электротермический микродвигатель по патенту США №4608821, содержащий камеру, в которой смонтирован нагревательный элемент, расположенную вокруг нее кольцевую камеру, изолированную от камеры с нагревательным элементом и сообщенную с системой подвода топлива и с соплом Лаваля.
Недостатком данного микродвигателя является то, что нагревательный элемент напрямую не контактирует с нагреваемыми парами топлива, что снижает степень нагрева топлива и удельную тягу двигателя.
Наиболее близким к заявляемому микродвигателю является однокомпонентный жидкостный ракетный двигатель малой тяги (далее микродвигатель) по патенту №2154748 (заявка №96117948/06 от 09.09.1996). Данный микродвигатель взят за прототип.
Микродвигатель по прототипу содержит камеру термического разложения топлива, внутри которой расположено устройство для стартового разогрева микродвигателя, выполненное в виде полого стакана (газовода) с перфорированными стенками с донышком, обращенным к форсунке, внутри которой установлен шнековый завихритель. Открытый конец стакана прикреплен к корпусу камеры и месту ее стыка с соплом двигателя. На стакан намотан с зазором между витками нагреватель, а на внутренней поверхности боковой стенки камеры намотан с зазором между витками дополнительный электрический нагреватель.
Рассмотрим недостатки по прототипу, обусловленные компоновкой его составных частей и снижающие его эффективность по параметру удельная тяга и конструктивная сложность.
1. Выполнение перфорации на боковых стенках стакана снижает эффективность нагрева газообразного топлива за счет того, что часть газообразного топлива сразу попадает в отверстия, расположенные у донышка стакана, и по этой причине напрямую не контактирует с нагревательными элементами микродвигателя.
2. Путь, пройденный газообразным топливом, от входа в камеру микродвигателя до входа в сопло Лаваля, от которого зависит степень нагрева паров топлива, практически ограничен длиной самой камеры. В реальных условиях компоновки микродвигателя в составе двигательной установки и самого спутника имеются ограничения на длину камеры. В этих условиях снижается эффективность микродвигателя.
3. При ограничениях длины камеры микродвигателя увеличение пути, пройденного газообразным топливом, до выброса его через реактивное сопло, в устройстве по прототипу достигается закруткой паров топлива в камере использованием завихрителя. Расположение завихрителя в форсунке, подающего топливо, ведет к дополнительным гидравлическим потерям и, как следствие, к снижению эффекта закручивания топлива. Кроме того, будут потери напора при взаимодействии с донышком стакана, что также снизит эффект закручивания топлива.
4. В микродвигателе по прототипу нагреватель намотан на стакан с зазором между витками, а на внутренней поверхности боковой стенки камеры намотан с зазором между витками дополнительный электрический нагреватель. В подобных конструкциях в качестве нагревательного элемента используется проволочный нагревательный элемент, уложенный через слой изоляции в металлической трубке для обеспечения гарантированной изоляции металлического корпуса микродвигателя от электрического нагревателя. В этом случае газообразное топливо напрямую не контактирует с электрическим нагревателем, что также снижает нагрев топлива.
5. В конструкции микродвигателя по прототипу вывод нагревателя наружу для подвода электрической энергии, а также ввод чувствительных элементов термопар возможен только через торец камеры путем введения в камере дополнительных гермовыводов. При этом расположение форсунки подачи топлива по оси микродвигателя затрудняет монтаж чувствительных элементов термопар в районе входа в сопло, особенно при диаметре форсунки, большем диаметра стакана (газовода), что является недостатком.
Технической задачей заявляемого микродвигателя является повышение его эффективности за счет увеличения удельной тяги микродвигателя и упрощения его конструкции.
Поставленная задача решается за счет того, что в микродвигателе содержащем цилиндрическую камеру с системой подачи газифицированного топлива, размещенный в камере цилиндрический газовод, полость которого соединена с камерой и с окружающей средой через сопло Лаваля, завихритель, расположенный на входе в камеру, электрические нагревательные элементы и термопары, газовод выполнен с двумя цилиндрическими фланцами, расположенными на его наружной части с отступом от его торцов, и дополнительно размещен внутри цилиндрического стакана с цилиндрическим буртиком в районе дна так, что свободный торец газовода уперт в дно стакана, длина которого выбрана из условия утопания противоположного цилиндрического фланца относительно открытого торца стакана, и снаружи газовода между цилиндрическими фланцами расположены электрические нагревательные элементы в двухканальных керамических трубках, например, в виде проволоки из нихрома, диаметр которой меньше диаметра отверстий в трубках, с выводом токоподводящих частей нагревательных элементов в трубках через пазы во фланце и отверстия в дне стакана, причем внутренний диаметр стакана равен наружному диаметру цилиндрических фланцев газовода, при этом камера выполнена в виде стакана с внутренним диаметром, равным диаметру цилиндрического буртика, и с отверстием в дне, диаметр которого равен диаметру выступающей торцевой части газовода с соплом Лаваля, выполненной ступенчатой, длина утолщенной цилиндрической части которой равна величине утопания цилиндрического фланца относительно открытого торца стакана, который с расположенным в нем газоводом прижат к дну камеры при помощи цилиндрического выступа пустотелой гайки с наружной резьбой, ввинченной в открытый торец камеры, в теле которой размещена система подачи газофицированного топлива в виде подводящего трубопровода, а завихритель выполнен в виде наклонных газоподводящих прорезей на цилиндрическом буртике, при этом на боковой поверхности свободного торца стакана, а также на боковой поверхности газовода у торца, контактирующего с дном стакана, и в цилиндрических фланцах газовода выполнены прорези, а чувствительные элементы термопар размещены в газоводе через отверстия в дне стакана и вместе с токовыводами выведены наружу через пустотелую гайку, полость которой и торец камеры заполнены термостойким герметиком.
Заявляемый двигатель поясняется чертежами, на которых показано:
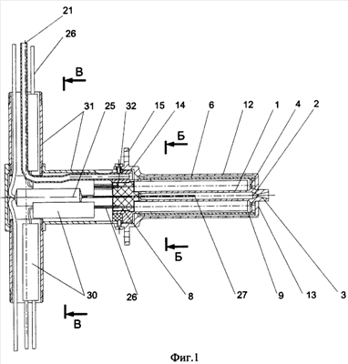
на фиг.1 – общий вид микродвигателя в сборе;
на фиг.2 – поперечное сечение по защитному кожуху микродвигателя (сечение В-В на фиг.1);
на фиг.3 – поперечное сечение по корпусу микродвигателя (сечение Б-Б на фиг.1);
на фиг.4 – цилиндрический стакан микродвигателя;
на фиг.5 – вид на дно цилиндрического стакана;
на фиг.6 – выполнение газовода на поверхности стакана (вид А на фиг.5);
на фиг.7 – вид на торец газовода со стороны подвода газообразного топлива;
на фиг.8 – общий вид газовода микродвигателя;
на фиг.9 – вид на торец газовода со стороны сопла Лаваля;
на фиг.10 – общий вид микродвигателя без защитного кожуха с токовыводами и термопарами;
на фиг.11 – объемный вид основных частей микродвигателя.
Микродвигатель содержит газовод 1, газовая полость 2 которого заканчивается реактивным соплом 3. Газовод 1 выполнен с двумя цилиндрическими фланцами 4, 5, расположенными на его наружной части с отступом от его торцов. Газовод 1 размещен внутри цилиндрического стакана 6 с цилиндрическим буртиком 7 в районе дна так, что свободный торец газовода уперт в дно стакана, а длина стакана выбрана из условия утопания противоположного цилиндрического фланца 4 относительно открытого торца стакана 6.
Снаружи газовода 1 между цилиндрическими фланцами 4, 5 расположены электрические нагревательные элементы 8 в двухканальных керамических трубках 9, например, в виде проволоки из нихрома, с выводом токоподводящих частей нагревательных элементов 8 в трубках 9 через пазы 10 во фланце 5 и отверстия 11 в дне стакана 6.
Внутренний диаметр стакана 6 равен наружному диаметру цилиндрических фланцев 4, 5 газовода 1. Камера микродвигателя выполнена цилиндрической ступенчатой формы в виде стакана 12 с дном 13 и стакана 14 с фланцем 15 для крепления микродвигателя в составе двигательной установки. Диаметр стакана 14 больше диаметра стакана 12. Длина стакана 12 меньше длины газовода 1. Диаметр буртика 7 стакана 6 равен внутреннему диаметру стакана 12 камеры.
Наружная торцевая часть газовода 1 с реактивным соплом 3 выполнена ступенчатой из двух частей 16 и 17. Диаметр цилиндрической части 16 больше диаметра цилиндрической части 17, а длина цилиндрической части 16 равна величине утопания фланца 4 относительно открытой торцевой части стакана 6.
Газовод 1 с нагревателями (обычно монтируется основной и резервный нагреватели) со стаканом 6 устанавливается в цилиндрическую часть 12 корпуса микродвигателя, при этом торец стакана 6 прижат к дну цилиндрической части 12 камеры при помощи ввинченной в цилиндрическую часть 13 камеры пустотелой гайки 18 с наружной резьбой с цилиндрическим выступом 19. В дне 13 стакана 12 выполнено отверстие для выхода торцевой части 17 газовода 1 с реактивным соплом 3. В этом случае, при сборке микродвигателя торец утолщенной части 16 будет также прижат к внутренней поверхности дна 13 стакана 12, обеспечивая необходимую степень герметизации камеры микродвигателя относительно внешней среды. Кроме того, герметизация обеспечивается выбором типа посадки цилиндрической части 17 газовода в отверстие в дне 13 камеры микродвигателя.
Завихритель выполнен в виде наклонных газоподводящих прорезей 20 на буртике 7. Подвод газифицированного топлива осуществляется через трубопровод 21, вваренный в гайку 18, в полость между корпусами гайки 18 и цилиндрической части 14 камеры. На боковой поверхности свободного торца стакана 6 до зоны контакта цилиндрического фланца 4 с поверхностью стакана, а также на боковой поверхности газовода 1 у торца, контактирующего с дном стакана 6, до цилиндрического фланца 5 и в цилиндрических фланцах 4, 5 газовода 1 выполнены прорези (отверстия) 22, 23, 24, 25, соответственно для прохода газифицированного топлива.
Внутри пустотелой гайки 16 размещены токовыводы 26 электрических нагревателей и термопары 27 микродвигателя. Для выхода нагревателей и термопар в дне стакана 6 выполнены отверстия 28, 29 соответственно. Токовыводы 26 нагревателей размещены в изолирующих керамических трубках 30. Токовыводы 26, термопары и подводящий трубопровод закрыты защитным кожухом 31, соединенным с цилиндрической частью 14 камеры микродвигателя. Для снижения габаритов защитный кожух 31 выполнен Т-образной формы.
Полость гайки 18 и торец камеры загерметизированы при помощи керамического герметика 32.
Подача газообразного топлива в трубопровод 21 осуществляется через штуцер (не показан), который соединяется с ответной частью топливной магистрали двигательной установки.
Работа микродвигателя осуществляется следующим образом.
Перед подачей газообразного топлива в микродвигатель производится его разогрев включением основных (или резервного) нагревательных элементов 8. Расположение нагревательных элементов 8 в керамических трубках 9 обеспечивает надежную изоляцию от корпуса микродвигателя. При этом в торцах керамических трубок 9 проделаны соответствующие пропилы (не показаны), обеспечивающие утопание нагревательных элементов в трубках. Контроль температуры разогрева осуществляется термопарами 27, чувствительные элементы которых расположены в полости 2 газовода 1.
Топливо микродвигателя (например, жидкий аммиак) предварительно газифицируется в испарителе двигательной установки и в газообразном виде подается в трубопровод 21 микродвигателя.
Из трубопровода 21 газообразное топливо попадает в полость стакана 14 камеры микродвигателя и затем через завихрители 20 в полость, между стаканом 12 камеры микродвигателя и стаканом 6, образованную за счет толщины буртика 7. Завихрители 20 обеспечивают вращательно-поступательное движение газообразного топлива в полости, увеличивая тем самым путь вокруг горячего корпуса стакана 6 и нагрев паров топлива.
Далее газообразное топливо через прорези 22 в стакане 6 и отверстия 24 во фланце 4 газовода 1 попадает в полость, образованную стаканом 6, газоводом 1 и его фланцами 4, 5. В данной полости расположены нагревательные элементы 8 в двухканальных керамических трубках 9. Диаметр нагревательных элементов (например, проволоки из нихрома) меньше диаметра каналов в трубках 9. Плотность заполнения поперечного сечения данной полости (фиг.3) составляет 67.5%. В этом случае газообразное топливо будет омывать горячие керамические трубки как снаружи, так и изнутри, проходя по самим нагревательным элементам 8. Увеличение степени нагрева газообразного топлива на этом участке достигается заполнением свободного пространства между керамическими трубками и поверхностями стакана 6 и газовода 1 термостойким изолятором, например, керамического типа. В этом случае газообразное топливо пойдет только через отверстия в керамических трубках 9, омывая сами нагревательные элементы и максимально нагреваясь.
Затем газообразное топливо через отверстия 25 во фланце 5 и прорези 23 у торца газовода 1 попадает в полость 2 газовода 1 и истекает через реактивное сопло 3 (сопло Лаваля), создавая тягу с эффективностью (величиной удельной тяги), в основном определяемой величиной нагрева истекаемого газообразного топлива.
Термопары 27 (обычно для надежности ставятся две термопары) контролируют температуру газообразного топлива в полости 2 газовода.
Токовыводы 26 выполнены в виде трубок из наржавеющей стали и их длина выбирается из условия наличия на их концах допустимой температуры для соединения токоподводящей кабельной сети путем пайки. Установка микродвигателя в составе двигательной установки осуществляется через фланец 15 камеры микродвигателя. Вокруг камеры микродвигателя в составе двигательной установки для снижения тепловых потерь устанавливается многослойный теплозащитный экран (не показан).
Эффективность микродвигателя оценим по величине его теоретической удельной тяги, которая определяется температурой газообразного топлива перед входом в сопло согласно (1).
Оценим температуру газообразного топлива перед входом в сопло для микродвигателя по прототипу и заявляемого микродвигателя с одинаковой подводимой электрической мощностью. Примем, что основной нагрев газообразного топлива обеспечивается путем обтекания и контакта с нагретыми частями камеры микродвигателя. За характерную длину, на которой происходит нагрев газообразного топлива, примем длину камеры микродвигателя L.
В заявляемом микродвигателе увеличению температуры нагрева газообразного топлива способствуют следующие существенные конструктивные признаки:
– нагрев газообразного топлива осуществляется на длине, равной 3L, при этом до входа в сопло топливо контактирует с внутренней поверхностью стакана 12, с внешней и внутренней поверхностями стакана 6 и газовода 1, с наружной и внутренней поверхностями керамических трубок 9, с поверхностями нагревательных элементов 8 (в микродвигателе по прототипу нагрев осуществляется практически на длине L, а топливо контактирует только с внутренней поверхностью камеры, с поверхностями полого стакана (газовода) и с поверхностями нагревательных элементов);
– в качестве нагревательных элементов 8 использованы проволочные нагреватели, например, из нихрома, теплоотдача которых выше нагревателей, использованных в прототипе, нагревательная проволока которых уложена через изоляцию в металлическом кабеле;
– использование для изоляции нагревательных элементов 8 керамических трубок 9 обеспечивает дополнительную поверхность, контактирующую с газообразным топливом и нагревающую его;
– укладка керамических трубок 9 с нагревательными элементами 8 вокруг газовода 1 и у внутренней стенки стакана 6 обеспечивает нагрев всей конструкции микродвигателя;
– выполнение завихрителей 20 на поверхности стакана 6 увеличивает по сравнению с прототипом эффект закрутки газообразного топлива за счет снижения гидравлических потерь на 30-35%.
С учетом сказанного температура газообразного топлива на вход в сопло по сравнению с прототипом будет выше на 35-40%, что эквивалентно увеличению на ту же величину удельной тяги двигателя.
Кроме того, конструкция микродвигателя обеспечивает простой монтаж термопар для измерений температуры в газоводе, а также подвод электроэнергии к нагревательным элементам. Снижение массы микродвигателя за счет того, что гермовывод для токовыводов и термопар выполнен в полости гайки 16, составит 10-12%.
Заявляемый микродвигатель автономно и в составе двигательной установки на жидком аммиаке успешно прошел полный цикл наземной экспериментальной отработки, включая ресурсные испытания, испытания на функционирование, испытания на прочность (статические, вибрационные, ударные).
Формула изобретения
Микродвигатель, содержащий цилиндрическую камеру с системой подачи газофицированного топлива, размещенный в камере цилиндрический газовод, полость которого соединена с камерой и с окружающей средой через сопло Лаваля, завихритель, расположенный на входе в камеру, электрические нагревательные элементы и термопары, отличающийся тем, что газовод выполнен с двумя цилиндрическими фланцами, расположенными на его наружной части с отступом от его торцов, и дополнительно размещен внутри цилиндрического стакана с цилиндрическим буртиком в районе дна так, что свободный торец газовода уперт в дно стакана, длина которого выбрана из условия утопания противоположного цилиндрического фланца относительно открытого торца стакана, и снаружи газовода между цилиндрическими фланцами расположены электрические нагревательные элементы в двухканальных керамических трубках, например, в виде проволоки из нихрома, диаметр которой меньше диаметра отверстий в трубках, с выводом токоподводящих частей нагревательных элементов в трубках через пазы во фланце и отверстия в дне стакана, причем внутренний диаметр стакана равен наружному диаметру цилиндрических фланцев газовода, при этом камера выполнена в виде стакана с внутренним диаметром, равным диаметру цилиндрического буртика, и с отверстием в дне, диаметр которого равен диаметру выступающей торцевой части газовода с соплом Лаваля, выполненной ступенчатой, длина утолщенной цилиндрической части которой равна величине утопания цилиндрического фланца относительно открытого торца стакана, который с расположенным в нем газоводом прижат к дну камеры при помощи цилиндрического выступа пустотелой гайки с наружной резьбой, ввинченной в открытый торец камеры, в теле которой размещена система подачи газифицированного топлива в виде подводящего трубопровода, а завихритель выполнен в виде наклонных газоподводящих прорезей на цилиндрическом буртике, при этом на боковой поверхности свободного торца стакана, а также на боковой поверхности газовода у торца, контактирующего с дном стакана, и в цилиндрических фланцах газовода выполнены прорези, а чувствительные элементы термопар размещены в газоводе через отверстия в дне стакана и вместе с токовыводами выведены наружу через пустотелую гайку, полость которой и торец камеры заполнены термостойким герметиком.
РИСУНКИ
MM4A – Досрочное прекращение действия патента СССР или патента Российской Федерации на изобретение из-за неуплаты в установленный срок пошлины за поддержание патента в силе
Дата прекращения действия патента: 14.02.2009
Извещение опубликовано: 27.04.2010 БИ: 12/2010
NF4A – Восстановление действия патента СССР или патента Российской Федерации на изобретение
Дата, с которой действие патента восстановлено: 27.04.2010
Извещение опубликовано: 27.04.2010 БИ: 12/2010
|