|
(21), (22) Заявка: 2007109349/06, 15.03.2007
(24) Дата начала отсчета срока действия патента:
15.03.2007
(46) Опубликовано: 27.08.2008
(56) Список документов, цитированных в отчете о поиске:
US 5113656 А, 19.05.1992. SU 504511 А, 25.02.1976. RU 2187680 С1, 20.08.2002. DE 3834071 А, 12.04.1990. СА 1229988 А, 08.12.1987.
Адрес для переписки:
117405, Москва, М-405, Варшавское ш., 143, корп.1, кв.110, Э.В. Борисову
|
(72) Автор(ы):
Шмелёв Александр Станиславович (RU)
(73) Патентообладатель(и):
Открытое акционерное общество “Бинейро” (RU)
|
(54) ДВИГАТЕЛЬ ВНЕШНЕГО НАГРЕВАНИЯ
(57) Реферат:
Изобретение относится к области силовых установок и двигателей объемного вытеснения, в частности к двигателям, работающим при расширении и сжатии массы рабочего газа, который нагревается и охлаждается в одной или нескольких постоянно сообщающихся камер, например, двигателей, работающих по циклу Стирлинга. Двигатель внешнего нагревания содержит коленчатый вал горячей группы и коленчатый вал холодной группы, группу горячих цилиндров с поршнями и соответствующую ему группу шатунов, соединенных с одной стороны с горячими поршнями, а с другой стороны – с коленчатым валом горячей группы, группу холодных цилиндров с поршнями и соответствующую ему группу шатунов, соединенных с одной стороны с холодными поршнями, с другой стороны – с коленчатым валом холодной группы. Двигатель содержит также группу трубок, соединяющих попарно холодные и горячие цилиндры и содержащих устройство регенерации тепла. Также двигатель содержит трансмиссию, камеру сгорания, компрессор, теплообменник, топливный насос. Размеры горячих цилиндров группы и холодных цилиндров группы выбираются из соотношения
где d – диаметр цилиндра; С=2.185·10-5 – постоянная; – коэффициент теплопроводности рабочего газа (воздуха); – максимальная угловая скорость вращения коленчатого вала, при которой сохраняются изотермические процессы расширения-сжатия рабочего газа в цилиндрах; Ср – удельная теплоемкость рабочего газа (воздуха) при постоянном давлении; – плотность рабочего газа (воздуха). Техническим результатом является повышение кпд. 7 з.п. ф-лы, 2 ил.
Изобретение относится к области силовых установок и двигателей объемного вытеснения, в частности к двигателям, работающим при расширении и сжатии массы рабочего газа, который нагревается и охлаждается в одной или нескольких постоянно сообщающихся камер, например, двигателей, работающих по циклу Стирлинга.
Известен двигатель Стирлинга – преобразователь энергии прямого цикла с внешним подводом теплоты, включающий камеру сгорания и холодильник [Г.Ридер, Ч.Хупер. Двигатели Стирлинга. М.: Мир, 1986, стр.55].
Недостатком этого двигателя является относительно низкий кпд.
Известно также устройство, включающее преобразователь прямого цикла (двигатель) с электрогенератором на одном валу, линию подачи топлива, теплообменник-утилизатор тепла высокотемпературных отработанных газов двигателя, через который проходит магистраль отработанных газов двигателя, систему охлаждения двигателя, связанную через теплообменник с системой внешнего теплоснабжения. Устройство также снабжено в качестве преобразователя прямого цикла двигателем Стирлинга, теплообменником-утилизатором высокотемпературных отработанных газов двигателя Стирлинга, выполненным в виде парогенератора, пароводяным насосом-подогревателем, теплообменником-утилизатором низкотемпературных отработанных газов двигателя Стирлинга, теплообменником-охладителем, а также магистралью водопровода с регулирующим клапаном, разделяющейся на линию с регулирующим клапаном, проходящую через теплообменник-охладитель в парогенератор, и линию с регулирующим клапаном, проходящую через теплообменник-утилизатор низкотемпературных отработанных газов двигателя Стерлинга в пароводяной насос-подогреватель, магистралью пара высокого давления, идущей от парогенератора к пароводяному насосу-подогревателю, и магистралью системы горячего водоснабжения, идущей от пароводяного насоса-подогревателя, при этом магистраль отработанных газов двигателя Стирлинга последовательно проходит сначала через парогенератор, а затем через теплообменник-утилизатор низкотемпературных отработанных газов [RU (11) 2187680 (13) C1 (51), МПК 7 F02G 1/04, B63G 8/36, 2006].
Недостатком устройства также является относительно низкий кпд.
Наиболее близким по технической сущности к предлагаемому является двигатель внешнего нагревания (альфа-модификация двигателя Стирлинга), содержащий коленчатый вал горячей группы и коленчатый вал холодной группы, группу горячих цилиндров с поршнями и соответствующую ему группу шатунов, соединенных с одной стороны с горячими поршнями, а с другой стороны – с коленчатым валом горячей группы, группу холодных цилиндров с поршнями и соответствующую ему группу шатунов, соединенных с одной стороны с холодными поршнями, с другой стороны – с коленчатым валом холодной группы, группу трубок, соединяющих попарно холодные и горячие цилиндры и содержащих устройство регенерации тепла, трансмиссию, соединяющую коленчатый вал горячей группы с коленчатым валом холодной группы, камеру сгорания, компрессор подачи воздуха в камеру сгорания и теплообменник [Двигатель шотландского пастора. «Двигатель», №5, 2005. www.engine.aviaport.ru/issues/39/page 26.html].
Недостатком наиболее близкого технического решения также является относительно низкий кпд.
Требуемый технический результат заключается в повышении кпд.
Технический результат достигается тем, что в устройстве, содержащем коленчатый вал горячей группы и коленчатый вал холодной группы, группу горячих цилиндров с поршнями и соответствующую ему группу шатунов, соединенных с одной стороны с горячими поршнями, а с другой стороны – с коленчатым валом горячей группы, группу холодных цилиндров с поршнями и соответствующую ему группу шатунов, соединенных с одной стороны с холодными поршнями, с другой стороны – с коленчатым валом холодной группы, группу трубок, соединяющих попарно холодные и горячие цилиндры и содержащих устройство регенерации тепла, трансмиссию, соединяющую коленчатый вал горячей группы с коленчатым валом холодной группы, топливный насос, камеру сгорания, компрессор подачи воздуха в камеру сгорания и теплообменник, размеры горячих цилиндров группы и холодных цилиндров группы выбираются из соотношения

где d – диаметр цилиндра;
С=2.185·10-5 – постоянная;
– коэффициент теплопроводности рабочего газа (воздуха);
– максимальная угловая скорость вращения коленчатого вала, при которой сохраняются изотермические процессы расширения-сжатия рабочего газа в цилиндрах;
Ср – удельная теплоемкость рабочего газа (воздуха) при постоянном давлении;
– плотность рабочего газа (воздуха).
Кроме того, требуемый технический результат достигается тем, что поршни группы горячих цилиндров и поршни группы холодных цилиндров выполнены без поршневых колец.
Кроме того, требуемый технический результат достигается тем, что группа горячих цилиндров с поршнями выполнена с теплоизоляцией.
Кроме того, требуемый технический результат достигается тем, что группа трубок, соединяющих попарно холодные и горячие цилиндры и содержащих устройство регенерации тепла, выполнена с теплоизоляцией.
Кроме того, требуемый технический результат достигается тем, что смазка трущихся поверхностей групп шатунов, коленчатых валов и трансмиссии осуществляется низкотемпературной смазкой (до 200°С).
Кроме того, требуемый технический результат достигается тем, что смазка трущихся поверхностей горячих цилиндров группы и холодных цилиндров группы осуществляется графитовой смазкой (до 450°С).
Кроме того, требуемый технический результат достигается тем, что шатуны и коленчатые валы помещаются в зону низкой температуры.
Кроме того, требуемый технический результат достигается тем, что трущиеся поверхности поршней и цилиндров не имеют смазки.
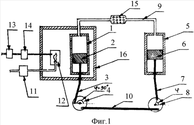
На фиг.1 представлена конструкция двигателя внешнего нагревания (для частного случая использования одного горячего и одного холодного цилиндров), на фиг.2 – диаграмма «давление-объем» двигателя внешнего нагревания.
Двигатель внешнего нагревания (фиг.1) содержит группу горячих цилиндров 1 с поршнями 2 и соответствующими ему шатунами 3, соединенными с одной стороны с горячими поршнями 2, а с другой стороны – с коленчатым валом 4 горячей группы.
Двигатель внешнего нагревания содержит также группу холодных цилиндров 5 с поршнями 6 и соответствующую ему группу шатунов 7, соединенных с одной стороны с холодными поршнями 6, с другой стороны – с коленчатым валом 8 холодной группы.
Кроме того, двигатель внешнего нагревания содержит группу трубок 9, соединяющих попарно холодные 5 и горячие 1 цилиндры и содержащих устройство 15 регенерации тепла, трансмиссию 10, соединяющую коленчатый вал 4 горячей группы с коленчатым валом 8 холодной группы, теплоизоляцию 16, топливный насос 11, камеру сгорания 12, компрессор 13 подачи воздуха в камеру сгорания и теплообменник 14.
При этом размеры горячих цилиндров 1 группы и холодных цилиндров 5 группы выбираются из соотношения

где d – диаметр цилиндра;
С=2.185·10-5 – постоянная – безразмерная величина, найденная в результате анализа математической модели цикла Стирлинга, построенная на основе общей системы уравнений динамики вязкой сжимаемой газовой среды;
– коэффициент теплопроводности рабочего газа (воздуха);
– максимальная угловая скорость вращения коленчатого вала (кривошипно-шатунного механизма), при которой сохраняются изотермические процессы расширения-сжатия рабочего газа в цилиндрах;
Ср – удельная теплоемкость рабочего газа (воздуха) при постоянном давлении;
– плотность рабочего газа (воздуха).
Соотношение (1) получено в результате анализа математической модели цикла Стирлинга, построенной на основе общей системы уравнений динамики вязкой сжимаемой газовой среды из условия максимизации кпд двигателя внешнего сгорания с учетом следующих предпосылок:
– холодный и горячий цилиндры разнесены в пространстве и имеют одинаковые размеры круглой (цилиндрической) формы;
– в качестве рабочего газа принят воздух;
– за модель воздуха принималось его представление в виде вязкой сжимаемой газовой среды;
– холодный и горячий цилиндры соединены трубкой с регенератором тепла;
– холодный и горячий цилиндры, а также трубка с регенератором тепла помещены в идеальный теплоизолятор;
– коэффициент трения поршней, размещенных внутри соответственно холодного и горячего цилиндров, близок к нулю;
– устройство преобразования продольного движения во вращательное, например кривошипно-шатунная пара, соединенная с коленчатым валом, помещены в зону низкой температуры.
Для характеристики условия сохранения изотермического процесса расширения-сжатия рассмотрим диаграмму «давление Р – объем V», представленную на фиг.2.
Выберем на линии расширения две точки так, чтобы приблизительно выполнялись равенства:
Р1=Рmin+0.7·(Рmax-Рmin)
Р2=Рmin+0.3·(Рmax-Рmin)
Этот участок хорошо описывается кривой следующего вида:
Р·Vk=const,
откуда
P1·V1k=P2·V2k
Показатель k для воздуха изменяется в пределах от 1 до 1.4. При значении k=1 процесс называется изотермическим (т.е. протекает при постоянной температуре), а при значении k=1.4 процесс называется адиабатическим (т.е. протекает при отсутствии теплообмена). При больших размерах цилиндров процесс близок к адиабатическому, а при малых – к изотермическому. Меру близости к изотермическому процессу мы предлагаем определять по условию
k<1.1
Работает двигатель внешнего нагревания следующим образом.
В двигателе внешнего нагревания (двигателе Стирлинга) камера сгорания 12 вынесена за пределы горячих цилиндров 1 и тепло, необходимое для произведения работы, передается внутрь горячих цилиндров 1 через их стенки. В холодном цилиндре 5 производится сжатие газа, после чего этот газ перемещается в горячий цилиндр 1, нагревается и в горячем цилиндре 1 производится его расширение, за счет чего производится механическая работа. Считается, что двигатель Стирлинга может иметь цикл, максимально приближенный к идеальному циклу Карно. В действительности, при работе двигателя Стирлинга традиционных размеров происходит сильное отклонение от идеального цикла Карно, поскольку сжатие газа и его расширение при работе двигателя Стирлинга происходит не по изотерме, а почти по адиабате. Указанное обстоятельство приводит к существенному снижению кпд двигателя Стирлинга традиционных размеров.
Для того чтобы сжатие и расширение газа происходили по изотерме, необходимо существенно увеличить отношение площади стенок цилиндра к его объему. Известны попытки осуществить это увеличение за счет введения в цилиндр и головку поршня специальных ребер, увеличивающих площадь поверхности металлических стенок. Однако эти решения не дают полноценного изотермического цикла, который можно получить уменьшением размеров цилиндров и поршней при соответствующем увеличении количества цилиндров и поршней для сохранения требуемой мощности двигателя.
Для того чтобы сжатие и расширение газа происходили по изотерме, необходимо существенно увеличить отношение площади стенок цилиндра к его объему, что можно получить уменьшением размеров цилиндров и поршней при соответствующем увеличении количества цилиндров и поршней для сохранения требуемой мощности двигателя.
В результате анализа математической модели цикла Стирлинга, построенной на основе общей системы уравнений динамики вязкой сжимаемой газовой среды из условия максимизации кпд двигателя внешнего сгорания, получено соотношение (1), позволяющее определить требования к диаметру цилиндров.
В результате, при выборе параметров цилиндров исходя из соотношения (1) увеличивается кпд двигателя внешнего сгорания, что приводит к достижению требуемого технического результата. Этот эффект усиливается за счет того, что устройство преобразования продольного движения поршней во вращательное движение вала размещают в зоне внешнего охладителя. Кроме того, шатуны групп крепятся одним концом к коленчатому валу, а другим – к штокам поршней, причем шатуны и коленчатые валы помещаются в зону низкой температуры.
В двигателе внешнего нагревания поршни 2 группы горячих цилиндров 1 и поршни 6 группы холодных цилиндров 5 могут быть выполнены без поршневых колец.
Кроме того, группа горячих цилиндров 1 с поршнями 2 может быть выполнена с теплоизоляцией, а группа трубок 9, соединяющих попарно холодные 5 и горячие 1 цилиндры и содержащих устройство регенерации, также может быть выполнена с теплоизоляцией.
При этом смазка трущихся поверхностей групп шатунов, коленчатых валов 4 и 8 и трансмиссии 10 осуществляется низкотемпературной смазкой (до 200°С), а смазка трущихся поверхностей горячих цилиндров 1 группы и холодных цилиндров 5 группы осуществляется графитовой смазкой (до 450°С).
Возможен также вариант применения двигателя внешнего нагревания, когда трущиеся поверхности поршней и цилиндров не имеют смазки. Это обусловлено тем, что изотермический процесс, характерный для двигателей внешнего нагревания, позволяет поддерживать практически одинаковую температуру поршня и цилиндра, поэтому зазор между ними можно сделать достаточно малым. Так, если разность температур между поршнем и цилиндром будет составлять 10°С, то при диаметре 10 мм различие в тепловом расширении для стальных цилиндров и поршней будет составлять около 1.2 мкм. Если дать дополнительный допуск на изготовление 1 мкм, то получим зазор 2.2 микрометра. Утечки воздуха при таком зазоре вполне допустимы. Положение еще больше улучшается при уменьшении диаметра цилиндров. Разность температур при этом уменьшается линейно с уменьшением диаметра.
Таким образом, благодаря выполнению цилиндров исходя из требований, определенных по соотношению (1) и другим указанным особенностям выполнения устройства, существенно увеличивается его кпд, что приводит к достижению требуемого технического результата.
Формула изобретения
1. Двигатель внешнего нагревания, содержащий коленчатый вал горячей группы и коленчатый вал холодной группы, группу горячих цилиндров с поршнями и соответствующую ему группу шатунов, соединенных с одной стороны с горячими поршнями, а с другой стороны – с коленчатым валом горячей группы, группу холодных цилиндров с поршнями и соответствующую ему группу шатунов, соединенных с одной стороны с холодными поршнями, с другой стороны – с коленчатым валом холодной группы, группу трубок, соединяющих попарно холодные и горячие цилиндры и содержащих устройство регенерации тепла, трансмиссию, соединяющую коленчатый вал горячей группы с коленчатым валом холодной группы, камеру сгорания, компрессор подачи воздуха в камеру сгорания и теплообменник, топливный насос, отличающийся тем, что размеры горячих цилиндров группы и холодных цилиндров группы выбираются из соотношения
где d – диаметр цилиндра;
С=2,185·10-5 – постоянная;
– коэффициент теплопроводности рабочего газа (воздуха);
– максимальная угловая скорость вращения коленчатого вала, при которой сохраняются изотермические процессы расширения-сжатия рабочего газа в цилиндрах;
Ср – удельная теплоемкость рабочего газа (воздуха) при постоянном давлении;
– плотность рабочего газа (воздуха).
2. Устройство по п.1, отличающееся тем, что поршни группы горячих цилиндров и поршни группы холодных цилиндров выполнены без поршневых колец.
3. Устройство по п.1, отличающееся тем, что группа горячих цилиндров с поршнями выполнена с теплоизоляцией.
4. Устройство по п.1, отличающееся тем, что группа трубок, соединяющих попарно холодные и горячие цилиндры и содержащих устройство регенерации тепла, выполнена с теплоизоляцией.
5. Устройство по п.1, отличающееся тем, что смазка трущихся поверхностей групп шатунов, коленчатых валов и трансмиссии осуществляется низкотемпературной смазкой (до 200°С).
6. Устройство по п.1, отличающееся тем, что смазка трущихся поверхностей горячих цилиндров группы и холодных цилиндров группы осуществляется графитовой смазкой (до 450°С).
7. Устройство по п.1, отличающееся тем, что шатуны и коленчатые валы помещаются в зону низкой температуры.
8. Устройство по п.1, отличающееся тем, что трущиеся поверхности поршней и цилиндров не имеют смазки.
РИСУНКИ
|