|
|
(21), (22) Заявка: 2004123223/06, 27.07.2004
(24) Дата начала отсчета срока действия патента:
27.07.2004
(30) Конвенционный приоритет:
28.07.2003 FR 0309219
(43) Дата публикации заявки: 27.01.2006
(46) Опубликовано: 27.08.2008
(56) Список документов, цитированных в отчете о поиске:
RU 2093697 С1, 20.10.1997. RU 2064062 С1, 20.07.1996. RU 2029117 С1, 20.20.1995. GB 2342693 А, 19.04.2000. US 4254618 А, 10.03.1981. US 4120150 А, 17.10.1978.
Адрес для переписки:
129010, Москва, ул. Б.Спасская, 25, стр.3, ООО “Юридическая фирма Городисский и Партнеры”, пат.пов. Г.Б. Егоровой, рег.№ 513
|
(72) Автор(ы):
ПАЛЬМИЗАНО Лоран (FR), ЯБЛОНСКИ Лоран (FR)
(73) Патентообладатель(и):
СНЕКМА МОТЕР (FR)
|
(54) ТЕПЛООБМЕННИК ДЛЯ КОНТУРА ВОЗДУШНОГО ОХЛАЖДЕНИЯ ТУРБИНЫ
(57) Реферат:
Способ подачи охлаждающего воздуха в горячие зоны турбореактивного двигателя, содержащего последовательно от входа к выходу компрессор, диффузор, камеру сгорания, направляющий сопловой аппарат и турбину, приводящую в действие указанный компрессор, заключается в том, что отбирают расход воздуха в воздушном потоке, подаваемом компрессором, охлаждаемом в теплообменнике, расположенном радиально снаружи камеры сгорания. Далее этот воздух направляют радиально внутрь через неподвижные лопатки направляющего соплового аппарата и обдувают рабочее колесо турбины. Расход охлаждающего воздуха отбирают в зоне нижней части камеры, окружающей диффузор. Неподвижные лопатки направляющего соплового аппарата обдувают вторым расходом воздуха, отбираемого в нижней части камеры. Изобретение позволяет уменьшить загрязнение теплообменника и повысить эффективность охлаждения направляющего соплового аппарата. 2 н. и 2 з.п. ф-лы, 2 ил.
Изобретение относится к турбореактивным двигателям и, в частности, касается охлаждения наиболее подверженных высокотемпературному воздействию элементов турбореактивных двигателей.
Благодаря улучшению термодинамического цикла достигнут значительный прогресс в турбореактивных двигателях в отношении снижения потребления топлива и увеличения их удельной мощности.
Указанное усовершенствование получено, в частности, за счет увеличения давления поступающего в камеру сгорания воздуха и увеличения температуры на входе турбины.
Однако увеличение температуры на входе турбины требует интенсивного охлаждения лопаток направляющего соплового аппарата и лопаток первой ступени турбины высокого давления, которая осуществляет привод компрессора высокого давления, причем именно эти лопатки подвергаются воздействию наиболее высоких температур и высокому уровню напряжений. Такое охлаждение обычно осуществляется отбором части потока воздуха под давлением через последнюю ступень компрессора высокого давления и обдувом участков, работающих в условиях высоких температур.
В современных турбореактивных двигателях с высокой степенью сжатия создаваемые компрессором высокие давления, способствующие повышению термодинамического кпд двигателя, сопровождаются значительным повышением температуры воздуха, поступающего в камеру сгорания. Это повышение температуры на выходе компрессора требует увеличения расхода отбора воздуха, необходимого для охлаждения турбины высокого давления, что ухудшает термодинамический кпд.
Для устранения этого недостатка было предложено охлаждать расход воздуха, отбираемого в теплообменнике, охлаждающей средой которого является свежий воздух, отбираемый во вторичном потоке, или другая среда, топливо или масло.
Патент США 5581996 предусматривает отбор воздуха в проточном тракте диффузора на входе в камеру сгорания. Отбираемый воздух охлаждается в теплообменнике, расположенном радиально снаружи камеры сгорания, затем возвращается внутрь двигателя через лопатки направляющего соплового аппарата, которые, таким образом, охлаждаются, и служит для охлаждения радиально расположенных внутренних участков камеры сгорания и частично лопаток первой ступени турбины.
Данный документ является наиболее близким уровнем техники изобретения, так как предусматривает охлаждение первого рабочего колеса турбины отбором воздуха на выходе из диффузора, который охлаждается в теплообменнике и который после охлаждения протекает через лопатки направляющего соплового аппарата турбины.
Отбор воздуха, осуществляемый в радиально расположенной наружной зоне проточного тракта на выходе из компрессора, связан, однако, с риском загрязнения теплообменника поступающей пылью. Кроме того, охлажденный воздух протекает через лопатки направляющего соплового аппарата турбины и служит для охлаждения стенок этих лопаток. Это приводит к повторному нагреву и уменьшению расхода воздуха, используемого в дальнейшем для охлаждения лопаток турбины.
Задачей изобретения является устранение недостатков, присущих известному решению, и подача расхода более прохладного воздуха для охлаждения рабочих лопаток турбины.
Таким образом, изобретение относится к способу подачи охлаждающего воздуха в горячие зоны турбореактивного двигателя, который последовательно от входа к выходу содержит компрессор, диффузор, камеру сгорания, направляющий сопловой аппарат и турбину, передающую вращение на указанный компрессор, причем согласно этому способу отбирается расход воздуха в воздушном потоке, подаваемом компрессором, который охлаждается в теплообменнике, расположенном радиально снаружи камеры сгорания, затем направляется радиально внутрь через неподвижные лопатки направляющего соплового аппарата и обдувает рабочее колесо турбины.
Способ согласно изобретению отличается тем, что указанный расход воздуха отбирается в зоне нижней части камеры, окружающей диффузор, при этом неподвижные лопатки направляющего соплового аппарата обдуваются вторым расходом воздуха, отбираемого в зоне нижней части камеры.
Таким образом, охлаждающий воздух, отбираемый в зоне нижней части камеры, окружающей диффузор, содержит наименьшее количество частиц, что уменьшает загрязнение теплообменника. Кроме того, так как лопатки направляющего соплового аппарата обдуваются вторым расходом воздуха, отбираемого в зоне нижней части камеры, то охлажденный воздух меньше нагревается при прохождении через направляющий сопловой аппарат и не отбирается в этом месте.
Согласно другому отличительному признаку изобретения под камерой сгорания отводится часть расхода охлажденного воздуха, который проходит через направляющий сопловой аппарат на последнюю ступень компрессора для охлаждения его ячеек.
Такая конструкция позволяет повысить продолжительность службы компрессора высокого давления, в частности, в турбореактивных двигателях военного назначения, которые могут подвергаться очень жестким режимам в течение короткого промежутка времени.
Изобретение относится также к турбореактивному двигателю, который последовательно от входа к выходу содержит компрессор, диффузор, камеру сгорания, направляющий сопловой аппарат и турбину, передающую вращение на указанный компрессор, а также содержит первый контур охлаждения со средствами для отбора воздуха в подаваемом компрессором потоке, теплообменник, расположенный радиально снаружи камеры сгорания и снабженный средствами для направления охлажденного воздуха через неподвижные лопатки направляющего соплового аппарата для обдува рабочего колеса турбины, и отличается тем, что средства отбора отбирают расход воздуха в зоне нижней части камеры, окружающей диффузор, и что указанный турбореактивный двигатель дополнительно содержит второй контур для охлаждения неподвижных лопаток направляющего соплового аппарата, которые отбирают воздух в нижней части камеры.
Предпочтительно, чтобы этот турбореактивный двигатель дополнительно содержал под камерой систему воздухопроводов для подачи части расхода воздуха, который проходит через направляющий сопловой аппарат на последнюю ступень компрессора.
Другие преимущества и отличительные признаки изобретения вытекают из нижеприведенного описания и из прилагаемых чертежей, в числе которых:
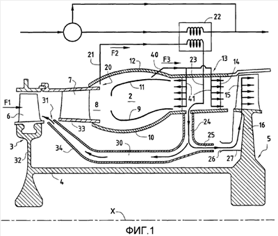
фиг.1 представляет собой схематичное изображение фрагмента корпуса высокого давления и камеры сгорания турбореактивного двигателя, содержащего средства охлаждения горячих зон согласно изобретению; и
фиг.2, аналогичная фиг.1, изображает вариант исполнения воздухопровода, перепускающего часть расхода охлажденного воздуха на последнюю ступень компрессора высокого давления.
Чертежи показывают фрагмент корпуса высокого давления турбореактивного двигателя с осью Х, содержащий на входе в кольцевую камеру сгорания 2 ротор компрессора 3 с представленной лишь последней ступенью, которому сообщается вращательное движение через вал 4 от ротора турбины 5 с представленным лишь первым рабочим колесом.
Как общепринято, последняя ступень ротора компрессора 3 содержит венец подвижных лопаток 6, который нагнетает первичный поток F1 воздуха, циркулирующий в кольцевом канале, и расположен перед неподвижным венцом спрямляющих лопаток 7, направляющим через диффузор 8 первичный поток F1 в камеру сгорания 2.
Кольцевая камера сгорания 2 ограничена в радиальном направлении внутренней стенкой 9, расположенной радиально снаружи внутреннего кожуха 10, и радиально наружной стенкой 11, расположенной радиально внутри наружного кожуха 12.
Стенки 9 и 11 соединяют соответственно внутренний кожух 10 и наружный кожух 12 на входе в направляющий сопловой аппарат 13, включающий множество спрямляющих лопаток 14, которые направляют поток на подвижные лопатки 15 первого рабочего колеса 16 ротора 5 турбины.
Часть воздушного потока F1, подаваемого через диффузор 8, служит для сжигания топлива, подаваемого в камеру сгорания 2 (не показанными на фиг.1) инжекторами. Другая часть этого воздуха обтекает стенки 9 и 11 камеры сгорания 2 и служит для охлаждения этих стенок, подверженных воздействию высоких температур, и кожухов 10 и 12, перед тем как она поступает в камеру 2 через дилюционные отверстия, или служит для охлаждения статоров и роторов турбины.
Назначение диффузора 8 состоит в уменьшении скорости истечения первичного потока F1 и в увеличении его давления на входе в камеру сгорания 2.
Отбор воздуха F2 согласно изобретению осуществляется в нижней части камеры в зоне 20, окружающей диффузор 8. Расход F2 направляется радиально снаружи, по меньшей мере, по одному каналу 21, протекает через теплообменник 22 и возвращается радиально внутрь двигателя по каналам 23, предусмотренным в лопатках 14 направляющего соплового аппарата 13, и попадает в проход 24, расположенный под направляющим сопловым аппаратом 13, откуда часть расхода воздуха F2 направляется в инжекторы 25, размещенные напротив отверстий 26, предусмотренных в переднем кольце 27 первого рабочего колеса 16 турбины, для охлаждения этого колеса 16, в частности лопаток 15 этого колеса.
Другая часть расхода F2, подаваемая в проход 24, может служить для охлаждения других элементов под камерой 2, в частности, ячейки последней ступени компрессора высокого давления 3.
С этой целью неподвижный воздухопровод 30 соединяет проход 24 с зоной 31, отделяющей диск последней ступени компрессора 3 и внутренний кожух 33, несущий спрямляющие лопатки 7. Этот воздухопровод 30 может быть выполнен кольцевым, с оборотом вокруг оси Х, и ограниченным радиально снаружи внутренним кожухом 10 и радиально изнутри обечайкой 34, как это показано на фиг.2. Он может быть выполнен также в виде множества каналов, простирающихся в направлении входа и распределенных вокруг оси Х.
Согласно другому отличительному признаку изобретения, показанному на фиг.1, лопатки 14 направляющего соплового аппарата 13 охлаждаются вторым контуром охлаждения 40, который отбирает расход воздуха F3 в выходной зоне полости, отделяющей наружную стенку 11 и наружный кожух 12, причем этот расход воздуха F3 протекает по каналам 41, предусмотренным в стенке спрямляющих лопаток 14 и отделенным от каналов 23, и выходит через отверстия на наружные поверхности лопаток 14, а именно на передние кромки и на задние кромки.
Благодаря такой конструкции из потока F2 не производится какой-либо отбор воздуха для охлаждения лопаток 14 направляющего соплового аппарата 13, который охлаждается в основном потоком F3, и поток F2 подвергается меньшему нагреву при прохождении через лопатки 14.
Используемой в теплообменнике 22 охлаждающей средой может быть воздух, отбираемый во вторичном контуре турбореактивного двигателя при помощи воздухозаборника. Может быть также использован воздух контроля зазора турбины или масло задней полости как источник холода и, отчасти, топливо, поступающее в камеру сгорания 2.
В том случае, когда источник холода теплообменника 22 отбирается во вторичном контуре двухвального турбореактивного двигателя, оборудованного вентилятором, расход воздуха может регулироваться на этапах полета, когда теплообменник больше не нужен, например в крейсерском режиме.
Система воздушного охлаждения согласно настоящему изобретению предназначена, в частности, для турбореактивных двигателей с высокой степенью повышения давления. Она применима также к двухвальным двухконтурным турбореактивным двигателям гражданского назначения, оборудованным вентиляторами с высокой степенью двухконтурности, в которых давление воздуха, подаваемое в камеру сгорания 2, может достигать 30 бар во время фазы взлета. В этих турбореактивных двигателях температура сжатого воздуха может достигать 700°C, и охлаждение воздуха, отбираемого при этой температуре, необходимо в течение всей критической фазы взлета. В крейсерском режиме температура сжатого воздуха снижается примерно до 300°C, и охлаждение воздуха, отбираемого из теплообменника 22, больше не является необходимым, что улучшает общий кпд двигателя в этом режиме.
Формула изобретения
1. Способ подачи охлаждающего воздуха в горячие зоны турбореактивного двигателя, содержащего последовательно от входа к выходу компрессор (3), диффузор (8), камеру сгорания (2), направляющий сопловой аппарат (13) и турбину (5), приводящую в действие указанный компрессор (3), согласно которому отбирают расход воздуха (F2) в воздушном потоке (F1), подаваемом компрессором (3), охлаждаемом в теплообменнике (22), расположенном радиально снаружи камеры сгорания (2), направляют его радиально внутрь через неподвижные лопатки (14) направляющего соплового аппарата (13) и обдувают рабочее колесо (16) турбины (5), отличающийся тем, что расход охлаждающего воздуха (F2) отбирают в зоне (20) нижней части камеры, окружающей диффузор (8), причем неподвижные лопатки (14) направляющего соплового аппарата (13) обдувают вторым расходом воздуха (F3), отбираемого в нижней части камеры.
2. Способ по п.1, отличающийся тем, что под камерой сгорания (2) отводят часть расхода воздуха (F2), который проходит через направляющий сопловой аппарат (13) в направлении последней ступени компрессора (3) для охлаждения его ячейки.
3. Турбореактивный двигатель, содержащий последовательно от входа к выходу компрессор (3), диффузор (8), камеру сгорания (2), направляющий сопловой аппарат (13) и турбину (5), приводящую в действие указанный компрессор (3), а также содержащий первый контур охлаждения со средствами для отбора воздуха в потоке (F1), подаваемом компрессором (3), теплообменник (22), расположенный радиально снаружи камеры сгорания (2), и средства для направления охлажденного воздуха через неподвижные лопатки (14) направляющего соплового аппарата (13) для обдува рабочего колеса (16) турбины (5), отличающийся тем, что средства отбора отбирают расход воздуха (F2) в зоне (20) нижней части камеры, окружающей диффузор (8), причем турбореактивный двигатель дополнительно содержит второй контур (40) для охлаждения неподвижных лопаток (14) направляющего соплового аппарата (13), которые отбирают воздух в нижней части камеры.
4. Турбореактивный двигатель по п.3, отличающийся тем, что под камерой (2) дополнительно предусмотрена система воздухопроводов (30) для подачи части расхода воздуха (F2), который проходит через направляющий сопловой аппарат (13) в направлении последней ступени компрессора (3).
РИСУНКИ
PD4A – Изменение наименования обладателя патента СССР или патента Российской Федерации на изобретение
(73) Новое наименование патентообладателя:
СНЕКМА (FR)
Адрес для переписки:
129090, Москва, ул. Б.Спасская, 25, стр. 3, ООО “Юридическая фирма Городисский и Партнеры”
Извещение опубликовано: 27.12.2008 БИ: 36/2008
|
|