|
|
(21), (22) Заявка: 2006139579/06, 07.11.2006
(24) Дата начала отсчета срока действия патента:
07.11.2006
(46) Опубликовано: 27.08.2008
(56) Список документов, цитированных в отчете о поиске:
ТРУХНИЙ А.Д. и др. Теплофикационные паровые турбины и турбоустановки. – М.: издательство МЭИ, 2002, с.127. SU 973880 A1, 15.11.1982. SU 1712632 A1, 15.02.1992. SU 1726789 A1, 15.04.1992. RU 2154170 C1, 10.08.2000. US 4783191 А, 08.11.1988. ЕР 0056171 А1, 21.07.1982.
Адрес для переписки:
620017, г.Екатеринбург, ул. Фронтовых бригад, 18, ЗАО “Уральский турбинный завод”
|
(72) Автор(ы):
Баринберг Григорий Давидович (RU), Сахнин Юрий Абрамович (RU)
(73) Патентообладатель(и):
Закрытое акционерное общество “Уральский турбинный завод” (RU)
|
(54) СПОСОБ ТЕПЛОВОГО ПЕРЕМЕЩЕНИЯ КОРПУСА ПЕРЕДНЕГО ПОДШИПНИКА И ЦИЛИНДРА ПАРОВОЙ ТУРБИНЫ
(57) Реферат:
Изобретение относится к теплоэнергетике и может быть использовано на электростанциях при эксплуатации паровых турбин. Задачей изобретения является обеспечение надежного теплового перемещения корпуса переднего подшипника и цилиндра паровой турбины, согласно которому тепловое расширение цилиндра осуществляют от фикспункта, расположенного на опоре выхлопной части цилиндра и образованного пересечением осей горизонтальных продольной и поперечных шпонок, а осевое положение цилиндра фиксируют продольными горизонтальными и вертикальной шпонками. В корпусе переднего подшипника создают дополнительный фикспункт в виде пересечения осей горизонтальных продольных и поперечных шпонок, передние лапы цилиндра опирают на стойки, не соединенные с корпусом переднего подшипника, и в результате этого осуществляют независимое тепловое перемещение корпуса переднего подшипника и цилиндра. 1 ил.
Изобретение относится к теплоэнергетике и может быть использовано на электростанциях при эксплуатации паровых турбин.
Известен способ совместного теплового перемещения корпуса переднего подшипника и цилиндра паровой турбины, согласно которому их перемещение относительно фундамента осуществляют от фиспункта, образованного системой поперечных и вертикальных шпонок с размещением поперечных шпонок в конденсационной турбине на выхлопной части либо под отдельно установленным корпусом заднего подшипника в турбине с противодавлением. При этом тепловое перемещение вдоль оси турбины обеспечивают гибкой листовой опорой, расположенной под корпусом переднего подшипника или под лапами турбины, а также вертикальной шпонкой, расположенной в выхлопном патрубке, либо гибкой опорой и продольными шпонками, расположенными под отдельно стоящим корпусом подшипника (см., например, Паровые турбины малой мощности КТЗ. М., Энергоатомиздат, 1987, с.10-13).
Указанный способ совместного теплового перемещения корпуса переднего подшипника и цилиндра паровой турбины имеет следующие недостатки:
1. Невозможность восприятия гибкой опорой тепловых перемещений цилиндра турбины в поперечном направлении. Для исключения влияния этих перемещений в верхней части листовой опоры для лап цилиндра выполняют поперечные шпонки. Однако при развороте листовой опоры вслед за поперечными тепловыми перемещениями цилиндра происходит закусывание шпоночного паза лап и поперечных шпонок гибкой опоры, что может привести к расцентровке турбины в боковом направлении.
2. При установке гибкой листовой опоры под корпусом переднего подшипника возможна расцентровка цилиндра турбины в вертикальном направлении из-за разницы тепловых перемещений в вертикальном направлении опор корпуса переднего подшипника и выхлопной части цилиндра турбины.
Известен также способ совместного теплового расширения корпуса переднего подшипника и цилиндра турбины, согласно которому их перемещение осуществляют от фикспункта, расположенного на опоре выхлопной части и образованного пересечением осей продольной и поперечной шпонок, и передают перемещение цилиндра на корпус переднего подшипника двумя лапами в передней части цилиндра через поперечные шпонки, жестко закрепленные на опорных площадках, выполненных в корпусе переднего подшипника (см., например, А.Д.Трухний, Б.В.Ломакин. Теплофикационные паровые турбины и турбоустановки. М., Издательство МЭИ. 2002, с.127).
Этот способ является ближайшим к заявленному, но обладает следующими недостатками:
1. Усилие от цилиндра, передаваемое через лапы и толкающее корпус переднего подшипника, приложено к поверхности поперечных шпонок, что может создавать опрокидывающий момент относительно поверхности скольжения корпуса переднего подшипника, приводить к закусыванию металла на поверхности скольжения и прекращению в результате этого его теплового перемещения, возникновению задеваний ротора за пределами цилиндра, его вибрации, а также к кручению ригеля фундамента.
2. Неравномерность поля температур цилиндра может приводить к разным по величине тепловым перемещениям лап цилиндра, закусыванию по поверхности поперечных шпонок, развороту корпуса цилиндра по поверхности скольжения, закусыванию по продольным шпонкам, прекращению теплового перемещения корпуса переднего подшипника, возникновению задеваний ротора за пределами цилиндра, его вибрации, а также к кручению ригеля фундамента.
Задачей заявляемого изобретения является обеспечение надежного теплового перемещения корпуса переднего подшипника и цилиндра паровой турбины, согласно которому тепловое расширение цилиндра осуществляют от фиспункта, расположенного на опоре выхлопной части цилиндра и образованного пересечением осей горизонтальных продольной и поперечных шпонок, а осевое положение цилиндра фиксируют продольными горизонтальными и вертикальной шпонками.
Указанная задача достигается тем, что в корпусе переднего подшипника создают дополнительный фикспункт в виде пересечения осей горизонтальных продольной и поперечных шпонок, передние лапы цилиндра опирают на стойки, не соединенные с корпусом переднего подшипника, и в результате этого осуществляют независимое тепловое перемещение корпуса переднего подшипника и цилиндра.
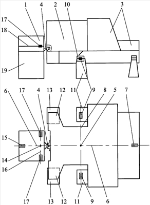
На чертеже изображена принципиальная схема теплового перемещения корпуса переднего подшипника и цилиндра паровой турбины для реализации данного способа.
Паровая турбина содержит корпус переднего подшипника 1, цилиндр 2 с выхлопной частью 3, соединенные между собой продольной вертикальной шпонкой 4, фикспункт 5, образованный пересечением оси 6 горизонтальной продольной шпонки 7 с осью 8 горизонтальных поперечных шпонок 9, расположенных в плоскости скольжения 10 цилиндра 2 по опоре 11, передние лапы 12 цилиндра 2, опирающиеся на стойки 13, не соединенные с корпусом переднего подшипника 1, дополнительный фикспункт 14, образованный пересечением оси 6 горизонтальной продольной шпонки 15 с осью 16 горизонтальных поперечных шпонок 17, расположенных в плоскости скольжения 18 корпуса переднего подшипника 1 по опоре 19.
Способ осуществляют следующим образом.
Тепловое перемещение цилиндра 2 паровой турбины осуществляют от фикспункта 5 вдоль плоскости скольжения 10 и передних лап 12 по стойкам 13, не соединенным с корпусом переднего подшипника 1, а тепловое перемещение корпуса переднего подшипника 1 осуществляют от дополнительного фикспункта 14 вдоль плоскости скольжения 18. Осевое положение цилиндра 2 фиксируют горизонтальными продольными шпонками 7, 15 и вертикальной шпонкой 4.
В результате опирания передних лап 12 на стойки 13 при неравномерном поле температур цилиндра 2 и в связи с этим разными по величине перемещениям передних лап 12, закусывании по поверхности поперечных шпонок 9, развороте корпуса цилиндра 2 предотвращают возможность передачи усилия от цилиндра 2 на корпус переднего подшипника 1, его толкания, а также создания опрокидывающего момента относительно поверхности скольжения 10 в результате приложения сил к поверхности поперечных шпонок 9 и прекращения теплового перемещения цилиндра 2.
Кроме того, предотвращают возможность задевания ротора за пределами цилиндра 2, его вибрации, а также кручения ригеля фундамента.
Благодаря наличию дополнительного фикспункта 14 предотвращают возможность восприятия усилий от цилиндра 2, толкания корпуса переднего подшипника 1, создания опрокидывающего момента, закусывания металла и прекращения в результате этого теплового перемещения корпуса переднего подшипника.
Формула изобретения
Способ теплового перемещения корпуса переднего подшипника и цилиндра паровой турбины, согласно которому тепловое расширение цилиндра осуществляют от фикспункта, расположенного на опоре выхлопной части цилиндра и образованного пересечением осей горизонтальных продольной и поперечных шпонок, осевое положение цилиндра фиксируют продольными горизонтальными и вертикальной шпонками, отличающийся тем, что в корпусе переднего подшипника создают дополнительный фикспункт в виде пересечения осей горизонтальных продольной и поперечных шпонок, передние лапы цилиндра опирают на стойки, не соединенные с корпусом переднего подшипника, и в результате этого осуществляют независимое тепловое перемещение корпуса переднего подшипника и цилиндра.
РИСУНКИ
|
|