|
|
(21), (22) Заявка: 2007101676/06, 18.01.2007
(24) Дата начала отсчета срока действия патента:
18.01.2007
(46) Опубликовано: 27.08.2008
(56) Список документов, цитированных в отчете о поиске:
SU 283237 А, 01.01.1970. RU 2022121 С1, 30.10.1994. SU 205026 A1, 01.01.1967. RU 52104 U1, 10.03.2006. JP 20011065303 А, 13.03.2003. US 5984628 A, 16.11.1999.
Адрес для переписки:
115280, Москва, Автозаводская, 14/23, ОАО “ВТИ”, патентный отдел
|
(72) Автор(ы):
Беляков Анатолий Васильевич (RU), Резинских Владимир Федорович (RU), Горбачев Алексей Николаевич (RU), Федотов Андрей Олегович (RU), Тарзанов Андрей Владимирович (RU), Гардюта Игорь Олегович (RU)
(73) Патентообладатель(и):
Открытое акционерное общество “Всероссийский дважды ордена Трудового Красного Знамени теплотехнический научно-исследовательский институт” (ВТИ) (RU)
|
(54) ВЛАЖНО-ПАРОВАЯ СТУПЕНЬ ТУРБИНЫ С УВЕЛИЧЕННЫМ РЕСУРСОМ РАБОТЫ
(57) Реферат:
Изобретение относится к области энергомашиностроения и может быть использовано во влажно-паровых турбинах или в последних ступенях конденсационных паровых турбин. Достигаемым результатом изобретения является увеличение ресурса работы влажно-паровой ступени турбины при конструктивной простоте технического решения. Указанный результат обеспечивается тем, что согласно изобретению часть рабочих лопаток ступени выполнена с выступающей на одинаковую величину за передний по ходу рабочей среды торец диска частью входной кромки пера лопатки в пределах осевого зазора между диафрагмой и рабочим колесом, причем лопатки с выступающей частью входной кромки расположены равномерно по окружности диска. При этом число лопаток с выступающей частью входной кромки пера составляет 3-7% от общего числа рабочих лопаток, величина выступающей части входной кромки пера лопатки в направлении диафрагмы составляет 0,1-0,3 величины осевого зазора между диафрагмой и рабочим колесом, а ширина – 0,2-0,4 длины пера рабочей лопатки. 2 ил.
Изобретение относится к области энергомашиностроения и может быть использовано во влажно-паровых турбинах или в последних ступенях конденсационных паровых турбин.
Известна принимаемая в качестве ближайшего аналога влажно-паровая ступень турбины, содержащая диафрагму и рабочее колесо в виде диска с установленными на нем рабочими лопатками, каждая из которых имеет перо с входной и выходной кромками [1]. В известной ступени для предотвращения эрозионного износа рабочих лопаток предусмотрено влагоулавливающее устройство. Такое решение конструктивно сложно в реализации и не может обеспечить достаточной степени улавливания влаги для существенного уменьшения эрозии и соответственного увеличения ресурса работы влажно-паровой ступени.
Достигаемым результатом изобретения является увеличение ресурса работы влажно-паровой ступени турбины при конструктивной простоте технического решения.
Указанный результат обеспечивается тем, что во влажно-паровой ступени турбины, содержащей диафрагму и рабочее колесо в виде диска с установленными на нем рабочими лопатками, каждая из которых имеет перо с входной и выходной кромками, согласно изобретению часть рабочих лопаток выполнена с выступающей на одинаковую величину за передний по ходу рабочей среды торец диска частью входной кромки пера в пределах осевого зазора между диафрагмой и рабочим колесом, причем лопатки с выступающей частью входной кромки расположены равномерно по окружности диска. При этом число лопаток с выступающей частью входной кромки пера составляет 3-7% от общего числа рабочих лопаток, величина выступающей части входной кромки пера лопатки в направлении диафрагмы составляет 0,1-0,3 величины осевого зазора между диафрагмой и рабочим колесом, а ширина – 0,2-0,4 длины пера рабочей лопатки.
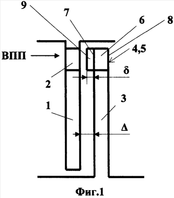
На фиг.1. схематически изображена влажно-паровая ступень турбины согласно изобретению; на фиг.2 – частичная развертка рабочего колеса ступени по лопаточному аппарату в среднем сечении лопаток.
Влажно-паровая ступень турбины согласно изобретению содержит диафрагму 1 (фиг.1) с сопловыми лопатками 2 и рабочее колесо в виде диска 3 с установленными на нем основными рабочими лопатками 4 и дополнительными рабочими «жертвенными» лопатками 5. Каждая лопатка 4 и 5 имеет перо 6 с входной кромкой 7 и выходной кромкой 8. Лопатки 5 расположены равномерно по окружности диска 3 (на чертеже не показано) и выполнены с выступающей на одинаковую величину за передний по ходу рабочей среды торец диска 3 частью 9 входной кромки 7 пера 6 в пределах осевого зазора (фиг.1) между диафрагмой 1 и диском 3 рабочего колеса. Число лопаток 5 с выступающей частью входной кромки 7 пера 6 составляет 3-7% от общего числа рабочих лопаток 4 и 5. Равномерное размещение дополнительных лопаток 5 среди основных лопаток 4 позволяет исключить дисбаланс вращающихся масс, могущий привести к разрушению рабочего колеса турбинной ступени. Величина выступающей части 9 входной кромки 7 пера 6 лопатки 5 в направлении диафрагмы 1 составляет 0,1÷0,3 величины осевого зазора между диафрагмой 1 и диском 3 рабочего колеса, а ширина b – 0,2-0,4 длины L пера 6 рабочей лопатки 5.
Влажно-паровая ступень турбины согласно изобретению работает следующим образом. Влажно-паровой поток ВПП рабочей среды из сопловых лопаток 2 диафрагмы 1 поступает на рабочие лопатки 4 и 5 рабочего колеса, приводя его во вращение. Как показали эксперименты, эрозионный износ под действием ВПП происходит только по отношению к «жертвенным» рабочим лопаткам 5 с выступающей частью 9 входной кромки 7. Основные лопатки 4 при этом остаются совершенно чистыми, что позволяет значительно увеличить ресурс работы влажно-паровой турбинной ступени и сократить расходы на ее дорогостоящий ремонт.
Источники информации
1. Авторское свидетельство №283237 SU, F01D 25/32, 1968.
Формула изобретения
1. Влажно-паровая ступень турбины, содержащая диафрагму и рабочее колесо в виде диска с установленными на нем рабочими лопатками, каждая из которых имеет перо с входной и выходной кромками, отличающаяся тем, что часть рабочих лопаток выполнена с выступающей на одинаковую величину за передний по ходу рабочей среды торец диска частью входной кромки пера в пределах осевого зазора между диафрагмой и рабочим колесом, причем лопатки с выступающей частью входной кромки расположены равномерно по окружности диска.
2. Влажно-паровая ступень турбины по п.1, отличающаяся тем, что число лопаток с выступающей частью входной кромки пера составляет 3-7% от общего числа рабочих лопаток.
3. Влажно-паровая ступень турбины по п.1 или 2, отличающаяся тем, что величина выступающей части входной кромки пера лопатки в направлении диафрагмы составляет 0,1-0,3 величины осевого зазора между диафрагмой и рабочим колесом, а ширина – 0,2-0,4 длины пера рабочей лопатки.
РИСУНКИ
|
|