|
|
(21), (22) Заявка: 2005140566/03, 25.05.2004
(24) Дата начала отсчета срока действия патента:
25.05.2004
(30) Конвенционный приоритет:
26.05.2003 EP 03076613.3
(43) Дата публикации заявки: 27.06.2006
(46) Опубликовано: 27.08.2008
(56) Список документов, цитированных в отчете о поиске:
ЕР 0563561 А1, 19.02.1993. SU 1033693 А, 07.08.1983. SU 1560061 A3, 23.04.1990. RU 2021473 С1, 15.10.1994. US 3269470 А1, 30.08.1966. US 5025875 А, 25.06.1991. US 6253864 B1, 03.07.2001. WO 03/042492 A1, 22.05.2003. WO 03/031763 A1, 17.04.2003. ИВАНОВ К.И. и др. Техника бурения при разработке месторождений полезных ископаемых. – М.: Недра, 1987, с.223-226.
(85) Дата перевода заявки PCT на национальную фазу:
26.12.2005
(86) Заявка PCT:
EP 2004/050913 (25.05.2004)
(87) Публикация PCT:
WO 2004/104363 (02.12.2004)
Адрес для переписки:
129090, Москва, ул. Б.Спасская, 25, стр. 3, ООО “Юридическая фирма Городисский и Партнеры”, пат.пов. С.Р.Абубакирову, рег.№ 931
|
(72) Автор(ы):
КРУШ Антонью Мария Гимараеш Лейте (NL)
(73) Патентообладатель(и):
ШЕЛЛ ИНТЕРНЭШНЛ РИСЕРЧ МААТСХАППИЙ Б.В. (NL)
|
(54) БУРОВОЕ ДОЛОТО, СИСТЕМА И СПОСОБ БУРЕНИЯ СТВОЛА СКВАЖИНЫ В ПОДЗЕМНОЙ ФОРМАЦИИ
(57) Реферат:
Группа изобретений относится к буровому долоту, к буровой скважине и к способу бурения ствола скважины в подземной формации. Буровое долото имеет центральную продольную ось и способно работать при сообщении вращательного движения вокруг центральной продольной оси и выборочно продольного возвратно-поступательного движения буровому долоту для осуществления ударного воздействия на забой скважины. Долото содержит поверхность, снабженную множеством скалывающих режущих элементов, имеющих гребковую поверхность, приспособленную для создания скоблящего перемещения по забою скважины при сообщении вращательного движения. Гребковая поверхность во время работы обращена к направлению вращения под передним углом в тыльной плоскости, не превышающим 90° и определенным как угол, заключенный между проекцией линии, перпендикулярной к гребковой поверхности на плоскости, заданной центральной продольной осью и направлением касательной составляющей скорости скалывающего режущего элемента, и плоскостью, перпендикулярной к продольной оси. При этом один или несколько скалывающих режущих элементов снабжены режущей плоской ударной поверхностью, по существу параллельной плоскости, перпендикулярной к продольной оси. Буровая система содержит бурильную колонну, снабженную вышеописанным буровым долотом. Способ бурения скважины включает использование буровой системы. Обеспечивает повышение долговечности и эффективности скалывающих режущих элементов. 3 н. и 9 з.п. ф-лы, 7 ил.
Настоящее изобретение относится к буровому долоту, предназначенному для бурения ствола скважины в подземной формации, имеющему центральную продольную ось и способному действовать при сообщении по меньшей мере вращательного движения вокруг центральной продольной оси и выборочно продольного возвратно-поступательного движения к буровому долоту для осуществления ударного воздействия на забой ствола скважины.
Изобретение также относится к буровой системе, предназначенной для бурения подземной формации, содержащей бурильную колонну, снабженную таким буровым долотом, и к способу бурения ствола скважины в подземном пласте породы.
Буровая система, содержащая ударное скалывающее буровое долото, известна и описана в патенте США №6253864. На фиг.4 указанного патента США показано ударное скалывающее долото, имеющее монолитный корпус, средство для прикрепления к бурильной колонне и множество лопастей, вмещающих множество скалывающих режущих элементов. Отверстия для выпуска жидкости расположены на головке монолитного корпуса между лопастями. Лопасти имеют ряды гнезд для размещения скалывающих режущих элементов и уступов, которые проходят по каждой лопасти до режущих элементов. Уступ служит для направления обломков выбуренной породы от рабочей поверхности долота.
При работе известное ударное скалывающее буровое долото вращается вокруг продольной оси, скалывая пласт породы во время вращения бурового долота. В то же самое время молоток ударяет по буровому долоту, тем самым создавая дополнительную ударную силу бурения. Скалывающие режущие элементы специально рассчитаны на противостояние необычным напряжениям, создаваемым комбинированным ударным/скалывающим бурением, поскольку дистальный участок скалывающего режущего элемента скруглен для предотвращения больших локализованных напряжений в режущих элементах. Поэтому в скалывающих режущих элементах существует сочетание поперечного и осевого резания.
Установлено, что в известной буровой системе существует опасность возникновения прерывистого крутильного колебания во время бурения пластов пород некоторых типов. Когда это происходит, долото захватывается в пласте породы и останавливается в то время, как бурильная колонна скручивается наземным вращательным приводом до тех пор, пока оно внезапно не освобождается при относительно высокой частоте вращения. Такое прерывистое крутильное колебание повторяется периодически, и вследствие высокой частоты вращения, связанной с прерывистым крутильным колебанием, может произойти отрыв режущих элементов от бурового долота.
Согласно первому объекту изобретения предложено буровое долото для бурения ствола скважины в пласте породы, при этом буровое долото имеет центральную продольную ось и способно работать при сообщении по меньшей мере вращательного движения вокруг центральной продольной оси и выборочном сообщении продольного возвратно-поступательного движения буровому долоту для создания ударного воздействия на забой скважины, буровое долото содержит поверхность, снабженную множеством скалывающих режущих элементов, имеющих гребковую поверхность, приспособленную для создания скоблящего перемещения по забою скважины при сообщении вращательного движения и обращенную во время работы к направлению вращения под передним углом в тыльной плоскости, не превышающим 90° и определяемым как угол, заключенный между проекцией линии, перпендикулярной к гребковой поверхности на плоскости, заданной центральной продольной осью и направлением касательной составляющей скорости скалывающего режущего элемента, и плоскостью, перпендикулярной к продольной оси, при этом в дополнение к скребковой поверхности один или несколько скалывающих режущих элементов снабжены предварительно режущей плоской ударной поверхностью, ориентированной по существу параллельно плоскости, перпендикулярной к продольной оси.
Установлено, что буровое долото, снабженное скалывающими режущими элементами, имеющими предварительно режущую плоскую ударную поверхность, меньше подвержено прерывистым крутильным колебаниям в буровой системе. Не намереваясь ограничиться этой теорией, заявитель считает, что для прерывистого крутильного колебания характерна тенденция к снижению вследствие того, что предварительно режущая плоская ударная поверхность может меньше внедряться в материал породы в забое скважины, чем гребковая поверхность, заканчивающаяся относительно острой верхней кромкой. В особенности это происходит, когда буровое долото одновременно подвергается воздействию пробивающих ударов.
Установлено, что, когда буровое долото подвергается воздействию необязательных пробивающих ударов, предварительно режущая плоская ударная поверхность скалывающих режущих элементов оказывается относительно износостойкой по сравнению со скалывающими режущими элементами, не имеющими предварительно режущей плоской ударной поверхности. Это может быть результатом эффекта распределения ударных напряжений по плоской ударной поверхности.
В особенно выгодном варианте осуществления изобретения буровое долото в дополнение к скалывающим режущим элементам с предварительно режущими плоскими ударными поверхностями также снабжено множеством осевых режущих элементов, имеющих обращенную вниз куполообразную или по существу полусферическую режущую поверхность. Посредством этого достигается особая пригодность бурового долота для ударной работы.
Осевые режущие элементы могут быть оптимизированы для использования осевых ударов без необходимости иметь скалывающую способность. Поэтому для таких осевых режущих элементов характерна меньшая тенденция к созданию прерывистых крутильных колебаний, чем для скалывающих режущих элементов, и, следовательно, они могут быть добавлены к буровому долоту без повышения опасности возникновения прерывистых крутильных колебаний.
При добавлении таких осевых режущих элементов необязательные пробивающие удары распределяются по большому числу режущих элементов, в результате чего повышается эксплуатационная долговечность буровой системы.
Для получения дополнительного преимущества от снабжения такими осевыми режущими элементами осевые режущие элементы могут быть оптимизированы в части противостояния осевым ударам, тогда как скалывающие режущие элементы могут быть независимо оптимизированы для поперечного резания без учета возможности осевого резания.
В частности, скалывающие режущие элементы могут иметь более высокую эффективность резания, чем осевые режущие элементы.
В частности, осевые режущие элементы могут лучше противостоять осевым ударам, чем скалывающие режущие элементы.
Согласно второму объекту изобретения предложена буровая система для бурения скважины в подземной формации, содержащая бурильную колонну, снабженную буровым долотом согласно первому объекту изобретения, вращательное приводное средство для вращения бурового долота в скважине вокруг центральной продольной оси долота для создания скоблящего перемещения скалывающих режущих элементов по забою скважины.
Факультативно буровая система также содержит осевое приводное средство для создания продольного возвратно-поступательного движения бурового долота в скважине для осуществления ударного воздействия на забой скважины.
Согласно третьему объекту изобретения предложен способ бурения скважины в подземной формации, включающий обеспечение буровой системы согласно второму объекту, размещение бурового долота напротив подземной формации, которая подлежит бурению, осуществление вращения бурового долота вокруг продольной оси и в то же время сохранение воздействия на буровое долото в осевом направлении и выборочно прерывистую подачу пробивающих ударов на буровое долото.
Далее изобретение будет пояснено для примера со ссылками на сопровождающие чертежи, на которых изображено следующее:
фиг.1а изображает перспективный вид шестидюймового трехлопастного ударного бурового долота согласно изобретению;
фиг.1b – вид сверху торцевой поверхности ударного бурового долота, показанного на фиг.1а;
фиг.2 – схематический вид различных скалывающих режущих элементов, имеющих предварительно режущую плоскую ударную поверхность;
фиг.3а – перспективный вид шестидюймового четырехлопастного ударного бурового долота согласно другому варианту осуществления изобретения;
фиг.3b – вид сверху торцевой поверхности ударного бурового долота, показанного на фиг.3а;
фиг.4 – вид сверху торцевой поверхности восьмидюймового долота согласно еще одному варианту осуществления изобретения, имеющего 8 лопастей;
фиг.5 – схематическое сечение компоновки режущих элементов.
На чертежах аналогичные детали имеют идентичные позиции.
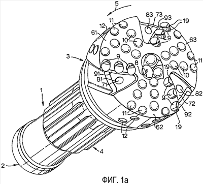
На фиг.1а показан перспективный вид трехлопастного ударного бурового долота согласно изобретению. Буровое долото содержит хвостовик 1, проходящий в продольном направлении вокруг центральной продольной оси бурового долота и приспособленный для установки внутри бурильной колонны. Задний конец хвостовика присоединен к ударной поверхности 2, предназначенной для получения ударов от ударного молота, предпочтительно от пневматического молота с возвратно-поступательным движением поршня (непоказанного). Передний конец хвостовика присоединен к буровой головке 3. Хвостовик 1 снабжен множеством пазов 4, проходящих по хвостовику 1 по существу в продольном направлении. Пазы 4 служат для вращательного соединения бурильной колонны и хвостовика 1, так что буровое долото может действовать при сообщении ему как осевого ударного движения, так и вращательного движения вокруг центральной продольной оси.
На фиг.1а и 1b буровая головка 3 снабжена тремя лопастями 61, 62 и 63, которые выступают от бурового долота. Участки между лопастями 61, 62, 63 снабжены выемками по отношению к лопастям и таким образом образуют каналы 71, 72, 73 потоков. Каналы 71, 72, 73 потоков проходят по существу радиально по буровой головке 3.
В буровой головке 3 выполнен центральный проход 8, предназначенный для пропускания промывочной жидкости. В дополнение к центральному проходу 8 или вместо него могут быть предусмотрены проходы 81, 82, 83 в каналах 71, 72, 73 между лопастями 61, 62, 63. Все проходы соединены с центральным продольным отверстием (непоказанным), проходящим через хвостовик 1.
При бурении углеводородной скважины бурильная колонна обычно вращается в направлении по часовой стрелке. На фиг.1а и 1b стрелками 5 показано направление вращательного движения, которое при работе сообщается буровому долоту.
Таким образом, лопасти 61, 62, 63 имеют передние (относительно направления 5 вращения) кромки 91, 92, 93. На передней кромке 91, 92, 93 каждой соответствующей лопасти 61, 62, 63 расположены в ряд скалывающие режущие элементы 9. Каждый ряд скалывающих режущих элементов 9 имеет канал потока, взаимодействующий с ним непосредственно перед (относительно направления 5 вращения) рядом скалывающих режущих элементов 9. Скалывающие режущие элементы 9 имеют форму, оптимизированную для скобления по забою скважины и, следовательно, скалывания кусков пласта породы с забоя скважины. В дополнение к гребковой поверхности скалывающие режущие элементы 9 на дистальных участках снабжены предварительно режущей плоской ударной поверхностью 19, которая будет рассмотрена более подробно ниже со ссылкой на фиг.2.
Позади каждого ряда скалывающих режущих элементов 9 и, таким образом, сзади относительно каждого ряда скалывающих режущих элементов 9 на лопастях 61, 62, 63 расположены осевые режущие элементы 10, 11. Осевые режущие элементы 10, 11 имеют форму, оптимизированную для осевого выдалбливания пласта породы в забое скважины, и, следовательно, могут дробить пласт породы.
Наружные периферийные участки лопастей 61, 62, 63 могут быть снабжены калиброванными защитными элементами 12, предпочтительно покрытыми поликристаллическими алмазами.
Скалывающие режущие элементы 9 представляют собой вставные режущие элементы из поликристаллических алмазов. На фиг.2 схематически показано расположение предварительно режущей плоской ударной поверхности 19 на этих скалывающих режущих элементах для различных глубин предварительного резания, составляющих 1 мм, 2 мм и 3 мм. Глубина предварительного резания соответствует обычному расстоянию между предварительно режущей ударной поверхностью и верхней точкой 18, в которой сходятся корпус хвостовика скалывающего режущего элемента и гребковая поверхность. Передний угол в тыльной плоскости гребковой поверхности каждого из этих скалывающих режущих элементов составляет, например, 40°, но применим любой угол, меньший, чем 90°. Ударная поверхность 19 имеет передний угол в тыльной плоскости ударной поверхности, который больше, чем передний угол в тыльной плоскости скребковой поверхности. Наилучший результат достигается, когда передний угол в тыльной плоскости ударной поверхности равен по существу 90°.
Можно видеть, что площадь предварительно режущей плоской ударной поверхности возрастает по мере увеличения глубины предварительного резания. Предпочтительно, чтобы глубина предварительного резания составляла от 1 до 3 мм.
На фиг.3а показан перспективный вид, а на фиг.3b вид сверху варианта бурового долота изобретения, имеющего четыре лопасти 6 и соответственно четыре канала 7 потоков. В остальном этот вариант аналогичен варианту, показанному на фиг.1а и 1b. В частности, предварительно режущие плоские ударные поверхности и, предпочтительно, также расположение рядов скалывающих режущих элементов 9 на передних кромках лопастей, и расположение осевых режущих элементов 10, 11 на находящихся сзади местах относительно рядов скалывающих режущих элементов 9 такие же, как в рассмотренном первом варианте осуществления.
Диаметр наружного контура ударных буровых долот, показанных на фиг.1а и 1b и на фиг.3а и 3b, составляет 6 дюймов, что соответствует приблизительно 15 см. Вариант торцевой поверхности долота размером 8 дюймов (что соответствует наружному диаметру приблизительно 20 см) показан на фиг.4. Этот вариант осуществления основан на восьми лопастях 6 и соответствующем числе каналов 7 потоков. Каждый канал 7 потока снабжен проходом 81 для обеспечения возможности протекания промывочной жидкости в соответствующий канал потока. Поскольку эта торцевая поверхность долота из фиг.4 имеет больший диаметр по сравнению с торцевыми поверхностями, показанными на фиг.1 и 3, то может быть размещено большее число скалывающих режущих элементов 9 и осевых режущих элементов 10, 11.
В рассмотренных выше ударных буровых долотах, показанных на фиг.3а и 3b и на фиг.4, скалывающие режущие элементы в первом указанном ряду расположены в иных радиальных положениях, чем скалывающие режущие элементы во втором указанном ряду на другой лопасти. Таким образом при вращении бурового долота промежутки, остающиеся между соседними скалывающими режущими элементами в одном ряду, покрываются скалывающими режущими элементами в следующем ряду на другой лопасти. В идеальном случае круговые траектории совокупности скалывающих режущих элементов слегка перекрываются, так что на протяжении большей части площади поверхности забоя скважины получается непрерывная полоса поперечного резания.
На фиг.5 показано схематическое представление конструкции режущего элемента в сечении. Видимыми являются лопасть 6 и ее передняя кромка 91. Скалывающий режущий элемент 9 расположен на передней кромке 91 или вблизи нее для поперечного резания формаций 13 породы и соскабливания срезанных обломков породы 20 в канал 71 потока. Позади скалывающего режущего элемента 9 относительно направления 5 вращения находится осевой режущий элемент 10.
Скалывающий режущий элемент 9 имеет в поперечном сечении форму , в результате чего набегающая наклонная сторона соответствует гребковой поверхности. Нижняя сторона 19 образует предварительно режущую плоскую ударную поверхность, которая проходит по существу перпендикулярно к центральной продольной оси бурового долота и при нормальной работе по существу параллельна забою скважины. Наклонная сторона соответствует хвостовику 14 скалывающего режущего элемента, изготовленного из твердого материала, в качестве которого пригоден карбид вольфрама.
Гребковая поверхность, обращенная к соответствующему каналу 71 потока, покрыта слоем 15 поликристаллического алмаза. Такой скалывающий режущий элемент, имеющий режущую поверхность из поликристаллического алмаза, известен как вставной режущий элемент из поликристаллического алмаза или вставной режущий элемент, армированный поликристаллическими алмазами. В зависимости от переднего угла в тыльной плоскости гребковой поверхности, толщины слоя 15 и глубины предварительного резания на предварительно режущей плоской ударной поверхности 19 виден только слой 15 поликристаллического алмаза или в дополнение к нему также виден хвостовик скалывающего режущего элемента, как в случае на фиг.5.
Осевой режущий элемент 10 образован из хвостовика 16, который по меньшей мере на одной стороне снабжен полусферической или куполообразной режущей поверхностью 17. Режущий элемент изготовлен из твердого материала, в качестве которого подходящим материалом является карбид вольфрама. Факультативно режущий элемент может быть снабжен слоем поликристаллического алмаза, при этом образуется вставной осевой режущий элемент, армированный поликристаллическим алмазом.
Для полной защиты скалывающих режущих элементов 9 от воздействия пробивающей ударной силы их можно углубить относительно осевых режущих элементов 10, 11 так, чтобы осевые режущие элементы 10, 11 ударялись о породу 13 в забое скважины до того, как это выполнит скалывающий режущий элемент 9. В идеальном случае, когда осевые режущие элементы 10, 11 только начинают проникать в новый кусок породы 13, углубленное размещение обуславливает возвышение скалывающего режущего элемента 9 над породой 13 в забое скважины с нахождением его на высоте, соответствующей величине углубления. Когда следует удар, конечная глубина проникновения скалывающего режущего элемента 9 оказывается меньше, чем конечная глубина проникновения осевых режущих элементов 10, 11, на величину, соответствующую величине углубления. Любая величина углубления оказывает положительное влияние на эксплуатационную долговечность скалывающих режущих элементов, но рекомендуется размещение с углублением на по меньшей мере 0,25 мм, в то время как на по меньшей мере 0,50 мм является предпочтительным.
В вариантах, показанных на фиг.1а и 1b, фиг.3а и 3b и фиг.4, самые удаленные от центра осевые режущие элементы 11 представляют собой вставные осевые режущие элементы, армированные поликристаллическими алмазами, а другие осевые режущие элементы 10 представляют собой осевые режущие элементы из карбида вольфрама. Следовательно, на этих торцевых поверхностях долот самые удаленные от центра осевые режущие элементы 11 являются более твердыми и/или более стойкими к истиранию, чем остальные осевые режущие элементы 10.
При работе ударное буровое долото включают в состав буровой системы, в результате чего ударное буровое долото удерживается бурильной колонной. Буровая система также содержит вращательное приводное средство для вращения бурового долота в стволе скважины для осуществления соскабливающего перемещения скалывающего режущего элемента по забою скважины и выборочно осевое приводное средство для создания продольного возвратно-поступательного движения бурового долота в скважине для осуществления по меньшей мере осевыми режущими элементами воздействия на забой скважины, при этом как первое, так и второе приводные средства работают одновременно. Предпочтительно, чтобы осевое приводное средство было образовано молотом, более предпочтительно, чтобы оно было образовано пневматическим молотом с возвратно-поступательным движением поршня. Во время операции бурения промывочную жидкость закачивают через бурильную колонну, которая находится в сообщении по текучей среде с проходами 8, 81, 82, 83. Подходящими промывочными жидкостями являются буровой раствор, вода, жидкие углеводороды или пена, и их можно менять в зависимости от типа пробуриваемого пласта.
Как можно лучше всего видеть на фиг.5, как осевые режущие элементы 10, 11, так и скалывающие режущие элементы 9 находятся в контакте с формацией 13, так что пробивающее ударное воздействие распределяется по мере возможности по многим режущим элементам. Посредством этого поддерживается максимально возможная эксплуатационная долговечность режущих элементов. Чтобы уменьшить концентрацию ударного напряжения, воздействующего на скалывающие режущие элементы, скалывающие режущие элементы снабжены предварительно режущими ударными поверхностями, описанными выше. Эти предварительно режущие ударные поверхности, которые можно рассматривать как предварительно режущие поверхности трения, также являются полезными для уменьшения тенденции к возбуждению в буровой системе так называемых прерывистых крутильных колебаний.
В результате осевых пробивающих ударов формация 13 под режущими элементами раздробляется. Поскольку долото вращается, скалывающие режущие элементы 9 скоблят по поверхности забоя скважины, а из срезанных обломков породы и бурового раствора образуются каменная мука и буровой шлам. Каменная мука и буровой шлам продвигаются к передней стороне скалывающих режущих элементов 9, где имеется канал 7 потока с промывочной жидкостью, протекающей по нему в направлении по существу по радиусу наружу. Отсюда соскобленные, срезанные обломки породы вымываются в кольцевое пространство ствола скважины и удаляются из участка забоя скважины.
Чтобы дополнительно содействовать вымыванию срезанных обломков породы по каналам потоков, гребковая поверхность каждого скалывающего режущего элемента может иметь дополнительный наклон относительно радиального направления бурового долота, при этом дополнительный наклон такой, что гребковая поверхность продвигает выбуренные обломки породы от пласта породы в радиальном направлении наружу или в радиальном направлении внутрь.
Типичные рабочие условия, подходящие для буровых долот, описанных выше, включают в себя осевую нагрузку на долото, находящуюся в пределах от 3 до 6 т. Величина ударной энергии, развиваемой на буровом долоте на один пробивающий удар, может находиться в пределах от 0,3 кДж до 5 кДж. Обычно буровую систему можно эксплуатировать при использовании ударной мощности от 10 до 50 кВт и при частоте ударов от 9 до 30 Гц.
Буровые долота, показанные и описанные выше, снабжены как скалывающими режущими элементами, так и осевыми режущими элементами. Однако, поскольку ни их работа, ни работа предварительно режущей плоской ударной поверхности не зависят от наличия осевых режущих элементов, скалывающие режущие элементы, имеющие предварительно режущую плоскую ударную поверхность, также могут быть применены в буровых долотах в отсутствие отдельных осевых режущих элементов и будут работоспособными либо при вращательном движении, либо с или без какого-либо ударного движения.
Кроме того, только для примера буровые долота из описанных выше вариантов имеют наружные диаметры 6 дюймов и 8 дюймов. Должно быть понятно, что аналогичным образом могут быть использованы другие диаметры. Точно так же изобретение не ограничено показанным числом лопастей. Может быть предусмотрено любое число лопастей.
Формула изобретения
1. Буровое долото для бурения скважины в подземной формации, имеющее центральную продольную ось, способное работать при сообщении, по меньшей мере, вращательного движения вокруг центральной продольной оси и выборочно при сообщении продольного возвратно-поступательного движения буровому долоту для осуществления ударного воздействия на забой скважины, и содержащее поверхность, снабженную множеством скалывающих режущих элементов, имеющих гребковую поверхность, приспособленную для создания скоблящего перемещения по забою скважины при сообщении вращательного движения и во время работы обращенную к направлению вращения под передним углом в тыльной плоскости гребковой поверхности, не превышающим 90° и определенным как угол, заключенный между проекцией линии, перпендикулярной к гребковой поверхности на плоскости, заданной центральной продольной осью и направлением касательной составляющей скорости скалывающего режущего элемента, и плоскостью, перпендикулярной к продольной оси, при этом в дополнение к скребковой поверхности один или несколько скалывающих режущих элементов снабжены предварительно режущей плоской ударной поверхностью, ориентированной, по существу, параллельно плоскости, перпендикулярной к продольной оси.
2. Буровое долото по п.1, в котором ударная поверхность имеет передний угол в тыльной плоскости ударной поверхности, превышающий передний угол в тыльной плоскости гребковой поверхности, при этом передний угол в тыльной плоскости ударной поверхности определяется аналогично переднему углу в тыльной плоскости скребковой поверхности.
3. Буровое долото по п.2, в котором передний угол в тыльной плоскости ударной поверхности равен по существу 90°.
4. Буровое долото по любому одному из предшествующих пунктов, в котором скалывающие режущие элементы размещены в по существу радиально выровненных рядах.
5. Буровое долото по п.4, в котором скалывающие режущие элементы в первом ряду и скалывающие режущие элементы во втором ряду, прилегающем к первому ряду, имеют гребковые поверхности в различных радиальных положениях.
6. Буровое долото по любому одному из пп.1-3, в котором каждый режущий элемент представляет собой вставной режущий элемент из поликристаллического алмаза, включающий хвостовик, выполненный из основного материала, и верхний слой, выполненный из поликристаллического алмаза.
7. Буровое долото по любому одному из пп.1-3, в котором скребковая поверхность каждого скалывающего режущего элемента имеет дополнительный наклон относительно радиального направления бурового долота, который является таким, что при работе скребковая поверхность продвигает обломки выбуренной породы от пласта породы в направлении радиально наружу или радиально внутрь.
8. Буровое долото по любому одному из пп.1-3, в котором каждый скалывающий режущий элемент имеет продольное сечение по форме .
9. Буровое долото по любому одному из пп.1-3, в котором указанная поверхность дополнительно включает множество осевых режущих элементов, имеющих каждый обращенную вниз куполообразную или по существу полусферической формы режущую поверхность.
10. Буровая система для бурения скважины в подземной формации, содержащая бурильную колонну, снабженную буровым долотом по любому одному из предшествующих пунктов, и вращательное приводное средство для вращения бурового долота в скважины вокруг центральной продольной оси долота для создания скоблящего перемещения скалывающих режущих элементов по забою скважины.
11. Буровая система по п.10, дополнительно содержащая осевое приводное средство для создания продольного возвратно-поступательного движения бурового долота в скважине для создания ударного воздействия на забой скважины.
12. Способ бурения скважины в подземной формации, включающий обеспечение буровой системы по п.10 или 11, размещение бурового долота напротив подземной формации, подлежащей бурению, осуществление вращения бурового долота вокруг продольной оси и в то же время сохранение воздействия на буровое долото в осевом направлении и выборочную прерывистую подачу пробивающих ударов на буровое долото.
РИСУНКИ
MM4A – Досрочное прекращение действия патента СССР или патента Российской Федерации на изобретение из-за неуплаты в установленный срок пошлины за поддержание патента в силе
Дата прекращения действия патента: 26.05.2009
Извещение опубликовано: 20.07.2010 БИ: 20/2010
|
|