|
|
(21), (22) Заявка: 2006112016/03, 19.08.2004
(24) Дата начала отсчета срока действия патента:
19.08.2004
(30) Конвенционный приоритет:
12.09.2003 DE 10342302.8
(43) Дата публикации заявки: 10.11.2007
(46) Опубликовано: 27.08.2008
(56) Список документов, цитированных в отчете о поиске:
WO 9605399 A1, 22.02.1996. US 4676293 А, 30.06.1987. US 5025847 А, 25.06.1991. US 5299617 А, 05.04.1994. SU 1051198 А, 30.10.1983.
(85) Дата перевода заявки PCT на национальную фазу:
12.04.2006
(86) Заявка PCT:
EP 2004/009315 (19.08.2004)
(87) Публикация PCT:
WO 2005/028798 (31.03.2005)
Адрес для переписки:
129090, Москва, ул. Б.Спасская, 25, стр. 3, ООО “Юридическая фирма Городисский и Партнеры”, пат.пов. С.Р.Абубакирову, рег.№ 931
|
(72) Автор(ы):
РЕЙК Петра (DE)
(73) Патентообладатель(и):
РЕЙК Петра (DE)
|
(54) ПОДЪЕМНАЯ ЖАЛЮЗИЙНАЯ ДВЕРЬ, ИМЕЮЩАЯ ЗАЩИТУ ОТ СОУДАРЕНИЯ
(57) Реферат:
Изобретение относится к области строительства, а именно к устройствам для перекрытия проемов. Изобретение позволит обеспечить предотвращение поломки двери. Подъемная жалюзийная дверь имеет дверное полотно, боковые направляющие. Дверное полотно выполнено разделенным на несколько частей, продолжающихся в направлении перемещения подъемной жалюзийной двери так, что периферийная часть, направляемая в боковых направляющих, расположена с обеих сторон. Центральная часть, продолжающаяся между двумя периферийными частями, выполненными разъемными, прикреплена к периферийным частям. Дверное полотно выполнено с навесной полоской, с обеих сторон имеющей множество поддающихся сгибанию шарнирных элементов, соединенных друг с другом, которые направляются в боковых направляющих посредством роликов, с торцевым элементом в самой нижней части, шарнирным средством, расположенным на дверном полотне рядом с навесной полоской на противоположной стороне от боковых направляющих в области торцевого элемента. Шарнирное средство разъемно соединено с примыкающей навесной полоской и выполнено с возможностью отклонения по меньшей мере торцевого элемента напротив навесной полоски наружу от плоскости дверного полотна. Дверь содержит блок управления, имеющий датчик с отклонением торцевого элемента или примыкающей подсекции дверного полотна напротив плоскости дверного полотна, которое становится обнаруживаемым посредством датчика, и с блоком управления. 11 з.п. ф-лы, 10 ил.
Изобретение касается подъемной жалюзийной двери, в частности быстродвижущейся промышленной двери, имеющей дверное полотно, закрывающее дверной проем и направляемое в боковых направляющих, и выполненное, например, как армированный лист из пластинок, гибких подвесок и т.д.
Многие такие подъемные двери практически известны, и эти подъемные двери испытывали и проверяли долгое время. Они служат для закрывания проемов различных видов и в частном, и в коммерческом секторе. При открывании дверное полотно наматывается в области перемычки двери и, относительно других пластин намотанного дверного полотна, направляется бесконтактным способом в круглой спирали или удлиненной спирали. Предшествующий вариант осуществления, в частности, используют для промышленного применения, поскольку он обеспечивает возможность достигать высоких скоростей перемещения, принимая во внимание длительный срок службы и надежность.
Такие быстродвижущиеся промышленные двери, оказывается, отличаются надежностью закрывания весьма часто встречающихся дверных проемов. Вследствие высокого быстродействия 3 м/с и более, которого зачастую достигают, можно часто закрывать такие промышленные двери между двумя последующими проходами автопогрузчика или подобного транспорта и таким образом создавать защиту от климатических воздействий, сквозняков или потери атмосферы с кондиционированным воздухом в комнате. Однако необходимо предпринимать значительные усилия, относящиеся к конструкции, для конструирования такой системы дверей, чтобы она могла противостоять напряжению при динамических нагрузках, возникающих при таких высоких скоростях, в течение продолжительного периода. Особенно необходимо направлять дверное полотно точно и с низким коэффициентом трения.
В заявках DE 4015214 A, DE 4015215 A и DE 4015216 A на патент Германии приведены примеры таких подъемных жалюзийных дверей, в которых дверное полотно выполнено из множества алюминиевых пластинок, соединенных друг с другом, которые обеспечивают возможность выполнения изгибающего движения. Навесные полоски накладывают на эти пластинки, с роликами, выполненными на участке шарниров этих навесных полосок, которыми они направляются в боковых направляющих этих промышленных дверей. Эти направляющие согнуты в верхней области дверного проема к внутренней части двери так, что в открытом положении промышленной двери дверное полотно снабжено, как удлиненная катушка в области дверной перемычки, отдельными пластинками, хранящимися там бесконтактным способом. Торцевой элемент, обычно выполненный с кромкой уплотнения или подобным элементом на нижней стороне, образует часть дверного полотна, заканчивающуюся у самой нижней части.
Дополнительный пример такой быстродвижущейся промышленной двери известен из патента DE 19915376 А1, в котором пластинки выполнены из экструдированной пластмассы типа GFK или PMMA (полиметилметакрилат), и которая может полностью или только частично содержать прозрачную конструкцию. В соответствии с конструкцией промышленной двери, как описано в прототипе, дверное полотно в открытом положении размещено в спиральной секции, имеющей непрерывно изогнутую спиральную форму в области дверной перемычки. В результате, конструкция дверного полотна, имеющая полностью или частично прозрачные пластинки, обеспечивает преимущество предоставления возможности видеть по другую сторону двери, даже когда дверь закрыта. Соответственно уже перед открыванием двери, водитель автопогрузчика способен проверять, свободна ли дорога с другой стороны двери.
Наконец, так называемый “STR высокоскоростной турбо подъемной двери” заявителя представляет другую дверь, известную из практики. Дверное полотно упомянутой промышленной двери содержит гибкие подвески, прикрепленные к множеству профилей жесткости, каждый из которых расположен поперек дверного полотна в поперечном направлении к боковым направляющим, соединяющим два шарнирных элемента от навесных полосок, соединенных друг с другом. Таким образом, вместе с навесными полосками, профили жесткости образуют своего рода опорные подмости, которые обеспечивают механическую устойчивость дверного полотна. С другой стороны, гибкие подвески создают плоское закрывание так, что это дверное полотно в целом отличается низким весом. Также, как в уже рассмотренных конструкциях промышленных дверей предшествующего уровня техники, упомянутое дверное полотно направляют с обеих сторон посредством роликов, зацепляющихся с шарнирными элементами, и обеспечивают возможность направления его в области перемычки бесконтактным способом в спиральной или в удлиненной катушке. Поэтому упомянутая промышленная дверь обеспечивает возможность работы на очень высоких скоростях, например 4 м/с. Поскольку подвески этой промышленной двери, которая известна из практики, кроме того, прикреплены к каждому профилю жесткости посредством усиливающей планки, зацепляющейся с подрезным углублением в соответственно соединенном профиле жесткости, подвеска надежно препятствует выпячиванию, например, под действием ветровой нагрузки. Кроме того, упомянутые подвески позволяют разделять дверное полотно на отдельные секции для того, чтобы дать возможность конструировать подсекции дверного полотна прозрачными для обеспечения уже описанного эффекта способности осматривать область за закрытой дверью.
Однако все эти известные конструкции подъемных жалюзийных дверей имеют недостаток, заключающийся в том, что они часто повреждаются при соударениях, например, с автопогрузчиками или подобным транспортом, так что их можно использовать только на ограниченном основании, или может оказаться, что больше нельзя использовать. Это, в частности, имеет место, когда скорость движения двери очень высокая, и поэтому водители транспортных средств, проезжающие через дверной проем, не всегда могут правильно оценивать ее результат. В этом контексте, торцевой элемент, зачастую прикрепленный к нижнему концу дверного полотна, наибольшим образом подвергается опасности, поскольку по нему могут ударять, как раз когда дверное полотно не открыли должным образом, или он может сталкиваться с объектами в плоскости дверного полотна во время заключительного процесса. В то время как последней проблемы можно избежать, обеспечивая систему безопасности посредством отражающего свет экрана на двери, например известного из DE 19739543 и DE 19739544 A, соударения, вызываемого транспортными средствами, прибывающими со стороны, не всегда можно избежать.
Обычным последствием такого соударения является деформированный или сломанный торцевой элемент и некоторые пластмассовые или алюминиевые пластинки, смежные с торцевым элементом, или частичные секции гибких подвесок и отдельных профилей жесткости из STR высокоскоростной турбо подъемной двери, которое известно из практики, можно точно также повредить. Таким образом, эти элементы разрушаются и должны быть заменены, что требует времени и рабочей силы. Кроме того, часто необходимо иметь соответствующие запасные части, которые поставляют на место, так что подъемная жалюзийная дверь становится временно не способна в достаточной степени закрывать дверной проем.
Кроме того, из обычных подъемных жалюзийных дверей, имеющих гибкие подвески типа описанных, например, в заявках DE 4313062 A1 и DE 4313063 A1 на патент Германии, известно обеспечение гибкого направляющего элемента с обеих сторон на торцевом профиле, который свободно зацепляется с боковыми направляющими способом проушины и направляется в них. Кроме того, с этой подъемной жалюзийной дверью предшествующего уровня техники торцевой элемент выполнен из пластмассы, имеющей низкую жесткость при изгибе и высокую упругость при деформации ввиду достаточной ударопрочности, так что она может упруго отклоняться при воздействии усилия в направлении, перпендикулярном плоскости дверного полотна. Если такое отклонение превышает некоторую величину, это приведет к тому, что гибкие направляющие элементы в конце концов отцепятся от боковых направляющих, при этом торцевой элемент совсем выйдет из направляющих. В этой подъемной жалюзийной двери предшествующего уровня техники повреждение обычно обеспечивает возможность поднимать дверное полотно автоматически и независимо повторно вводить в верхний конец направляющей через воронкообразное удлинение. Поскольку вследствие уже упомянутых выгодных свойств материала торцевой элемент особенно подходит для осуществления противостояния такому внешнему воздействию неразрушающим способом, обычно можно беспрепятственно продолжать действие упомянутой подъемной жалюзийной двери предшествующего уровня техники.
Однако упомянутая система защиты от соударения предшествующего уровня техники имеет свои ограничения, потому что торцевой элемент нельзя образовать так, чтобы он имел какую-либо степень “мягкости”, поскольку иначе он больше не сможет служить своей задаче, как усиливающий элемент. От соударений некоторой степени и/или некоторой частоты упомянутый элемент также подвергается разрушению. Кроме того, имеются различные причины для того, чтобы подъемная жалюзийная дверь, известная из DE 4313062 А1 и DE 4313063 А1, не подходила для высокоскоростного действия. Например, подвески только свободно удерживаются в боковых направляющих так, что они могут отцепляться от вертикальных направляющих дверного проема, когда они подвергаются воздействию сильного ветра или любому другому проявлению ручного воздействия, и возникают другие обстоятельства нагрузки. Однако для высокоскоростного действия дверное полотно необходимо точно и надежно направлять в боковых направляющих, которые обычно обеспечены роликами, прикрепленными к шарнирным элементам, как описано ранее в этой заявке. Только такой точный, бесконтактный направляющий процесс с низким трением дверного полотна позволяет надежно принимать такие динамические нагрузки, возникающие при таких высоких скоростях. Хотя защита от соударения, как известно и из DE 4313062 А1, и из DE 4313063 А1, возможно, хорошо испытана для использования в подъемной жалюзийной двери, имеющей гибкие подвески и используемой на скоростях максимум 2 м/с; однако она не подходит для использования в быстродвижущейся промышленной двери.
Таким образом, необходима подъемная жалюзийная дверь, в частности, быстродвижущаяся промышленная дверь, которая даже в случае соударения не обязательно повреждалась до такой степени, при которой необходимо заменять части и, таким образом, в ее функциональности становилась временно ограниченной.
Задача изобретения состоит в том, чтобы дополнительно разработать подъемную жалюзийную дверь в соответствии с преамбулой так, чтобы дверное полотно было менее восприимчивым к разрушению элементов дверного полотна в случае внешнего воздействия, типа соударений с автопогрузчиком.
Эта задача достигается путем создания подъемной жалюзийной двери, имеющей признаки п.1 формулы изобретения, которая, в частности, отличается тем, что в подсекции, обращенной к посадочному месту подъемной жалюзийной двери, дверное полотно разделено на несколько частей, продолжающихся в направлении движения подъемной жалюзийной двери так, что обеспечена периферийная часть с обеих сторон, которая направляется в боковых направляющих, при этом по меньшей мере центральная часть расположена между двумя периферийными частями, которые разъемным образом удерживаются в периферийных частях.
Таким образом, изобретение предлагает полностью новую конструкцию, в которой дверное полотно впервые составлено из нескольких частей в одной своей подсекции, причем эти части продолжаются в направлении движения подъемной жалюзийной двери, являясь способными отклоняться друг от друга в плоскости дверного полотна. Таким образом, для центральной части дверного полотна, которая обычно подвергается соударению, возможно предотвратить удар в результате внешнего воздействия. Соответственно любое повреждение, затрагивающее функциональность дверного полотна, можно фактически предотвращать. Чтобы возвратить функцию обеспечения закрывания дверного полотна, будет достаточно снова вернуть развернутую центральную часть в плоскость примыкающих периферийных частей и восстановить оставшиеся соединения.
Согласно изобретению даже в случае соударения непосредственно дверное полотно будет надежно удержано в боковых направляющих, поскольку две периферийные части не отклоняются центральной частью. Таким образом, функциональность обладающей признаками изобретения подъемной жалюзийной двери также возможна вслед за случаем соударения.
Дополнительно обладающая признаками изобретения подъемная жалюзийная дверь способна обеспечивать некоторые конструктивные меры и не затрагивает действующие характеристики, достигаемые в обычных системах. При дополнительном включении надежной защиты соударения дверь не восприимчива к каким-либо внешним воздействиям, со значительно уменьшенной опасностью повреждения дверного полотна.
Таким образом, обладающую признаками изобретения многоэлементную конструкцию дверного полотна в нижней подсекции можно реализовывать, в принципе, во всех известных системах подъемных жалюзийных дверей, так что изобретение предлагает универсальные возможности применения.
Предпочтительные дополнительные варианты осуществления обладающей признаками изобретения подъемной жалюзийной двери являются предметом подпунктов формулы изобретения.
Таким образом, дверное полотно подъемной жалюзийной двери может содержать навесные полоски с обеих ее сторон, имеющие множество шарнирных элементов, соединенных друг с другом и обеспечивающих возможность выполнения движений изгиба, с упомянутыми шарнирными элементами, направляемыми в боковых направляющих, и с дверным полотном, дополнительно содержащим торцевой элемент самой нижней части и, прикрепленный к дверному полотну соответственно в примыкающем отношении к навесной полосе на стороне, обращенной от боковых направляющих, по меньшей мере в области торцевого элемента обеспечено дополнительное шарнирное средство, которое съемным образом соединено с соответствующей примыкающей навесной полоской, и посредством которого по меньшей мере торцевой элемент напротив навесных полос можно отклонять от плоскости дверного полотна.
Соответственно новая конструкция отличается тем, что, впервые, своего рода двойное шарнирное устройство выполнено по меньшей мере в торцевом элементе. Таким образом, навесные полоски по-прежнему надежно направляются в боковых направляющих так, что высокоскоростные рабочие характеристики, как главным образом желательно, по-прежнему достижимы. Кроме того, дополнительное шарнирное средство напротив примыкающей навесной полоски предназначено для отклонения так, что торцевой элемент способен избегать удара в результате внешнего воздействия, типа соударения с автопогрузчиком. Таким образом, фактически можно предотвратить какое-либо повреждение, затрагивающее функциональность торцевого элемента. Функциональные возможности дверного полотна можно восстанавливать, просто возвращая торцевой элемент в плоскость дверного полотна, без необходимости использования каких-либо инструментов или даже запасных частей.
Таким образом, обладающая признаками изобретения подъемная жалюзийная дверь способна обеспечивать надежную защиту от соударения с помощью немногих конструктивных мер, которые следует предпринять, и без какого-либо неблагоприятного воздействия на ее высокоскоростные рабочие характеристики, которые известны в предшествующем уровне технике и часто требуются, так что дверь значительно менее восприимчива к внешнему воздействию, с чрезмерно уменьшенной опасностью разрушения отдельных элементов дверного полотна.
В результате, дополнительное шарнирное средство можно выполнить таким образом, что кроме торцевого элемента можно отклонять подсекцию дверного полотна напротив навесных полосок от плоскости дверного полотна, с упомянутым дверным полотном, примыкающим к торцевому элементу и продолжающимся поперек одного или более шарнирных элементов. Это обеспечивает преимущество, заключающееся в том, что в случае довольно сильного соударения или соударения, затрагивающего не только торцевой элемент, но также и соседние пластинки или области секции, также можно использовать в своих интересах обладающее признаками изобретения качество затронутых элементов дверного полотна, способных избегать повреждения из-за отклонения от плоскости дверного полотна. Таким образом, защита от соударения дверного полотна улучшена, и обладающая признаками изобретения промышленная дверь таким образом сделана еще менее восприимчивой к внешним воздействиям.
Если дополнительное шарнирное средство выполнено так, что торцевой элемент или подсекция дверного полотна после этого способна отклоняться в обе стороны от плоскости дверного полотна, обладающая признаками изобретения защита от соударения может стать эффективной, причем функциональные возможности обладающей признаками изобретения подъемной жалюзийной двери дополнительно улучшены.
Соответственно дополнительное шарнирное средство можно прикреплять посредством по меньшей мере одного защелочного соединения напротив соответствующей примыкающей навесной полоски. Таким образом, можно надежно избегать случайного отклонения торцевого элемента или подсекций дверного полотна после этого от плоскости дверного полотна, например под ветровой нагрузкой. В результате, можно дополнительно улучшать функциональные возможности обладающей признаками изобретения подъемной жалюзийной двери и, в частности, выполнять требования высокоскоростного действия с увеличенной надежностью.
Соответственно защелочное соединение можно образовывать, обеспечивая упруго смещенный задерживающий штифт, зацепляющийся с дополнительно образованной защелочной частью. Такое прямое соединение или механизм блокирующей защелки известны специалистам в данной области техники, и его можно обеспечивать с помощью небольших конструктивных мер. Кроме того, упомянутое средство надежно и ясно определено относительно его функции.
Если, кроме того, предварительно нагружающее усилие задерживающего штифта является регулируемым, пороговое усилие защелочного соединения можно точно устанавливать. Это гарантирует то, что, с одной стороны, отклоняемые элементы дверного полотна не отцепятся от соединения с примыкающей навесной полоской уже от ветровой нагрузки, таким образом устраняя защелочное соединение, и, с другой стороны, размыкание элементов отклонения дверного полотна становится возможным в ответ на некоторый импульс соударения, чтобы быть способным надежно предотвращать какое-либо его повреждение.
В качестве альтернативы также можно прикрепить дополнительный шарнир посредством использования по меньшей мере магнитного средства на соответствующей примыкающей навесной полоске. С одной стороны, упомянутое средство также позволяет создавать надежную защиту от отклонения в результате ветровой нагрузки и неразрушающее отклонение торцевого элемента и т.д. с соответственно большим импульсом воздействия. Этот вариант осуществления обеспечивает дополнительное преимущество, заключающееся в том, что соединение дополнительного шарнирного средства с примыкающей навесной полосой выполнено бесконтактным способом так, что становится очевидным отсутствие каких-либо признаков износа. Это обеспечивает возможность достижения особенно долгого срока службы с электромагнитами, обеспечивающими достаточный магнитный эффект, а упомянутые магниты, кроме того, содержат преимущество соответствующих магнитных сил, являющихся регулируемыми, например также возможна регулировка удерживающей силы дополнительного шарнирного средства.
Кроме того, обладающую признаками изобретения промышленную дверь также можно выполнить с блокирующим средством, посредством которого дополнительное шарнирное средство для создания защиты от вторжения соответственно напротив примыкающей навесной полоски можно заблокировать так, что предотвращается отклонение по меньшей мере торцевого элемента. Таким образом, когда подъемная жалюзийная дверь не используется, например, в ночное время или в выходные, торцевую часть двери можно использовать, как надежное средство закрывания для промышленного здания. Соответственно упомянутое блокирующее средство можно оборудовать ручным или автоматически действующим блокирующим штифтом, так что можно легко достигнуть желаемого эффекта блокировки с помощью небольших конструктивных мер, и помещая подъемную жалюзийную дверь в положение покоя. Как правило, достаточно заблокировать торцевой элемент относительно навесных полосок, потому что таким способом можно также избегать отклонения примыкающих подсекций дверного полотна, поскольку таким образом также невозможно поднять торцевой элемент.
Дополнительным преимуществом являются шарнирные элементы, которые соединены с торцевым элементом, направляемым в боковых направляющих посредством каретки. В результате, можно обеспечивать надежное направление этих шарнирных элементов, даже если центральная часть дверного полотна отклонена от плоскости дверного полотна, с поддерживающим поперечным соединением между двумя боковыми навесными полосками, больше не устанавливаемыми в этой области. Поэтому каретки соответственно стабилизируют сборку так, что можно надежно предотвращать опрокидывающие моменты в области этих шарнирных элементов. Кроме того, этот вариант осуществления особенно предпочтителен, если приведение в действие дверного полотна производят посредством кругового ленточного транспортера, воздействующего на навесные полоски в области торцевого элемента. При открывании двери производят усилия сдвига, которые естественно приводят к изгибанию навесных полосок шарнирных элементов, с осуществлением нежелательных опрокидывающих моментов, действующих на дверное полотно. Дополнительная причина для таких опрокидывающих моментов может происходить из-за лент привода для двери, которые не ровно зацеплены в плоскости направляющих роликов. Сборка кареток может противодействовать этому явлению, потому что положительное соединение каретки предотвращает наклон шарнирного элемента, примыкающего к торцевому элементу. С нижним шарнирным элементом, выполненным на нижней части, который исключительно направляется каретками, нежелательная нагруженность может происходить вследствие неизбежного явления опрокидывания. Размещая каретку в боковых направляющих, таким образом можно обеспечить быстродействующие рабочие характеристики обладающей признаками изобретения подъемной жалюзийной двери еще более надежным и устойчивым способом. Сборка каретки имеет дополнительное преимущество, заключающееся в том, что направляющие ролики испытывают меньшие напряжения в этих шарнирных элементах, если происходит соударение автопогрузчика или подобного транспорта с торцевым элементом, и таким образом создается усилие, действующее перпендикулярно направлению движения дверного полотна. Поэтому, точно в этой области, имеющей высокий риск соударения, навесные полоски прикреплены в боковых направляющих и, таким образом, в плоскости дверного полотна, с конкретной надежностью, при том, чтобы не отклоняться после отклонения торцевого элемента. В результате, надежность и срок службы обладающей признаками изобретения подъемной жалюзийной двери можно дополнительно улучшать.
Кроме того, также обладающая признаками изобретения подъемная жалюзийная дверь может содержать блок управления, имеющий датчик, с отклонением торцевого элемента, или подсекции дверного полотна, следующей за ним, напротив плоскости дверного полотна, обнаруживаемого датчиком, и в котором блок управления инициирует программу отказа в ответ на него. Это предлагает преимущество немедленного обнаружения соударения и, в то же время, соответствующие меры, предпринимаемые на основании полной автоматизации, чтобы насколько можно поддерживать ограничение повреждения дверного полотна или какого-либо риска для людей.
Блок управления в программе отказа может вызвать автоматизированную остановку двигающегося дверного полотна так, что дополнительно можно надежно предотвращать повреждение пластинок или секций дверного полотна, или профилей жесткости и т.д.
Имеется дополнительное преимущество для блока управления в программе отказа, чтобы инициировать, возможно, вслед за автоматизированным процессом остановки, открывание дверного полотна, с промышленной дверью в области перемычки, дополнительно обеспечиваемой средством возврата, посредством которого является возможным возвращение процесса отклонения торцевого элемента или подсекции примыкающего к ней дверного полотна. Таким образом, программа отказа одновременно инициирует восстановление функциональности обладающей признаками изобретения подъемной жалюзийной двери. Поскольку торцевой элемент и т.д. обычно не повреждается, так как он способен избегать удара объектом, восстановление функциональности обладающей признаками изобретения подъемной жалюзийной двери возможно в течение секунд.
В результате, блок управления может обрабатывать программу отказа так, что открывание дверного полотна выполняется на уменьшенной скорости для нормального действия. Это особенно целесообразно для быстродвижущихся промышленных дверей, поскольку можно избегать еще более надежным способом какой-либо возможной опасности для людей, стоящих около подъемной жалюзийной двери, или дополнительного повреждения дверного полотна, например отклоненной центральной частью.
Обладающая признаками изобретения подъемная жалюзийная дверь ниже подробно описана со ссылкой на варианты осуществления и прилагаемые к ним чертежи, на которых:
фиг.1 представляет вид спереди обладающей признаками изобретения подъемной жалюзийной двери;
фиг.2 представляет вид сзади узла обладающей признаками изобретения подъемной жалюзийной двери;
фиг.3 представляет увеличенный вырез изображения фиг.2;
фиг.4 представляет вид в соответствии с разрезом А-А на фиг.2;
фиг.5 представляет подробный вид шарнирного средства;
фиг.6 представляет вид в соответствии с разрезом B-B на фиг.5;
фиг.7 представляет шарнирное средство в соответствии с фиг.5 и 6 в согнутом состоянии;
фиг.8 представляет подробный вид в перспективе обладающей признаками изобретения подъемной жалюзийной двери в области каретки;
фиг.9 представляет вид в перспективе средства возврата; и
фиг.10 представляет разрез через торцевую полоску и соединенный с ним шарнирный элемент для изображения блокирующего средства.
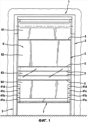
На фиг.1 изображена подъемная жалюзийная дверь, содержащая дверное полотно 2, закрепленное в боковых направляющих 3. Дверное полотно 2 содержит боковые навесные полоски 4, каждая из которых выполнена в области направляющих 3, которые состоят из множества шарнирных элементов, шарнирные элементы 41а-41e которых изображены более подробно, в частности, на фиг.2-4. Два соответственно связанных шарнирных элемента соединены друг с другом профилем 5 жесткости, продолжающимся в поперечном направлении к боковым направляющим 3 так, что навесные полоски 4, включающие в себя профили 5 жесткости, образуют устойчивые, но поддающиеся сгибанию подмости.
Гибкие подвески 6, выполненные из пластмассы, которые, в настоящем варианте осуществления, разделены на подсекции 61, 62, 63 и 64, прикреплены к профилям 5 жесткости посредством соединения усиливающей полоски. Поскольку подсекция 63 подвесок 6 выполнена прозрачной, профили 5 жесткости на фиг.1, расположенные сзади, показаны видимыми. Как дополнительно видно на фиг.1, дверное полотно 2, кроме того, содержит торцевой элемент 7, нижняя часть которого снабжена резиновым уплотнением или подобным уплотнением. Настоящая конструкция дверного полотна 2, включающая в себя навесные полоски 4, профили жесткости 5 и подвески 6, соответствует “STR высокоскоростной турбо подъемной двери” заявителя, как уже описано во вводной части описания и как также описано в заявке DE 10236648.9 на патент Германии, содержание которой приведено здесь в качестве ссылки.
Как дополнительно показано на фиг.1, нижняя подсекция 64 подвесок 6 углублена в области четырех нижних элементов 41a-41d шарнирных навесных полосок 4, чтобы не препятствовать движению отклонения центральной части дверного полотна 2 в случае соударения.
На фиг.2 эта подсекция подъемной жалюзийной двери 1 показана более подробно, причем на фиг.2 изображен вид сзади концевого участка дверного полотна 2, который показан в нижнем правом углу на фиг.1. Концевой участок дверного полотна 2, расположенный с другой стороны дверного проема, выполнен как зеркальное изображение. На этом виде сзади в соответствии с фиг.2 дополнительное шарнирное средство 8 расположено рядом с навесной полоской 4, которая продолжается параллельно ей. В настоящем варианте осуществления упомянутое шарнирное средство 8 включает в себя три элемента 81a-81c, функциональные размеры которых соответствуют примыкающим шарнирным элементам 41b-41d, то есть они обеспечены возможностью сгибаться друг относительно друга по таким же осям. Наконец, торцевая планка 71 торцевого элемента 7 соединена со следующим элементом 81а на нижней части шарнирным способом. Таким образом, торец самой нижней части торцевого элемента 7 образует резиновое уплотнение 72.
Как, в частности, показано на фиг.2, шарнирный элемент 41e имеет ширину, по существу такую же, что и шарнирный элемент 41d и элемент 81c, расположенный рядом с ним, вместе. Шарнирный элемент 41e таким образом представляет переход к подсекции дверного полотна 2, который состоит из нескольких частей.
Торцевой элемент 7 или элементы 81a-81c могут поворачиваться вокруг осей, расположенных соосно с осью вращения элементов шарнирных 41a-41d. Ролики 43 поддерживаются осями 42 вращения. Сами ролики 43 прямо соединены известным способом с боковыми направляющими 3, таким образом направляя дверное полотно 2.
Как дополнительно показано на фиг.2, установка 44 для зубчатого ременного привода, который не показан, дополнительно прикреплена к нижнему шарнирному элементу 41a. Кроме того, нижняя часть нижнего шарнирного элемента 41а также снабжена резиновым уплотнением 45.
Как можно дополнительно понять из более подробного вида на фиг.3, шарнирное средство 8 в этих вариантах осуществления соединено с примыкающим навесным элементом 4 посредством механизма прямого соединения или блокирующей защелки. Каждый из упомянутых механизмов прямого соединения или блокирующей защелки содержит тормозящий штифт 82, размещенный в приемнике 83 в соответствующем шарнирном элементе 81a-81c и смещаемый посредством пружины 4 в направлении примыкающего элемента 41a-41d навесной полоски 4. Приемник 83 соответственно содержит внешнюю резьбу, посредством которой он регулируемым образом крепится в удерживающем отверстии 85, имеющем внутреннюю резьбу. Другими словами, предварительно нагружающее усилие пружины 84 можно отрегулировать, перемещая приемник 3 относительно удерживающего отверстия 85.
В результате, тормозящий штифт 82 прямо зацеплен с образованным дополнительным образом защелочным элементом 46 в элементе 41а-41d. Таким образом, защелочное соединение расцепляют, причем это возможно с некоторым пороговым усилием, где упомянутое пороговое усилие можно регулировать посредством регулирования приемника 83 в удерживающем отверстии 85. Поскольку тормозящий штифт 82, кроме того, поддерживается в прямом соединении в приемнике 83, потеря тормозящего штифта 82, даже с повернутым элементом 81а, невозможна. Остальные защелочные соединения образованы идентично или аналогично, также в торцевом элементе 7 относительно шарнирного элемента 41а.
Кроме постоянного соединения на верхнем элементе 81а относительно шарнирного элемента 41e шарнирное средство 8 только соединено с примыкающими шарнирными элементами 41b-41d посредством этого механизма прямого соединения или блокирующей защелки. В случае соударения торцевой элемент 7 вместе с подсекцией дверных подвесок, определенной тремя элементами 81a-81c, может разворачиваться от плоскости дверного полотна и таким образом избегать удара нагруженностью.
Как дополнительно показано на фиг.3, каждая из скользящих пластинок 47 и 86 накладывается на передние стороны шарнирных элементов 41a-41d лицевыми поверхностями друг к другу и на элементы 81a-81c, или на торцевую полосу 71, причем упомянутые скользящие пластинки помимо этого содержат скошенные ребра. Эти скользящие пластинки 47 и 86 помогают возвращать повернутую центральную часть дверного полотна 2 назад в дверное полотно.
На фиг.4 навесная полоска 4 еще показана в поперечном сечении в соответствии с А-А на фиг.2. Отсюда можно понять, что при рассматривании в направлении толщины дверного полотна, шарнирные элементы 41a-41e поворачиваются вблизи основной поверхности дверного полотна, так что они могут разворачиваться только в одном направлении, то есть в направлении к подвескам 6.
На фиг.5-7 дополнительное шарнирное средство 8 показано более подробно. Как можно, в частности, заметить из фиг.5, отдельные элементы 81a-81c образованы так, что в диапазоне разворота их поверхности, обращенные друг к другу, разделены друг от друга предварительно заданным расстоянием “t”. Хотя даже с шарнирным средством 8 ось вращения отдельных элементов расположена рядом с подвеской 6 дверного полотна, таким образом можно разворачивать шарнирное средство 8 также в противоположном направлении, как показано на фиг.7. Расстояние “t”, например, 6 мм, приведет к возможному движению разворота приблизительно на 27 градусов на шарнирный элемент в практическом примере. Расстояние “t” можно свободно выбирать в зависимости от случая применения. Таким образом, шарнирный элемент 8 можно разворачивать в обоих направлениях от плоскости дверного полотна.
В описанном варианте осуществления дверное полотно обычно приводят в действие приводными ремнями в виде зубчатых ремней, которые здесь не показаны, эти приводные ремни зацепляются с установкой 44 и вытягивают дверное полотно 2 либо вверх для открывания промышленной двери, либо вниз для закрывания дверного полотна 2. С этой целью приводные ремни образованы движущимися по кругу.
Как можно заметить из подробного изображения в перспективе на фиг.8, каретка 9 выполнена в нижнем шарнирном элементе 41а, то есть в области торцевого элемента 7, причем каретка содержит держатель 91, а также ролики 92, также взаимодействующие с боковой направляющей 3. На фиг.8 подсекция направляющей 3 показана для пояснения. Шарнирный элемент 41а снабжен подпоркой посредством роликов 92 для предотвращения какого-либо перемещения в направлении торцевой полоски 71. Каретка 9 оказывает противодействие для предотвращения наклона шарнирного элемента 41а, и в то же время обеспечивает возможность ровного направления шарнирного элемента 41а в боковой направляющей 3. Опасность наклона шарнирного элемента 41а создается только, например, когда нет больше поперечного соединения другой стороны двери с центральной частью отклоненной двери так, что периферийные части дверного полотна 2, образованные по существу двумя навесными полосками 4, больше не способны поддерживать друг друга. Дополнительные наклонные моменты, возникающие во время движения открывания и закрывания дверного полотна 2, таким образом могут надежно поглощаться кареткой 9, выполненной с двух сторон подъемной жалюзийной двери 1.
Кроме того, с одной стороны, опасность наклона шарнирного элемента 41а создается во время движения открывания из-за движущих сил, действующих через установку 44, и, с другой стороны, эта опасность создается даже больше соударениями, поскольку соответствующие нормальные силы действуют на главную поверхность дверного полотна 2, по меньшей мере пока центральная часть дверного полотна 2 еще не развернулась из плоскости дверного полотна, несмотря на прилагаемые усилия. Такие силы могут надежно приниматься кареткой 9 так, что повреждения примыкающих к ней роликов 43 и/или узла привода, взаимодействующего с установкой, можно постоянно избегать.
На фиг.9 показан вид в перспективе средства 10 возврата подъемной жалюзийной двери 1. Как показано, средство 10 возврата содержит два взаимодействующих ролика 101, разнесенные на расстояние друг от друга, каждый из которых поддерживается в боковой направляющей 3 посредством установки 102 в области дверной перемычки. Расстояние между этими двумя роликами 101 по существу соответствует толщине дверного полотна 2. Кроме того, оба ролика 101 отделены от боковой направляющей 3 так, что они действуют на элементы шарнирного средства 8, чтобы при необходимости проталкивать их обратно в плоскость дверных полотен. Таким образом, при выполнении движения открывания подъемной жалюзийной двери 1 центральную часть, развернутую от дверного полотна 2, можно автоматически возвращать.
В соответствии с изображением на фиг.10 промышленная дверь 1 дополнительно содержит блокирующее средство 11, посредством которого торцевую полоску 71 можно заблокировать относительно примыкающего шарнирного элемента 41а. В этом отношении блокирующее средство 11 содержит блокирующий штифт 111, который обеспечивает возможность перемещения управляемым способом посредством электрического привода, электрического двигателя 112, и этот электрический двигатель прямо зацеплен с соответствующим углублением в примыкающей скользящей пластине 86 в торцевой полоске 71.
Дополнительно промышленная дверь 1 содержит блок управления, обнаруживающий, посредством датчика 12 (см. фиг.2), движение отклонения дверного полотна 2 от плоскости дверного полотна. Для этого датчик 12 выполнен в самом нижнем шарнирном элементе 41а и направлен к торцевой полоске 71. Если то же самое больше не обнаруживается датчиком 12, автоматически запускается программа отказа, во время которой дверное полотно 2 останавливается, и осуществляется выполнение движения открывания.
Кроме проиллюстрированного варианта осуществления изобретение обеспечивает возможность дополнительных подходов относительно его вариантов осуществления.
В зависимости от случая применения можно изменять количество элементов шарнирного средства 8. Размер подсекции дверного полотна 2, способной разворачиваться от плоскости дверного полотна, таким образом, можно регулировать. В конкретном варианте осуществления только торцевой элемент 7 можно поворотным образом поддерживать в шарнирном средстве 8 так, что только торцевой элемент 7 способен выполнять движение отклонения.
Установку шарнирного средства 8 в навесной полоске 4 можно также осуществить другим способом, отличным от используемых описанных механизмов прямого соединения или блокирующей защелки, например посредством электромагнитов. Здесь количество механизмов прямого соединения или блокирующей защелки и обеспечиваемых альтернативно электромагнитов можно изменять и можно выбирать в зависимости от соответствующих требований. Кроме того, тормозящий штифт можно поддерживать в шарнирном элементе навесной полоски 4, хотя соотнесенная защелочная часть расположена в шарнирном средстве 8. Кроме того, возможен любой другой вид соединения посредством защелочных элементов, приклеивания или пристегивания.
Дополнительно также можно использовать обладающий признаками изобретения вариант осуществления с дверным полотном, которое образовано способом армирования пластинок. Примеры такого армирования пластинок известны из описаний изобретений DE 4015214 A, DE 4015216 A, и DE 19915376 А1. Дополнительная возможность применения изобретения направлена на подъемные жалюзийные двери, имеющие гибкие подвески, наматываемые в области дверной перемычки. Соответственно такие подвески можно просто прорезать в направлении движения дверного полотна и соединять друг с другом посредством кнопок.
Кроме того, также можно не производить перемещение дверного полотна с помощью приводного ремня и таким образом не вводить какие-либо силы в торцевом элементе 7. Вместо этого движение привода можно также применять к верхнему концу дверного полотна и, следовательно, втягивать дверное полотно в положение его хранения над перемычкой двери во время открывания, и применяя движение подталкивания к такому положению во время заключительного действия. Примеры отпускания двери с верхним приводом известны из практики. В этом случае можно устранять необходимость каретки 9, ходя опрокидывающие моменты для этого способа приведения, которые создаются на нижнем шарнирном элементе 41а, значительно уменьшены.
Вместо каретки 9 скользящий блок можно располагать на нижнем шарнирном элементе 41, который можно образовать из скользящего материала, в частности политетрафторэтилена (PTFE) или подобного материала, и который также непосредственно соединен с направляющей 3 таким же способом, как с помощью роликов 43. Для этого скользящий блок можно выполнить в форме куба и таким образом создать скользящую поверхность, взаимодействующую с направляющей 3 в плоскости, параллельной протяжению направляющей 3 так, чтобы предотвратить наклон шарнирного элемента 41a посредством прямого соединения в свободной посадке.
Вместо роликов 101 средство 10 возврата может также включать в себя скользящие элементы, вдоль которых отклоненная центральная часть дверного полотна 2 скользит вперед, таким образом возвращаясь в плоскость дверного полотна.
Для предотвращения повреждения периферийных частей дверного полотна они являются относительно узкими по сравнению с центральной частью. Кроме того, также можно образовать в дверном полотне несколько отклоняемых центральных частей, которые могут быть особенно рациональны в случае очень широких дверей.
Тормозящий штифт 111 можно также запускать или приводить в действие любыми другими электрическими средствами, отличными от электромагнитов 112, или просто на механической основе. Кроме того, блокирующее средство 11 и/или датчик 12 можно также обеспечивать в другом шарнирном элементе или в элементе шарнирного средства 8.
Навесную полоску 4 и/или шарнирное средство 8 можно также образовать в виде относительно плоского шарнирного средства, расположенного на основной поверхности дверного полотна 2.
Формула изобретения
1. Подъемная жалюзийная дверь (1), в частности, быстродвижущаяся промышленная дверь, имеющая дверное полотно (2), закрывающее дверной проем и направляемое в боковых направляющих (3), с дверным полотном (2) в подсекции, обращенной к посадочному месту подъемной жалюзийной двери (1), разделенным на несколько частей, продолжающихся в направлении перемещения подъемной жалюзийной двери (1) так, что периферийная часть, направляемая в боковых направляющих (3), расположена с обеих сторон, а центральная часть, продолжающаяся между двумя периферийными частями, которые являются разъемными, прикреплена к периферийным частям, отличающаяся тем, что дверное полотно (2) содержит навесную полоску (4), с обеих сторон имеющую множество поддающихся сгибанию шарнирных элементов (41а-41е), соединенных друг с другом, которые направляются в боковых направляющих (3) посредством роликов (43), с дверным полотном (2), дополнительно содержащим торцевой элемент (7) самой нижней части, и с дополнительным шарнирным средством (8), выполненным на дверном полотне (2), соответственно, рядом с навесной полоской (4) на противоположной стороне от боковых направляющих (3) по меньшей мере в области торцевого элемента (7), причем шарнирное средство (8) разъемным образом соединено с соответственно примыкающей навесной полоской (4) и выполнено с возможностью отклонения по меньшей мере торцевого элемента (7) напротив навесной полоски (4) наружу от плоскости дверного полотна, при этом дверь содержит блок управления, имеющий датчик (12), с отклонением торцевого элемента (7) или примыкающей подсекции дверного полотна (2) напротив плоскости дверного полотна, которое становится обнаруживаемым посредством датчика (12), и с блоком управления, запускающим программу отказа в ответ на него.
2. Подъемная жалюзийная дверь по п.1, отличающаяся тем, что дополнительное шарнирное средство (8) выполнено таким образом, что в отдельности от торцевого элемента (7) подсекция дверного полотна (2), следующая за торцевым элементом и продолжающаяся поперек одного или нескольких шарнирных элементов (41b-41е) напротив навесных полосок (4), способна отклоняться в обе стороны от плоскости дверного полотна.
3. Подъемная жалюзийная дверь по п.1 или 2, отличающаяся тем, что дополнительное шарнирное средство (8) выполнено таким образом, что торцевой элемент (7) или подсекция дверного полотна (2), следующая за ним, способна отклоняться в обе стороны от плоскости дверного полотна.
4. Подъемная жалюзийная дверь по п.1, отличающаяся тем, что дополнительное шарнирное средство (8) прикреплено посредством по меньшей мере одного защелочного соединения напротив соответствующей примыкающей навесной полоски (4).
5. Подъемная жалюзийная дверь по п.4, отличающаяся тем, что защелочное соединение образовано упругим смещенным тормозящим штифтом (82), зацепленным с образованным дополнительным образом защелочным элементом (46).
6. Подъемная жалюзийная дверь по п.5, отличающаяся тем, что усилие предварительной нагрузки тормозящего штифта (82) является регулируемым.
7. Подъемная жалюзийная дверь по п.1, отличающаяся тем, что дополнительное шарнирное средство (8) прикреплено к соответствующей примыкающей навесной полоске (4) посредством по меньшей мере магнитного средства, в частности, электромагнита.
8. Подъемная жалюзийная дверь по п.1, отличающаяся тем, что содержит блокирующее средство (11), например, имеющее действующий вручную или автоматически блокирующий штифт (111), посредством которого дополнительное шарнирное средство (8) для создания защиты от проникновения соответствующей противоположной примыкающей навесной полоски (4) имеет возможность блокировки для предотвращения отклонения по меньшей мере торцевого элемента (7).
9. Подъемная жалюзийная дверь по п.1, отличающаяся тем, что каждый из шарнирных элементов (41а), соединенных с торцевым элементом, выполнен с возможностью направления в боковых направляющих (3) посредством каретки (9).
10. Подъемная жалюзийная дверь по п.1, отличающаяся тем, что блок управления в программе отказа вызывает автоматическую остановку относительно движения дверного полотна (2).
11. Подъемная жалюзийная дверь по п.1, отличающаяся тем, что блок управления в программе отказа, возможно, следующей за автоматической остановкой, запускает движение открывания дверного полотна (2), с подъемной жалюзийной дверью (1), в области дверной перемычки дополнительно снабженной средством (10) возврата, посредством которого можно возвращать отклонение торцевого элемента или подсекции дверного полотна, примыкающей к нему.
12. Подъемная жалюзийная дверь по п.11, отличающаяся тем, что движение открывания дверного полотна (2) выполняется на уменьшенной скорости по сравнению с нормальным действием.
РИСУНКИ
TK4A – Поправки к публикациям сведений об изобретениях в бюллетенях “Изобретения (заявки и патенты)” и “Изобретения. Полезные модели”
Напечатано: (72) РЕЙК Петра (DE)
Следует читать: (72) РЕЙЦ Петра (DE)
Номер и год публикации бюллетеня: 24-2008
Код раздела: FG4A
Извещение опубликовано: 10.06.2010 БИ: 16/2010
TK4A – Поправки к публикациям сведений об изобретениях в бюллетенях “Изобретения (заявки и патенты)” и “Изобретения. Полезные модели”
Напечатано: (73) РЕЙК Петра (DE)
Следует читать: (73) РЕЙЦ Петра (DE)
Номер и год публикации бюллетеня: 24-2008
Код раздела: FG4A
Извещение опубликовано: 10.06.2010 БИ: 16/2010
|
|