|
|
(21), (22) Заявка: 2006128818/03, 08.08.2006
(24) Дата начала отсчета срока действия патента:
08.08.2006
(43) Дата публикации заявки: 20.02.2008
(46) Опубликовано: 27.08.2008
(56) Список документов, цитированных в отчете о поиске:
RU 2260093 C2, 10.09.2005. SU 1231141 A1, 15.05.1986. SU 1288260 A1, 07.02.1987. SU 906194 A1, 07.12.1992. RU 2148124 C1, 27.04.2000.
Адрес для переписки:
660041, г.Красноярск, пр. Свободный, 75, ОАО “Красноярский ПромстройНИИпроект”, Н.Ф. Буланкину
|
(72) Автор(ы):
Буланкин Николай Федорович (RU)
(73) Патентообладатель(и):
Буланкин Николай Федорович (RU)
|
(54) СПОСОБ ВОЗВЕДЕНИЯ БУРОНАБИВНОЙ СВАИ-ИНЪЕКТОРА
(57) Реферат:
Изобретение относится к строительству, в частности к способам возведения свай, и может быть использовано в промышленном и гражданском строительстве. Технический результат – повышение несущей способности буронабивных свай-инъекторов. Способ возведения буронабивной сваи-инъектора включает бурение скважины, армирование скважины одновременной установкой армокаркаса с закрепленной в нем инъекторной трубкой, бетонирование ствола сваи по всей высоте скважины, нагнетание укрепляющего раствора пульсирующим потоком под нижний конец сваи при незатвердевшем бетоне свайного ствола. Армирование скважины осуществляют одновременной установкой армокаркаса с закрепленными в нем трубкой и дополнительной инъекторной трубкой, через одну из которых производят нагнетание укрепляющего раствора до выхода его из устья скважины при незатвердевшем бетоне свайного ствола, а через вторую трубку производят нагнетание укрепляющего раствора после твердения бетона ствола сваи. Инъекторная трубка, предназначенная для нагнетания укрепляющего раствора бетона ствола сваи до его затвердения, расположена выше забоя скважины на (0,3-1) ее диаметра, а инъекторная трубка, предназначенная для нагнетания укрепляющего раствора в грунт основания после твердения бетона ствола сваи, расположена в уровне забоя скважины или ниже его до двух диаметров скважины. Состав укрепляющего раствора, нагнетаемого до твердения бетона, подбирают для улучшения качества бетона, а состав укрепляющего раствора, нагнетаемого после твердения бетона, подбирают для улучшения свойств грунта. 2 з.п. ф-лы, 1 ил.
Изобретение относится к строительству, в частности к способам возведения свай, и может быть использовано в промышленном и гражданском строительстве.
Известен способ устройства буронабивной сваи-инъектора с использованием обсадной трубы (Ганичев И.А. Устройство искусственных оснований и фундаментов. М., Стройиздат, 1981, с.190-200, рис.3.2). Согласно известному способу бурение скважины осуществляют с обсадной трубой, в центре готовой скважины забивают инъекторную трубу так, чтобы ее нижний конец, выполненный перфорированным или снабженный выбиваемым наконечником, был ниже подошвы скважины на 0,5 м, устанавливают армокаркас, бетонируют нижнюю часть скважины для устройства водонепроницаемой пробки, после затвердения бетона через инъекторную трубу нагнетают раствор в грунт, укрепляя нижнюю часть околосвайного пространства, и далее бетонируют оставшуюся часть ствола сваи, оставляя или удаляя обсадную трубу.
Недостатками известного способа являются дороговизна и большие трудозатраты при возведении буронабивной сваи-инъектора, обусловленные многодельностью, сложностью и длительностью выполнения операций по забивке инъекторной трубы по центру скважины, созданию водонепроницаемой пробки, а также не всегда обоснованные затраты, связанные с использованием обсадной трубы.
В качестве прототипа принят способ возведения буронабивной сваи-инъектора, включающий бурение скважины, армирование скважины с одновременной установкой армокаркаса с закрепленной в нем инъекторной трубкой, бетонирование ствола сваи по всей высоте скважины, нагнетание укрепляющего раствора пульсирующим потоком под нижний конец сваи при незатвердевшем бетоне свайного ствола (патент на изобретение RU № 2260093 С2, 29.04.2003).
Недостатком прототипа является низкая несущая способность коротких свай, возведенных по этой технологии, обусловленная малым давлением инъектируемого укрепляющего раствора, уравновешивающимся давлением бетонного столба ствола сваи.
Задачей изобретения является повышение несущей способности буронабивных свай-инъекторов.
Для решения поставленной задачи в способе возведения буронабивной сваи-инъектора, включающем бурение скважины, армирование скважины одновременной установкой арматурного каркаса с закрепленной в нем инъекторной трубкой, бетонирование ствола сваи по всей высоте скважины, нагнетание укрепляющего раствора пульсирующим потоком под нижний конец сваи при незатвердевшем растворе свайного ствола, согласно изобретению армирование скважины осуществляют одновременной установкой армокаркаса с закрепленными в нем двумя инъекторными трубками, через одну из которых производят нагнетание укрепляющего раствора при незатвердевшем бетоне свайного ствола до выхода его в устье скважины, а через вторую трубку производят нагнетание укрепляющего раствора после твердения бетона ствола сваи.
Инъекторная трубка, предназначенная для нагнетания укрепляющего раствора бетона ствола сваи до его твердения, расположена выше забоя скважины на (0,3-1) диаметра скважины, а инъекторная трубка, предназначенная для нагнетания укрепляющего раствора в грунт основания сваи после твердения бетона ствола сваи, расположена в уровне забоя скважины или ниже его до двух диаметров скважины.
Состав укрепляющего раствора, нагнетаемого до твердения бетона, подбирают для улучшения качества бетона, а состав укрепляющего раствора, нагнетаемого после твердения бетона, подбирают для улучшения свойств грунта.
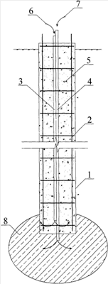
На чертеже схематично изображена буронабивная свая-инъектор, возведенная предлагаемым способом, продольный разрез.
Способ осуществляют следующим образом.
Вначале проходят скважину 1 любым известным способом и погружают в нее армокаркас 2 с закрепленными на нем инъекторными трубками 3 и 4.
Затем бетонируют ствол сваи 5. После укладки бетона до его схватывания через инъекторную трубку 3 нагнетают укрепляющий раствор 6. Нагнетание производят пульсирующим потоком до выхода его из устья скважины. После твердения бетона производят нагнетание укрепляющего раствора 7 под нижний конец сваи. Укрепляющий раствор 6 – цементный раствор с добавками или без них или другие материалы. Укрепляющий раствор 7 выбирается в зависимости от вида грунтов основания, например закрепление пылевато-глинистых, а также песков пылеватых и мелких выполняют силикатизацией, а песков от средних до гравелистых и крупнообломочных грунтов – цементацией.
Давление нагнетания укрепляющего раствора 6 до 0,25 МПа. Давление при силикатизации до 0,3 МПа и до 0,5 МПа – при цементации.
В результате прокачки укрепляющего раствора происходит уплотнение и упрочнение бетонной смеси ствола сваи. Прокачка раствора 7 приводит к закреплению грунта основания сваи 8.
Пример. На предварительно организованной площадке строительства производилось бурение скважин установкой УГБ-50 м диаметром 0,32 м на глубину 3,8 м со дна котлована глубиной 1 м.
Площадка сложена песками пылеватыми средней плотности, подстилаемыми галечниковым грунтом с песчаным заполнителем до 25%.
Ствол сваи армирован каркасом, рабочая арматура 4 14 А-Ш, с закрепленными на нем двумя полиэтиленовыми трубками диаметром 20 мм. В ствол сваи через инъекторную трубку, расположенную выше забоя скважины на расстоянии 0,3 м, нагнетался раствор «Кальматрон» ТУ 5745-001-47517383-00 плотностью 1,78 г/см3 сразу же после бетонирования ствола сваи (бетон класса по прочности В15 с размером крупного заполнителя 40 мм). Максимальное давление нагнетания составило 0,1 МПа, расход раствора 30 л до выхода его в устье скважины. После выдержки свай в течение 48 часов через трубку, расположенную в забое скважины, произведено нагнетание цементного раствора с добавкой ЩСПК в количестве 0,3% от массы цемента плотностью 1,75 г/см3.
Максимальное давление составило 0,5 МПа, расход раствора 150 л. Нагнетание в обоих случаях осуществлялось насосом БН-4.
Свая была испытана статическими вдавливающими нагрузками по методике ГОСТ 5686-94.
При максимальной нагрузке, достигнутой при испытаниях, 1100 кН осадка составила 7,45 мм, упругая деформация – 2,84 мм. Расчетная нагрузка по результатам испытаний составила 917 кН.
Технико-экономическое преимущество предлагаемого способа возведения буронабивной сваи-инъектора по сравнению с прототипом заключается в повышении несущей способности свай.
При строительстве жилого дома по ул.Бограда в г.Красноярске применена технология устройства свай согласно патенту на изобретение № 2260093 (прототип). Инженерно-геологические условия площадки аналогичны условиям, приведенным в примере, а именно сверху супеси и пески пылеватые, подстилаемые галечниковыми грунтами с песчаным заполнителем до 15%.
Сваи длиной 4 м, диаметром 0,32 м.
Испытано шесть свай, расчетная нагрузка по результатам испытаний составила 434 кН. Из приведенного примера следует, что применение предлагаемой технологии обеспечивает увеличение расчетной нагрузки на сваю более чем в 2 раза.
Изобретение найдет применение при строительстве зданий и сооружений.
Источники информации
1. Ганичев И.А. Устройство искусственных оснований и фундаментов. М., Стройиздат, 1981, с. 190-200, рис.3.2.
2. Патент на изобретение RU № 2260093 С2, Е02D 5/46, 5/62 (прототип).
Формула изобретения
1. Способ возведения буронабивной сваи-инъектора, включающий бурение скважины, армирование скважины одновременной установкой армокаркаса с закрепленной в нем инъекторной трубкой, бетонирование ствола сваи по всей высоте скважины, нагнетание укрепляющего раствора пульсирующим потоком под нижний конец сваи при незатвердевшем бетоне свайного ствола, отличающийся тем, что армирование скважины осуществляют одновременной установкой армокаркаса с закрепленными в нем трубкой и дополнительной инъекторной трубкой, через одну из которых производят нагнетание укрепляющего раствора до выхода его из устья скважины при незатвердевшем бетоне свайного ствола, а через вторую трубку производят нагнетание укрепляющего раствора после твердения бетона ствола сваи.
2. Способ по п.1, отличающийся тем, что инъекторная трубка, предназначенная для нагнетания укрепляющего раствора бетона ствола сваи до его затвердения, расположена выше забоя скважины на (0,3-1) ее диаметра, а инъекторная трубка, предназначенная для нагнетания укрепляющего раствора в грунт основания после твердения бетона ствола сваи, расположена в уровне забоя скважины или ниже его до двух диаметров скважины.
3. Способ по п.1 или 2, отличающийся тем, что состав укрепляющего раствора, нагнетаемого до твердения бетона, подбирают для улучшения качества бетона, а состав укрепляющего раствора, нагнетаемого после твердения бетона, подбирают для улучшения свойств грунта.
РИСУНКИ
|
|