|
|
(21), (22) Заявка: 2006104563/03, 15.04.2004
(24) Дата начала отсчета срока действия патента:
15.04.2004
(30) Конвенционный приоритет:
14.07.2003 DE 10331970.0
(43) Дата публикации заявки: 27.08.2006
(46) Опубликовано: 27.08.2008
(56) Список документов, цитированных в отчете о поиске:
US 4329766 А, 18.05.1982. RU 2055185 С1, 27.02.1996. US 5438860 А, 08.08.1995. DE 3026930 А1, 15.10.1981. ЕР 1167626 А1, 03.04.2001.
(85) Дата перевода заявки PCT на национальную фазу:
14.02.2006
(86) Заявка PCT:
EP 2004/003940 (15.04.2004)
(87) Публикация PCT:
WO 2005/005119 (20.01.2005)
Адрес для переписки:
129090, Москва, ул. Б.Спасская, 25, стр. 3, ООО “Юридическая фирма Городисский и Партнеры”, пат.пов. Е.И. Емельянову, рег.№ 174
|
(72) Автор(ы):
ХОЛЛЬ Бернд (DE), ХЕН Гюнтер (DE), ЛЕНЦ Мартин (DE)
(73) Патентообладатель(и):
ВИРТГЕН ГМБХ (DE)
|
(54) СТРОИТЕЛЬНАЯ МАШИНА
(57) Реферат:
Изобретение относится к области строительства, в частности к строительной машине для обработки поверхностей грунта с фрезерным барабаном. Технический результат – упрощение замены резцов. Строительная машина для обработки поверхности грунта фрезерным барабаном, на поверхности которого расположено большое число резцедержателей, причем в гнезде для приема резца резцедержателя помещен с возможностью замены резец, в частности резец с круглым хвостовиком, и причем посредством устройства для замены инструмента осуществляется демонтаж резца или резцов из резцедержателя и/или монтирует в нем. Фрезерный барабан снабжен устройством для замены инструмента. Установочное устройство предназначено для позиционирования фрезерного барабана или резца по отношению, по меньшей мере, к одному приспособлению для замены инструмента, и/или исполнительный блок обеспечивает позиционирование, по меньшей мере, одного приспособления для замены инструмента относительно фрезерного барабана, причем исполнительный блок и/или установочное устройство имеет измерительную систему для определения положения, и причем исполнительный блок и/или установочное устройство снабжены цифровым управляющим устройством. 2 н. и 28 з.п. ф-лы, 5 ил.
Изобретение относится к строительной машине для обработки поверхности грунта с фрезерным барабаном, на поверхности которого расположено большое число резцедержателей, причем в гнезде для приема резца резцедержателя закреплен с возможностью замены резец, в частности резец с круглым хвостовиком.
Такая выполненная в качестве дорожной фрезерной машины строительная машина известна из заявки ФРГ DE 3903482 А1. С помощью дорожных фрезерных машин можно фрезеровать дорожное покрытие. В процессе применения машин резцы непрерывно изнашиваются. Когда резцы достигли определенного состояния износа, то их следует заменить. Для этого требуется, чтобы рабочий направился к области фрезерного барабана и там извлек резцы из резцедержателей. При извлечении резца рабочий пользуется специальным стержнем для выбивания и молотком. При этом могут возникнуть повреждения. Манипулирование в узкой области фрезерного барабана требует чрезвычайно больших усилий и большой тщательности, чтобы свести к минимуму риск опасности. После того, как резец удален из своего резцедержателя, следует вставить в резцедержатели новые неизношенные резцы. Замена резцов представляет работу, требующую больших усилий и значительных затрат времени.
Из патента ФРГ DE 3223761 С2 и патента США US 3342531 известны инструменты для замены, приводимые в действие вручную. Они имеют насадок, который входит с геометрическим замыканием в проходящий по периметру паз в резце. Резцы можно в этом случае извлечь из резцедержателя с помощью рычага. Процесс замены, таким образом, хотя и облегчен, все же работа на фрезерном барабане, тем не менее, является опасной и требует больших усилий.
Задачей изобретения является создать дорожную фрезерную машину упомянутого в начале вида, у которой упрощена замена резцов.
Эта задача решается благодаря тому, что фрезерному барабану придано устройство для замены инструмента и что устройство для замены инструмента демонтирует резец или резцы из резцедержателя и/или монтирует в нем.
Согласно изобретению тем самым предлагается инструмент для замены, который автоматически демонтирует изношенный резец и/или монтирует в гнезде для приема резца резцедержателя неизношенный резец. Таким образом можно заметным образом снизить долю ручной работы, которая необходима для замены резца. Благодаря тому, что процесс замены, по меньшей мере, частично автоматизирован, можно его проводить быстрее, так что уменьшается время простоя машины. Далее с помощью устройства согласно изобретению также снижается опасность для здоровья и физическая нагрузка на машиниста.
Устройство для замены инструмента является, предпочтительно, механическим устройством. Оно расположено внутри или вне фрезерного барабана. При расчете параметров устройства для замены инструмента можно осуществить различные концепции в зависимости от случая применения:
а) приспособление для замены инструмента позиционируется относительно резца,
b) резец позиционируется относительно приспособления для замены инструмента,
с) приспособление для замены инструмента и резец позиционируются относительно друг друга.
При обозначенной под а) или с) концепции может быть, в частности, предусмотрено, что устройство для замены инструмента имеет, по меньшей мере, одно приспособление для замены инструмента, которое может быть установлено у отдельных резцедержателей или групп резцедержателей с помощью исполнительного блока. Является также возможным, чтобы всем резцам или резцедержателям совместно было придано одно приспособление для замены инструмента. В этом случае оно демонтирует или монтирует резцы одновременно. В альтернативном варианте выполнения изобретения можно также предусмотреть, чтобы каждому резцедержателю было придано соответственно одно приспособление для замены инструмента устройства для замены инструмента и чтобы приспособление для замены инструмента было жестко связано с резцедержателем. Приспособления для замены инструмента могут быть связаны друг с другом с помощью общего управляющего устройства. С помощью этого управляющего устройства водитель машины может, например, целенаправленно заменять отдельные резцы, группы резцов или все резцы одновременно.
Возможный вариант выполнения изобретения может отличаться тем, что устройство для замены инструмента вводит против направления демонтажа резцов/резца, по меньшей мере, один динамический импульс во фрезерный барабан, часть фрезерного барабана, резцедержатель или группу резцедержателей. Согласно этому устройством для замены инструмента производится импульс, который за счет инерционности массы резца вводит в резец усилие извлечения. Импульс может, например, создаваться с помощью производимого во фрезерном барабане колебания. Является также возможным, чтобы были предусмотрены одно или несколько вибрационных устройств. Другая возможность состоит в том, что на фрезерном барабане использован формирователь импульсов. Для этого, например, можно предусмотреть, чтобы фрезерному барабану был придан упор, который снабжен обращенной к рабочему направлению движения упорной поверхностью, и формирователь импульсов оказывает на упорную поверхность усилие, действующее против рабочего направления движения. При этом формирователем импульсов может быть било, которое своим весом воздействует на эту упорную поверхность.
Как уже было описано выше, концепция устройства для замены инструмента может быть такого рода, что резец позиционируется относительно приспособления для замены инструмента (см. выше b) и c)). Позиционирование резца можно осуществлять, например, с помощью установочного устройства, которое позиционирует фрезерный барабан относительно приспособления для замены инструмента. Согласно возможному варианту выполнения это может осуществляться таким образом, что фрезерный барабан с помощью приводной ветви связан с приводным двигателем строительной машины, причем установочное устройство имеет вспомогательный привод, который может соединяться с приводной ветвью, которая поворачивает фрезерный барабан в приподнятом состоянии на заданный или выбираемый угол поворота, причем момент вращения вспомогательного привода выше, чем момент инерции фрезерного барабана и движущейся вместе с ним части приводной ветви при выключенном или отсоединенном приводном двигателе. При этом можно использовать заданный эталон положения резцов и ввести в управляющее устройство. При этом можно также предусмотреть, чтобы исполнительный блок и/или установочное устройство имело систему измерения положения и чтобы исполнительный блок и/или установочное устройство было оснащено цифровым управляющим устройством.
Конструктивные данные инструмента могут быть при этом такими, что исполнительный блок позиционирует, по меньшей мере, приспособление для замены инструмента относительно фрезерного барабана. При этом затем приспособление для замены инструмента и фрезерный барабан приводятся в позицию относительно друг друга.
Является возможным также жестко установить приспособления для замены инструмента на стороне машины. Резцы располагаются затем соответственно им вследствие поворота фрезерного барабана.
Приспособление для замены инструмента может быть сконструировано таким образом, чтобы оно захватывало резец с геометрическим и/или силовым замыканием и демонтировало его из резцедержателя или монтировало в него.
Замену инструмента можно еще более автоматизировать, если предусмотреть, чтобы устройство для замены инструмента непосредственно или посредством транспортного устройства направляло демонтированные резцы в контейнер или чтобы устройству для замены инструмента было придано разделительное устройство, и чтобы это разделительное устройство поставляло резцы из накопителя к устройству для замены инструмента.
Оптимального использования времени простоя инструмента можно достичь в том случае, если фрезерный барабан снабдить распознавательным устройством, которое непрерывно, с интервалом или по заданию проверяет состояние износа резцов или части резцов или отдельного резца, и это распознавательное устройство при достижении заданного состояния износа инициирует замену инструмента или сигнализирует о ней.
Устройство для распознавания износа может быть при этом образовано таким образом, что, по меньшей мере, одно устройство для приема сигнала распознавательного устройства придано, по меньшей мере, непосредственно или косвенно участвующему в рабочем процессе конструктивному узлу машины, устройство для приема сигнала регистрирует рабочее состояние конструктивного узла машины, и устройство для приема сигнала с помощью устройства для обработки сигнала определяет состояние износа.
Изобретение представляется далее на основе чертежей.
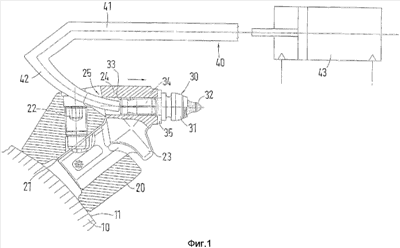
Фиг.1 – фрезерный барабан дорожной фрезерной машины со смонтированным на нем резцедержателем и устройством для замены инструмента, вид сбоку при частичном изображении,
фиг.2 – фрезерный барабан по фиг.1 с устройством для замены инструмента для монтажа неизношенных резцов,
фиг.3 – фрезерный барабан со сформированным монолитно резцедержателем, вид сбоку и в разрезе,
фиг.4 – фрезерный барабан с устройством для замены инструмента во внутреннем пространстве фрезерного барабана, вид сбоку, и
фиг.5 – изображение по фиг.4 в измененном рабочем положении.
На фиг.1 представлен вращающийся корпус дорожной фрезерной машины, а именно фрезерный барабан 10. На поверхности 11 фрезерного барабана 10 расположены на расстоянии друг от друга при систематическом распределении базовые части 20. Базовые части 20 связаны с поверхностью 11 барабана, предпочтительно с помощью сварки. Базовые части 20 имеют приемное гнездо 21 для вставки. В приемное гнездо 21 для вставки можно вставить вставной насадок резцедержателя 23. Крепление резцедержателя 23 на базовой части 20 осуществляется с помощью нажимного винта 22. Резцедержатель 23 имеет гнездо 24 для приема резца, которое в данном случае выполнено в виде отверстия. В отверстие можно вставить резец 30, в данном случае резец с круглым хвостовиком. Резец 30 имеет головку 31 резца, на которой с передней стороны закреплена вершина 32 резца, состоящая из твердого сплава или керамического материала. К головке 31 резца примыкает хвостовик 33, на который надета зажимная втулка 34. Зажимная втулка 34 не может перемещаться в осевом направлении, однако связана с хвостовиком 33 с возможностью вращения в окружном направлении.
Головка 31 резца через промежуточную шайбу 35 для защиты от износа прилегает к ответной поверхности резцедержателя 23.
Как позволяет видеть фиг.1, резцедержатель 23 снабжен устройством для замены инструмента с приспособлением 40 для замены инструмента. Приспособление 40 для замены инструмента имеет серводвигатель 43, который приводит в действие передаточный элемент 41. Передаточный элемент 41 в данном случае образован в виде тяги. На противоположном серводвигателю 43 конце передаточный элемент 41 имеет извлекающий стержень 42. Извлекающий стержень 42 с помощью серводвигателя 43 может вводиться в гнездо 24 для приема резца. При этом стержень через заднее отверстие 25 входит в гнездо 24 для приема резца. Он упирается затем в образованную хвостовиком 33 заднюю поверхность соударения. Серводвигатель 43 втягивает извлекающий стержень 42 в гнездо 24 для приема резца. При этом резец 30 вместе со своей зажимной втулкой 34 выдвигается из гнезда 24 для приема резца. После того как резец 30 выведен из гнезда 24 для приема резца, серводвигатель 43 снова выдвигает извлекающий стержень 42 из гнезда 24 для приема резца.
Приспособление 40 для замены инструмента с помощью не представленного в чертежах исполнительного блока может перемещаться, например, линейно в направлении центральной продольной оси фрезерного барабана 10. Его можно затем последовательно устанавливать у отдельных резцедержателей 23 фрезерного барабана 10. Предпочтительным образом серводвигатель 43 перемещает не один лишь извлекающий стержень 42, а несколько извлекающих стержней 42 одновременно, так чтобы за один исполнительный процесс можно было несколько резцов 30 выдвинуть из их резцедержателей 23.
Является также возможным поворачивать фрезерный барабан 10 с помощью вспомогательного привода установочного устройства. Вспомогательный привод можно использовать в том случае, если фрезерный барабан 10 приподнят от грунта. Тогда его можно повернуть для замены инструмента с помощью вспомогательного привода. Предпочтительным образом вспомогательному приводу придана система управления. Она поворачивает фрезерный барабан 10 в соответствии с заданной программой, так чтобы резцы 30 или часть резцов 30 могли друг за другом направляться к приспособлению 40 для замены инструмента.
На фиг.2 представлено приспособление 40 для замены инструмента, которое используют для монтажа неизношенного резца 30 в гнезде 24 для приема резца. Приспособление 40 для замены инструмента имеет серводвигатель 43, который перемещает линейно передаточный элемент 41. Передаточный элемент 41 имеет монтажный колокол 44. Он снабжен приемным гнездом 45, в котором подлежащий монтажу резец 30 удерживается своей головкой 31 резца. Приспособление 40 для замены резца в соответствии с этим с помощью исполнительного блока связывается с резцедержателем 23. При этом хвостовик резца находится напротив входного отверстия в гнездо 24 для приема резца. Затем запускается серводвигатель 43. Хвостовик 33 вдвигается после этого в приемное гнездо 24 для резца. Движение заправки хвостовика 33 в приемное гнездо 24 для резца облегчается благодаря коническому расширению 26 отверстия. После того как резец 30 вмонтирован в резцедержатель 23, головка 31 резца высвобождается из монтажного колокола 44. Серводвигатель 43 перемещается снова в свое исходное положение и находится в распоряжении затем для следующего процесса монтажа.
Представленные на фиг.1 и 2 приспособления для замены инструмента могут использоваться на дорожной фрезерной машине по отдельности или совместно. Если они находят совместное применение, то можно осуществлять полностью автоматизированную замену резцов.
На фиг.3 показан участок фрезерного барабана 10. Фрезерный барабан 10 имеет трубу фрезерного барабана, которая образует поверхность 11 барабана. В трубу фрезерного барабана непосредственно введены гнезда 24 для приема резцов, так что резцедержатели 23 монолитно связаны с трубой фрезерного барабана. Гнездо 24 для приема резца образовано отверстием. Оно снабжено на своем одном конце отверстия расширением 26 отверстия, которое облегчает вставку резца 30. На другом конце отверстия расположено приспособление 40 для замены инструмента. Оно может быть выполнено в виде гидравлического или пневматического цилиндра и иметь перемещаемый линейно извлекающий стержень 42. Само собой разумеется, приведенное на фиг.3 устройство для замены инструмента может использоваться также на любой другой системе резцедержателей, в частности в системе замены держателя, как это представлено на фиг.1 и 2. В гнездо 24 для приема резца вставлен резец 30. Он соответствует по типу конструкции резцам 30, показанным на фиг.1 и 2.
Для того чтобы удалить резец 30 из его гнезда 24 для приема резца, приводится в действие приспособление 40 для замены инструмента. В этом случае извлекающий стержень 42 перемещается к свободному концу хвостовика 33 резца. Извлекающий стержень 42 выдвигает резец 30 в направлении центральной продольной оси гнезда 24 для приема резца. Приспособление 40 для замены резца можно использовать также для того, чтобы снова вставить в гнездо 24 для приема резца новый неизношенный резец 30. Для этого резец 30 был бы присоединен к выдвинутому извлекающему стержню 42 и при воздействии приспособления 40 для замены инструмента введен в гнездо 24 для приема резца.
На основе фиг.4 и 5 описан другой вариант выполнения фрезерного барабана 10 с устройством для замены инструмента. Устройство для замены инструмента имеет приспособление 40 для замены инструмента, которое размещено во внутреннем пространстве фрезерного барабана 10. Собственно фрезерный барабан 10 устроен подобно изображенному на фиг.3. Он имеет сформированный за одно целое с ним резцедержатель 23. Разумеется, здесь могут быть использованы также выполненные как угодно иначе резцедержатели 23.
Приспособление 40 для замены инструмента имеет два шарнирных рычага 47, 49, которые связаны друг с другом посредством вращательного шарнира 48. Шарнирный рычаг 47 закреплен неподвижно с помощью вращательного шарнира 46. На свободном конце второго шарнирного рычага 49 расположен формирователь 50 импульсов в форме груза. Фрезерный барабан 10 имеет на своей внутренней окружной поверхности упор 51 с поверхностью 52 упора. На обращенной от поверхности 52 упора стороне упор 51 имеет отклоняющие скосы 53.
Во время нормального рабочего процесса фрезерования приспособление 40 для замены инструмента удерживается в положении, показанном на фиг.5. Если предстоит замена инструмента, то оно перемещается в положение, показанное на фиг.4. Затем фрезерный барабан 10 поворачивается в окружном направлении, пока формирователь 50 импульсов не упрется в поверхность 52 упора 51. Благодаря этому производится импульс, который оказывает действие против направления демонтажа резца. За счет этого импульса передается усилие на резцы 30, которое выдвигает их из гнезд 24 для приема резцов.
После того как формирователь 50 импульсов столкнулся с поверхностью 52 упора, он отклоняется от упора 51 и по отклоняющим скосам 53 снова приводится в свое вытянутое исходное положение. Процесс выдачи импульса может затем при необходимости снова повториться. По завершении процесса изъятия приспособление 40 для замены инструмента снова возвращается в позицию, показанную на фиг.5. Само собой разумеется, возможен также обратный принцип действия. При этом формирователь импульсов может вращаться.
Формула изобретения
1. Строительная машина для обработки поверхности грунта с фрезерным барабаном (10), на поверхности которого расположено большое число резцедержателей (23), причем в гнезде (24) для приема резца резцедержателя (23) помещен с возможностью замены резец (30), в частности резец с круглым хвостовиком, причем посредством устройства для замены инструмента осуществляется демонтаж резца или резцов (30) из резцедержателя (23) и/или их монтаж в нем, отличающаяся тем, что фрезерный барабан (10) снабжен устройством для замены инструмента, установочное устройство предназначено для позиционирования фрезерного барабана (10) или резца (30) по отношению, по меньшей мере, к одному приспособлению (40) для замены инструмента, и/или исполнительный блок обеспечивает позиционирование, по меньшей мере, одного приспособления (40) для замены инструмента относительно фрезерного барабана (10), причем исполнительный блок и/или установочное устройство имеет измерительную систему для определения положения, причем исполнительный блок и/или установочное устройство снабжены цифровым управляющим устройством.
2. Строительная машина по п.1, отличающаяся тем, что устройство для замены инструмента является механическим устройством.
3. Строительная машина по п.1, отличающаяся тем, что устройство для замены инструмента установлено во внутреннем пространстве фрезерного барабана (10).
4. Строительная машина по п.1, отличающаяся тем, что устройство для замены инструмента установлено вне фрезерного барабана (10).
5. Строительная машина по п.1, отличающаяся тем, что устройство для замены инструмента имеет, по меньшей мере, одно приспособление (40) для замены инструмента, которое может быть связано с отдельным резцедержателем (23) или с группами резцедержателей с помощью исполнительного блока.
6. Строительная машина по п.1, отличающаяся тем, что устройство для замены инструмента имеет приспособление (40) для замены инструмента, которое связано со всеми резцедержателями (23) одновременно.
7. Строительная машина по п.1, отличающаяся тем, что каждый резцедержатель (23) связан соответственно с одним приспособлением (40) для замены инструмента устройства для замены инструмента.
8. Строительная машина по п.7, отличающаяся тем, что приспособление (40) для замены инструмента жестко связано с резцедержателем (23).
9. Строительная машина по п.1, отличающаяся тем, что фрезерный барабан (10) с помощью приводной ветви связан с приводным двигателем строительной машины, причем установочная система имеет вспомогательный привод, который может соединяться с приводной ветвью, которая поворачивает фрезерный барабан (10) в приподнятом состоянии, причем момент вращения вспомогательного привода выше, чем момент инерции фрезерного барабана (10) и движущейся вместе с фрезерным барабаном (10) частью приводной ветви при выключенном или отсоединенном приводном двигателе.
10. Строительная машина по п.1 или 5, отличающаяся тем, что приспособление (40) для замены инструмента имеет насадок, который воздействует на фасонную поверхность резца (30), и этот насадок вытягивает или выдвигает резец (30) из гнезда (24) для приема резца или соответственно втягивает или вдвигает в гнездо для приема резца, или приспособление (40) для замены резца воздействует на резец (30) с силовым замыканием.
11. Строительная машина по п.1, отличающаяся тем, что устройство для замены инструмента направляет демонтированный резец (30) в контейнер непосредственно или с помощью транспортирующего устройства.
12. Строительная машина по п.1, отличающаяся тем, что устройство для замены инструмента снабжено устройством для разделения, и устройство для разделения транспортирует резцы (30) из накопителя в устройство для замены инструмента.
13. Строительная машина по п.1, отличающаяся тем, что фрезерный барабан (10) снабжен распознавательным устройством, которое непрерывно, с интервалами или по заданию проверяет состояние износа резцов (30), или части резцов (30), или отдельного резца (30), и распознавательное устройство при достижении заданного состояния износа инициирует замену инструмента или сигнализирует о нем.
14. Строительная машина по п.13, отличающаяся тем, что, по меньшей мере, одно устройство для приема сигнала распознавательного устройства связано, по меньшей мере, с одной непосредственно или косвенно участвующей в рабочем процессе конструктивной частью машины, система приема сигнала регистрирует рабочее состояние конструктивной детали машины и эта система приема сигнала с помощью устройства обработки сигнала определяет состояние износа.
15. Строительная машина для обработки поверхностей грунта с фрезерным барабаном (10), на поверхности которого расположено большое число резцедержателей (23), причем в гнезде (24) для приема резца резцедержателя (23) помещен с возможностью замены резец, в частности, резец с круглым хвостовиком, причем устройство для замены инструмента демонтирует резец или резцы (30) из резцедержателя (23) и/или монтирует в них, отличающаяся тем, что устройство для замены инструмента вводит, по меньшей мере, один динамический импульс во фрезерный барабан (10), часть фрезерного барабана (10), резцедержатель (23) или группу резцедержателей (23), и что импульс за счет инерционности массы резца (30) вводит в резец (30) усилие извлечения, причем исполнительный блок и/или установочное устройство имеет измерительную систему для определения положения, причем исполнительный блок и/или установочное устройство снабжены цифровым управляющим устройством.
16. Строительная машина по п.15, отличающаяся тем, что устройство для замены инструмента является механическим устройством.
17. Строительная машина по п.15, отличающаяся тем, что устройство для замены инструмента установлено во внутреннем пространстве фрезерного барабана (10).
18. Строительная машина по п.15, отличающаяся тем, что устройство для замены инструмента установлено вне фрезерного барабана (10).
19. Строительная машина по п.15, отличающаяся тем, что устройство для замены инструмента имеет, по меньшей мере, одно приспособление (40) для замены инструмента, которое может быть связано с отдельным резцедержателем (23) или с группами резцедержателей с помощью исполнительного блока.
20. Строительная машина по п.15, отличающаяся тем, что устройство для замены инструмента имеет приспособление (40) для замены инструмента, которое связано со всеми резцедержателями (23) одновременно.
21. Строительная машина по п.15, отличающаяся тем, что каждый резцедержатель (23) связан соответственно с одним приспособлением (40) для замены инструмента устройства для замены инструмента.
22. Строительная машина по п.21, отличающаяся тем, что приспособление (40) для замены инструмента жестко связано с резцедержателем (23).
23. Строительная машина по п.15, отличающаяся тем, что динамический импульс произведен с помощью вибрационного устройства.
24. Строительная машина по п.15, отличающаяся тем, что фрезерный барабан (10) снабжен, по меньшей мере, одним упором (51), который имеет поверхность (52) упора, обращенную в рабочем направлении движения, и формирователь (50) импульсов оказывает на поверхность (52) упора действующее против рабочего направления движения усилие.
25. Строительная машина по п.24, отличающаяся тем, что формирователь (50) импульса представляет било, которое воздействует своим весом на поверхность (52) упора.
26. Строительная машина по п.15 или 24, отличающаяся тем, что фрезерный барабан (10) с помощью приводной ветви связан с приводным двигателем строительной машины, причем установочная система имеет вспомогательный привод, который может соединяться с приводной ветвью, которая поворачивает фрезерный барабан (10) в приподнятом состоянии, причем момент вращения вспомогательного привода выше, чем момент инерции фрезерного барабана (10) и движущейся вместе с фрезерным барабаном (10) частью приводной ветви при выключенном или отсоединенном приводном двигателе.
27. Строительная машина по п.15, отличающаяся тем, что устройство для замены инструмента направляет демонтированный резец (30) в контейнер непосредственно или с помощью транспортирующего устройства.
28. Строительная машина по п.15, отличающаяся тем, что устройство для замены инструмента снабжено устройством для разделения, и устройство для разделения транспортирует резцы (30) из накопителя в устройство для замены инструмента.
29. Строительная машина по п.15, отличающаяся тем, что фрезерный барабан (10) снабжен распознавательным устройством, которое непрерывно, с интервалами или по заданию проверяет состояние износа резцов (30), или части резцов (30), или отдельного резца (30), и распознавательное устройство при достижении заданного состояния износа инициирует замену инструмента или сигнализирует о нем.
30. Строительная машина по п.29, отличающаяся тем, что, по меньшей мере, одно устройство для приема сигнала распознавательного устройства связано, по меньшей мере, с одной непосредственно или косвенно участвующей в рабочем процессе конструктивной частью машины, система приема сигнала регистрирует рабочее состояние конструктивной детали машины и эта система приема сигнала с помощью устройства обработки сигнала определяет состояние износа.
РИСУНКИ
|
|