|
|
(21), (22) Заявка: 2006144616/02, 15.12.2006
(24) Дата начала отсчета срока действия патента:
15.12.2006
(46) Опубликовано: 27.08.2008
(56) Список документов, цитированных в отчете о поиске:
TW 555891 В, 01.10.2003. JP 2005264290, 29.09.2005. RU 2268952 C1, 27.01.2006.
Адрес для переписки:
124498, Москва, Зеленоград, пр-д 4806, 5, МИЭТ, патентно-лицензионный отдел
|
(72) Автор(ы):
Белов Алексей Николаевич (RU), Гаврилов Сергей Александрович (RU), Демидов Юрий Александрович (RU), Железнякова Анастасия Вячеславовна (RU), Шевяков Василий Иванович (RU)
(73) Патентообладатель(и):
Государственное образовательное учреждение высшего профессионального образования Московский государственный институт электронной техники (технический университет) (RU)
|
(54) ЭЛЕКТРОХИМИЧЕСКАЯ ЯЧЕЙКА ДЛЯ ПОЛУЧЕНИЯ ПОРИСТЫХ АНОДНЫХ ОКСИДОВ МЕТАЛЛОВ И ПОЛУПРОВОДНИКОВ
(57) Реферат:
Изобретение относится к области электрохимии, а конкретно к анодному окислению металлов и полупроводников. Электрохимическая ячейка включает электропроводящий держатель образца, образец, ванну с электролитом, контактирующим с образцом, и устройство регулирования температуры в электрохимической ячейке. Устройство регулирования температуры контактирует с поверхностью электропроводящего держателя образца. В качестве устройства регулирования температуры используют термоэлемент Пельтье. Технический результат: повышение воспроизводимости, контролируемости, однородности процесса анодного окисления металлических и полупроводниковых образцов. 1 з.п. ф-лы, 1 ил.
Изобретение относится к области электрохимических процессов, а конкретно к анодному окислению металлов и полупроводников.
Известна электрохимическая ячейка [1]. Она включает электропроводящий держатель образца, образец, ванну с электролитом, контактирующим с образцом, и устройство регулирования температуры в электрохимической ячейке, обеспечивающее регулирование температуры электролита в диапазоне от 0 до 20°С. Недостатком данной ячейки является то, что в ней осуществляется термостабилизация объема электролита, а не зоны электрохимической реакции, где происходит основное выделение тепла, что не обеспечивает постоянства напряженности электрического поля в растущем оксиде, а следовательно, повышенной воспроизводимости процесса анодного окисления.
Известна электрохимическая ячейка [2]. Она также включает электропроводящий держатель образца, образец, ванну с электролитом, контактирующим с образцом, и устройство регулирования температуры в электрохимической ячейке, обеспечивающее регулирование температуры объема электролита. Недостатком данной ячейки так же, как и в первом аналоге, является то, что в ней осуществляется термостабилизация объема электролита, а не зоны электрохимической реакции, где происходит основное выделение тепла, что не обеспечивает постоянства напряженности электрического поля в растущем оксиде, а следовательно, повышенной воспроизводимости процесса анодного окисления.
Наиболее близким к заявляемой электрохимической ячейке является устройство [3]. Данная электрохимическая ячейка включает электропроводящий держатель образца, образец, ванну с электролитом, контактирующим с образцом, и устройство регулирования температуры в электрохимической ячейке, предотвращающее рост температуры электролита. Недостатком данной ячейки так же как и в предыдущих аналогах, является то, что в ней осуществляется термостабилизация объема электролита, а не зоны электрохимической реакции, где происходит основное выделение тепла, что не обеспечивает постоянства напряженности электрического поля в растущем оксиде, а следовательно, повышенной воспроизводимости процесса анодного окисления.
Задача – повышение воспроизводимости, контролируемости, однородности процесса анодного окисления металлических и полупроводниковых образцов.
Сущность изобретения заключается в следующем. Электрохимическая ячейка включает электропроводящий держатель образца, образец, ванну с электролитом, контактирующим с образцом, и устройство регулирования температуры в электрохимической ячейке. Устройство регулирования температуры контактирует с поверхностью электропроводящего держателя образца. В качестве устройства регулирования температуры может быть использован термоэлемент Пельтье.
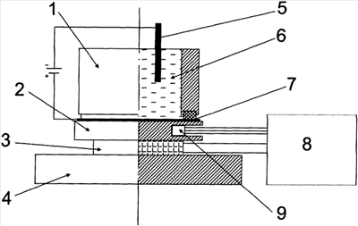
На чертеже приведено схематическое изображение электрохимической ячейки, где: 1 – ванна с электролитом, 2 – электропроводящий держатель образца, 3 – термоэлемент Пельтье, 4 – радиатор, 5 – противоэлектрод, 6 – электролит, 7 – анодируемый образец, 8 – блок управления, 9 – датчик контроля температуры.
Согласно известным представлениям основное падение напряжения происходит в оксидной пленке, образующейся на поверхности образца. Определяющим параметром процесса анодного окисления является напряженность электрического поля в растущем оксиде, которая зависит от температуры. Для обеспечения воспроизводимости процесса анодного окисления необходимо регулировать температуру растущего на поверхности образца оксида (т.е. температуру в зоне реакции). Это может быть достигнуто, если устройство регулирования температуры располагается в непосредственной близости от обрабатываемого образца. Поскольку образец располагается на электропроводящем держателе, чтобы обеспечивался доступ травителя к обрабатываемой его рабочей поверхности, то устройство регулирования температуры для максимально точного поддержания требуемой температуры однородно во всей зоне реакции должно контактировать с поверхностью электропроводящего держателя образца, целесообразнее всего с его обратной стороной. В качестве устройства регулировки температуры может быть использован термоэлемент Пельтье, имеющий датчик контроля температуры и электронный блок управления (см. чертеж). Применение элемента Пельтье обусловлено тем, что он позволяет воспроизводить необходимую температуру равномерно по всей поверхности плоского держателя образца и может быть компактно реализован без необходимости подвода теплоносителей. Достоинством предлагаемого технического решения является обеспечение повышения воспроизводимости, контролируемости, однородности процесса анодного окисления металлических и полупроводниковых образцов в широком диапазоне их размеров.
Пример исполнения.
Электрохимическая ячейка включает электропроводящий держатель образца, выполненный из латуни, образец, представляющий собой металлическую пластину, фторопластовую ванну с электролитом, представляющим собой водный раствор кислоты, контактирующим с образцом, противоэлектрод, выполненный из нержавеющей стали, тоководы к держателю образца и противоэлектроду и устройство регулирования температуры, которое состоит из термоэлемента Пельтье в керамическом корпусе, датчика контроля температуры и блока управления. Термоэлемент Пельтье непосредственно контактирует с поверхностью электропроводящего держателя образца.
Источники информации
1. Патент Японии JP 2005264290, C25D 11/06, 2005.
2. Патент Канады СА 2425296, C25D 11/08, 2003.
3. Патент Тайваня TW 555891 В, C25D 11/04, 2003 – прототип.
Формула изобретения
1. Электрохимическая ячейка, включающая электропроводящий держатель образца, образец, ванну с электролитом, контактирующим с образцом, и устройство регулирования температуры в электрохимической ячейке, отличающаяся тем, что устройство регулирования температуры контактирует с поверхностью электропроводящего держателя образца.
2. Электрохимическая ячейка по п.1, отличающаяся тем, что в качестве устройства регулирования температуры использован термоэлемент Пельтье.
РИСУНКИ
|
|