|
|
(21), (22) Заявка: 2007108174/13, 05.03.2007
(24) Дата начала отсчета срока действия патента:
05.03.2007
(46) Опубликовано: 27.08.2008
(56) Список документов, цитированных в отчете о поиске:
ОЛЕЙНИК И.А. и др. Работа диффузионного аппарата А1-ПДС-20 с предварительным нагреванием стружки. Сахарная промышленность №1, 1987, с.30-32. SU 1057540, 30.11.1983. SU 1392099, 30.03.1988. GB 1475961, 10.06.1977.
Адрес для переписки:
350072, г.Краснодар, ул. Московская, 2, ГОУ ВПО “КубГТУ”, отдел интеллектуальной и промышленной собственности, проректору по НиМД, проф. В.С. Симанкову
|
(72) Автор(ы):
Степанова Евгения Григорьевна (RU), Гальченко Александр Сергеевич (RU), Гальченко Сергей Григорьевич (RU)
(73) Патентообладатель(и):
Государственное образовательное учреждение высшего профессионального образования “Кубанский государственный технологический университет” (ГОУ ВПО “КубГТУ”) (RU)
|
(54) ОШПАРИВАТЕЛЬ СВЕКЛОВИЧНОЙ СТРУЖКИ
(57) Реферат:
Изобретение относится к сахарной промышленности. Ошпариватель включает вертикальный цилиндрический корпус, разделенный на три секции, имеющий горизонтальные сита с проемами для перегрузки свекловичной стружки и снабженный паровыми камерами, турникетами для загрузки свекловичной стружки и выгрузки ошпаренной. В корпусе установлен ротор, состоящий из вертикального полого вала, снабженного трубопроводом подвода в него пара, и укрепленных на валу лопастей для перемешивания и перемещения стружки. На валу также укреплены по винтовой линии с одинаковым шагом форсунки и коллекторы для подачи пара в слой стружки. Вал снабжен вибратором для создания его колебаний. В нижней секции корпуса расположена паровая камера для подвода кальцинированного раствора в слой стружки. Изобретение обеспечивает равномерный нагрев свекловичной стружки по высоте слоя, а также предотвращает умягчение ее в процессе ошпаривания. 1 ил.
Изобретение относится к сахарной промышленности.
Известен ошпариватель свекловичной стружки, содержащий наклонную емкость, снабженную загрузочной шахтой, торцовым ситом для отделения сока от стружки, патрубком для подачи горячего диффузионного сока и камерой для выгрузки стружки, установленные внутри емкости параллельные шнеки, витки которых перекрывают друг друга, и устройство для частичного отжатия сока из ошпаренной свекловичной стружки.
Загрузочная шахта разделена горизонтальными перегородками на секции по ее высоте. В каждой секции установлены перфорированный короб, образующий со стенкой шахты и перегородкой камеру для подвода пара в стружку, и устройство для перемещения стружки, состоящее из укрепленных на валу радиальных лопастей (SU 1057540 А, 30.11.1983).
Недостатком ошпаривателя является неравномерный прогрев стружки паром и диффузионным соком из-за значительной толщины ее слоя. Обработка стружки паром и диффузионным соком, а также частичное отжатие сока из ошпаренной стружки приводит к ее умягчению, что отрицательно влияет на экстрагирование сахара.
Ближайшим аналогом предложенного изобретения является ошпариватель свекловичной стружки, включающий вертикальный цилиндрический корпус, разделенный на три секции, имеющий горизонтальные сита с проемами для перегрузки свекловичной стружки и снабженный паровыми камерами, турникетами для загрузки свекловичной стружки и выгрузки ошпаренной, установленным в корпусе ротором, состоящим из вертикального вала и укрепленных на нем лопастей для перемешивания и перемещения стружки (Сахарная промышленность, 1987, №1, с.30-32).
Недостатком известного ошпаривателя является то, что в нем не обеспечивается равномерное нагревание свекловичной стружки по высоте слоя каждой секции. Кроме того, стружка при обработке паром умягчается, что приводит к ухудшению условий экстрагирования.
Технический результат изобретения заключается в обеспечении равномерного нагрева свекловичной стружки по высоте слоя, а также предотвращении умягчения ее в процессе ошпаривания.
Технический результат достигается тем, что в предложенном ошпаривателе, включающем вертикальный цилиндрический корпус, разделенный на три секции, имеющий горизонтальные сита с проемами для перегрузки свекловичной стружки и снабженный паровыми камерами, турникетами для загрузки свекловичной стружки и выгрузки ошпаренной, установленным в корпусе ротором, состоящим из вертикального вала и укрепленных на нем лопастей для перемешивания и перемещения стружки, вал ротора выполнен полым и снабжен трубопроводом подвода в него пара, укрепленными на нем по винтовой линии с одинаковым шагом форсунками и коллекторами для подачи пара в слой стружки, а также вибратором для создания его колебаний. В нижней секции корпуса расположена паровая камера для подвода кальцинированного раствора в слой стружки.
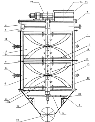
Изобретение поясняется чертежом, на котором схематично изображен продольный разрез ошпаривателя.
Ошпариватель свекловичной стружки включает вертикальный цилиндрический корпус 1 с крышкой 2 и коническим днищем 3, разделенный на три секции и 4, 5 и 6 горизонтальными ситами 7 с проемами для перегрузки свекловичной стружки. Секция 4 служит для загрузки стружки и ее предварительного нагрева паром, подаваемым при помощи коллектора 8.
Корпус снабжен паровыми камерами 9 и 10 с перфорированными стенками, при этом паровая камера 10 в нижней секции 6 служит для подвода кальцинированного раствора в слой стружки. Камеры снабжены подводящими пар и указанный раствор патрубками 11 и 12.
В корпусе установлен ротор, состоящий из вертикального полого вала 13, снабженного трубопроводом подвода в него, и укрепленных на нем лопастей 14 и 15 для перемешивания и перемещения стружки в ниже расположенные секции, при этом они состоят из двух шнековых витков. На валу укреплены по винтовой линии с одинаковым шагом форсунки 16 и коллекторы 17 и 18.
Установка форсунок по винтовой линии по длине полого вала создает возможность воздействия пара на все количество перемещаемой в корпусе стружки и обеспечения ее равномерного нагревания без недогрева или локального перегревания.
Нижний конец вала укреплен на раме 19 и снабжен вибратором 20 с вибраторами 21, установленными на днище корпуса. Привод 22 вала расположен на крышке 2 корпуса. На ней установлен бункер 23 с турникетом 24 для равномерной подачи стружки на ошпаривание. В днище 3 корпуса расположен турникет 25 для выгрузки ошпаренной стружки из корпуса 1.
Ошпариватель работает следующим образом.
Свекловичная стружка из бункера 23 турникетом 24 подается в секцию 4, в которой предварительно обрабатывается паром из коллектора 8. Затем нагретая свекловичная стружка через проем в горизонтальном сите 7 поступает в секцию 5, в которой перемешивается лопастью 14 и обрабатывается паром из паровой камеры 9, а также из коллекторов 17 и форсунок 18, пар в которые поступает из полого вала 13. Такой подвод пара в секцию обеспечивает равномерное нагревание стружки во всем ее объеме до достижения необходимой температуры 68-72°С.
Стружка из секции 5 через проем в горизонтальном сите поступает в секцию 6, в которую из паровой камеры 10 подается кальцинированный раствор с температурой 80-82°С.
Обработка предварительно нагретой паром свекловичной стружки кальцинированным раствором в секции 6 обеспечивает ее прочность и упругость и предотвращает умягчение стружки в процессе термоплазмомида.
Колебания вала, создаваемые при помощи вибратора 20, улучшают условия транспортирования и перемешивания свекловичной стружки по высоте корпуса 1. В секции 6 стружка также обрабатывается паром, поступающим из коллекторов 18 и форсунок 16.
Ошпаренная свекловичная стружка через проем в сите ссыпается в днище 3 корпуса и выгружается турникетом 25.
Формула изобретения
Ошпариватель свекловичной стружки, включающий вертикальный цилиндрический корпус, разделенный на три секции, имеющий горизонтальные сита с проемами для перегрузки свекловичной стружки и снабженный паровыми камерами, турникетами для загрузки свекловичной стружки и выгрузки ошпаренной, установленным в корпусе ротором, состоящим из вертикального вала и укрепленных на нем лопастей для перемешивания и перемещения стружки, отличающийся тем, что вал ротора выполнен полым и снабжен трубопроводом подвода в него пара, укрепленными на нем по винтовой линии с одинаковым шагом форсунками и коллекторами для подачи пара в слой стружки, а также вибратором для создания его колебаний, при этом в нижней секции корпуса расположена паровая камера для подвода кальцинированного раствора в слой стружки.
РИСУНКИ
|
|