|
(21), (22) Заявка: 2004124828/13, 11.01.2003
(24) Дата начала отсчета срока действия патента:
11.01.2003
(30) Конвенционный приоритет:
15.01.2002 DE 10201259.8
(43) Дата публикации заявки: 10.07.2005
(46) Опубликовано: 27.08.2008
(56) Список документов, цитированных в отчете о поиске:
YP 08-154663, 18.06.1996. SU 684064, 05.09.1979. SU 1296575 A1, 15.03.1987. US 5267791 A, 12.07.1993. US 5219755 A, 15.06.1993. GB 2305936 A, 23.04.1997.
(85) Дата перевода заявки PCT на национальную фазу:
16.08.2004
(86) Заявка PCT:
EP 03/00211 (11.01.2003)
(87) Публикация PCT:
WO 03/060055 (24.07.2003)
Адрес для переписки:
103735, Москва, ул.Ильинка, 5/2, ООО “Союзпатент”, А.А. Силаевой
|
(72) Автор(ы):
БАДЕР Аугустинус (DE)
(73) Патентообладатель(и):
БАДЕР Аугустинус (DE)
|
(54) БИОРЕАКТОР ДЛЯ ВЫРАЩИВАНИЯ КЛЕТОК
(57) Реферат:
Изобретение относится к медицине и биологии. Биоректор содержит сосуд, состоящий из цилиндрической средней части и герметично связанных с ней верхней крышки и дна, выполненного в виде нижней крышки, и имеющих по меньшей мере одно отверстие для подвода или отвода питательной среды или кислорода. Указанные крышки имеют кольца с резьбой на внутренней поверхности, а цилиндрическая средняя часть сосуда – наружную резьбу для образования герметичного резьбового соединения с кольцами крышек. Изобретение обеспечивает удобство обслуживания биореактора и возможность извлечения выращенных клеток без их повреждения. 9 з.п. ф-лы, 13 ил.
Изобретение относится к области медицины и биологии.
Известен биореактор для выращивания клеток в сосуде, состоящем из цилиндрической средней части и герметично связанных с ней верхней крышки и дна, выполненного в виде нижней крышки, и имеющих по меньшей мере одно отверстие для подвода или отвода питательной среды (патент JP 08-154663 опубликован в 1996 г.).
Недостаток этого реактора заключается в сложности выращивания клеток и в неудобстве в обслуживании.
Биореактор согласно данному изобретению обладает по сравнению с устройством по вышеописанному патенту многими преимуществами. Биореактор согласно данному изобретению обеспечивает высокую герметичность и стерильность и позволяет быстро закладывать в него и извлекать из него клетки. Кроме того, данный биореактор можно очень легко очищать. Благодаря этим преимуществам биореактор согласно данному изобретению можно успешно использовать в серийном производстве.
Техническим результатом изобретения является удобство обслуживания биореактора и возможность извлечения выращенных клеток без их повреждения.
Технический результат достигается тем, что в биореакторе для выращивания клеток, содержащем сосуд, состоящий из цилиндрической средней части и герметично связанных с ней верхней крышки и дна, выполненного в виде нижней крышки, и имеющих по меньшей мере одно отверстие для подвода или отвода питательной среды или кислорода, указанные крышки имеют кольца с резьбой на внутренней поверхности, а цилиндрическая средняя часть сосуда – наружную резьбу для образования герметичного резьбового соединения с кольцами крышек.
Для плотного соединения между крышкой и сосудом могут быть предусмотрены зажимные кольца, уплотнительные кольца или же резьбовые соединения с внутренней и наружной резьбой.
Очень хорошие условия герметизации и тем самым давления обеспечиваются при снабжении крышки или крышек кольцами, которые в этом случае с герметизацией охватывают снаружи цилиндрическую среднюю часть сосуда.
Если биореактор согласно изобретению необходимо подвергать воздействию движения качания или движения вращения, то можно расположить кольца, которые охватывают крышку или крышки и сосуд и к которым можно присоединять устройства вращения или качания.
Для создания давления во внутреннем пространстве сосуда можно применять самые различные устройства для создания давления. Для этого пригодны, например, цилиндропоршневые блоки, которые для создания переменного давления могут также работать в соответствующем импульсном режиме.
Устройство для создания давления питательной среды содержит намагничиваемую шайбу, расположенную с возможностью перемещения в сосуде и создания давления питательной среды на клетки, и средство ее намагничивания.
Шайба выполнена в виде решетки или сетки или с отверстиями для протока культуральной среды.
Устройство для создания давления питательной среды может представляет собой гидравлическое или пневматическое устройство, содержащее фольгу или пластину, или мембрану, расположенную в сосуде.
При необходимости можно выполнять сосуд также в виде двухкамерной системы для выращивания двух разных клеток или же двух одинаковых клеток по отдельности.
В этом случае предпочтительно снабдить крышку сосуда подвесным устройством, на котором расположена платформа для размещения клеток. За счет этого выращивание одного типа клеток происходит на платформе, в то время как выращивание других клеток может происходить на дне сосуда.
Стенка сосуда может быть в случае необходимости выполнена также пористой или газопроницаемой, так что с этой стороны можно также подавать питательную среду и/или газообразную среду, такую как, например, воздух или кислород.
Изобретение поясняется ниже чертежами, на которых схематично изображено:
фиг.1 – продольный разрез биореактора с подводящими отверстиями, расположенными на верхней и нижней крышке;
фиг.2 – продольный разрез биореактора, верхняя крышка которого имеет одно подводящее и одно отводящее отверстие;
фиг.3 – вариант выполнения биореактора с резьбовыми соединениями;
фиг.4 – разрез биореактора с устройством для создания давления питательной среды;
фиг.5 – разрез биореактора с подвесным устройством;
фиг.6 – биореактор с устройством для создания давления питательной среды;
фиг.6а, 6b и 6с – виды сверху на шайбы различной конструкции;
фиг.7 – вариант конструкции биореактора с устройством для создания давления для питательной среды;
фиг.8 – вариант биореактора с гидравлическим или пневматическим устройством;
фиг.9 – вариант биореактора, аналогичный изображенному на фиг.8;
фиг.10 – вариант биореактора, аналогичный показанному на фиг.8.
Биореактор для выращивания клеток содержит сосуд 1, состоящий из цилиндрической средней части и герметично связанных с ней верхней крышки 3 и дна, выполненного в виде нижней крышки 12, и имеющих по меньшей мере одно отверстие 8 для подвода или отвода (9) питательной среды или кислорода, указанные крышки имеют кольца с резьбой (4) на внутренней поверхности, а цилиндрическая средняя часть сосуда – наружную резьбу (2) для образования герметичного резьбового соединения с кольцами крышек (фиг.1).
На фиг.2 показан вариант выполнения биореактора, аналогичный показанному на фиг.1, при этом только в верхней крышке 3 расположено отверстие 8 для подвода и отверстие 9 для отвода. Так же, как в примере выполнения, показанном на фиг.1, на обеих торцевых сторонах цилиндрической средней части сосуда 1 предусмотрены уплотнительные кольца 5.
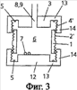
На фиг.3 показан вариант выполнения биореактора, в котором резьбовое соединение между сосудом 1 и крышками 3 и 12 образовано с помощью внутренней резьбы 4 в кольцах 14, которая взаимодействует с наружной резьбой 2 в сосуде 1.
На фиг.4 показан разрез биореактора, в котором внутри сосуда 1 образована полость 6 для клеточной культуры. Полость 6 для клеточной культуры подвергается воздействию давления с помощью устройства 17 для создания давления в виде цилиндропоршневого блока.
Корпус 18 цилиндропоршневого блока имеет отверстие 8 для подвода питательной среды, которое во входной зоне выполнено с возможностью закрытия обратным клапаном 19, и отверстие 9 для отвода питательной среды.
На фиг.5 показан разрез биореактора с верхней крышкой 3, нижней крышкой 12 и цилиндрической средней частью сосуда 1. Верхняя крышка 3 снабжена подвесным устройством в виде нескольких расположенных с распределением по окружности стержней 21, которые проходят параллельно продольной оси сосуда 1 внутрь сосуда 1. На нижнем конце стержней 21 закреплена платформа 22, на которой размещаются подлежащие выращиванию клетки 7. Подводящее отверстие 8 и отводящее отверстие 9 могут быть расположены в окружной стенке сосуда 1. Однако возможно также их расположение в одной из обеих крышек 3 или 12, как это показано штриховыми линиями. В этом случае также возможны отдельные соединительные отверстия для подачи и отвода.
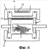
На фиг.6 показан биореактор с устройством для создания давления питательной среды, на которой показан сосуд, в котором в зоне верхней крышки 3 установлено магнитное устройство 24, например магнитная катушка, через которую пропускается ток. Под магнитным устройством 24 находится намагничиваемая нажимная шайба 25, которая соединена с сосудом 1.
На фиг.6а показан вид сверху шайбы 25, при этом выполнены отверстия 26 для прохождения питательной среды, которая находится внутри сосуда 1.
На фиг.6b и 6с показаны виды сверху шайбы 25 в виде сетки или решетки для прохождения питательной среды.
На фиг.7 показан вариант конструкции биореактора с расширяющимися элементами 28, которые могут перемещать в осевом направлении пластину 29, расположенную с возможностью перемещения в сосуде 1 или в крышке 3.
На фиг.8 показан вариант биореактора с устройством для создания давления на клетки 7 в виде гидравлического или пневматического устройства 30, которое расположено в сосуде 1, соответственно в крышке 3. Устройство 30 имеет подвижную фольгу, пластину или мембрану 31, расположенную в сосуде.
На фиг.9 показан аналогичный вариант выполнения, при этом клетки 7 лежат в геле 32.
На фиг.10 также показан вариант выполнения, аналогичный показанному на фиг.9, при этом уплотнение между верхней крышкой 3 и нижней крышкой 12 осуществляется с помощью уплотнительных колец 33 и 34.
С помощью биореактора согласно изобретению можно выращивать самые различные клеточные культуры.
Внутри сосуда 1 образована полость 6 для клеток, которая подвергается воздействию давления с помощью устройства 17 создания давления в виде цилиндропоршневого блока.
Корпус 18 цилиндропоршневого блока имеет отверстие 8 для подвода питательной среды и подачи ее внутрь сосуда, которое во входной зоне выполнено с возможностью закрытия обратным клапаном 19. С помощью поршня 20 цилиндропоршневого механизма 17 на подаваемую через подводящее отверстие 8 питательную среду оказывается давление, при этом это давление распространяется внутрь сосуда 1. Через отверстие 9 для отвода на противоположной подаче стороне сосуда 1 осуществляется отвод питательной среды. Если во внутреннем пространстве сосуда 1 необходимо создать повышенное давление, которое при необходимости может быть переменным, то в этом случае необходимо дросселировать отвод питательной среды или соответствующим образом закрывать отверстие 9 для отвода.
Для этого вместо подачи питательной среды через подводящее отверстие 8 одна или обе крышки 3 или 12 или окружная стенка сосуда 1 имеют отдельное отверстие. В этом случае можно подвергать внутреннее пространство сосуда 1 и тем самым полость 6 для клеток воздействию давления также с помощью газа, например воздуха.
Для облегчения ввода клетки 7 в сосуд 1 и извлечения из него предусмотрено подвесное устройство со стержнями 21.
На нижнем конце стержней 21 закреплена платформа 22, на которой размещаются подлежащие выращиванию клетки 7. Соединение стержней 21 с платформой 22 может быть при необходимости также разъемным. Возможность разъединения может обеспечиваться, например, с помощью зажимного соединения, за счет чего также обеспечивается более легкое обращение с устройством.
Платформа 22 может быть выполнена в виде сплошного блока. Можно использовать мембрану, например пористую мембрану, которая обеспечивает прохождение кислорода.
Имеется дополнительная возможность для выращивания клеток 7 также на дне 23 сосуда, соответственно на внутренней стороне крышки 12. Таким образом, создается двухкамерная система для выращивания двух клеточных культур.
Вместо отверстия 8 для подвода и отверстия 9 для отвода можно помещать питательную среду в сосуд 1 на продолжительное время, и в этом случае отверстие 8 для подвода и отверстие 9 для отвода служат лишь для подачи кислорода.
В сосуде в зоне верхней крышки 3 установлено магнитное устройство 24, например магнитная катушка, через которую пропускается ток. Под магнитным устройством 24 находится намагничиваемая нажимная шайба 25, которая соединена с сосудом 1.
За счет движения шайбы 25 вследствие активирования магнитного устройства 24, через которое пропускается ток переменного направления, осуществляется внутренняя нагрузка давлением на клетки 7.
В шайбе 25 выполнены отверстия 26 для прохождения питательной среды, которая находится внутри сосуда 1.
Шайба 25 может быть выполнена в виде сетки или решетки для прохождения питательной среды.
Магнитную катушку в качестве магнитного устройства 24 можно также размещать снаружи над крышкой 3. При таком выполнении крышка 3 выполнена из немагнитного материала, например пластмассы. В этом случае можно предусматривать соответственно большие магнитные устройства 24 и создавать тем самым соответственно высокие силы давления.
В биореакторе можно установить расширяющиеся элементы 28, которые могут перемещать в осевом направлении расположенную с возможностью перемещения в сосуде 1 или в крышке 3 пластину 29, аналогично нажимным шайбам 25, и тем самым оказывать на клетки 7 переменные силы давления. В качестве расширяющихся элементов можно применять, например, так называемые металлы или пластмассы с памятью, которые деформируются и снова возвращаются в старую форму. Имеются, например, также пластмассы, которые могут расширяться при электрическом изменении. Элементы с функцией памяти реагируют, например, на определенные температуры или на облучение ультразвуком и тем самым изменяют свое положение, за счет чего вызывается перемещение пластины 30. Можно использовать также пружинные устройства, а также электродвигатели с аккумуляторами или батареями.
Устройство для создания давления на клетки 7 может быть выполнено в виде гидравлического или пневматического устройства 30, которое расположено в сосуде 1, соответственно в крышке 3. Устройство 30 имеет подвижную фольгу, пластину или мембрану 31, за которой находится гидравлическая жидкость или газ в качестве текучей среды. На гидравлическую жидкость или газообразную среду оказывается с помощью нажимного устройства переменное давление, за счет чего на клетки 7 действует переменное давление. Вместо одной упругой пластины или мембраны 31 можно при необходимости применять также баллон для обеспечения большей возможности варьирования. При этом, например, все стенки сосуда на внутренней стороне могут быть окружены таким мешком или баллоном, при этом клетки находятся внутри. За счет этого можно снаружи создавать действующую со всех сторон переменную нагрузку давлением.
Клетки 7 могут помещаться в гель.
Формула изобретения
1. Биореактор для выращивания клеток, содержащий сосуд, состоящий из цилиндрической средней части и герметично связанных с ней верхней крышки и дна, выполненного в виде нижней крышки, и имеющих по меньшей мере одно отверстие для подвода или отвода питательной среды или кислорода, отличающийся тем, что указанные крышки имеют кольца с резьбой на внутренней поверхности, а цилиндрическая средняя часть сосуда наружную резьбу для образования герметичного резьбового соединения с кольцами крышек.
2. Биореактор по п.1, отличающийся тем, что крышки и цилиндрическая часть сосуда снабжена уплотнительными кольцами.
3. Биореактор по п.1, отличающийся тем, что сосуд снабжен зажимными кольцами для его качения или вращения.
4. Биореактор по п.1, отличающийся тем, что в сосуде расположена платформа для размещения клеток, подвешенная при помощи подвесного устройства к верхней крышке.
5. Биореактор по п.1, отличающийся тем, что он снабжен устройством для создания давления питательной среды.
6. Биореактор по п.5, отличающийся тем, что указанное устройство представляет собой цилиндропоршневой блок.
7. Биореактор по п.5, отличающийся тем, что устройство для создания давления питательной среды содержит намагничиваемую шайбу, расположенную с возможностью перемещения в сосуде, и средство ее намагничивания.
8. Биореактор по п.7, отличающийся тем, что шайба выполнена в виде решетки, или сетки, или с отверстиями для прохождения питательной среды.
9. Биореактор по п.5, отличающийся тем, что устройство для создания давления питательной среды представляет собой гидравлическое или пневматическое устройство, содержащее фольгу, или пластину, или мембрану, расположенную в сосуде.
10. Биореактор по п.1, отличающийся тем, что в сосуде расположен гель для размещения в нем клеток.
РИСУНКИ
|