|
|
(21), (22) Заявка: 2006143227/11, 06.12.2006
(24) Дата начала отсчета срока действия патента:
06.12.2006
(46) Опубликовано: 27.08.2008
(56) Список документов, цитированных в отчете о поиске:
SU 294764 04.11.1971. SU 422642, 05.07.1974. DE 4002781 22.11 1990. US 3069606 18.12.1962.
Адрес для переписки:
346500, Ростовская обл., г. Шахты, пл. Ленина, 1, ШИЮРГТУ, гос. эксперту И.И. Кузнецовой
|
(72) Автор(ы):
Волков Дмитрий Владимирович (RU)
(73) Патентообладатель(и):
Государственное образовательное учреждение высшего профессионального образования “Южно-Российский Государственный технический университет (Новочеркасский политехнический институт)” (RU)
|
(54) СПОСОБ ОПРЕДЕЛЕНИЯ БОКСОВАНИЯ МЕТАЛЛИЧЕСКИХ ВЕДУЩИХ КОЛЕС
(57) Реферат:
Изобретение относится к области рельсового транспорта различного назначения. Предлагается для определения факта боксования металлических ведущих колес использовать выделение металлической пыли в зоне контакта колеса с рельсом при их взаимном проскальзывании. Для обнаружения металлической пыли воздух из места контакта засасывается вентилятором в воздухоприемник, внутри которого установлены электроды с разрядным промежутком, питаемые импульсами высокого напряжения. При наличии металлической пыли происходит пробой воздушного промежутка между электродами, который обнаруживается датчиком наличия тока в цепи электродов и служит сигналом о наличии боксования. Технический результат заключается в упрощении средств выявления боксования и повышении их надежности. 1 ил.
Изобретение относится к рельсовому транспорту, к средствам для предотвращения проскальзывания ведущих колес.
Известно, что разносное боксование часто приводит к опасному увеличению скорости вращения тяговых двигателей. Кроме того, уменьшается сила тяги и торможения, увеличивается износ бандажей. Явления боксования возникают очень часто, особенно при ведении тяжелых составов. Машинист должен внимательно следить за работой привода и при возникновении разносного боксования принимать меры к восстановлению сцепления подачей песка под колеса или уменьшением силы тяги.
Даже при высокой квалификации машиниста трудно полностью исключить проявления разносного боксования, особенно при управлении несколькими электроповозками с одного поста, а тем более обеспечить пуск при силе тяги, близкой к силе сцепления. Для облегчения этой задачи используются различные способы автоматизированного управления, в основе которых лежит определение наличия боксования тем или иным способом.
Классическим способом определения боксования является применение различных реле боксования. Эти реле выявляют возникшее избыточное проскальзывание у части колес и сигнализируют об этом (при неавтоматической защите) или воздействуют на устройства для автоматического прекращения избыточного проскальзывания (при автоматической защите). Действие реле основано на выявлении разности скоростей вращения колесных пар косвенным или прямым путем. По первому способу о появлении различия в скорости вращения колес судят по косвенным признакам, например по изменению тока или напряжения тяговых двигателей. Для этого соответствующим образом включают обмотки реле в цепь тяговых двигателей [1, с.252].
Косвенные способы выявления боксования недостаточно точны, так как напряжение и ток разных двигателей могут быть неодинаковыми даже при равной скорости вращения из-за различия характеристик двигателей. Поэтому уставка реле боксования должна быть сделана с запасом для исключения ложных срабатываний, что снижает чувствительность защиты.
Гораздо точнее можно выявить боксование путем прямого сравнения скоростей вращения колес. При этом скорость колес измеряют датчиком, обычно в виде тахогенератора с постоянными магнитами, встроенным в буксу. Напряжения, генерируемые тахогенераторами, пропорциональны скорости вращения колес. Разность напряжений пропорциональна скорости проскальзывания с точностью, определяемой допустимым различием диаметров колес. Разность напряжений тахогенераторов определяют с помощью устройства, выделяющего максимальную разность входных сигналов, например в виде многофазного выпрямительного моста, и подают на релейный элемент [1, с.253].
Недостатком описанного способа является то, что в случае боксования всех колесных пар различия скоростей вращения может и не быть. В этом случае прибегают к контролю ускорения колес, которое при боксовании больше, чем при пуске. С этой целью реле включают через конденсатор. Однако, зачастую, и ускорения колес оказываются одинаковыми, и обнаружить боксование по различию между ускорениями так же затруднительно, как и между скоростями.
Попытка устранить указанные недостатки была предпринята авторами [2, 3], которые предлагают измеренные скорости вращения колесных пар сравнивать (с учетом диаметра колес) с результатом измерения линейной скорости локомотива предложенным ими способом. Недостатком подобного способа является повышенная сложность реализации, возможность отказа в случае отсутствия неоднородностей путевой структуры или их незаметности (например, при снежных заносах), а, главное, необходимость предварительной настройки системы в соответствии с действительным диаметром ведущих колес по кругу катания и последующей регулярной подстройки по мере износа ведущих колес, без которой система может дать ложное срабатывание.
Цель изобретения – предложение способа, свободного от указанного недостатка, который позволял бы осуществлять контроль боксования независимо от числа боксующих колесных пар.
Поставленная цель достигается путем определения наличия боксования без использования прямого или косвенного измерения скорости колесных пар. В качестве признака наличия боксования ведущего колеса предлагается использовать наличие металлической пыли в месте контакта колеса с рельсом в результате их взаимного трения при проскальзывании.
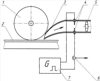
На чертеже изображена принципиальная схема варианта реализации предлагаемого способа в виде устройства датчика для определения боксования ведущих колес. Устройство датчика, определяющего наличие боксования металлического ведущего колеса 1, катящегося по рельсу 2, состоит из корпуса воздухоприемника 3, входное отверстие которого расположено у места контакта колеса 1 с рельсом 2, электродов 4, встроенных в корпус воздухоприемника и вентилятора 5, размещенного в том же корпусе. Электроды 4 соединены последовательно с датчиком наличия тока 6 и подсоединены к генератору импульсов высокого напряжения 7. Датчик наличия тока в цепи электродов может быть любого известного типа – резистивного, трансформаторного и т.п.
При работе датчика воздух, в котором, возможно, содержится металлическая пыль, засасывается вентилятором 5 из места контакта в корпус воздухоприемника 3 и попадает в пространство между электродами 4. Разрядный промежуток между электродами 4 и величина подаваемого на них напряжения от генератора 7 подобраны таким образом, что при отсутствии металлической пыли в воздухе внутри корпуса воздухоприемника 3 пробой между электродами не происходит. При этом ток в цепи электродов (за исключением малого тока утечек) отсутствует, и на выходе датчика наличия тока также отсутствует выходной сигнал, что говорит об отсутствии боксования.
В случае наличия боксования ведущего колеса 1 внутрь корпуса воздухоприемника 3 засасывается воздух, содержащий металлическую пыль. В результате наличия запыленного воздуха между электродами 4 происходит пробой воздушного промежутка, сопровождающийся протеканием разрядного тока от генератора 7 в цепи электродов 4. Наличие импульсов тока в этой цепи обнаруживается датчиком наличия тока 6, на выходе которого появляется сигнал, указывающий на наличие боксования ведущего колеса 1.
После прекращения боксования ведущего колеса 1 в воздухе в месте контакта исчезает металлическая пыль. Этот воздух засасывается в корпус воздухоприемника 3 и попадает в разрядный промежуток между электродами 4. В результате напряжение пробоя между электродами повышается и пробои воздушного промежутка высоковольтными импульсами генератора 7 прекращаются. В результате исчезают импульсы тока в цепи электродов 4, что приводит к исчезновению выходного сигнала датчика тока 6, указывающего на наличие боксования.
Таким образом, описанный датчик реализует предлагаемый способ определения боксования металлических ведущих колес.
Литература
1. Петров Б.Л. Электрическое оборудование и автоматизация электрического подвижного состава. Изд. 2-е, переработанное и дополненное. М-Л., Госэнергоиздат, 1963, 304 с.
2. Пат. RU 2189599 Зарифьян А.А.; Кириевский Е.В.; Январев С.Г.; Колпахчьян П.Г. Способ измерения линейной скорости локомотива. Заявл. 2001.07.16, опубл. 2002.09.20.
3. Пат. RU 2189600 Зарифьян А. А.; Кириевский Е. В.; Колпахчьян п.Г.; Январев С.Г. Способ измерения линейной скорости локомотива. Заявл. 2001.07.16, опубл. 2002.09.20.
Формула изобретения
Способ определения боксования металлических ведущих колес, основанный на определении взаимного проскальзывания колеса и рельса, отличающийся тем, что взаимное проскальзывание обнаруживается по появлению в воздухе, находящемся в зоне контакта колеса с рельсом, металлической пыли, о наличии металлической пыли в воздухе судят по изменению его электропроводности.
РИСУНКИ
|
|