|
|
(21), (22) Заявка: 2006126286/03, 19.07.2006
(24) Дата начала отсчета срока действия патента:
19.07.2006
(43) Дата публикации заявки: 27.01.2008
(46) Опубликовано: 27.08.2008
(56) Список документов, цитированных в отчете о поиске:
RU 2026745 C1, 20.01.1995. SU 897294 A, 15.01.1982. SU 103119 А, 02.08.1956. SU 1660741 A1, 07.07.1991. RU 2094124 C1, 27.10.1997. RU 2094123 C1, 27.10.1997. RU 2069099 C1, 20.11.1996. RU 2123884 C1, 27.12.1998. US 3152074 А, 06.10.1964. KZ 15698 A, 16.05.2005.
Адрес для переписки:
129515, Москва, ул. Акад. Королева, 13, а/я 51, ФГУП “Гипроцветмет”
|
(72) Автор(ы):
Руднев Борис Петрович (RU), Дюдин Юрий Константинович (RU), Всеславская Елена Юрьевна (RU), Клишин Дмитрий Алексеевич (RU), Кремерман Ефим Лазаревич (RU)
(73) Патентообладатель(и):
Федеральное государственное унитарное предприятие “Государственный научно-исследовательский, проектный и конструкторский институт горного дела и металлургии цветных металлов” ФГУП “Гипроцветмет” (RU)
|
(54) АППАРАТ ДЛЯ ЦЕНТРОБЕЖНОГО ОБОГАЩЕНИЯ ТОНКОИЗМЕЛЬЧЕННЫХ РУД И ПРОДУКТОВ ПЕРЕРАБОТКИ БЛАГОРОДНЫХ МЕТАЛЛОВ
(57) Реферат:
Изобретение относится к области гравитационного обогащения тонкоизмельченных руд, отличающихся по плотности, в частности руд благородных металлов. Аппарат для центробежного обогащения тонкоизмельченных руд и продуктов переработки благородных металлов включает вращающийся вокруг вертикальной оси конический ротор-чашу, устройства для подачи питания, разгрузки богатой фракции, промпродукта и хвостов. На внутренней поверхности конического ротора-чаши от его дна до 0,9-0,92Н высоты ротора-чаши расположены кольцевые нарифления, а на высоте 0,95Н расположена регулируемая кольцевая прорезь, расширяющаяся в сторону разгрузки (Н – высота ротора-чаши). Технический результат – повышение извлечения ценных компонентов. 1 ил., 1 табл.
Предлагаемое изобретение относится к области гравитационного обогащения тонкоизмельченных руд, отличающихся по плотности, в частности руд благородных металлов.
Гравитационные методы занимают одно из ведущих мест в области обогащения, особенно углей, руд черных металлов, вольфрамовых, оловянных, золото-платиносодержащих руд.
Для крупновкрапленных руд широкое применение находят отсадочные машины, сепараторы, использующие тяжелые суспензии (тяжелые среды); для средневкрапленных руд (-3+0,1 мм) – винтовые сепараторы, различные виды шлюзов, концентрационные столы (В.Н.Шохин, А.Г.Лопатин, «Гравитационные методы обогащения», М.: Недра, 1980 г.).
При гравитационном обогащении тонковкрапленных руд (<0,1 мм) в последнее время используются различные типы центробежных концентраторов прерывного действия, в которых используется так называемый шлюзовой эффект. Это концентраторы зарубежных фирм «Фалькон», «Нельсон», российских фирм «Итомак», ОАО «Гранит», ЗАО «Роторные линии», ЗАО «Новые технологии» (см. рекламные проспекты фирм «Фалькон», «Нельсон»; Инновационный проект ОАО МНПО-Полиметалл»; И.А.Енбаев, Б.П.Руднев и др. «Переработка отвальных хвостов и нетрадиционного сырья с применением эффективных обогатительных процессов», М.: 1998 г.).
Главным недостатком этих конструкций является малый выход готового продукта, что не позволяет извлекать материалы, имеющие промежуточную плотность, а также использовать эти аппараты на рудах, имеющих относительное высокое содержание ценных компонентов.
Данная проблема решается в так называемых концентраторах с непрерывной выгрузкой концентрата, например концентраторы вышеупомянутых фирм «Фалькон», «Нельсон», российский концентратор, созданный по патенту РФ №2026745 от 18.08.1992 г., который взят в качестве прототипа. В данных аппаратах благодаря непрерывной разгрузке концентрата (обогащенного продукта) выход последнего может изменяться от 4 до 40%, однако содержание ценных компонентов, в частности благородных металлов, значительно уступает качеству продуктов, получаемых с концентраторов прерывного действия. Учитывая, что богатые и бедные продукты, в частности содержащие благородные металлы, в дальнейшем подвергаются различным операциям доводки, то отсутствие возможности получения на одном аппарате одновременно нескольких различающихся по качеству продуктов приводит к потерям извлечения или требует использования целого ряда аппаратов (например, центробежных концентраторов непрерывного действия с последующей доводкой промпродукта на центробежном концентраторе прерывного действия или установки ряда концентраторов прерывного действия, через которые последовательно проходит пульпа тонкоизмельченной руды).
Целью предлагаемого изобретения является повышение извлечения ценных компонентов, в частности благородных металлов, при центробежном обогащении.
Поставленная цель достигается тем, что аппарат для центробежного обогащения тонкоизмельченных руд и продуктов переработки благородных металлов, включающий вращающийся вокруг вертикальной оси конический ротор-чашу, устройства для подачи питания, разгрузки богатой фракции, устройства для разгрузки промпродукта и хвостов, отличается тем, что на внутренней поверхности конического ротора-чаши от его дна до 0,9-0,92Н высоты ротора-чаши расположены кольцевые нарифления, а на высоте 0,95Н расположена регулируемая кольцевая прорезь, расширяющаяся в сторону разгрузки (Н – высота ротора-чаши).
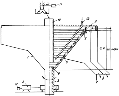
Предлагаемый аппарат для центробежного обогащения тонкоизмельченных руд благородных металлов схематично изображен на чертеже. Он состоит из конического ротора-чаши (1), приводимого во вращение электродвигателем (2) через полый вал (3). До высоты 0,9-0,92Н от дна ротора-чаши на его внутренней поверхности установлены кольцевые нарифления (4), а выше на высоте 0,95Н от дна имеется кольцевая сквозная прорезь (5), расширяющаяся в сторону выгрузки промпродукта в кольцевой приемник (7); ширина прорези регулируется винтами (6). Выгрузка хвостов происходит через верхнюю часть ротора-чаши в кольцевой приемник хвостов (8); ложное дно (9) для выгрузки богатого концентрата через полый вал (3); трубу (10) для подачи питания; устройства для переключения питания (11); устройства для изменения числа оборотов электродвигателя спреерами 12); трубу со спреерами для подачи разрыхляющей воды (13).
Расстояния размещения кольцевых нарифлений и кольцевой прорези от дна ротора-чаши выбраны экспериментально.
Аппарат работает следующим образом. Исходное питание в виде пульпы через устройство для переключения питания (11) и питающую трубу (10) подается в конический ротор-чашу (1), приводимый во вращение электродвигателем (2) через полый вал (3). За счет центробежных сил частицы, имеющие большую плотность, улавливаются кольцевыми нерифлениями (4), а часть частиц, имеющих меньшую плотность (сростки), прижимается к внутренней поверхности чаши, однако не улавливается в кольцевых нарифлениях, а продолжает подыматься вверх по чаше. Ближе всех к центру ротора-чаши располагаются наиболее легкие частицы (например, породные минералы). Достигая на высоте 0,95Н от дна чаши кольцевой сквозной прорези (5), частицы с промежуточной плотностью выбрасываются в кольцевой приемник для промпродукта (7). Выход этого продукта можно регулировать винтами (6), уменьшая или увеличивая ширину прорези. Хвосты (фракция с наименьшей плотностью) выгружаются в кольцевой приемник хвостов (8). Наиболее тяжелая фракция, уловленная кольцевыми нарифлениями (4) под действием разрыхляющей воды, подаваемой через трубу со спреерами (13), транспортного потока пульпы, подвергается вторичному обогащению. Через период, определяемый опытным путем, питание переключается на другой концентратор устройством для переключения питания (11). Устройство для изменения числа оборотов электродвигателя (12) снижает число оборотов электродвигателя (2), разрыхляющая вода, подаваемая через трубу со спреерами 13), вымывает концентрат из кольцевых нарифлений (4), который проходит под ложное дно (9) в полый вал (3) и выводится в готовую продукцию. Далее процесс повторяется.
В таблице приведены сравнительные показатели обогащения золотосодержащей руды, измельченной до крупности 80% кл. – 0,074 мм на аппарате, взятом в качестве прототипа, и на предлагаемом аппарате.
| Сравнительные показатели обогащения золотосодержащей руды |
| №№ п/п |
Центробежный концентратор |
Продукты |
Выход, % |
Содержание Au, г/т |
Извлечение Au, % |
| 1 |
Прототип |
Концентрат |
30,5 |
1,5 |
76,2 |
| Хвосты |
69,5 |
0,2 |
23,8 |
| Питание |
100,0 |
0,6 |
100,0 |
| 2 |
Предлагаемый аппарат |
Концентрат |
0,1 |
97,7 |
16,3 |
| |
|
|
|
| Промпродукт |
28,2 |
1,45 |
65,8 |
| Хвосты |
71,7 |
0,15 |
17,9 |
| Питание |
100,0 |
0,6 |
100,0 |
Предлагаемая конструкция аппарата позволяет повысить извлечение золота на 5,9%, одновременно выделить богатый концентрат и промпродукт.
Формула изобретения
Аппарат для центробежного обогащения тонкоизмельченных руд и продуктов переработки благородных металлов, включающий вращающийся вокруг вертикальной оси конический ротор-чашу, устройства для подачи питания, разгрузки богатой фракции, промпродукта и хвостов, отличающийся тем, что на внутренней поверхности конического ротора-чаши от его дна до 0,9-0,92Н высоты ротора-чаши расположены кольцевые нарифления, а на высоте 0,95Н расположена регулируемая кольцевая прорезь, расширяющаяся в сторону разгрузки (Н – высота ротора-чаши).
РИСУНКИ
|
|