|
|
(21), (22) Заявка: 2006109205/14, 23.03.2006
(24) Дата начала отсчета срока действия патента:
23.03.2006
(46) Опубликовано: 27.08.2008
(56) Список документов, цитированных в отчете о поиске:
RU 2197999 C1, 10.02.2003. RU 93058160 A, 10.11.1996. RU 2248225 С1, 20.03.2005. US 6830047 А, 20.09.2001. US 5806513 A, 15.09.1998. БЕРЛИН А.З. и др. Наркоз и дозирование анестетиков. – М.: Медицина, 1980, с.19.
Адрес для переписки:
141005, Московская обл., г. Мытищи-5, а/я 2, пат.пов. В.Ф. Романову
|
(72) Автор(ы):
Исаев Игорь Викторович (RU), Морозов Василий Юрьевич (RU), Хапий Халид Хамидович (RU)
(73) Патентообладатель(и):
Морозов Василий Юрьевич (RU)
|
(54) СПОСОБ ДОЗИРОВАНИЯ АНЕСТЕТИКОВ И УСТРОЙСТВО ДЛЯ ЕГО РЕАЛИЗАЦИИ
(57) Реферат:
Изобретение относится к медицинской технике и может быть использовано в отделениях анестезиологии медицинских частей и учреждений при проведении ингаляционного наркоза. Способ включает разделение потока газа-носителя на два потока и направлениях их по двум линиям, первый из которых идет на смешение со вторым разделенным потоком, идущим по второй линии и проходящим через испаритель с подачей его под слой анестетика, его насыщение парами анестетика и их объединение и смешение в камере смешения перед подачей потребителю. Концентрация поддерживается за счет циклического перекрытия второй линии с одновременным пропуском разделенного потока газа-носителя по первой линии с постоянно выбранным интервалом времени. Затем осуществляют перекрытие первой линии с одновременным пропуском разделенного потока газа-носителя по второй линии с постоянно выбранным другим интервалом времени. Затем цикл разделения повторяется неоднократно. Изменение концентрации осуществляют изменением соотношения интервалов времени открытия и/или закрытия первой и второй линий. Описано устройство дозирования анестетика. Технический результат заключается в обеспечении точности дозирования анестетика. 2 н.п. ф-лы, 4 ил.
Изобретение относится к медицинской технике и может быть использовано в отделениях анестезиологии медицинских частей и учреждений при проведении ингаляционного наркоза.
Первые испарители были разработаны анестезиологом Snow в 1847 году. В частности, им была предложена эффективная испарительная камера, выполненная в виде спирального канала над поверхностью эфира. В дальнейшем, в начале XX века, применяли термометры и распределительные устройства, одновременно служащие ручными термокомпенсаторами. Начиная со второй половины XX века, появились устройства дозирования анестетиков, использующие способ деление потока газа-носителя на две части, где первая часть газа полностью насыщается парами анестетика, а затем разбавляется второй частью до заданной концентрации. При этом изменение концентрации осуществлялось дросселями, изменением температуры, давления, конструкцией испарителя и другими конструктивными элементами с элементами контроля, дозирования и блокировки. В последние 30 лет и по настоящее время усовершенствование процесса дозирования и контроля реализуется за счет современных средств вычислительной техники.
Известен способ дозирования анестетиков, включающий деление общего потока газа-носителя на два непрерывных потока и направление их по двум линиям, первый из которых идет по первой линии на смешение со вторым потоком, идущим по второй линии и проходящим через испаритель, его насыщение парами анестетика и их объединение и смешение в узле смешения. При этом разделение потоков и заданная концентрация обеспечивается при помощи дросселей, а подача потока, идущего на насыщение в камеру испарения, подается в испаряющий слой анестетика (См. А.З.Берлин, А.В.Мещеряков. Наркоз и дозирование анестетиков. – М.: Медицина, 1980 г., с.18-19). Недостатком данного способа является невозможность получения стабильной объемной концентрации паров анестетика, связанная с тем, что, во-первых, коэффициенты сопротивления дросселирующих устройств, делящих поток на первую линию и вторую линию, идущую через камеру испарения, изменяются при изменении как величины общего потока газа-носителя, так и коэффициента деления, что приводит к несанкционированному перераспределению потоков, и, во-вторых, с тем, что температура поверхностного слоя анестетика, с которого, собственно, и происходит испарение, меняется в процессе работы, вследствие чего объемная концентрация паров анестетика меняется даже в самой камере испарения. Непредсказуемая комбинация этих отклонений и приводит к значительной нестабильности в реализации этого способа.
Известен также способ дозирования анестетиков, принятый за прототип, включающий деление общего потока газа-носителя на два непрерывных потока и направления их по двум линиям, первый из которых идет по первой линии на смешение со вторым потоком, идущим по второй линии и проходящим через испаритель, его насыщение парами анестетика и их объединение и смешение в камере смешения. При этом разделение потоков и заданная концентрация обеспечивается ротаметрами, а подача потока, идущего на насыщение в камеру испарения, подается в нее под слой анестетика (См. А.З.Берлин, А.В.Мещеряков. Наркоз и дозирование анестетиков. – М.: Медицина, 1980 г., с.19).
Данный способ имеет преимущество по сравнению с аналогом, заключающееся в том, что газ-носитель подается под слой анестетика и в процессе испарения интенсивно его перемешивает, что позволяет контролировать температуру анестетика и, как следствие, концентрацию паров в камере испарения.
Однако недостатком данного способа является невозможность получения стабильной объемной концентрации паров анестетика, связанная с тем, что, во-первых, ротаметрам присуща определенная погрешность измерения и, во-вторых, по мере снижения уровня анестетика сопротивление камеры испарения падает, что приводит к перераспределению потоков и, как следствие, изменению концентрации паров на выходе испарителя. Предполагает перенастройку на каждый вид анестетика.
Известно устройство для дозирования анестетиков, содержащее микропроцессор с ЖК-дисплеем и клавиатурой, шаговый двигатель, шприц-дозатор и две линии высокого давления для подачи закиси азота и газа-носителя, каждая из которых состоит из регулировочного вентиля, линейного пневматического сопротивления и датчика перепада давления, причем линия для подачи закиси азота дополнительно содержит электромагнитный клапан, а линия для подачи кислорода содержит датчик давления, вход подачи закиси азота через электромагнитный клапан и через первый регулировочный вентиль соединен с первым линейным пневматическим сопротивлением, параллельно которому установлен первый датчик перепада давления, вход подачи кислорода через второй регулировочный вентиль соединен со вторым линейным пневматическим сопротивлением, параллельно которому установлен второй датчик перепада давления, кроме того, вход подачи кислорода соединен с датчиком давления и входом кнопки экстренной подачи кислорода, выход которой совместно с выходами первого и второго линейных пневматических сопротивлений соединен со входом шприца-дозатора, выход которого является выходом устройства, микропроцессор с ЖК-дисплеем и клавиатурой первым управляющим выходом соединен с управляющей обмоткой шагового двигателя, выход которого соединен со штоком шприца-дозатора, вторым управляющим выходом – с кнопкой экстренной подачи кислорода, а третьим управляющим выходом – с электромагнитным клапаном (RU №2197999, МКИ А61М 16/01, опубл. 10.02.03. Бюл. №4.).
Недостатком данного устройства является сложность конструкции и недостаточно точное дозирование объемной концентрации паров жидких анестетиков.
Известно также устройство для дозирования анестетиков, принятое за прототип, содержащее линию общего потока газа-носителя, первой линии с вентилем и второй линии разделенного общего потока газа-носителя, испарителя линии потока газа-носителя, насыщенного парами анестетика с вентилем, узла объединения и смешения двух разделенных потоков и линии подачи объединенного потока газа-носителя потребителю (См. А.З.Берлин, А.В.Мещеряков. Наркоз и дозирование анестетиков. – М.: Медицина, 1980 г, с.19, рис.5).
Хотя данное устройство имеет менее сложную конструкцию, однако недостатком его является невозможность получения стабильной объемной концентрации паров анестетика, которая связана с тем, что, во-первых, ротаметрам присуща определенная погрешность измерения и, во-вторых, по мере снижения уровня анестетика сопротивление камеры испарения падает, что приводит к перераспределению потоков и, как следствие, изменению концентрации паров на выходе испарителя. Предполагает перенастройку на каждый вид анестетика.
Задача группы изобретений состоит в том, чтобы были обеспечены требуемые параметры точности дозирования объемной концентрации паров жидких анестетиков с возможностью применять любые виды анестетиков при упрощении конструкции и повышении надежности работы устройств дозирования.
Технический результат, на который направлена группа изобретений, заключается в получении мобильного и экономически доступного метода за счет снижения себестоимости устройства, его реализующего, и обеспечивающего быструю переналадку изменения параметров концентрации любого анестетика, а также в обеспечении постоянной объемной концентрации независимо от параметров поступающего газа.
Это достигается тем, что в способе дозирования анестетика, включающем разделение поступающего общего потока газа-носителя на два потока и направление их по двум линиям, первый из которых идет на смешение со вторым разделенным потоком, идущим по второй линии и проходящим через испаритель с подачей его под слой анестетика, его насыщение парами анестетика и их объединение и смешение в камере смешения перед подачей потребителю, производится разделение потоков, а заданная концентрация осуществляется за счет циклического перекрытия второй линии с одновременным пропуском разделенного потока газа-носителя по первой линии с постоянно выбранным интервалом времени, а затем осуществляют перекрытие первой линии с одновременным пропуском разделенного потока газа-носителя по второй линии с постоянно выбранным другим интервалом времени, а затем цикл разделения повторяется неоднократно, при этом изменение концентрации осуществляют изменением соотношения интервалов времени открытия и/или закрытия первой и второй линий.
Это достигается тем, что устройство дозирования анестетика, содержащее линию общего потока газа-носителя с вентилем, первую линию разделенного общего потока газа-носителя и вторую линию разделенного общего потока газа-носителя с испарителем и линией потока газа-носителя, насыщенного парами анестетика, камеры объединения и смешения двух разделенных потоков и линии подачи объединенного потока газа-носителя заданной концентрации потребителю, имеет на линии подачи газа-носителя клапан с таймером формирования заданных интервалов времени разделения поступающего общего определенного объема газа-носителя на два потока попеременно циклически с разными интервалами времени, при этом при открытой одной линии другая линия разделенного общего потока газа-носителя закрыта.
Описание заявляемого изобретения поясняется чертежами и диаграммами:
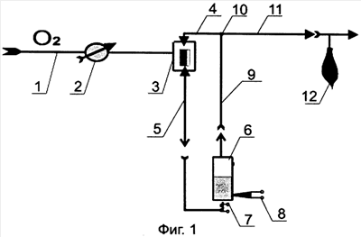
на фиг.1 – показана структурная схема устройства;
на фиг.2 – показана циклограмма подачи газа для создания объемной концентрации паров в 1%;
на фиг.3 – показана циклограмма подачи газа для создания объемной концентрации в 2%;
на фиг.4 – условно показана получаемая смесь газа-носителя и паров анестетика с заданной объемной концентрацией на выходе из дозатора.
Для удобства рассмотрения материалов заявки вначале опишем устройство, реализующее способ дозирования анестетиков, которое состоит из линии общего потока 1 газа-носителя с вентилем 2, клапана 3 с таймером разделения общего потока газа-носителя и подачи его попеременно по двум линиям (на фиг. не показан), первой линии 4, разделенного потока газа-носителя и второй линии 5 разделенного потока газа-носителя, испарителя 6 с подогревателем 7 и датчиком температуры 8, линии 9 второго разделенного потока газа-носителя, насыщенного парами анестетика, камеры объединения и смешения 10 двух разделенных потоков, линии подачи 11 объединенного потока газа-носителя с требуемой объемной концентрацией паров анестетика для конкретного больного.
Устройство для дозирования анестетиков работает следующим образом. Открытием вентиля 2 общий поток газа-носителя устремляется к клапану 3. Клапан 3 разделяет общий поток газа-носителя на два потока, направляя их попеременно по двум линиям. Это происходит следующим образом. Общий поток газа-носителя вначале поступает на вход к клапану 3, в это время вторая линия 5 перекрыта клапаном 3, а первая линия 4 им открыта. Поэтому часть общего потока газа-носителя направляется в первую линию 4. Затем клапан 3 закрывает первую линию 4 и открывает вторую линию 5. Тем самым вторая часть общего потока газа-носителя, прошедшая через клапан 3, направляется во вторую линию 5. Первый цикл разделения общего потока газа-носителя и подачи его попеременно по двум линиям завершен. Затем опять открывается первая линия 4 и другая, но точно такая, как и в первом цикле разделения, часть общего потока газа-носителя направляется в первую линию 4. В это время вторая линия 5 закрыта. Затем клапан 3 закрывает первую линию 4 и открывает вторую линию 5. Тем самым другая, точно такая, как и в первом цикле разделения, вторая часть общего потока газа-носителя, направляется во вторую линию 5 и т.д. Количество циклов разделения зависит от потребителя. Таким образом, общий поток газа-носителя делится на два объема – V1 и V2, пропорциональных временным интервалам открытия T1 и Т2 работы клапана 3, направляя их попеременно вначале по первой линии 4, а затем по второй линии 5 соответственно. Где: – V1 объем газа-носителя, прошедшего через первую линию 4; V2 объем газа-носителя, прошедшего через вторую линию 5; T1 – временной интервал открытия клапана для пропуска V1 через первую линию 4; Т2 – временной интервал открытия клапана для пропуска V2 через вторую линию 6. Временные интервалы открытия T1 и Т2 являются постоянными для каждого вида анестетика и в зависимости от соотношения этих временных интервалов зависит концентрация. Чем меньше временные интервалы T1 открытия линии 4, тем больше концентрация. И наоборот, чем больше временные интервалы T1 открытия линии 4, тем меньше концентрация. Поток разделенного газа-носителя, поступающий во вторую линию 5, подается затем снизу в испаритель 6. В испарителе 6, в котором находится жидкий анестетик, поддерживается постоянная температура, контроль за которой осуществляется датчиком температуры 8, например термометром, и который электрически соединен с подогревателем 7. При этом пузырьки газа-носителя перемешивают анестетик за счет барботажа и, тем самым, в испарителе стабилизируется температура по всему объему жидкого анестетика, в том числе и по его верхнему слою, а пузырьки газа-носителя, в свою очередь, насыщаются парами анестетика до концентрации, определяемой теплофизическими свойствами пара. В испарителе создается насыщенная парогазовая смесь, которая по линии 9 насыщенного разделенного потока газа-носителя, поступает в камеру смешения 10 и, встречаясь с поступающим разделенным потоком газа-носителя, проходящего по линии 4, перемешивается с ним. Далее объединенный поток с требуемой объемной концентрацией паров подается по линии подачи 11 газа-носителя для конкретного больного. В цикле выдоха пациента смешанный поток, поступающий по линии подачи 11 газа-носителя, накапливается в резервном мешке 12, а в цикле вдоха этот смешанный поток совместно с той частью смешанного потока, которая в цикле вдоха выйдет из устройства, поступает в аппарат искусственный вентиляции легких (ИВЛ) и к пациенту.
Способ дозирования анестетиков включает разделение общего потока газа-носителя, идущего по линии общего потока 1, на два потока, первый из которых идет по первой линии 4 на смешение со вторым потоком, идущим по второй линии 5 и проходящим через испаритель 6 с подачей его под слой анестетика, его насыщение парами анестетика и их последующее объединение и смешение в камере смешения 10. При этом разделение потоков и заданная концентрация осуществляется за счет циклического перекрытия второй линии 5 с одновременным пропуском разделенного потока газа-носителя по первой линии 4 с постоянно выбранным интервалом времени, а затем осуществляют перекрытие первой линии 4 с одновременным пропуском разделенного потока газа-носителя по второй линии 5 с постоянно выбранным другим интервалом времени. Затем цикл разделения общего потока 1 повторяется. А изменение концентрации осуществляют изменением соотношения интервалов времени открытия или закрытия первой и второй линий.
Конкретная реализация этого способа и устройства осуществляется следующим образом.
Постоянный поток газа-носителя O2 по линии общего потока 1 газа-носителя диаметром, например, 2 см, при открытом вентиле 2 (см. фиг.1), устремляется к клапану 3 с электромагнитным управлением. Например, трехходовой клапан АЗ21-1Е2 фирмы «Camozzi» с таймером формирования, деления и распределения общего потока газа. Клапан 3 делит общий поток, сформированный вентилем 2, на два объема – V1 и V2, пропорциональных временам открытия, например T1=6,9 сек и Т2=0,15 сек, первой линии 4 разделенного потока газа-носителя, диаметром, например, 2 см, и второй линии 5 разделенного потока газа-носителя, диаметром, например, 2 см соответственно. Пришедший через клапан 3 поток газа-носителя определенного объема V1 в течение времени T1=6,9 сек направляется в первую линию 4 разделенного потока газа-носителя и поступает в камеру объединения и смешения 10. В это время вторая линия 5 разделенного потока газа-носителя закрыта. Затем клапан 3 закрывает первую линию 4 разделенного потока газа-носителя и открывает вторую линию 5 разделенного потока на интервал времени Т2=0,15 сек. За это время определенный объем V2 разделенного потока газа-носителя направляется во вторую линию 5 и поступает снизу в испаритель 6 объемом 40 см3. В испарителе находится жидкий анестетик, в нашем примере фторотан, температура которого поддерживается постоянно на уровне 20°С. При этом прохождение второго разделенного потока газа-носителя через анестетик сопровождается насыщением пузырьков газа-носителя, которые перемешивают жидкость за счет барботажа, и тем самым в испарителе стабилизируется температура по всему объему жидкого анестетика, в том числе и по его верхнему слою. В испарителе 6 создается насыщенная парогазовая смесь, которая по линии 9 второго разделенного потока газа-носителя, насыщенного парами анестетика, тоже поступает в камеру объединения и смешения 10 для объединения с первым разделенным объемом газа-носителя, и по линии подачи 11 объединенный поток газа-носителя с требуемой концентрацией паров анестетика готов для подачи потребителю. Получается первый объединенный объем Vц=V1+V2 с требуемой объемной концентрацией газа-носителя за один цикл работы клапана 3. Таким образом, время цикла работы клапана 3 есть интервал времени Тц=T1+Т2. В нашем случае, для заданной объемной концентрации фторотана в 1% объемный Тц=7,05 сек. Этот первый объединенный объем газа-носителя с требуемой объемной концентрацией паров анестетика поступает по линии 11 диаметром 2 см, к конкретному больному. Затем цикл повторяется. Так формируется объединенный поток газа-носителя, насыщенный определенной концентрацией Vц×n за время Тц×n (см. фиг.4).
Естественно, что от интервала времени T1=6,91 в течение которого газ-носитель с выхода клапана направляется в первую линию 4, зависит объемная концентрация паров анестетика в смеси и вида анестетика. Для фторотана, например, эти интервалы (при температуре жидкого анестетика в 20°С) при Т2 равном, например, 0,15 сек, объемная концентрация составляет 1% (см. фиг.2).
При интервале времени T1=3,43 сек объемная концентрация составляет 2% (см. фиг.3).
При интервале времени T1=2,32 сек объемная концентрация составляет 3%.
При интервале времени T1=1,725 сек объемная концентрация составляет 4%.
Для других анестетиков при сохранении интервала времени T1=6,91 сек, T1=3,43 сек, T1=2,32 сек и T1=1,725 сек при Т2=0,15 сек объемная концентрация будет составлять другие проценты, но строго фиксированные для каждого интервала времени.
Таким образом, группа изобретений позволит обеспечить требуемые параметры точности дозирования объемной концентрации паров жидких анестетиков с возможностью применять любые виды анестетиков при упрощении конструкции и повышении надежности работы устройств дозирования.
Формула изобретения
1. Способ дозирования анестетика, включающий разделение поступающего общего потока газа-носителя на два потока и направления их по двум линиям, во второй линии поток газаносителя подается в испаритель под слой анестетика, насыщается парами анестетика, температуру которого поддерживают на уровне 20°С, а перед подачей потребителю потоки объединяют, отличающийся тем, что разделение потоков газа-носителя осуществляют за счет циклического перекрытия второй линии с одновременным пропуском разделенного потока газа-носителя по первой линии, затем осуществляют перекрытие первой линии с одновременным пропусканием разделенного потока газа-носителя по второй линии, по которой поток газа-носителя проходит через испаритель, цикл разделения повторяют неоднократно, а изменение концентрации анестетика осуществляют изменением соотношения между интервалом времени открытия и закрытия первой линии и интервалом открытия второй линии.
2. Устройство дозирования анестетика, содержащее линию общего потока газа-носителя с вентилем, первую линию разделенного общего потока газа-носителя, и вторую линию разделенного общего потока газа-носителя с испарителем, камеру объединения и смешения двух разделенных потоков и линию подачи объединенного потока газа-носителя с анестетиком заданной концентрации потребителю, отличающееся тем, что на линии общего потока газа-носителя за вентилем установлен клапан с таймером формирования интервалов времени разделения поступающего общего объема газа-носителя на два потока попеременно циклически, при этом испаритель снабжен подогревателем и датчиком температуры, а на линии подачи газа-носителя с анестетиком установлен резервный мешок для накопления газа-носителя с анестетиком в цикле выдоха.
РИСУНКИ
|
|