|
|
(21), (22) Заявка: 2006146006/14, 26.12.2006
(24) Дата начала отсчета срока действия патента:
26.12.2006
(46) Опубликовано: 27.08.2008
(56) Список документов, цитированных в отчете о поиске:
RU 2271157 С1, 10.03.2006. US 6478656, 12.11.2002. БЕЛОУСОВ А.Е. Пластическая реконструктивная и эстетическая хирургия. – СПб.: Издательство Гиппократ, 1998, с.729. HASSANPOUR E. Reconstruction of major forehead soft tissue defects with adjacent tissue and minimal scar formation. J Craniofac Surg. 2005 Nov; 16(6): 1126-30 (Abstract).
Адрес для переписки:
127473, Москва, ул. Садовая-Самотечная, 9, кв.16, А.В. Трусову
|
(72) Автор(ы):
Трусов Алексей Викторович (RU), Будкевич Людмила Иасоновна (RU), Бурков Игорь Витальевич (RU), Фомина Мария Глебовна (RU), Пронин Геннадий Павлович (RU), Бархударова Нанна Рафаельевна (RU)
(73) Патентообладатель(и):
ФГУ Московский НИИ педиатрии и детской хирургии Росздрава (RU)
|
(54) СПОСОБ ПОЛУЧЕНИЯ ПОЛНОСЛОЙНОГО КОЖНОГО ТРАНСПЛАНТАТА
(57) Реферат:
Изобретение относится к хирургии и может быть применимо для получения полнослойного кожного трансплантата. Производят подкожную имплантацию экспандера и дермотензию. Иссекают кожный трансплантат над экспандером окаймляющим разрезом. Помещают кожный трансплантат на рабочую поверхность планшета, снабженную выступами и/или гребнями, каждый из которых имеет высоту, не менее чем на 1/3 превышающую расстояние между вершинами соседних выступов и/или гребней. Закрепляют кожный трансплантат держателями в виде нитей или удлиненными пластинами, выполненными для фиксации кожного трансплантата и/или для фиксации держателей. Удаляют струей жидкости подкожно-жировую клетчатку и остатки крови в сосудах, ориентируя струю жидкости к кожному трансплантату под углом не более 30°. Способ позволяет сократить время обработки трансплантата, облегчить обработку трансплантатов больших размеров, ускорить приживление трансплантата. 2 з.п. ф-лы, 1 ил.
Изобретение относится к способам пересадки кожи и может быть использовано в реконструктивно-восстановительной и пластической хирургии для замещения больших дефектов кожных покровов как у взрослых, так и у детей.
Способы получения и обработки полнослойного кожного трансплантата известны (см., например, Авдеев А.В. Пластика рубцовых поражений. М., 1997).
Как правило, при традиционной трансплантации в предварительно выбранной донорской области (паховой, подвздошной, области грудной клетки и т.д.) скальпелем иссекается кожный трансплантат во всю толщину. Подкожная клетчатка срезается с трансплантата тем же скальпелем или ножницами. Размеры трансплантата в этом случае не могут быть большими из-за ограничений размеров донорского поля. Кроме этого, во время обработки трансплантат может быть не зафиксирован, что создает дополнительную сложность при проведении операции.
Более эффективным можно считать способ, описанный в патенте RU 2250080, А61В 17/00, 2000 г. «Способ пластического закрытия дефекта при хирургическом лечении меланомы кожи». Известный способ предусматривает, в частности, введение в подкожно-жировую полость экспандера и формирование свободного кожного трансплантата окаймляющим кожным разрезом с последующим закрытием этим трансплантатом послеоперационного дефекта.
Недостатками способа, описанного в патенте RU 2250080, А61В 17/00, 2000 г., является длительность его реализации и сложность обработки больших трансплантатов.
Наиболее близким к нашему изобретению следует считать «Способ увеличения поверхности кожного трансплантата» из описания к авторскому свидетельству SU 1599029, А61N 5/06, 1990 г., который включает выбор донорского поля, подкожную имплантацию экспандера и дермотензию, проводимую дискретной подачей жидкости в рабочую полость экспандера.
Однако способ SU 1599029, А61N 5/06, 1990 г., так же, как и предыдущие способы, не решает проблемы сложности и длительности обработки кожных трансплантатов (особенно трансплантатов больших размеров), требующих соответствующей обработки трансплантата для удаления подкожно-жировой клетчатки перед его помещением на рецепиентную рану.
Наше изобретение направлено на получение полнослойного кожного трансплантата, не имеющего недостатков известных способов, описанных выше.
Технический результат изобретения заключается в сокращении времени по обработке и получении высококачественного кожного трансплантата, в том числе у детей с ограниченными донорскими возможностями (обширные посттравматические рубцы, пигментные невусы и т.д.), не имеющего подкожно-жировой клетчатки и остатков крови в сосудах, что позволяет исключить осложнения и улучшить его приживление.
Сущность изобретения выражается в способе получения полнослойного кожного трансплантата, включающем выбор донорского поля, имплантацию экспандера в подкожно-жировой слой, дермотензию, проводимую дискретной подачей жидкости в рабочую полость экспандера, и иссечение кожного трансплантата, отличающемся от ближайшего аналога тем, что после иссечения кожного трансплантата над экспандером окаймляющим разрезом кожный трансплантат помещают на рабочую поверхность планшета, снабженную выступами и/или гребнями, каждый из которых имеет высоту, не менее чем на 1/3 превышающую расстояние между вершинами соседних выступов и/или гребней, затем кожный трансплантат закрепляют держателями в виде нитей или удлиненными пластинами, выполненными для фиксации кожного трансплантата и/или для фиксации держателей, а затем струей жидкости под давлением 0,1-9,6 мПа удаляют подкожно-жировую клетчатку и остатки крови в сосудах, причем струю жидкости ориентируют к кожному трансплантату под углом не более 30°.
В частных случаях при выполнении способа осуществляют дискретную подачу жидкости, например раствора фурацилина, в рабочую полость эспандера, которую проводят 2-3 раза в неделю, причем вводят от 5 до 50 мл раствора за одну процедуру; подкожную имплантацию экспандера проводят при помощи эндоскопа.
Влияние перечисленных признаков на технический результат изобретения заключается в том, что обработка кожного трансплантата струей жидкости под давлением позволяет за короткий промежуток времени (при средней площади трансплантата 220 см он составляет 5-6 мин вместо 25-30 мин ножницами или скальпелем) не только полностью очистить поверхность трансплантата от подкожно-жировой клетчатки, но и удалить остатки крови из сосудов. Обработка кожного трансплантата на поверхности с расположенными на определенном расстоянии выступами и/или гребнями в сочетании с давлением струи жидкости 0,1-9,6 мПа и углом ее наклона не более 30° являются оптимальными условиями для качественной обработки поверхности лоскута. Ориентация струи жидкости к кожному трансплантату под углом не более 30° исключает повреждение трансплантата, если давление струи жидкости не превышает 9,6 мПа.
Качество кожного трансплантата повышается и за счет возможности его удаления без повреждений с рабочей поверхности планшета. Такое удаление трансплантата достигается тем, что рабочая поверхность основания планшета снабжена выступами и/или гребнями и высота каждого выступа и/или гребня не менее чем на 1/3 превышает расстояние между вершинами соседних выступов и/или гребней. Указанное соотношение исключает полное прилегание (а затем и прилипание) кожного трансплантата к основанию, в том числе и после отделения от него подкожно-жировой клетчатки. Изменение этого соотношения приводит к провисанию под действием струи жидкости участков кожного трансплантата между выступами и/или гребнями и, следовательно, к его прилипанию к поверхности основания.
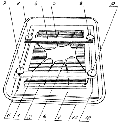
Сущность изобретения поясняется чертежом, где изображен подготовленный для обработки полнослойный кожный трансплантат.
Для осуществления быстрой и качественной обработки трансплантата необходим специальный планшет. Такой планшет разработан для реализации нашего способа и содержит (см. чертеж) плоское основание 1 с рабочей поверхностью 2, первый прижим 3, второй прижим 4 и держатели 5 кожного трансплантата 6. Первый прижим 3 и второй прижим 4 выполнены в виде удлиненных пластин для фиксации кожного трансплантата 6 и/или для фиксации имеющих форму нитей держателей 5 кожного трансплантата 6 и снабжены стопорными концевыми винтами 7, 8, 9 и 10. Стопорные концевые винты 7, 8, 9 и 10 установлены с возможностью перемещения и фиксации в параллельных направляющих пазах 11 и 12, размещенных вдоль краев основания 1. Рабочая поверхность 2 основания 1 снабжена выступами и/или гребнями. Высота каждого выступа и/или гребня не менее чем на 1/3 превышает расстояние между вершинами соседних выступов и/или гребней. Держатели 5 кожного трансплантата 6 выполнены в виде нитей.
При подготовке к операции планшет для обработки кожного трансплантата собирают. При сборке первый прижим 3 и второй прижим 4, имеющие вид удлиненных пластин для фиксации держателей 5 кожного трансплантата 6, размещают на основании 1 рядом с его рабочей поверхностью 2. Затем при помощи установленных в направляющих пазах 11 и 12 стопорных концевых винтов 7, 8, 9 и 10 первый прижим 3 и второй прижим 4 соединяют с основанием 1, обеспечив возможность концевым винтам 7, 8, 9 и 10 перемещаться по направляющим пазам 11 и 12. Для удобства дальнейшей работы планшет может быть помещен в лоток 13.
В процессе осуществления способа получения и обработки полнослойного кожного трансплантата предварительно выбирают донорское поле (пах, плечо, спина и т.д.) и проводят имплантацию экспандера под подкожно-жировой слой. Имплантация экспандера может быть проведена при помощи эндоскопа.
Затем дискретной подачей жидкости в рабочую полость экспандера проводят дермотензию. Подачу жидкости (в качестве жидкости может быть использован раствор фурацилина) осуществляют 2-3 раза в неделю, причем вводят от 5 до 50 мл раствора за одну процедуру. Экспандер увеличивается в размерах, и над ним растягивается кожа с подкожной клетчаткой. Прирост тканей составляет более 150-200%.
На следующем этапе операции кожный трансплантат 6 иссекают окаймляющим разрезом из донорской зоны над экспандером и помещают на рабочую поверхность 2 основания 1 планшета. Поскольку концевые винты 7, 8, 9 и 10 планшета имеют возможность перемещения по направляющим пазам 11 и 12, первый прижим 3 и второй прижим 4 смещают вдоль основания 1 и устанавливают на нужном расстоянии друг от друга. Держателями 5, имеющими форму нитей, растягивают кожный трансплантат 6, после чего держатели 5 фиксируют первым прижимом 3 и вторым прижимом 4 и окончательно закрепляют это положение концевыми винтами 7, 8, 9 и 10. При необходимости кожный трансплантат 6 может быть зафиксирован непосредственно первым прижимом 3 и вторым прижимом 4, которые специально выполнены для этой цели (например, имеют шлифованные или полированные поверхности), или кожный трансплантат 6 может быть зафиксирован как держателями 5, так и первым прижимом 3 и вторым прижимом 4.
Затем струей жидкости под давлением 0,1-9,6 мПа с кожного трансплантата 6 удаляют подкожно-жировую клетчатку и остатки крови в сосудах. Для исключения повреждения трансплантата струю жидкости ориентируют к его поверхности под углом не более 30°. При удалении подкожно-жировой клетчатки и удаления остатков крови в сосудах участки кожного трансплантата 6 прогибаются между выступами и/или гребнями рабочей части 2 основания 1. Такой прогиб участков позволяет удалять даже наиболее мелкие частицы подкожно-жировой клетчатки и крови. При этом, поскольку высота каждого из выступов и/или гребней не менее чем на 1/3 превышает расстояние между вершинами соседних выступов и/или гребней, прилипание кожного трансплантата 6 к рабочей части 2 основания 1, как правило, не происходит.
После окончания обработки подготовленный кожный трансплантат 6 снимают с рабочей поверхности 2 основания 1 планшета, накладывают на кожную рану и подшивают к ее краям отдельным швами, у которых оставляют длинные концы нитей. На кожный трансплантат кладут салфетку, пропитанную ксероформом. Затем из марли формируют марлевый валик, основание которого примерно равно площади раны, закрытой трансплантатом, а высота равна 3-4 см. Валик накладывают сверху. Длинные концы нитей завязывают на валике для создания необходимой компрессии в ране. Это позволяет улучшить фиксацию кожного трансплантата обработанной поверхностью к репициентной ране.
Кроме этого, между нижней частью краев кожного трансплантата и дермой краев закрываемой раны, через 1-2 см может быть наложен ряд отдельных узловых швов. Тем самым, после снятия швов, которые завязаны на валике, трансплантат практически не сокращается, т.к. его держат неснимаемые узловые швы.
Пример: больная Г., 13 лет, история болезни №1832.
Ожоги кипятком 1-2-3-4 степени. S=80% поверхности тела. В остром периоде лечилась около месяца в отделении реанимации и 3 месяца в ожоговом отделении. В остром периоде проведено 8 аутодермопластик расщепленными свободными кожными трансплантатами. Для устранения рубцовых стяжений в области правого тазобедренного сустава требуется большое количество пластического материала.
Проведена реконструктивно-восстановительная операция по частичному устранению рубцовых стяжений в области живота и паховой области.
Для получения полнослойного кожного трансплантата выбрано донорское поле на боковой поверхности грудной клетки слева. Под контролем эндоскопа проведена подкожная имплантация прямоугольного латексного экспандера под подкожно-жировой слой.
Дермотензия начата через 4 дня после имплантации экспандера дискретной подачей раствора фурацилина в его рабочую полость. Дермотензию проводили 2 и 3 раза в неделю в течение 2 месяцев. Объем введенного раствора фурациллина составил 410 мл.
Полнослойный кожный трансплантат размером 16-18 см иссечен над экспандером окаймляющим разрезом, помещен на рабочую поверхность планшета и закреплен на ней для последующей обработки.
Обработка трансплантата проведена струей жидкости под давлением 4,3 мПа, которая была направлена к кожному трансплантату под углом 10-15°.
В течение 6 мин на площади 288 см2 проведено полное удаление подкожно-жировой клетчатки и остатков крови в сосудах.
Полнослойный кожный трансплантат залит физиологическим раствором.
После иссечения патологических рубцов в области правого тазобедренного сустава образовалась рана 16-18 см. Полнослойный кожный трансплантат был перенесен на рецепиентную рану и сшит с ее краями двухрядными капроновыми швами. Донорская рана ушита двухрядными швами. Наложена повязка. Проведена антибактериальная и физиотерапия, с 7-х суток проводились перевязки. Швы сняты на 15-16 сутки. Донорская рана зажила линейным рубцом. Трансплантат прижился полностью.
Ребенок выписан в удовлетворительном состоянии.
Формула изобретения
1. Способ получения полнослойного кожного трансплантата, включающий выбор донорского поля, подкожную имплантацию экспандера, дермотензию, проводимую дискретной подачей жидкости в рабочую полость экспандера, и иссечение кожного трансплантата, отличающийся тем, что после иссечения кожного трансплантата над экспандером окаймляющим разрезом, кожный трансплантат помещают на рабочую поверхность планшета, снабженную выступами и/или гребнями, каждый из которых имеет высоту не менее чем на 1/3 превышающую расстояние между вершинами соседних выступов и/или гребней, затем кожный трансплантат закрепляют держателями в виде нитей или удлиненными пластинами, выполненными для фиксации кожного трансплантата и/или для фиксации держателей, а затем струей жидкости под давлением 0,1-9,6 мПа, удаляют подкожно-жировую клетчатку и остатки крови в сосудах, причем струю жидкости ориентируют к кожному трансплантату под углом не более 30°.
2. Способ по п.1, отличающийся тем, что дискретную подачу жидкости, например раствора фурацилина, в рабочую полость экспандера осуществляют 2-3 раза в неделю, причем вводят от 5 до 50 мл раствора за одну процедуру.
3. Способ по п.1, отличающийся тем, что подкожную имплантацию экспандера проводят при помощи эндоскопа.
РИСУНКИ
|
|