|
|
(21), (22) Заявка: 2006117998/12, 25.05.2006
(24) Дата начала отсчета срока действия патента:
25.05.2006
(30) Конвенционный приоритет:
28.10.2005 KR 10-2005-0102618
(43) Дата публикации заявки: 10.12.2007
(46) Опубликовано: 27.08.2008
(56) Список документов, цитированных в отчете о поиске:
RU 2253346 C1, 10.06.2004. RU 2221648 C2, 20.01.2004. US 3034647 A, 15.05.1962. US 2848060 A, 19.08.1958. DE 2818791 A1, 16.11.1978. DE 2647486 В1, 11.09.1980. DE 756646 А, 15.06.1953. SU 940861 А, 07.07.1982.
Адрес для переписки:
191036, Санкт-Петербург, а/я 24, “НЕВИНПАТ”, пат.пов. А.В.Поликарпову
|
(72) Автор(ы):
ХАН Джунг-гьюн (KR), О Джанг-кьюн (KR), КИМ Мин-ха (KR)
(73) Патентообладатель(и):
Самсунг Гуангджу Электроникс Ко., Лтд. (KR)
|
(54) ПЫЛЕУЛАВЛИВАЮЩЕЕ УСТРОЙСТВО ДЛЯ ПЫЛЕСОСА
(57) Реферат:
Пылеулавливающее устройство предназначено для отделения пыли от воздуха с использованием центробежной силы, создаваемой при вращении втянутого воздуха в пылесосе, и позволяет повысить эффективность работы пылесоса за счет снижения потери давления воздуха. Пылеулавливающее устройство содержит основной корпус циклона, имеющий первый вход, через который втягиваемый воздух поступает в основной корпус циклона, циклонную камеру, в которой вращается втянутый воздух, и первый выход, через который воздух, выбрасываемый из циклонной камеры, направляется из основного корпуса циклона. Между первым входом и циклонной камерой расположен направляющий узел, направляющий воздух в циклонную камеру с разделением воздушного потока по меньшей мере на две части. Направляющий узел содержит направляющую стенку, первая сторона которой обращена к первому входу, а вторая сторона обращена к циклонной камере. Насквозь через направляющую стенку проходят несколько вторых входов. Несколько направляющих воздуховодов, по количеству соответствующих нескольким вторым входам, выполнены на второй стороне направляющей стенки. Каждый из направляющих воздуховодов на своей наружной периферии имеет наклонную плоскость для того, чтобы воздух, выбрасываемый из расположенных выше по потоку направляющих воздуховодов, направлялся по наклонной плоскости с вращением, а воздух, выбрасываемый из направляющих воздуховодов, расположенных выше по потоку, направлялся наклонной плоскостью в сторону от вторых входов. Направляющий узел дополнительно содержит несколько направляющих каналов, выполненных в виде спирали и предназначенных для направления по ним воздуха в циклонную камеру. 8 з.п. ф-лы, 8 ил.
ПЕРЕКРЕСТНАЯ ССЫЛКА НА РОДСТВЕННЫЕ ЗАЯВКИ
В соответствии с §119(а) раздела 35 свода законов США приоритет данной заявки заявляется по заявке на патент Кореи №2005-102618, поданной 28 октября 2005 года в корейское Бюро по Интеллектуальной Собственности, описание которой целиком включено в данный документ посредством ссылки.
ПРЕДПОСЫЛКИ ИЗОБРЕТЕНИЯ
Область техники
Данное изобретение относится к пылесосу. Более конкретно, данное изобретение относится к пылеулавливающему устройству для пылесоса, которое отделяет пыль от воздуха, втянутого снаружи.
Описание уровня техники
Обычно для уборки очищаемой поверхности пылесос втягивает пыль с очищаемой поверхности вместе с воздухом и отделяет пыль от втянутого воздуха. Пылесос содержит пылеулавливающее устройство, улавливающее пыль, отделенную от втянутого воздуха. В последнее время в качестве пылеулавливающего устройства применяется циклонное пылеулавливающее устройство. В циклонном пылеулавливающем устройстве для отделения пыли от втянутого воздуха используется центробежная сила, создаваемая за счет вращения втянутого воздуха.
В патенте США №6042628 описан один пример упомянутого выше циклонного пылеулавливающего устройства. Обычное циклонное пылеулавливающее устройство содержит циклонную камеру, в которой вращается втянутый воздух; пылеулавливающую камеру, в которой улавливается пыль, отделенная от втянутого воздуха, вращающегося в циклонной камере; и направляющий элемент, который распределяет и направляет втянутый воздух в тангенциальном направлении к циклонной камере. Преимуществом приведенной выше конструкции является то, что втянутый воздух, распределяемый направляющим элементом, выбрасывается в направлении внутренней поверхности стенки циклонной камеры, опускается и вращается, при этом скорость вращения втянутого воздуха, вращающегося внутри циклонной камеры, может быть соответственно увеличена. Однако в случае обычного циклонного пылеулавливающего устройства существует проблема. Непосредственно после выброса втянутого воздуха из направляющего элемента работе спускающегося втягиваемого воздуха мешает втянутый воздух, вращающийся внутри циклонной камеры, при этом возможно снижение скорости потока втягиваемого воздуха. При снижении скорости потока втягиваемого воздуха возрастает потеря всасывающей способности пылесоса, в результате чего происходит падение энергопотребления и очистки всасывающим усилием пылесоса, при этом падает производительность пылесоса. Следовательно, существует необходимость в создании циклонного пылеулавливающего устройства, сводящего к минимуму потерю указанного выше давления.
СУЩНОСТЬ ИЗОБРЕТЕНИЯ
В одном аспекте данного изобретения предлагается решение по меньшей мере указанных выше проблем и/или устранение недостатков известного уровня техники, а также получение по меньшей мере тех преимуществ, которые описаны ниже. Следовательно, одним аспектом данного изобретения является создание циклонного пылеулавливающего устройства для пылесоса, конструкция которого усовершенствована с целью повышения эффективности уборки пылесосом за счет снижения потери давления.
Для достижения указанных выше аспектов данного изобретения предлагается пылеулавливающее устройство для пылесоса, которое отделяет пыль от втянутого воздуха с использованием центробежной силы, создаваемой при вращении втянутого воздуха. Пылеулавливающее устройство для пылесоса содержит основной корпус циклона, имеющий первый вход, через который поступает втягиваемый воздух, циклонную камеру, в которой вращается втянутый воздух, и первый выход, через который направляется воздух, выбрасываемый из циклонной камеры; и направляющий узел, расположенный между первым входом и циклонной камерой. Направляющий узел направляет в циклонную камеру втянутый воздух, разделенный на по меньшей мере две части. Направляющий узел дополнительно содержит несколько направляющих каналов, выполненных в виде спирали и предназначенных для направления втянутого воздуха в циклонную камеру по спиральным направляющим каналам.
Существует возможность уменьшения потери давления, происходящей за счет влияния поступающего в циклонную камеру втягиваемого воздуха, с повышением эффективности уборки пылесосом.
В соответствии с одним вариантом выполнения данного изобретения направляющий узел содержит направляющую стенку, первая сторона которой обращена к первому входу, а вторая сторона обращена к циклонной камере, несколько вторых входов, проходящих насквозь через направляющую стенку, и несколько направляющих воздуховодов, которые соответствуют указанным нескольким вторым входам и выполнены на второй стороне направляющей стенки.
Направляющий узел может дополнительно содержать несколько вторых выходов, проходящих насквозь через направляющую стенку и предназначенных для выброса через них втянутого воздуха, очищенного от пыли, и направляющую крышку, имеющую разделяющую стенку, которая разделяет втянутый воздух, поступающий во вторые входы, и чистый воздух, выбрасываемый через вторые выходы. Направляющая крышка закрывает первую сторону направляющей стенки. Между направляющей крышкой и направляющей стенкой распределены первый соединительный канал, соединяющий первый и второй входы, и второй соединительный канал, соединяющий первый и второй выходы.
Вторые входы и выходы направляющих воздуховодов, обращенные внутрь циклонной камеры, могут быть выполнены с наклоном.
Каждый направляющий воздуховод может иметь на своей наружной периферии наклонную плоскость для того, чтобы втянутый воздух, выбрасываемый из других направляющих воздуховодов, расположенных выше по потоку, направлялся по наклонной плоскости с вращением, а втянутый воздух, выбрасываемый из направляющих воздуховодов, расположенных выше по потоку, направлялся наклонной плоскостью на удалении от вторых входов.
По меньшей мере часть по меньшей мере двух направляющих воздуховодов может перекрывать друг друга так, что выходы каждого из направляющих воздуховодов располагаются последовательно на удалении от второй стороны направляющей стенки.
Выходы направляющих воздуховодов, расположенных ниже по потоку втягиваемого воздуха, могут быть выполнены более узкими, чем выходы направляющих воздуховодов, расположенных выше по потоку.
Направляющая стенка может закрывать одну сторону циклонной камеры, обращенную к первому входу, и препятствовать поступлению втянутого в циклонную камеру воздуха обратно в первый вход.
Для достижения описанных выше аспектов данного изобретения предлагается циклонное пылеулавливающее устройство для пылесоса, содержащее несколько направляющих воздуховодов, которые сообщаются соответственно с несколькими входами для воздуха, причем при прохождении через направляющие воздуховоды наружного воздуха возрастает сила, создаваемая вращением наружного воздуха.
В одном варианте выполнения указанные несколько входов для воздуха и направляющие воздуховоды могут быть симметрично расположены относительно выпускных отверстий для воздуха.
В другом варианте выполнения указанные несколько входов для воздуха и направляющие воздуховоды могут быть асимметрично расположены относительно выпускных отверстий для воздуха.
Площадь сечения указанных нескольких направляющих воздуховодов может увеличиваться, а их высота может возрастать по мере удаления направляющих воздуховодов от входов для воздуха.
По меньшей мере один из указанных нескольких направляющих воздуховодов может быть расположен выше и ниже по меньшей мере одного другого направляющего воздуховода.
КРАТКОЕ ОПИСАНИЕ ЧЕРТЕЖЕЙ
Указанный выше аспект и признаки данного изобретения станут более очевидными из подробного описания примеров выполнения изобретения со ссылкой на прилагаемые чертежи, на которых:
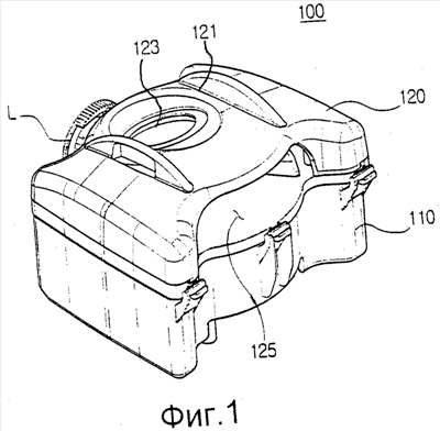
фиг.1 представляет собой вид в аксонометрии предлагаемого циклонного пылеулавливающего устройства;
фиг.2 представляет собой покомпонентный вид циклонного пылеулавливающего устройства, показанного на фиг.1;
фиг.3 изображает нижнюю сторону направляющей стенки, показанной на фиг.2;
фиг.4 изображает нижнюю сторону направляющей крышки, показанной на фиг.2;
фиг.5 иллюстрирует на виде сверху рабочее состояние предлагаемого циклонного пылеулавливающего устройства;
фиг.6 изображает нижнюю сторону второго варианта выполнения направляющей стенки в соответствии с данным изобретением;
фиг.7 представляет собой график, иллюстрирующий изменения в потере давления для циклонного пылеулавливающего устройства по данному изобретению и обычного циклонного пылеулавливающего устройства; и
фиг.8 представляет собой нижнюю сторону третьего варианта выполнения направляющей стенки в соответствии с данным изобретением.
ПОДРОБНОЕ ОПИСАНИЕ ПРИМЕРОВ ВЫПОЛНЕНИЯ
Ниже со ссылкой на прилагаемые чертежи приведено подробное описание варианта выполнения данного изобретения.
В приведенном ниже описании для одинаковых элементов используются одинаковые обозначения элементов даже на разных чертежах. Объекты, указанные в описании, например детальная конструкция и элементы, приведены только для облегчения всестороннего понимания изобретения. Таким образом, очевидно, что данное изобретение может быть выполнено без этих указанных объектов. Кроме того, не приведено подробное описание известных функций или конструкций, поскольку наличие излишней детализации внесло бы неясность в изобретение.
Обратимся к фиг.1 и 2. Циклонное пылеулавливающее устройство 100 по данному изобретению содержит основной корпус 110 циклона, направляющий узел 150, крышку 120 и блок 190 фильтров. Для справки, циклонное пылеулавливающее устройство 100 может содержать запирающий элемент L, предназначенный для соединения крышки 120 с корпусом 110 циклона.
Внутреннее пространство основного корпуса 110 циклона разделено на циклонную камеру 111 и пылеулавливающую камеру 113. Основной корпус 110 выполнен в виде камеры с открытой верхней стороной. Циклонная камера 111 – это пространство, где вращается воздух, втянутый снаружи устройства 100 через первый вход 123, проходящий через крышку 120. Пылеулавливающая камера 113 – это пространство, где собирается пыль, отделенная за счет воздействия центробежной силы во вращающемся воздухе. Верхние стороны циклонной камеры 111 и пылеулавливающей камеры 113 закрыты рассматриваемыми ниже направляющим узлом 150 и крышкой 120. В соответствии с вариантом выполнения данного изобретения пылеулавливающая камера 113 содержит несколько пылеулавливающих камер 113, которые, как показано на фиг.5, окружают часть боковой наружной стенки циклонной камеры 111. Пылеулавливающая камера 113 соединена с циклонной камерой 111 отверстием 115 для пропускания пыли, проходящим насквозь через внутреннюю стенку циклонной камеры.
Как отмечено выше, крышка 120 расположена на верхней стороне основного корпуса 110 циклона и содержит первый вход 123 и первый выход 125. Крышка 120 также может содержать по меньшей мере одну рукоятку 121. Первый выход 125 является каналом, через который очищенный от пыли воздух выбрасывается из циклонной камеры 111. Так как первый вход 123 и первый выход 125 выполнены на крышке 120, а пылеулавливающая камера 113 выполнена на боковой наружной стенке циклонной камеры 111, то устройство 100 может быть выполнено с меньшей высотой и соответственно меньшими габаритами, чем обычное циклонное пылеулавливающее устройство.
Направляющий узел 150 направляет втянутый воздух в циклонную камеру 111 и направляет воздух, выброшенный из циклонной камеры 111, к первому выходу 125. С этой целью в соответствии с первым вариантом выполнения данного изобретения направляющий узел 150 содержит направляющую стенку 160, которая разделяет крышку 120 и основной корпус 110 циклона, и направляющую крышку 170.
Устройство 100 также может содержать герметизирующий элемент 151, предназначенный для герметизации области между направляющей крышкой 170 и первым входом 123.
Как показано на фиг.2 и 3, направляющая стенка 160 закрывает верхние стороны циклонной камеры 111 и пылеулавливающих камер 113 и имеет первую сторону 161, обращенную к первому входу 123, и вторую сторону, обращенную к циклонной камере 111. В направляющей стенке также имеются несколько вторых входов 163, несколько направляющих воздуховодов 165 и несколько вторых выходов 169. Направляющая стенка 160 закрывает верхние части пылеулавливающей камеры 113 и циклонной камеры 111. За счет герметизации области между циклонной камерой 111 и направляющей стенкой 160 воздух, проходящий через направляющую стенку, не может вернуться обратно к первому входу 123.
Указанные вторые входы 163 проходят через направляющую стенку 160, соединяя циклонную камеру 111 с первым входом 123, и направляют в циклонную камеру 111 втянутый воздух, проходящий через первый вход 123. Через вторые входы 163 в циклонную камеру 111 может втягиваться больше воздуха, чем в обычном циклонном пылеулавливающем устройстве. Следовательно, можно предотвратить падение всасывающего усилия пылесоса, вызванное устройством 100, а также снижение энергопотребления. Для справки, энергопотребление определяет работу, выполняемую пылесосом в заданных условиях. Энергопотребление является термином, обычно используемым в данной отрасли промышленности в качестве одного из показателей эффективности пылесоса.
В соответствии с вариантом выполнения данного изобретения в число указанных вторых входов 163 входит пара вторых входов 163. Втянутый воздух, проходящий через первый вход 123, разделяется на две равные части и проходит в циклонную камеру 111 через пару вторых входов 163. В соответствии с вариантом выполнения данного изобретения край каждого второго входа 163 имеет наклонную часть, предназначенную для того, чтобы под наклоном направлять втянутый воздух в направляющие воздуховоды 165. Указанные выше вторые входы 163 могут быть расположены за пределами воображаемой области (А), которая образована прямыми линиями, соединяющими первый выход 125 и вторые выходы 169, и которая будет рассмотрена ниже. Для того чтобы не происходило взаимодействия воздуха, проходящего в циклонную камеру 111, и воздуха, выходящего из циклонной камеры 111, направляющую крышку 170 легче выполнить так, как описано ниже. В соответствии с вариантом выполнения данного изобретения вторые входы 163 расположены от первого выхода 125 дальше, чем вторые выходы 169.
Каждый воздуховод 165 содержит направляющий канал 167, проходящий внутри, и наклонную плоскость 166, выполненную снаружи. Указанные несколько направляющих воздуховодов 165 выходят на вторую сторону направляющей стенки 160, совмещаясь с каждым из вторых входов 163. Направляющий канал 167 увеличивает силу, создаваемую вращением втянутого воздуха, проходящего в циклонную камеру 111, и сводит к минимуму взаимодействие втянутого воздуха с воздухом внутри циклонной камеры 111. С этой целью направляющий канал 167 содержит выход 168, выполненный под заданным углом по отношению ко вторым входам 163 и предназначенный для направления втянутого воздуха в направлении по касательной к циклонной камере 111. В соответствии с вариантом выполнения данного изобретения направляющий канал 167 выполнен в форме спирали для направления втянутого воздуха с вращением вдоль внутренней стенки циклонной камеры 111 и с одновременным постепенным опусканием втянутого воздуха к нижней части циклонной камеры. Между направляющим каналом 167 и направляющей стенкой 160 существует расстояние по высоте, которое постепенно увеличивается в направлении выхода 168. Площадь сечения направляющего канала может сохраняться одинаковой в направлении прохождения втянутого воздуха к выходу 168 направляющих воздуховодов 165 от вторых входов 163. Следовательно, внутри направляющих воздуховодов можно создать одинаковые потоки воздуха для сведения к минимуму потери давления, вызываемой, как было указано выше, изменениями направления прохождения втянутого воздуха.
Наклонная плоскость 166 выполнена на одной стороне, обращенной к нижней стороне циклонной камеры 111 между наружными периферийными боковыми сторонами направляющих воздуховодов 165. В соответствии с вариантом выполнения данного изобретения наклонная плоскость 166 изогнута с учетом направляющего канала 167, выполненного внутри направляющих воздуховодов 165. Втянутый воздух выходит из направляющего канала 167 и направляется наклонной плоскостью 166 с вращением вниз вдоль внутренней стенки циклонной камеры 111. Направляющие воздуховоды 165 сводят к минимуму взаимодействие воздуха, вращающегося внутри циклонной камеры 111, и воздуха, поступающего в циклонную камеру 111, что соответственно сводит к минимуму потерю давления разрежения, вызванную циклонным пылеулавливающим устройством 100.
Вторые выходы 169 являются проходом, через который втянутый воздух после движения вниз с вращением и подъема направляется из циклонной камеры 111 наружу. В соответствии с вариантом выполнения данного изобретения на нижней части вторые выходы 169 оборудованы блоком фильтров для дополнительного отделения мелкой пыли от втянутого воздуха, выбрасываемого из циклонной камеры 111.
Как отмечено выше, т.к. вторые входы 163 и вторые выходы 169 выполнены на направляющей стенке 160, то воздух, втянутый через первый вход 123, и воздух, выбрасываемый через первый выход 125, взаимно пересекаются между элементом крышки 120 и направляющей стенкой 160. В соответствии с вариантом выполнения данного изобретения циклонное пылеулавливающее устройство 100 содержит направляющую крышку 170 для предотвращения взаимного влияния первого входа 123 и первого выхода 125. Направляющая крышка 170, показанная на фиг.2 и 4, содержит разделяющую стенку 171 и отсекающий элемент 173. Разделяющая стенка 171 проходит к направляющей стенке 160 от внутренней стороны направляющей крышки 170. При соединении направляющей крышки 170 и направляющей стенки 160 нижняя часть разделяющей стенки 171 перекрывает область между вторыми входами 163 и вторыми выходами 169. Отсекающий элемент 173 образован раскрытием одного конца направляющей крышки 170, обращенного к первому выходу 125. Отсекающий элемент 173 образует выход 174, соединенный с первым выходом 125, между отсекающим элементом 173 и направляющей стенкой 160 при соединении направляющей крышки 170 и направляющей стенки 160. В упоминавшихся выше ограждающей стенке 171 и отсекающем элементе 173 внутренняя область между направляющей крышкой 170 и направляющей стенкой 160 перегораживается первым соединительным каналом 175, в котором проходит воздух, выходящий из первого входа 123, и вторым соединительным каналом 177, в котором проходит воздух, выброшенный через первый выход 125.
Ниже описывается работа циклонного пылеулавливающего устройства, выполненного в соответствии с вариантом выполнения данного изобретения и имеющего описанную конструкцию.
При приведении в действие основного корпуса пылесоса наружный воздух втягивается через первый вход 123. Воздух, втянутый через первый вход 123, проходит в первый соединительный канал 175 через вход 172 направляющей крышки 170 и распределяется по вторым входам 163. Воздух, распределенный по вторым входам 163, проходит через каждый направляющий канал внутри каждого направляющего воздуховода 165 и поступает в циклонную камеру. Как было указано выше, втянутый воздух, входящий в циклонную камеру, посредством направляющих каналов 167 направляется с вращением вниз вдоль внутренней стенки циклонной камеры 111. Затем, втянутый воздух выбрасывается из циклонной камеры 111 наружу через блок фильтров 190 и вторые выходы 169. Втянутый воздух, выбрасываемый через вторые выходы 169, последовательно проходит через второй направляющий канал 177, выход 174 второго направляющего канала 177 и первый выход 125 и выбрасывается из циклонного пылеулавливающего устройства 100 наружу.
Как показано на фиг.5, пыль (D), содержащаяся во втянутом воздухе, отделяется от него за счет центробежной силы, создаваемой при вращении втянутого воздуха. Пыль проходит через отверстие 115 для пропускания пыли и собирается в пылеулавливающей камере 113.
На фиг.6 показана нижняя сторона направляющей стенки 160 циклонного пылеулавливающего устройства, выполненного в соответствии со вторым вариантом выполнения данного изобретения. В соответствии с этим вариантом направляющая стенка 160 выполнена с тремя вторыми входами 163 и тремя соответствующими им направляющими воздуховодами 165 . Так же, как и в рассмотренном выше первом варианте выполнения, вторые входы 163 расположены с одинаковыми интервалами между ними и радиально относительно находящихся в центре вторых выходов 169. Как было отмечено выше, увеличенное число вторых входов 163 и направляющих воздуховодов 165 приводит к втягиванию за тот же период времени большего количества воздуха, входящего в циклонную камеру 111 (см. фиг.1), чем в первом варианте выполнения. Следовательно, уменьшается потеря давления из-за циклонного пылеулавливающего устройства 100 (см фиг.1).
На фиг.7 проиллюстрировано сравнение потери давления в циклонном пылеулавливающем устройстве 100 при первом и втором вариантах выполнения в зависимости от количества вторых входов 163, 163 при одних и тех же мощностях двигателя, формах вторых входов 163, 163 и направляющих воздуховодов 165, 165′, а также формах циклонных камер. В соответствии с фиг.7 при увеличении количества вторых входов 163, 163 имеет место большее уменьшение потери давления. Однако с учетом мощности двигателя пылесоса и ограничения, обусловленного конструктивным решением циклонного пылеулавливающего устройства 100, количество вторых входов 163, 163 может быть увеличено до трех.
На фиг.8 показана направляющая стенка циклонного пылеулавливающего устройства в соответствии с третьим вариантом выполнения данного изобретения. В соответствии с фиг.8 циклонное пылеулавливающее устройство 100 по этому варианту выполнения содержит три первых сквозных направляющих воздуховода 165а, 165b и 165с, выходы 168а, 168b и 168с каждого из которых имеют другую форму и расположены не так, как в первом и втором вариантах выполнения.
В соответствии с этим вариантом выполнения данного изобретения выходы 168а, 168b и 168с каждого направляющего воздуховода 165а, 165b и 165с выполнены с меньшими размерами и направлены книзу вдоль направления В вращения втянутого воздуха внутри циклонной камеры 111. При прохождении вниз втянутого воздуха, вращающегося внутри циклонной камеры 111, происходит уменьшение силы, вызванной вращением. Уменьшенная вызванная вращением сила может быть увеличена за счет того, что по третьему направляющему воздуховоду 165а поток воздуха поступает в циклонную камеру 111 быстрее, чем втягиваемый воздух, выбрасываемый из первого направляющего воздуховода 165а.
В соответствии с этим вариантом выполнения данного изобретения один из направляющих каналов 167а, 167b и 167с перекрывается другим направляющим воздуховодом в направлении удаления от второй стороны 162. В соответствии с вариантом выполнения данного изобретения часть второго направляющего воздуховода 165b перекрывает часть третьего направляющего воздуховода 165с. Области между выходами 168а, 168b и 168с направляющих воздуховодов 165а, 165b и 165с и второй стороной 162 различаются друг от друга. Хотя сила, создаваемая вращением втянутого воздуха, вращающимся внутри циклонной камеры 111, уменьшается при удалении втянутого воздуха от направляющей стенки 160 , эта сила увеличивается за счет выброса втянутого воздуха через выход 168b направляющего воздуховода 165b, расположенного дальше от второй стороны 162. Направляющая стенка 160 и направляющая крышка 170 (см. фиг.2) могут различаться по форме там, где втянутый воздух совершает вращение внутри первого соединительного канала 175. Однако в этом случае может возникнуть проблема, которая заключается в неустойчивости потока воздуха внутри циклонной камеры 111. Тем не менее, решение данной проблемы возможно путем внесения различных изменений в форму и детали вторых входов 163а, 163b и 163с и воздуховодов 165а, 165b и 165с.
Из приведенного выше описания следует, что в соответствии с данным изобретением поток воздуха внутри циклонного пылеулавливающего устройства, проходящий через первый вход, распределяется через несколько вторых входов и проходит внутрь циклонной камеры. Для повышения эффективности уборки пылесосом имеется возможность сведения к минимуму потери давления, вызываемой влиянием воздуха, втянутого внутрь циклонной камеры.
Втянутый воздух, прошедший через указанные несколько вторых входов, направляется несколькими направляющими воздуховодами, выполненными в форме спирали, при этом сила, вызванная вращением втянутого воздуха, уменьшается в тот момент, когда втянутый воздух поступает в циклонную камеру. Соответственно увеличивается эффективность пылеулавливания.
Уменьшение силы, вызванной вращением втянутого воздуха, вращающегося внутри циклонной камеры при удалении втянутого воздуха от вторых входов, можно предотвратить путем изменения размеров и формы направляющих воздуховодов. Следовательно, можно увеличить эффективность уборки циклонным пылеулавливающим устройством.
Хотя изобретение было продемонстрировано и описано со ссылкой на некоторые варианты его выполнения, специалистам в данной области техники очевидно, что в форму и детали можно вносить различные изменения, не выходящие за пределы сущности и объема изобретения, определяемые прилагаемой формулой изобретения.
Формула изобретения
1. Пылеулавливающее устройство для пылесоса, предназначенное для отделения пыли от втянутого воздуха с использованием центробежной силы, создаваемой при вращении втянутого воздуха, и содержащее
основной корпус циклона, содержащий
первый вход, через который втягиваемый воздух втягивается в основной корпус циклона;
циклонную камеру, в которой вращается втянутый воздух; и
первый выход, через который воздух, выбрасываемый из циклонной камеры, направляется из основного корпуса циклона; и
направляющий узел, расположенный между первым входом и циклонной камерой, направляющий втянутый воздух в циклонную камеру с разделением втянутого воздуха по меньшей мере на две части и содержащий
направляющую стенку, имеющую
первую сторону, обращенную к первому входу, и
вторую сторону, обращенную к циклонной камере;
несколько вторых входов, проходящих насквозь через направляющую стенку; и
несколько направляющих воздуховодов, которые по количеству соответствуют указанным нескольким вторым входам и выполнены на второй стороне направляющей стенки и каждый из них на своей наружной периферии имеет наклонную плоскость для того, чтобы втянутый воздух, выбрасываемый из расположенных выше по потоку направляющих воздуховодов, направлялся по наклонной плоскости с вращением, а
втянутый воздух, выбрасываемый из направляющих воздуховодов, расположенных выше по потоку, направлялся наклонной плоскостью в сторону от указанных нескольких вторых входов;
причем направляющий узел дополнительно содержит несколько направляющих каналов, выполненных в виде спирали и предназначенных для направления втянутого воздуха в циклонную камеру по спиральным направляющим каналам.
2. Пылеулавливающее устройство по п.1, в котором направляющий узел дополнительно содержит
второй выход, проходящий насквозь через направляющую стенку и предназначенный для выброса через него втянутого воздуха, очищенного от пыли; и
направляющую крышку, имеющую разделяющую стенку, которая разделяет втянутый воздух, поступающий в указанные несколько вторых входов, и чистый воздух, выбрасываемый через указанный второй выход, и закрывает первую сторону направляющей стенки;
причем между направляющей крышкой и направляющей стенкой распределены первый соединительный канал, соединяющий первый вход и указанные несколько вторых входов, и второй соединительный канал, соединяющий первый выход и указанный второй выход.
3. Пылеулавливающее устройство по п.1, в котором указанные несколько вторых входов выполнены с наклоном.
4. Пылеулавливающее устройство по п.1, в котором по меньшей мере часть по меньшей мере двух из указанных нескольких направляющих воздуховодов перекрывают друг друга.
5. Пылеулавливающее устройство по п.1, в котором выходы направляющих воздуховодов, расположенных ниже по потоку втягиваемого воздуха, выполнены более узкими, чем выходы направляющих воздуховодов, расположенных выше по потоку.
6. Пылеулавливающее устройство по п.2, в котором указанные несколько вторых входов и указанные несколько направляющих воздуховодов расположены асимметрично относительно выходов для воздуха.
7. Пылеулавливающее устройство по п.1, в котором площадь поперечного сечения направляющих воздуховодов увеличивается по мере их удаления от указанных нескольких вторых входов.
8. Пылеулавливающее устройство по п.1, в котором высота направляющих воздуховодов возрастает по мере их удаления от указанных нескольких вторых входов.
9. Пылеулавливающее устройство по п.1, в котором по меньшей мере один из указанных нескольких направляющих воздуховодов расположен от по меньшей мере одного другого направляющего воздуховода ниже по потоку и выше его.
РИСУНКИ
|
|