|
|
(21), (22) Заявка: 2007102475/09, 22.01.2007
(24) Дата начала отсчета срока действия патента:
22.01.2007
(46) Опубликовано: 20.08.2008
(56) Список документов, цитированных в отчете о поиске:
RU 2084994 C1, 20.07.1997. SU 1762793 A1, 23.09.1992. SU 1174551 A1, 23.08.1985. EP 0252247 A1, 13.01.1988. US 4315265 A, 09.02.1982.
Адрес для переписки:
662972, Красноярский край, ЗАТО Железногорск, г. Железногорск, ул. Ленина, 52, ФГУП НПО ПМ, Начальнику УИО Р.П. Туркеничу
|
(72) Автор(ы):
Дубенко Владимир Алимович (RU)
(73) Патентообладатель(и):
ФЕДЕРАЛЬНОЕ ГОСУДАРСТВЕННОЕ УНИТАРНОЕ ПРЕДПРИЯТИЕ “Научно-производственное объединение прикладной механики им. академика М.Ф. Решетнева” (RU)
|
(54) ТРАНСФОРМИРУЕМЫЙ КАРКАС
(57) Реферат:
Изобретение относится к производству конструкций различного назначения, изменяющих форму в процессе эксплуатации, например космических аппаратов или рефлекторов для параболических антенн. Технический результат – облегчение конструкции и упрощение управления. Трансформируемый каркас состоит из жесткой рамы и формообразующих модулей. Модули выполнены в виде ветвей, состоящих из элементов с цилиндрическими рабочими поверхностями, которые обкатываются друг по другу и соединяются пропущенными по краям гибкими связями. Одни концы гибких связей закреплены на концах ветвей, а другие проходят через раму и связаны с системой управления натяжением гибких связей. 2 з.п. ф-лы, 4 ил.
Изобретение относится к производству трансформируемых конструкций космических аппаратов и пригодно для создания поверхностей различного назначения с изменяемой геометрией, например при изготовлении рефлектора для параболических антенн.
Известны конструкции, позволяющие формировать профиль поверхности при помощи системы тросов, например из патента №2276793, недостатком которого является изготовление дополнительного громоздкого каркаса, а также сложная система управления тросами.
Известны конструкции для формирования профиля поверхности при помощи системы перемещения штырей, например по патенту №2048698, недостатком которого является сложность управления с большими временными затратами и громоздкость конструкции.
Большие затруднения возникают на предприятии, например формирование точного профиля крупногабаритной антенны, где требуется более легкий вариант.
Известно устройство складного рефлектора, патент №2050648, в котором имеется жесткая рама в виде опорной панели, формообразующие элементы в виде ребер, связанных с устройством управления в виде зубчатой передачи с валом электродвигателя, которое выбрано в качестве прототипа.
Задачей изобретения является снижение веса, материалоемкости и упрощения системы управления.
Указанная цель достигается тем, что формообразующие модули выполнены в виде ветвей, состоящих из элементов с цилиндрическими рабочими поверхностями, обкатывающихся друг по другу и соединенных пропущенными по краям связями, одни концы которых закреплены на концах ветвей, а другие проходят через раму и связаны с системой управления натяжением гибких связей.
Закон изменения профиля задается при изготовлении, формой рабочих поверхностей элементов, это позволяет объединять их управление, что существенно упрощает систему.
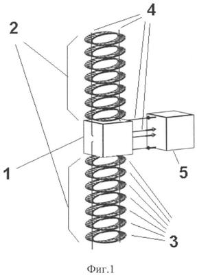
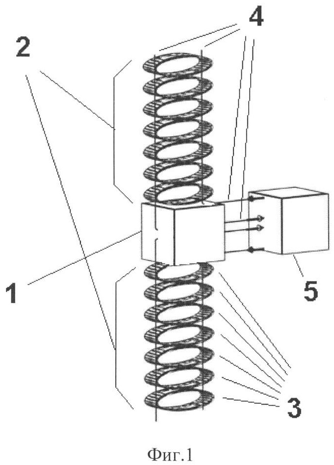
Суть изобретения поясняется чертежами, где на фиг.1 изображен основной вид ветвей трансформируемого каркаса на фиг.2 изображен элемент с цилиндрическими рабочими поверхностями, на фиг.3 изображен трансформируемый каркас для варианта параболического профиля, на фиг.4 – трансформируемый каркас для создания цилиндрического профиля.
Трансформируемый каркас состоит из жесткой несущей рамы 1, на которой закреплены формообразующие модули в виде ветвей 2, состоящих из элементов с цилиндрическими рабочими поверхностями 3. По краям эти элементы соединены гибкими связями 4, одни концы которых закреплены на концах ветвей, а другие проходят через раму 1 и закреплены на системе управления 5. Изменение формы конструкции производится укорачиванием гибкой связи, с одной стороны, формообразующих модулей (ветвей) и одновременным ее удлинением, с другой стороны. Система управления служит для изменения кривизны модулей путем синхронного изменения натяжения гибких связей.
В соответствии с требуемыми параметрами изменений гибкие связи отдельных модулей (ветвей) можно объединить. Так, например, если каркас предполагается использовать для создания рефлектора с изменяемым фокусным расстоянием, то система управления, после объединения гибких связей отдельных модулей, упрощается до управления только двумя связями. В более сложных случаях, например для изменения формы диаграммы направленности, количество гибких связей, требующих индивидуального управления, будет увеличиваться.
Форма жесткой рамы задает общий вид конструкции и направление трансформации и в зависимости от назначения каркаса может иметь различный вид.
При помощи цилиндрических рабочих поверхностей 6 элементы, обкатываясь друг по другу, меняют форму модуля. Меняя кривизну рабочих поверхностей отдельных элементов, можно при изготовлении задать переменный угол прогиба заданных участков формообразующих модулей. Для прохождения гибких связей по краям элементов предусмотрены отверстия 7.
Используя различные конфигурации несущей рамы, радиус кривизны рабочих поверхностей элементов, количество и места крепления гибких связей можно создавать каркасы различной формы и назначения. Так, например, на фиг.3 показан каркас для крупногабаритной антенны с переменным фокусом, а на фиг.4 показан вариант изготовления каркаса для управления кривизной цилиндрической поверхности.
Для повышения массогабаритных характеристик трансформируемого каркаса рабочие элементы выполнены облегченными.
В результате вышеизложенного, такие трансформируемые каркасы найдут широкое применение в различных областях техники. Они могут применяться как силовой элемент различных аэродинамических и гидродинамических элементов, а также как фрагменты трансформируемых строительных конструкций.
Из известных заявителю патентно-информационных материалов не обнаружены признаки, сходные с признаками заявляемого устройства.
Формула изобретения
1. Трансформируемый каркас, состоящий из жесткой рамы и формообразующих модулей, связанных с устройством управления, отличающийся тем, что формообразующие модули выполнены в виде ветвей, состоящих из элементов с цилиндрическими рабочими поверхностями, обкатывающихся друг по другу и соединенных пропущенными по краям гибкими связями, одни концы которых закреплены на концах ветвей, а другие проходят через раму и связаны с системой управления, выполненной в виде устройства, управляющего натяжением гибких связей.
2. Трансформируемый каркас по п.1, отличающийся тем, что цилиндрические элементы выполнены облегченными.
3. Трансформируемый каркас по п.1, отличающийся тем, что формообразующие модули разбиваются на отдельно управляемые секции.
РИСУНКИ
|
|