|
|
(21), (22) Заявка: 2005137483/09, 02.12.2005
(24) Дата начала отсчета срока действия патента:
02.12.2005
(43) Дата публикации заявки: 10.06.2007
(46) Опубликовано: 20.08.2008
(56) Список документов, цитированных в отчете о поиске:
Овсяников В.В. Вибраторные антенны с реактивными нагрузками, М.: Радио и связь, 1985, с.47-48, рис.2.12а. Харченко К.П. Антенны вертикальной поляризации, М.: Радио и связь, 1984, с.30-31, рис.25. US 4083050, 04.04.1978.
Адрес для переписки:
143500, Московская обл., г. Истра, ул. Юбилейная, 6, кв.26, В.Ф. Мосалеву
|
(72) Автор(ы):
Иноземцев Евгений Константинович (RU), Шумилин Владимир Дмитриевич (RU)
(73) Патентообладатель(и):
Муниципальное унитарное предприятие (МУП) “Истринская теплосеть” (RU)
|
(54) АНТЕННА
(57) Реферат:
Изобретение относится к антенной технике и может быть использовано для целей связи, а также для исследования электромагнитных полей в лабораторных и полевых условиях. Технический результат заключается в простоте конструкции, малой стоимости и удобстве эксплуатации. Сущность изобретения состоит в том, что антенна содержит проводящее зеркало и возбуждающий штырь, взаимно перпендикулярные между собой и изолированные друг от друга, и коаксиальный кабель. Антенна снабжена проводящей трубкой, соосной возбуждающему штырю и гальванически связанную с ним на его внешнем конце, между проводящими трубкой и зеркалом выполнен изолирующий зазор, а оплетка и центральная жила коаксиального кабеля гальванически соединены соответственно с проводящим зеркалом и возбуждающим штырем. Длина штыря и трубки равна одной четвертой длины радиоволны на открытом воздухе. При работе зеркало создает мнимое изображение зарядов и токов штыря с трубкой. На краях зеркала появляется электрический заряд, отстающий по фазе от заряда на конце штыря, что формирует ДН для продольной компоненты напряженности электрического поля в виде кардиоиды при излучении сигнала. В режиме приема ДН антенны конусообразная и имеет два лепестка. 2 ил.
Изобретение относится к антенной технике, может быть использовано для целей связи, а также для исследования электромагнитных полей в лабораторных и полевых условиях.
Вблизи проводящей поверхности земли, в тоннелях, шахтах существуют волны электрического типа, имеющие как поперечную, так и продольную составляющую вектора Е напряженности электрического поля (Е-волна), а поперечная ТЕМ-волна в этих условиях существует только при наличии направляющего проводника над поверхностью земли.
Известна антенна, представляющая собой зеркало с облучателем в виде диполя, рупора [Лавров А.С., Резников Г.Б. Антенно-фидерные устройства, М., “Сов. Радио”, 1974, стр.231, рис.13.1]. Недостатком этой антенны являются ее большие размеры в дециметровом диапазоне и нечувствительность к продольной составляющей электрической напряженности Е-волны.
Известна антенна, принятая за прототип, содержащая проводящее плоское зеркало и возбуждающий штырь четвертьволновой длины, взаимно перпендикулярные между собой и изолированные друг от друга, и коаксиальный кабель [Лавров А.С., Резников Г.Б. Антенно-фидерные устройства, М., “Сов. Радио”, 1974, стр.121, рис.6.1 г, ДН на рис.6.4], где ДН – диаграмма направленности. Зеркало выполняет роль идеальной земли для вертикального штыря. ДН этого антенного устройства для вертикальной поляризации вектора Е напряженности электрического поля ТЕМ-волны круговая в горизонтальной плоскости, а в вертикальной плоскости в полярной системе координат является двухлепестковой “восьмеркой” при больших размерах диска. Направления максимумов лепестков почти перпендикулярны к оси штыря. Антенна не чувствительна к продольной составляющей электрического вектора Е-волны, что является ее недостатком.
Техническим результатом предлагаемого изобретения является создание антенны, которая при работе на прием позволяет измерять продольную составляющую напряженности Е электрического поля Е-волны, а в режиме излучения Е-волны имеет однолепестковую ДН в виде кардиоиды. Антенна имеет простую конструкцию, малую стоимость и удобна в эксплуатации.
Сущность изобретения как технического решения выражается в совокупности следующих признаков.
Антенна содержит проводящее зеркало и возбуждающий штырь, взаимно перпендикулярные между собой и изолированные друг от друга, и коаксиальный кабель. Антенна снабжена проводящей трубкой, которая установлена соосно на возбуждающем штыре и гальванически связана с ним на его внешнем конце, между проводящими зеркалом и трубкой выполнен изолирующий зазор, а оплетка и центральная жила коаксиального кабеля гальванически соединены соответственно с проводящим зеркалом и возбуждающим штырем.
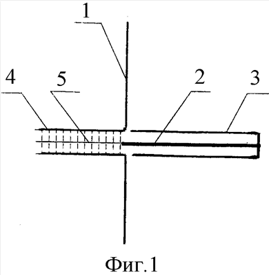
Схема антенны показана на фиг.1, а ее ДН изображены на фиг.2.
Антенна содержит проводящее зеркало 1 и возбуждающий штырь 2, взаимно перпендикулярные между собой и изолированные друг от друга, и коаксиальный кабель. Антенна имеет проводящую трубку 3, соосную возбуждающему штырю 2 и гальванически связанную с ним на его внешнем конце, между проводящими трубкой 3 и зеркалом 1 обеспечен изолирующий зазор, а оплетка 4 и центральная жила 5 коаксиального кабеля гальванически соединены соответственно с проводящим зеркалом 1 и возбуждающим штырем 2.
Кроме того, длина возбуждающего штыря 2 и проводящей трубки 3 равна одной четвертой длины радиоволны на открытом воздухе.
На фиг.2 сплошной линией 6 показана ДН антенны конструкции по фиг.1 для продольной компоненты электрической напряженности Е-волны, а пунктирной линией 7 показана ДН этой же антенны для ТЕМ-волны.
Антенна на излучение работает следующим образом. Четвертьволновая проводящая трубка 3 делает ток на конце возбуждающего штыря 2 отличным от нуля, что влечет соответствующее перераспределение зарядов в коаксиальной системе штырь-трубка. Проводящее зеркало 1 создает мнимое изображение зарядов и токов возбуждающего штыря 2 с проводящей трубкой 3. Так как проводящее зеркало 1 имеет конечные размеры, то на его краях появляется электрический заряд, отстающий по фазе от заряда на конце возбуждающего штыря 2, что формирует ДН для продольной компоненты напряженности электрического поля, которая является однолепестковой в виде кардиоиды. Если проводящее зеркало 1 круглое, то ДН обладает осевой симметрией относительно возбуждающего штыря 2. Такую же ДН антенна имеет также в режиме приема. Для ТЕМ-волны ДН антенны конусообразная такая, что в любой плоскости, проходящей через центр, имеется у ДН два лепестка 7, как показано на фиг.2.
Формула изобретения
Антенна, содержащая проводящее зеркало и возбуждающий штырь, взаимно перпендикулярные между собой и изолированные друг от друга, и коаксиальный кабель, отличающаяся тем, что антенна имеет проводящую трубку, соосную с возбуждающим штырем и гальванически связанную с ним на его внешнем конце, между проводящими трубкой и зеркалом обеспечен изолирующий зазор, а оплетка и центральная жила коаксиального кабеля гальванически соединены соответственно с проводящим зеркалом и возбуждающим штырем.
РИСУНКИ
MM4A – Досрочное прекращение действия патента СССР или патента Российской Федерации на изобретение из-за неуплаты в установленный срок пошлины за поддержание патента в силе
Извещение опубликовано: 10.08.2009 БИ: 22/2009
|
|