|
|
(21), (22) Заявка: 2007109800/09, 17.10.2005
(24) Дата начала отсчета срока действия патента:
17.10.2005
(30) Конвенционный приоритет:
02.11.2004 KR 10-2004-0088523
(46) Опубликовано: 20.08.2008
(56) Список документов, цитированных в отчете о поиске:
KR 20040005066, 16.01.2004. SU 1833698 A1, 19.06.1995. JP 2002-008508, 01.11.2002. WO 0199211 A1, 27.12.2001. JP 8329913, 13.12.1996.
(85) Дата перевода заявки PCT на национальную фазу:
16.03.2007
(86) Заявка PCT:
KR 2005/003452 (17.10.2005)
(87) Публикация PCT:
WO 2006/049393 (11.05.2006)
Адрес для переписки:
129010, Москва, ул. Б.Спасская, 25, стр.3, ООО “Юридическая фирма Городисский и Партнеры”, пат.пов. А.В.Мицу
|
(72) Автор(ы):
ВОО Хиосанг (KR), ПАРК ДзонгМин (KR), АХН Дзаесунг (KR), ДЗУНГ До Янг (KR), НАМГООНГ Джон Э. (KR)
(73) Патентообладатель(и):
ЭЛ ДЖИ КЕМ, ЛТД. (KR)
|
(54) УЗЕЛ ДЛЯ ИЗМЕРЕНИЯ НАПРЯЖЕНИЯ И ТЕМПЕРАТУРЫ АККУМУЛЯТОРОВ В АККУМУЛЯТОРНОЙ БАТАРЕЕ
(57) Реферат:
Узел для измерения напряжения и температуры аккумуляторов в аккумуляторной батарее содержит измеряющие температуру элементы (а), прикрепленные к поверхностям отдельных аккумуляторов, и печатную плату (b), имеющую выступы, образованные на ее верхнем конце так, что эти выступы соединены с соединительными деталями электродных выводов, которые соединяют электродные выводы отдельных аккумуляторов, соединительные части, образованные на ее нижней части для обеспечения возможности прикрепления измеряющих температуру элементов к печатной плате, и цепь, по которой текут электрический ток для измерения напряжения отдельных аккумуляторов и электрический ток для измерения температуры измеряющих температуру элементов. Технический результат – облегчение обслуживания, повышение надежности работы и точности измерения температуры. 5 з.п. ф-лы, 3 ил.
Область техники, к которой относится изобретение
Настоящее изобретение относится к узлу для измерения напряжения и температуры аккумуляторов в аккумуляторной батарее, в частности к узлу для измерения напряжения и температуры аккумуляторов в аккумуляторной батарее с большой емкостью и высокой выходной мощностью, имеющей множество отдельных аккумуляторов, которые электрически соединены друг с другом, причем этот узел для измерения напряжения и температуры прикреплен к соединительным деталям электродных выводов, которые соединяют электродные выводы отдельных аккумуляторов друг с другом для одновременного измерения напряжения и температуры отдельных аккумуляторов.
Уровень техники
В последнее время в качестве источника энергии для беспроводных мобильных устройств стали широко использоваться вторичные батареи, которые могут заряжаться и разряжаться. Кроме того, вторичные батареи привлекали большое внимание в качестве источника питания для электромобилей и гибридных электромобилей, которые были разработаны для решения таких проблем, как загрязнение воздуха, вызванное существующими бензиновыми и дизельными транспортными средствами, использующими ископаемое топливо.
В небольших по размеру мобильных устройствах используют один или более отдельных аккумуляторов, например три или четыре отдельных аккумулятора на каждое устройство. Наоборот, в средних или больших по размеру устройствах, таких как транспортные средства, используют аккумуляторную батарею, содержащую множество отдельных аккумуляторов, электрически соединенных друг с другом, так как для средних или больших по размеру устройств требуется батарея с большой емкостью и высокой выходной мощностью.
Обычно множество отдельных аккумуляторов, которые соединены последовательно или параллельно друг с другом, устанавливают в кассету и множество таких кассет соединяют параллельно друг с другом, посредством чего изготавливают аккумуляторную батарею.
Фиг.1 представляет собой вид в перспективе, показывающий примерную конструкцию кассеты с четырьмя установленными в ней отдельными аккумуляторами.
Обращаясь к фиг.1, кассета 100 включает в себя пару рамок 102 и 104, которые прикреплены друг к другу. Отдельные аккумуляторы 200 располагают в аккумуляторных секциях 110 этих рамок 102 и 104 в то время, как рамки 102 и 104 отделены друг от друга, и затем надежно закрепляют на аккумуляторных секциях 110 рамок 102 и 104 после того, как рамки 102 и 104 прикреплены друг к другу. Отдельный аккумулятор 200 имеет электродный вывод, который электрически соединен с электродным выводом соседнего аккумулятора 201 посредством шины 120, расположенной в верхней части кассеты 100. Как показано на фиг.1, отдельные аккумуляторы 200 и 201 соединены друг с другом последовательно, однако отдельные аккумуляторы могут быть соединены друг с другом параллельно. Отдельные аккумуляторы электрически соединены с катодным выводом 130 и анодным выводом 140, которые выступают соответственно на противоположных сторонах верхнего торца кассеты 10.
Обычный способ измерения напряжения и температуры отдельных аккумуляторов 200 и 201 в аккумуляторной батарее с двумя или более кассетами 200, которые электрически соединены друг с другом и уложены друг на друга, включает следующие этапы: прикрепление дополнительного устройства измерения напряжения к соединительным деталям электродных выводов посредством проводов для измерения напряжения аккумуляторов; прикрепление термопар к поверхностям аккумуляторов или в окрестности поверхностей аккумуляторов и присоединение этих термопар к внешнему измерительному устройству посредством провода для измерения температуры аккумуляторов. Следовательно, для аккумуляторной батареи необходимы внешние монтажные проводящие детали, такие как вышеупомянутые провода, для соединения устройств измерения напряжения и температуры, в результате конструкция аккумуляторной батареи усложняется. Сложная схема проводных соединений затрудняет сборку аккумуляторной батареи и является главной причиной неисправностей. Такая сложная схема проводных соединений может быть упрощена обеспечением печатной платой.
Пример печатной платы, используемой в аккумуляторной батарее с большой емкостью и высокой выходной мощностью, раскрыт в публикации нерассмотренной корейской заявки на патент № 2002-39356, в которой печатная плата рассматривается в качестве соединительной детали для отдельных аккумуляторов. Изобретение, раскрытое в данной публикации, предлагает способ непосредственного соединения печатной платы, которая включает в себя электрическую цепь, необходимую для последовательного или параллельного соединения включенных в нее отдельных аккумуляторов, и соединительное гнездо, предназначенное для измерения напряжения, к которому подсоединяется устройство измерения напряжения с отдельными аккумуляторами.
Когда печатная плата непосредственно используется в качестве электрической соединительной детали, соединяющей отдельные аккумуляторы, как описано выше, вся аккумуляторная батарея может, однако, замыкаться накоротко, даже если печатная плата частично повреждена. Кроме того, соединение печатной платы и отдельных аккумуляторов уменьшает долговечность. Более того, раскрытое выше изобретение имеет проблему, заключающуюся в том, что измерение температуры аккумуляторов в аккумуляторной батарее осуществляется через дополнительный внешний провод, как описано выше.
Сущность изобретения
Соответственно настоящее изобретение направлено на создание узла для измерения напряжения и температуры аккумуляторов в аккумуляторной батарее, который по существу избавлен от вышеназванных проблем традиционного уровня техники, а также технических проблем, пришедших из прошлого. Таким образом, задачей настоящего изобретения является создание печатной платы, которая легко соединяется с электрическими соединительными деталями отдельных аккумуляторов в аккумуляторной батарее для одновременного измерения напряжения и температуры аккумуляторов без предусматривания дополнительного провода.
Авторы настоящего изобретения провели множество различных экспериментов и исследований и заново разработали измерительный узел, который может быть прикреплен к дополнительным соединительным деталям отдельных аккумуляторов аккумуляторной батареи, а не к электрическим соединительным деталям отдельных аккумуляторов, может быть использован независимо от типов соединительных деталей и одновременно осуществляет измерение напряжения и температуры без предусматривания дополнительного провода.
В соответствии с настоящим изобретением вышеназванные и другие задачи могут быть решены путем обеспечения узла для измерения напряжения и температуры аккумуляторов в аккумуляторной батарее, содержащего: измеряющие температуру элементы (а), прикрепленные к поверхностям отдельных аккумуляторов; и печатную плату (b), имеющую выступы, образованные на ее верхнем конце так, что эти выступы соединены с соединительными деталями электродных выводов, которые соединяют электродные выводы отдельных аккумуляторов, соединительные части, образованные на ее нижней части для обеспечения возможности прикрепления измеряющих температуру элементов к печатной плате, и цепь, по которой текут электрический ток для измерения напряжения отдельных аккумуляторов и электрический ток для измерения температуры измеряющих температуру элементов.
Следовательно, узел для измерения напряжения и температуры согласно настоящему изобретению имеет конструкцию, в которой измеряющие температуру элементы прикреплены к печатной плате, которая выполнена имеющей специальную форму. Прикрепление узла для измерения напряжения и температуры легко осуществляется путем прикрепления этого узла для измерения напряжения и температуры к соединительным деталям электродных выводов так, что измеряющие температуру элементы расположены на отдельных аккумуляторах аккумуляторной батареи. Следовательно, узел для измерения напряжения и температуры согласно настоящему изобретению не требует внешних монтажных проводящих деталей, таких как провода для измерения напряжения и температуры, и в том случае, когда этот узел для измерения напряжения и температуры поврежден, поврежденный узел для измерения напряжения и температуры легко и удобно заменяется новым без возникновения короткого замыкания аккумуляторной батареи, и при этом уменьшается контактное сопротивление, которое может создаваться из-за непосредственного соединения между узлом для измерения напряжения и температуры и электродными выводами.
Предпочтительно каждый из измеряющих температуру элементов (а) является термистором, сопротивление которого изменяется в соответствии с температурой.
Выступы печатной платы (b) могут быть закреплены на соединительных деталях электродных выводов различными способами. Предпочтительно выступы прикреплены к соединительным деталям электродных выводов пайкой. Измеряющие температуру элементы (а) могут быть прикреплены к печатной плате (b) различными способами. Предпочтительно каждая из соединительных частей печатной платы имеет сквозные отверстия, через которые вставлены две соединительные ножки каждого из измеряющих температуру элементов (а), и эти соединительные ножки каждого из измеряющих температуру элементов прикреплены к печатной плате пайкой в то время, как соединительные ножки измеряющих температуру элементов (а) вставлены в эти сквозные отверстия.
Печатная плата на одном своем конце снабжена соединителем, который соединен с системой управления батареей (СУБ), на которой установлены устройство измерения напряжения и устройство измерения температуры.
Соединительные детали электродных выводов, с которыми соединены выступы печатной платы (b), никак особенно не ограничены. Предпочтительно соединительные детали электродных выводов являются шинами.
Краткое описание чертежей
Вышеназванные и другие задачи, признаки и другие преимущества настоящего изобретения будут более ясно поняты из нижеследующего подробного описания, приведенного в сочетании с сопроводительными чертежами, на которых:
фиг.1 представляет собой вид в перспективе, показывающий кассету с четырьмя установленными в ней отдельными аккумуляторами;
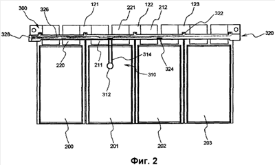
фиг.2 представляет собой типичный вид, показывающий узел для измерения напряжения и температуры в соответствии с предпочтительным вариантом осуществления настоящего изобретения, который прикреплен к шинам; и
фиг.3 представляет собой вид в перспективе фиг.2.
Описание основных ссылочных позиций на чертежах
100 – кассета аккумуляторной батареи
120, 121, 122, 123 – шины
200, 201, 202, 203 – отдельные аккумуляторы
210, 211, 212, 213 – катодные выводы
220, 221, 222, 223 – анодные выводы
300 – узел для измерения напряжения и температуры
310 – термистор
320 – печатная плата
Подробное описание предпочтительных вариантов осуществления
Теперь будет подробно описан предпочтительный вариант осуществления настоящего изобретения со ссылкой на сопроводительные чертежи. Однако следует отметить, что объем настоящего изобретения не ограничен проиллюстрированным вариантом осуществления.
На фиг.2 представлен типичный вид, показывающий узел 300 для измерения напряжения и температуры в соответствии с предпочтительным вариантом осуществления настоящего изобретения, который прикреплен к шинам 121, 122 и 123, а фиг.3 представляет собой вид в перспективе фиг.2. Узел 300 для измерения напряжения и температуры, прикрепленный к шинам 121, 122 и 123, надежно прикреплен к рамке кассеты, показанной на фиг.1 входящей в состав аккумуляторной батареи. С целью более четкого понимания рамка кассеты не показана на фиг.2 и 3.
Обращаясь к фиг.2 и 3, четыре отдельных аккумулятора 200, 201, 202 и 203 имеют электродные выводы, каждый из которых соединен с электродным выводом соседнего отдельного аккумулятора посредством соответствующей одной из шин 121, 122 и 123. Например, отдельный аккумулятор 201 имеет катодный вывод 211, который соединен с анодным выводом 220 отдельного аккумулятора 200, и анодный вывод 221, который соединен с катодным выводом 212 отдельного аккумулятора 202 посредством шины 122.
Отдельные аккумуляторы 200, 201, 202 и 203 являются аккумуляторами, которые могут заряжаться и разряжаться. В качестве отдельных аккумуляторов могут быть использованы различные типы аккумуляторов. Предпочтительно в качестве отдельных аккумуляторов используются аккумуляторы квадратной или пакетной формы, которые аккумулируют электричество при высокой плотности. Более предпочтительно в качестве отдельных аккумуляторов используются аккумуляторы пакетной формы.
Каждый из отдельных аккумуляторов имеет катод, анод, разделительную пленку и электролит, герметичным образом установленные в корпусе аккумулятора. Может быть намотана электродная сборка, включающая в себя микропористую разделительную пленку между тонкопленочными катодом и анодом, или же могут быть последовательно уложены друг на друга готовые элементы-аккумуляторы или сдвоенные элементы-аккумуляторы со структурой катод/разделительная пленка/анод. Активные материалы, нанесенные на катод и анод, никак особенно не ограничены. Предпочтительно активный катодный материал состоит из оксида на основе лития-марганца, имеющего высокую степень безопасности, а активный анодный материал состоит из углерода. Наиболее предпочтительным отдельным аккумулятором является литий-ионный аккумулятор или литий-ионный полимерный аккумулятор.
Обращаясь снова к фиг.2 и 3, узел 300 измерения в соответствии с настоящим изобретением содержит термисторы 310, которые служат в качестве измеряющих температуру элементов, и печатную плату 320.
Каждый из термисторов 310 включает в себя измерительное тело 312, прикрепленное к измеряемому вторичному элементу-аккумулятору 201, и пару соединительных ножек 314, простирающихся от измерительного тела 312. Соединительные ножки 314 выполнены из тонкой проводящей проволоки. Измерительное тело 312 прикреплено к поверхности вторичного элемента-аккумулятора 201, тогда как соединительные ножки 314 соединены с печатной платой 320. Через соединительные ножки 314 электрический ток подается на измерительное тело 312, сопротивление которого изменяется в соответствии с температурой, и электрический ток, который изменяется в соответствии с этим сопротивлением, передается на печатную плату 320 в качестве электрического сигнала.
Печатная плата 320 выполнена из тонкого медного слоистого материала. Печатная плата имеет множество выступов 322, образованных на ее верхнем конце так, что эти выступы 322 соединены соответственно с шиной 121, 122 и 123. Выступы 322, которые являются электропроводящими, прикреплены к шинам 121, 122 и 123 при помощи пайки, так что электрический ток, протекающий через шины 121, 122 и 123, передается на выступ 322. В нижней части печатной платы 320 образовано множество сквозных отверстий 324, через которые вставлены соединительные ножки 314 термистора 310. В то время как соединительные ножки 314 термистора 310 вставлены через сквозные отверстия 324, эти соединительные ножки 314 прикреплены к печатной плате с помощью пайки.
На печатной плате отпечатана цепь 326, на которую передается электрический ток от шины 120 через выступы 322 и передается электрический ток от термистора 310 через сквозные отверстия 324.
На одном конце печатной платы 320, к которому подсоединена цепь 326, установлен соединитель 328, который соединен с системой управления батареей (СУБ) (не показана), на которой установлены устройство измерения напряжения и устройство измерения температуры.
Хотя в иллюстративных целях был раскрыт предпочтительный вариант осуществления настоящего изобретения, специалисты в данной области техники поймут, что возможны различные модификации, дополнения и замены без отхода от объема и смысла изобретения, раскрытых в прилагаемой формуле изобретения.
Промышленная применимость
Как очевидно из вышеприведенного описания, узел для измерения напряжения и температуры аккумуляторов в соответствии с настоящим изобретением легко соединяется с соединительными деталями электродных выводов, которые соединяют электродные выводы отдельных аккумуляторов, прикрепленных к кассете, составляющей аккумуляторную батарею, для измерения напряжения аккумуляторов. Кроме того, температура аккумуляторов точно измеряется посредством измеряющего температуру элемента, непосредственно соединенного с печатной платой, без предусматривания дополнительного внешнего провода. Если печатная плата повреждена, то поврежденная печатная плата не оказывает влияния на соединительные детали электродных выводов. Следовательно, печатная плата легко заменятся без возникновения короткого замыкания аккумуляторной батареи.
Формула изобретения
1. Узел для измерения напряжения и температуры аккумуляторов в аккумуляторной батарее, содержащий:
измеряющие температуру элементы (а), прикрепленные к поверхностям отдельных аккумуляторов; и
печатную плату (b), имеющую выступы, образованные на ее верхнем конце так, что эти выступы соединены с соединительными деталями электродных выводов, которые соединяют электродные выводы отдельных аккумуляторов, соединительные части, образованные на ее нижней части для обеспечения возможности прикрепления измеряющих температуру элементов к печатной плате, и цепь, по которой текут электрический ток для измерения напряжения отдельных аккумуляторов и электрический ток для измерения температуры измеряющих температуру элементов.
2. Узел по п.1, в котором каждый из измеряющих температуру элементов является термистором, сопротивление которого изменяется в соответствии с температурой.
3. Узел по п.1, в котором выступы прикреплены к соединительным деталям электродных выводов посредством пайки.
4. Узел по п.1, в котором каждая соединительная часть имеет сквозные отверстия, через которые вставлены две соединительные ножки каждого из измеряющих температуру элементов, причем эти соединительные ножки каждого из измеряющих температуру элементов прикреплены к печатной плате посредством пайки в то время, как соединительные ножки каждого из измеряющих температуру элементов вставлены в эти сквозные отверстия.
5. Узел по п.1, в котором печатная плата на одном своем конце снабжена соединителем, который соединен с системой управления батареей (СУБ), на которой установлены устройство измерения напряжения и устройство измерения температуры.
6. Узел по п.1, в котором соединительные детали электродных выводов, с которыми соединены выступы, являются шинами.
РИСУНКИ
|
|