|
|
(21), (22) Заявка: 2006136217/28, 13.10.2006
(24) Дата начала отсчета срока действия патента:
13.10.2006
(43) Дата публикации заявки: 20.04.2008
(46) Опубликовано: 20.08.2008
(56) Список документов, цитированных в отчете о поиске:
RU 2152022 С1, 27.06.2000. SU 1104393 А1, 23.07.1984. RU 2109266 А1, 20.04.1998. GB 1197476, 08.07.1970.
Адрес для переписки:
125009, Москва, а/я 184, ППФ “ЮС”, пат.пов. В.И.Ионову, рег. № 107
|
(72) Автор(ы):
Берг Владимир Иванович (RU), Жегалин Игорь Иванович (RU), Матвеев Валерий Александрович (RU), Орлов Олег Федорович (RU)
(73) Патентообладатель(и):
Московский государственный технический университет им. Н.Э. Баумана (RU)
|
(54) ДАТЧИК ВЯЗКОСТИ
(57) Реферат:
Изобретение предназначено для измерения вязкости ньютоновских и вязкопластических сред незначительных объемов, температура и давление которых варьируются в значительных по величине диапазонах. Датчик вязкости устройства для измерений вязкости текучих сред содержит корпус с измерительной камерой, асинхронный двигатель, ротор которого установлен в опорах. Измерительная камера сообщена с входным и выходным каналами корпуса. Корпус выполнен в виде трех частей, в центральной части корпуса размещен статор асинхронного двигателя, а в боковых частях – опоры ротора двигателя. Ротор тахометра жестко и гальванически соединен с ротором асинхронного двигателя, расположен в центральной части измерительной камеры, а опоры выполнены с возможностью электроизоляции ротора от корпуса. Средняя часть ротора тахометра представляет собой симметричную стержневую систему, стержни которой являются полюсами тахометра, остальное пространство средней части ротора тахометра заполнено диэлектрическим материалом в виде единого целого так, что внешняя поверхность ротора тахометра образует круглую в сечении цилиндрическую поверхность, единую с поверхностью ротора асинхронного двигателя. Обмотка статора электрически связана с системой управления выходом источника питания статора. Техническим результатом изобретения является повышение надежности и точности измерений при снижении себестоимости датчика. 3 з.п. ф-лы, 3 ил.
Изобретение относится к устройствам измерения вязкости текучих сред, имеющим датчик вязкости ротационного типа. Изобретение предназначено для измерения с повышенной точностью вязкости ньютоновских и вязкопластических сред незначительных объемов, температура и давление которых варьируются в значительных по величине диапазонах.
Известен взятый за прототип датчик вязкости устройства для измерений вязкости текучих сред, содержащий корпус с измерительной камерой, асинхронный двигатель, ротор которого установлен в опорах и расположен в измерительной камере, которая сообщена с входным и выходным каналами, корпус, как и измерительная камера, выполнен в виде трех частей, центральной и двух боковых, в центральной части корпуса размещены камера терморегулирования системы терморегулирования и статор асинхронного двигателя, а в боковых частях измерительной камеры – опоры ротора тахометра, который жестко и гальванически соединен с ротором асинхронного двигателя, расположенного в центральной части корпуса, а упомянутые опоры выполнены с возможностью электроизоляции ротора от корпуса (SU №2152022, МПК G01 11/14, 2000).
Недостатки прототипа:
– малая надежность конструкции ротора тахометра, слабая адгезия диэлектрических полос на поверхности ротора тахометра с его металлической основой, что объясняется колебаниями температуры в объеме камеры и различиями коэффициента линейного расширения (КЛР) материалов последнего, это приводит к снижению ресурса и точности датчика;
– наличие камеры терморегулирования в теле центральной части корпуса датчика осложняет его конструкцию и повышает себестоимость прибора.
Задачей, на решение которой направлено изобретение, является повышение надежности и точности датчика системы (патент №2152022) при снижении его себестоимости.
Для достижения указанного выше технического результата в известном датчике вязкости устройства для измерения вязкости текучих сред, содержащем корпус с измерительной камерой, асинхронный двигатель, ротор которого установлен в опорах, расположенных в измерительной камере, которая сообщена с входным и выходным каналами корпуса, который как и измерительная камера выполнен в виде трех частей: центральной и двух боковых, причем в центральной части измерительной камеры размещен статор асинхронного двигателя, а в боковых ее частях – опоры ротора тахометра, при этом ротор тахометра жестко и гальванически соединен с ротором асинхронного двигателя, расположенного в центральной части измерительной камеры, причем упомянутые опоры выполнены с возможностью электроизоляции ротора от корпуса, средняя часть ротора тахометра представляет собой симметричную стержневую систему, стержни которой являются полюсами тахометра, остальное пространство средней части ротора тахометра заполнено диэлектрическим материалом в виде единого целого так, что внешняя поверхность единого ротора образует круглую в сечении цилиндрическую поверхность, при этом обмотка статора асинхронного двигателя датчика момента вязкости электрически связана с системой управления выходом источника питания статора асинхронного двигателя, что дает возможность регулировать силу тока в его обмотках и изменять тем самым температурное состояние самих обмоток, а вместе с тем корпуса, измерительной камеры и ротора в целом.
Возможны и другие варианты выполнения изобретения, согласно которым необходимо, чтобы:
– центральная часть корпуса была бы выполнена из химически инертного немагнитного материала с низкой электропроводностью;
– ротор асинхронного двигателя был бы выполнен из химически инертного немагнитного материала, обладающего малой плотностью и высокой электропроводностью;
– при выполнении ротора тахометра с двумя и более парами полюсов угловые размеры каждого полюса были бы равны угловым размерам промежутков между ними.
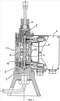
На фиг.1 представлена конструктивная схема патентуемого датчика вязкости.
На фиг.2 дан чертеж ротора патентуемого датчика вязкости.
На фиг.3 представлено сечение А-А на фиг.2.
Устройство для измерения вязкости текучих сред (см. патент №2152022) согласно настоящему изобретению содержит датчик вязкости (см. фиг.1), включающий в себя составной корпус 1 и 2, составную же измерительную камеру 3, внутри которой расположен ротор 4 асинхронного электродвигателя, жестко и гальванически соединенного с ротором 5 тахометра (см. фиг.2).
Выход датчика электрически соединен с блоком 6 формирования информационного сигнала, характеризующего вязкость исследуемой жидкости, а измерительная камера 3 датчика вязкости, которая сообщена с входным каналом 7 и выходным каналом 8, объединена с датчиком температуры 9 исследуемой жидкости.
В боковых частях измерительной камеры 3 размещены камневые опоры ротора 4, электрически изолирующие его от корпуса 1.
На внутренних поверхностях боковых частей измерительной камеры 3 против полюсов ротора тахометра 5 смонтирован статор тахометра 10, представляющий собой набор периодически чередующихся диэлектрических и металлических полос, число которых соответствует числу полюсов 11 ротора тахометра 5. Полюса 11 ротора тахометра 5 совместно с электродами 12 статора 10 образуют пары конденсаторов переменной емкости. При вращении ротора 5 эти емкости модулируются, что позволяет на выходе блока 6 формирования информационного сигнала получать электрические сигналы, частота которых определяется вязкостью исследуемой жидкости.
Измерительная камера 3 на своей внешней поверхности несет статор 10 асинхронного двигателя.
Датчик вязкости оборудован системой терморегулирования, включающей в себя статор 10 асинхронного двигателя и его источник питания (см. патент №2152022), который управляется по выходу сигналами, вырабатываемыми термопарной датчика температуры 9 согласно программе, реализуемой мультиметром (см. патент №2152022).
Целесообразно выполнение центральной и боковых частей корпуса 1 и 2 и измерительной камеры 3 из химически инертного немагнитного материала с низкой электропроводностью, а ротора 4 асинхронного двигателя – из химически инертного немагнитного материала, обладающего малой плотностью и высокой электропроводностью, при этом при выполнении ротора 5 тахометра с двумя и более парами полюсов угловой размер каждого из них был выполнен равным угловому размеру промежутков между ними.
Технологичным решением является заполнение промежутков между полюсами ротора диэлектрическим материалом с возможностью придания поверхности роторов двигателя и тахометра общую форму круглого цилиндра.
Датчик вязкости работает следующим образом.
В соответствии с заданной программой через установленный интервал времени после подачи электрического питания все средства устройства оказываются подготовленными к штатной работе в режиме непрерывного измерения вязкости жидкости. Регулируемый насос высокого давления и система терморегулирования (на чертежах не показаны) обеспечивают заданное давление и температуру жидкости в измерительной камере 3.
К моменту времени при заданном давлении и температуре частота f вращения ротора 5 тахометра в исследуемой жидкости стабилизируется. Стабилизация частоты означает, что тарированный вращающий момент, приложенный к ротору 4 со стороны статора 10 асинхронного двигателя, оказывается уравновешенным тормозящим моментом, действующим на его ротор 4, который складывается из момента трения в опорах и момента сил вязкого трения, порождаемого исследуемой жидкостью на данной частоте вращения ротора 5 тахометра. Величина момента трения в опорах учитывается по результатам калибровки ротационного датчика, и при этом условии частоту вращения ротора 5 тахометра можно считать обратно пропорциональной вязкости исследуемой жидкости.
Измерение частоты вращения ротора 5 тахометра осуществляется с помощью блока формирования информационного сигнала, описанного в патенте РФ №2152022 и выполненного на базе измерительного моста переменного тока, фазочувствительного преобразователя и фильтра низкой частоты. Это производится следующим образом. Взаимодействие полюсов 11 (фиг.2) с электродами 12 при вращении ротора 5 тахометра приводит к гармонической модуляции с той же частотой nf емкостей конденсаторов, где n – число пар полюсов 11 ротора 5 тахометра. Конденсаторы переменной емкости образованы соответственно электродами 12, взаимодействующими с полюсами 11. Модуляция переменных емкостей конденсаторов в разных плечах измерительного моста происходит в противофазе. Сигнал, являющийся следствием модуляции переменных емкостей конденсаторов, подается на вход фазочувствительного преобразователя, с выхода которого продетектированный гармонический электрический сигнал с частотой nf через фильтр низкой частоты подается на вход усилителя постоянного тока. С выхода усилителя постоянного тока усиленный сигнал частоты nf поступает на входное устройство цифрового мультиметра. Входное устройство мультиметра преобразует эти сигналы в адекватные им электрические сигналы, нормальные по своему виду, т.е. такие сигналы, амплитуда которых постоянна и не зависит от относительной диэлектрической проницаемости жидкости. Нормализованные сигналы поступают на вход аналого-цифрового преобразователя мультиметра. Аналого-цифровой преобразователь совместно с оперативным запоминающим устройством осуществляет квантование и дискретизацию непрерывных входных сигналов, поступающих на их входы от входного устройства, реализуя обращение аналоговых электрических входных сигналов в цифровой код. В результате на вход микропроцессора цифрового мультиметра поступают электрические сигналы в виде повторяющихся кодов – групп равноразмерных импульсов высокой образцовой частоты.
Высокий уровень точности обеспечивается прежде всего применением в датчике малошумящих изоляционных опор в виде камней или прецизионных радиально-упорных подшипников в изоляционной обойме для подвеса ротора 4 асинхронного двигателя, выполненного за одно целое с ротором 5 тахометра, а также сведением измерения частоты f вращения ротора 5 тахометра к особо точному типу измерений – цифровому измерению интервалов времени.
Формула изобретения
1. Датчик вязкости устройства для измерений вязкости текучих сред, содержащий корпус с измерительной камерой, асинхронный двигатель, ротор которого установлен в опорах, расположенных в измерительной камере, которая сообщена с входным и выходным каналами корпуса, который выполнен в виде трех частей: центральной и двух боковых, причем в центральной части корпуса размещен статор асинхронного двигателя, а в боковых частях измерительной камеры корпуса – опоры ротора упомянутого двигателя, при этом ротор тахометра жестко и гальванически соединен с ротором асинхронного двигателя, расположен в центральной части измерительной камеры, а упомянутые опоры выполнены с возможностью электроизоляции ротора от корпуса, отличающийся тем, что средняя часть ротора тахометра представляет собой симметричную стержневую систему, стержни которой являются полюсами тахометра, остальное пространство средней части ротора тахометра заполнено диэлектрическим материалом в виде единого целого так, что внешняя поверхность ротора тахометра образует круглую в сечении цилиндрическую поверхность, единую с поверхностью ротора асинхронного двигателя, при этом обмотка статора асинхронного двигателя датчика момента вязкости электрически связана с системой управления выходом источника питания статора асинхронного двигателя, что дает возможность регулировать силу тока в его обмотках и изменять, тем самым, температурное состояние как самой обмотки, так и измерительной камеры и ротора в целом.
2. Датчик по п.1, отличающийся тем, что центральная часть корпуса выполнена из химически инертного немагнитного материала с низкой электропроводностью.
3. Датчик по п.1, отличающийся тем, что ротор асинхронного двигателя выполнен из химически инертного немагнитного материала, обладающего малой плотностью и высокой электропроводностью.
4. Датчик по п.1, отличающийся тем, что при выполнении ротора тахометра с двумя и более парами полюсов угловые размеры каждого равны угловым размерам промежутков между ними.
РИСУНКИ
|
|